CCRadio 2E

© Brooke Clarke 2021




Background
Description
Photos
Patents
Related
References
Links

Background


I got a used CCRadio 2E (C. Crane) and liked it for use as an emergency radio.  I live in Northern California and have been surrounded by fires for the past few years.  This particular model radio receives AM, FM, NOAA Weather, and the 2-meter Ham radio band and has five preset frequencies that can be assigned to each of those bands.

There was a problem with the used (possibly defective) radio draining the four D-cell batteries in a very short time.  So got this new radio to check out the battery drain.

Description


Photos

Fig 1

Fig 2






Patents

6529169 Twin
                      coil antenna, Christopher M. Justice, C Crane Co,
                      2003-03-04
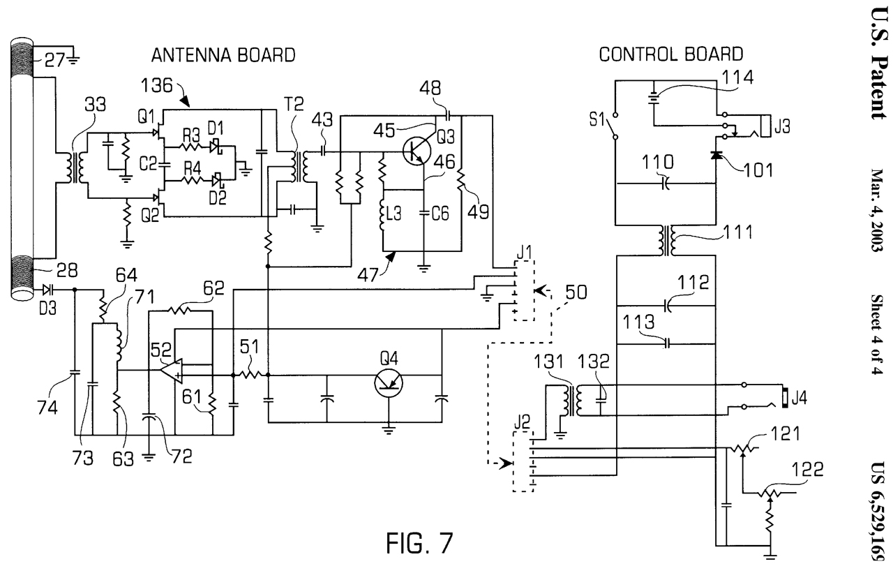
6529169 Twin coil antenna, Christopher M. Justice, C Crane Co, 2003-03-04, - "The invention provides an antenna for a radio receiver that has high efficiency, high Signal-to-noise ratio and that does not Saturate at high frequencies."

Not only does this circuit make for a more efficient antenna is also adds selectivity at the antenna thereby reducing adjacent channel interference.  I would expect this radio to be good at hearing a weak statioin on a channel adjacent to a very strong station.  Also this early filtering will lower strong signals far removed from the tuned station, again knocking down strong stations that tend to capture the AGC even though they are far from the tuned station.
D863251S1
                      Radio, Robert C. Crane, Isaiah Hahner, Brett
                      Pritchett, Jarl Johansen, 2019-10-15
D863251S1 Radio, Robert C. Crane, Isaiah Hahner, Brett Pritchett, Jarl Johansen, 2019-10-15, -

There are other C. Crane patents relating to different radios and LED lights, and Pillow or Soft speakers.

Related


References


Links

PRC68, Alphanumeric Index of Web pages, Contact, Products for Sale
Page Created