Miscellaneous Old Stuff

© Brooke Clarke 2012 - 2020

Background
Atomizers
Sen-Sen
Apple Peelers
    Photos
    Patents
Related
Links

Background

There was some items I wanted on eBay but they were in a lot of other stuff that's also instering, so this page will be for stuff that doesn't fit an existing page.

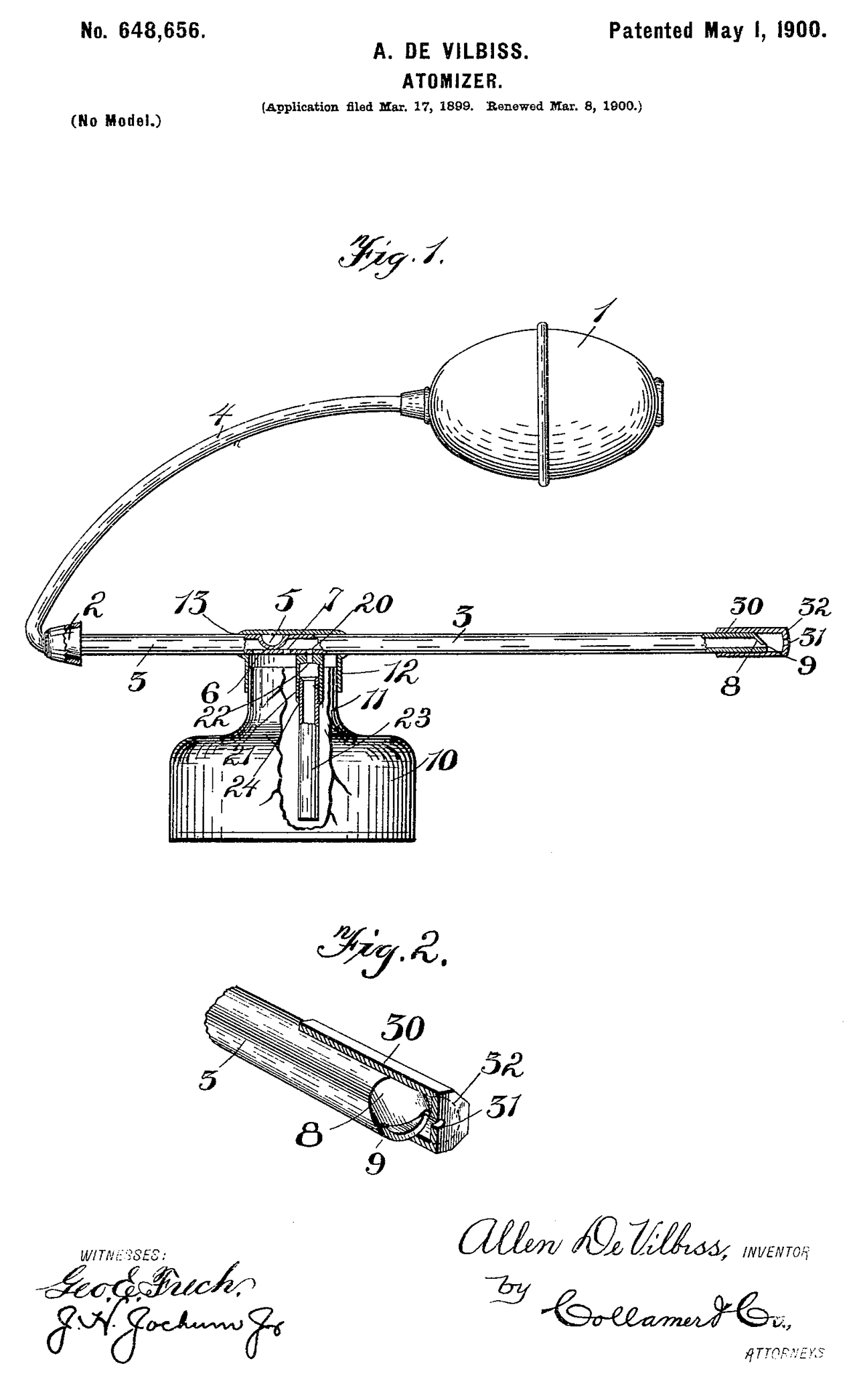
Atomizers

I think used for perfume.
De Vilbiss made paint spray guns and related air compressors to drive them.  They used the same principle as these atomizers.


DeVilbiss No.
                    15 Atomizers
No. 15 DeVilbiss Health Care
DeVilbiss No.
                    15 Atomizers
The top atomizer has no markings.
The bottom one is marked No. 15 and the bulb De Vilbiss No. 1.

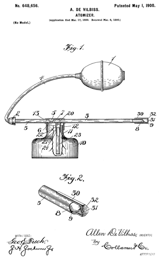
DeVilbiss
                    No. 15 Atomizers patent 648656



Sen-Sen

Since 1890 this breath freshner has been on the market.  Made by The Smith Brothers who also make cough drops.



Sen-Sen

Sen-Sen
Licorice, Gum Acacia, Cornstarch, Sugar, Artificial
and Natural Flavoring and Artificial Color.

Sen-Sen

Sen-Sen

Sen-Sen
Licorice, Gum Arabic, Maltodextrin, Sugar, and
Natural and Artificial Flavors.

Patents

Atomizers

The vast majority of the patents filed by A. De Vilbiss were related to Toledo scales.

648656  Atomizer, A. De Vilbiss, May 1 1900, 239/362; 239/369 -
935094 Closure for Fluid Receptacles, A. De Vilbiss,Sep 28 1909, 215/309 - avoids ground joints and gaskets.
RE13049 Closure for Fluid Receptacles, A. De Vilbiss, Dec 7 1909, 215/309 -
949170 Closure for Fluid Receptacles, A. De Vilbiss, Feb 15 1910,  215/335; 215/309; 215/341 -
1887949 Medicinal Spray, J.B. Schmitt (De Vilbiss Co), Nov 15 1932, 239/135; 239/338; 239/370 - includes a electrical vibrator pump
2686696 Atomizer, W.P. Carr (De Vilbiss Co), Aug 17 1954, 239/272; 239/345; 239/362 -
2847248 Nebulizer, J.B. Schmitt & W.H Corgett (De Vilbiss Co), Aug 12 1958, 239/338; D24/110 -

 Nebulizers

735723 Nebulizer, T. De Vilbiss, Aug 11 1903, 239/338; 239/424; 239/505 - for inhaling a mist
1031250 Process for Demonstrating Perfumes or the Like, T. De Vilbiss,July 2 1912, 512/3 - adds glycerin so the cloud from the nebulizer can be seen
1266228 Combined Aspirating and Vaporizing Instrument, T. De Vilbiss (De Vilbiss Manf Co),May 14 1918, 128/200.14 -

Cough Drops

  407696 Apparatus for Casting mEtals Under Pressure, J.J.C. Smith & C. Grasser (Smith Brothers Mfg Co), Jul 23, 1889, 164/314 -
  426375 Method of and Apparatus for Making Dies, C. Grasser, Apr 22, 1890, 164/120; 76/107.1 -
3035972 Preparation and Method for Obtaining Relief from Coughing, H.J. Spoor & R.J. Weir (Smith Brothers Inc), May 22 1962

Apple Peelers

My grandmother had one that clamped to the kitchen table and I used it to peel and core many apples for use in a pie.
Found one made by Reading Hardware with a number of patent dates.

Johnny Appleseed (Wiki) "...he was bringing the gift of alcohol to the frontier." The water in many places was not fit to drink.  But hard cider was safe.  That lead to Prohibition (Wiki).

There are a number of functions and the more of them a machine does the more time it can save.
All the machines I've seen require a human to push the apple onto a fork and in a way that the axis of the core goes through the core.
Peeling (paring): removes the skin.  Not all machines do this well on every apple.  It a piece of skin gets stuck under the cutter blade it will stop working so needs to be cleared by the operator.
Slicing: A blade typically makes a spiral single long slice.  If you need visually appealing slices a single manual cut will provide them.  On some machines this blade can easily be removed if slicing is not wanted.
Coring: Removes the core as a cylinder.
Extraction: a shoe kicks the apple off the fork.  If a machine has then feature there should be a way to have a container below to catch the finished apple.
Speed of Operation:  Depends a lot on how well the machine works.  If it fails often then the handwork required to fix the mistakes lowers the throughput.

Photos

Fig 1
Hudson
                      Apple Peeler
Fig 2
Hudson
                      Apple Peeler
Fig 3
Hudson
                      Apple Peeler
Fig 4

Fig 4
Hudson
                      Apple Peeler
Fig 5
Hudson
                      Apple Peeler
Fig 6
The ratchet arr is shown lifted and you
can see Patent Pend.
Hudson
                      Apple Peeler


Patents

16104 Apple
                      Parer, Nov 18, 1856, 99/598; 99/543
16104 Apple Parer, Nov 18, 1856, 99/598; 99/543 -
37038 Apple
                      Parer, F. W. Hudson, Dec 2, 1862
37038 Apple Parer, F. W. Hudson, Dec 2, 1862, 99/595; 99/599 -
124272
                      Improvement in Apple Parers, F.W. Hudson, March 5,
                      1872
124272 Improvement  in Apple Parers, F.W. Hudson, March 5, 1872, 99/599 82/128 -
124368
                      Improvement in Apple Corers and Cutters, Stephen
                      Mead, March 5, 1872
124368 Improvement in Apple Corers and Cutters, Stephen Mead, March 5, 1872, 99/545 116/DIG.12 -
147559
                              Apple-Parers, F.W. Hudson, Feb 17, 1874 147559
                              Apple-Parers, F.W. Hudson, Feb 17, 1874

147559 Apple-Parers, F.W. Hudson, Feb 17, 1874, 99/599 -
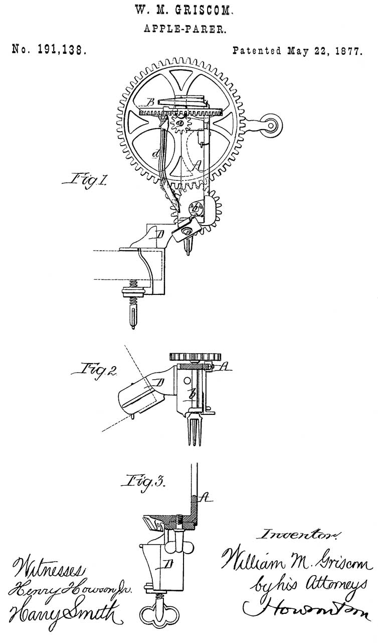
173942
                      Apple-Parer, W.M. Griscom, Feb 22, 1876
173942 Apple-Parer, W.M. Griscom, Feb 22, 1876, 99/594 -
184371 Combined
                      apple Parers, Coreres and Slicers, W.M. Griscom,
                      Nov 14, 1876
184371 Combined apple Parers, Coreres and Slicers, W.M. Griscom, Nov 14, 1876, 99/543 99/599 -
191138 Apple
                      Parer, W.M. Griscom, (Reading Hardware) May 22,
                      1877
191138 Apple Parer, W.M. Griscom, (Reading Hardware) May 22, 1877
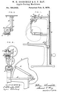
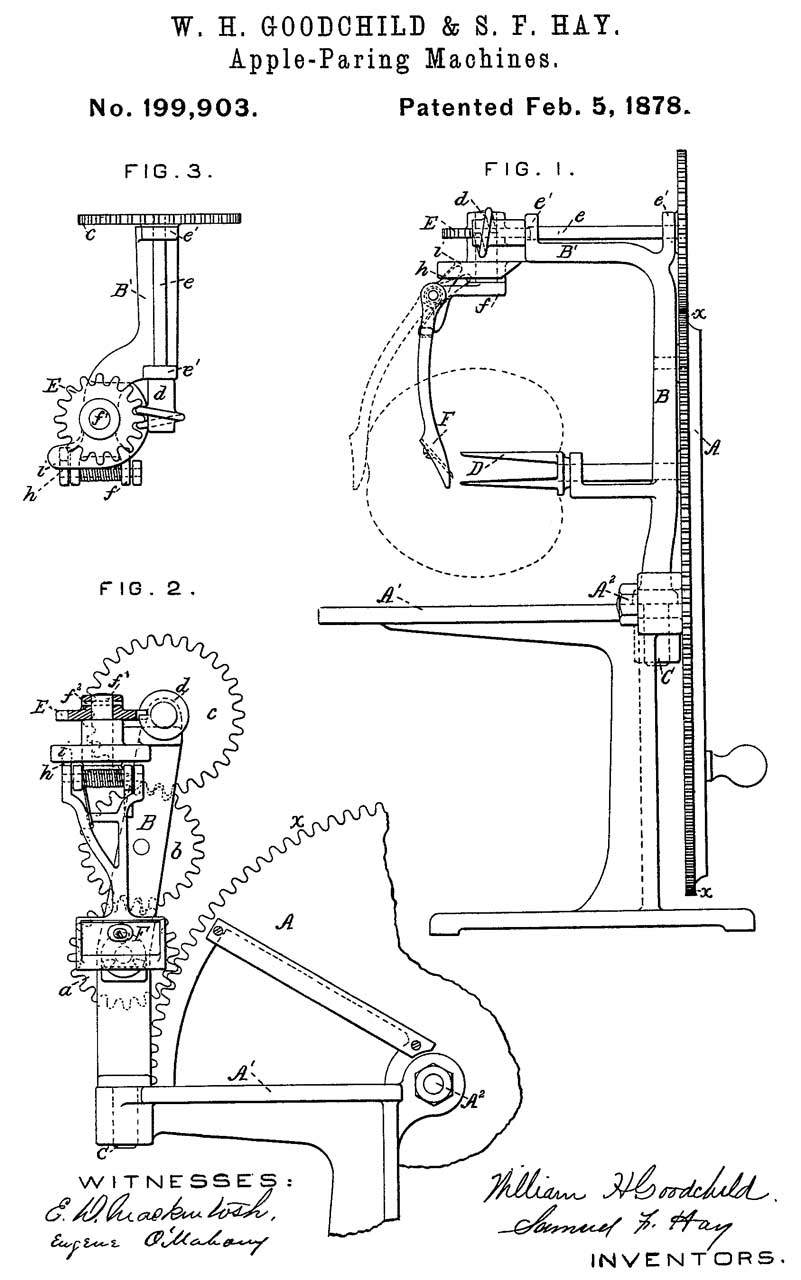
199903
                      Apple-Paring Machines, W.H. Goodchild & S.F.
                      Hay, Feb 5, 1878
199903 Apple-Paring Machines, W.H. Goodchild & S.F. Hay, Feb 5, 1878, 99/592 99/599 -
232371 Apple
                      Slicer, R.P. Scott, (later: Sinclair Scott),
                      1880-09-21
232371 Apple Slicer, R.P. Scott, (later: Sinclair Scott), 1880-09-21, 99/593; 99/599 -
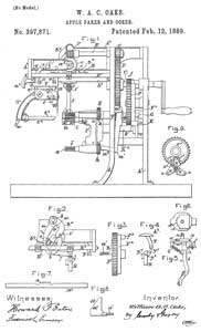
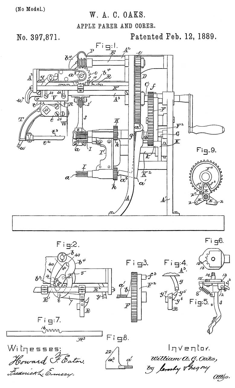
397871 Apple
                      Parer and Corer, W.A.C. Oaks, Goodell Co,
                      1889-02-12 397871 Apple Parer and Corer, W.A.C. Oaks, Goodell Co, 1889-02-12, 99/597; 99/599; 99/543; 188/83 -
YouTube:  Best Apple peeler slicer Goodell Bonanza -


YouTube: 3 Vintage Apple Peelers/Slicer/Corer -

Related

Faradic Instruments (Quack Medical)
Sperti Sun Lamps

Links

PRC68 Home Page, Alphabetical List of web pages, Products for Sale, Sensors
Page created 7 June 2012