Union Pacific Copula Caboose UP25496

@ Brooke Clarke 2013

Union Pacific Copula
          Caboose UP25496
Background
Photos
Technical
    What keeps a train on the track?
    Air Brakes
    Coupler
    Katie's Coupla Caboose
    Tapered roller bearing
Related
Links

Background

Attended an anniversary party for the Caboose 5 Oct 2013 and took some photos of it and of a 1942 Ford script GPW Jeep that was also there.

Unlike the other cabooses I've seen, this one has the original interior, i.e. it has not been remodeled.

Also at this party there was a 1942 Ford script GPW Jeep.

Photos

Fig 1
Union Pacific
                Copula Caboose UP25496
Fig 2
Union Pacific
                Copula Caboose UP25496
Fig 3
Union Pacific
                Copula Caboose UP25496
Fig 5
Union Pacific
                Copula Caboose UP25496
Fig 6
Union Pacific
                Copula Caboose UP25496
Fig 7
Union Pacific
                Copula Caboose UP25496
Fig 8
Union Pacific
                Copula Caboose UP25496
Fig 10
Union Pacific
                Copula Caboose UP25496
Fig 11
Union Pacific
                Copula Caboose UP25496
Fig 12
Union Pacific
                Copula Caboose UP25496
Fig 13
Union Pacific
                Copula Caboose UP25496
Fig 14
Union Pacific
                Copula Caboose UP25496
Fig 16
Union Pacific
                Copula Caboose UP25496
Fig 17
Union Pacific
                Copula Caboose UP25496
Fig 18
Union Pacific
                Copula Caboose UP25496
Fig 19
Union Pacific
                Copula Caboose UP25496
Fig 20
Union Pacific
                Copula Caboose UP25496
Fig 21
Union Pacific
                Copula Caboose UP25496
Fig 22
Union Pacific
                Copula Caboose UP25496
Fig 23
Union Pacific
                Copula Caboose UP25496
Fig 24
Union Pacific
                Copula Caboose UP25496
Fig 25
Union Pacific
                Copula Caboose UP25496
Fig 29
Union Pacific
                Copula Caboose UP25496
Fig 30
Union Pacific
                Copula Caboose UP25496

3285375 Slack Adjuster -adjusts to compensate for brake
wear and for the installation of new brake shoes.
Fig 31
Union Pacific
                Copula Caboose UP25496
Fig 32
Union Pacific
                Copula Caboose UP25496
Fig 33
Union Pacific
                Copula Caboose UP25496
Fig 34
Union Pacific
                Copula Caboose UP25496
Fig 35
Union Pacific
                Copula Caboose UP25496
Fig 36
Union Pacific
                Copula Caboose UP25496
Fig 37
Union Pacific
                Copula Caboose UP25496


Technical

Richard Feynman: What keeps a train on the track?

-----

-----

Wiki: Ackermann steering geometry - when a car goes around a corner the inner wheel should be turned more than the outer wheel so both wheels are tangent to their respective tire tracks.  The outer wheel travels a longer distance then the inner wheel.

Note that the steering has an effect on a car as long as the steering wheels are rotating.  When they stop rotating, like under heavy braking, the steering wheel has no effect on where the car goes.  This is why anti-lock braking (Wiki) is a big improvement, i.e. by keeping the wheels from locking some directional control (steering has some effect).

The same goes for the wheels on a railroad car.  As long as the wheels are turning each axle will stay on the track because of the strong coupling between wheels by the axle and the taper of the wheel contact surface riding on the crowned track as explained by Feynman.  But if the railroad wheel locks up there will be nothing keeping the axle on the tracks.  The current braking system (Wiki) causes the wheels to lock up if the air hose is broken, like happens when cars uncouple.  It would be much better to have anti-lock train brakes (Wiki), these are called Electro-pneumatic brakes (Wiki) and are standard in the UK (where railroads were invented).

How a train stays on the tracks Wiki: Directional stability and hunting instability,
Hunting oscillation (with animation) (Note: the turning radius of tracks is determined by the way the cone wheel section is dimensioned.)

PS This is very similar to the flat drive belt (Wiki) where one of the drive drums needs to be crowned.

24201 G.F. Decker, 1859-05-31, - tapered wheels - patent for independent suspension for each axle.
256571 Car Truck, C.W. Hunt, Apr 18, 1882
256571 Car Truck, C.W. Hunt, Apr 18, 1882, - "conical rolling-surface" BUT uses the flange/groove to keep on track.  Does NOT understand what keeps trucks on the track.

This is one of many dozens of patents trying to get cars to go around corners and not understanding what keeps railroad cars on the track.

These patents clearly show the wheel taper and flange, but not the rail cross section.
The axle is shown smaller in diameter than current practice.
They do not mention the need to grind each wheel on an axle to have the exact same diameter.
35228
                          Improvement in car-trucks, Edward Frost,
                          1862-05-13
35228
                          Improvement in car-trucks, Edward Frost,
                          1862-05-13

35228 Improvement in car-trucks, Edward Frost, 1862-05-13, - conical shape to wheel &...
"The coning is such as suits a curve of three hundred feet radius when the play is two inches." "... the coning will constantly guide the course of the rolling parts, so as to divert the flange from the rail." 

"In the instance to be considered adopt total play for each axle end transverse of axle 0.042 feet;
entire length of axle, 6.708 feet;
 distance between axles, 5.400 feet;
gage of track, four feet eight and one-half inches, 4.708 feet;
play of wheels transversely to their course of rolling, two inches, 0.167 feet.

Then the track being assumed perfect and the outer rail elevated to such height as to counteract the centrifugal tendency, the improved truck would turn a curve of three hundred feet radius without grinding the flange or slipping a wheel, and on curves of any radius greater than the minimum to be derived from the dimensions above adopted the improved truck will be, moreover, accommodated to those casual inequalities of surface and alignment, which constitute the usual and necessary imperfections of track, the flange always tending to leave the rail should a contact occur, and always tending to avoid the contact under the guiding power of the conical tread."
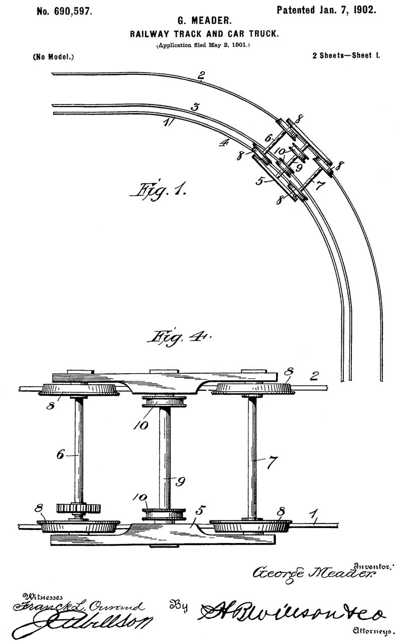
690597 Railway-track and car-truck, George
                  Meader, 1902-01-07
690597 Railway-track and car-truck, George Meader, 1902-01-07, - as late as 1902 still not understood.

The diameter of the axles seems too small compared to modern practice.

Air Brakes

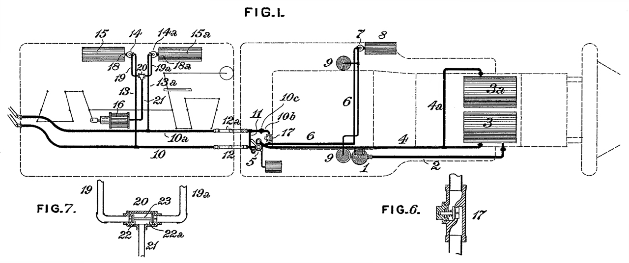
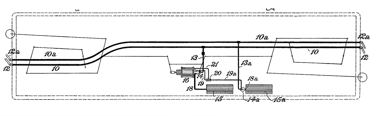
One of the reasons for the caboose was so that the "brakemen" had a place to rest.  Brakemen were required to manually apply the brakes (the big steering wheel at the end of each train car) in order to slow and stop the train.  They were replaced when the Westinghouse Automatic Air Brake (Wiki) was developed.

88929 Steam-power-brake device, George Westinghouse, Apr 13, 1869, B60T13/36 -

These air brakes stop the train when air pressure is applied from the engine. If the brakes are engaged and a coupling breaks, like when a car goes off the tracks, then the valve in the coupling closes so that the cars still on the track have braking air pressure.
This system was later reversed making the "automatic air brake" where the brakes are automatically applied if there is an air leak in the system.
Engine or Tender
Steam-power-brake device, George
                      Westinghouse
Car
Steam-power-brake device, George
                      Westinghouse

609484 Fluid-Pressure Automatic Brake, George Westinghouse, Aug 23, 1898, B60T17/18 - dual system with pressure tanks on each car and two hoses between cars.
Engine or Tender
Fluid-Pressure Automatic Brake, George
                    Westinghouse
Car
Fluid-Pressure Automatic Brake, George
                    Westinghouse

Later brakes work with a single hose between cars that's pressurized for rolling and has atmospheric air pressure for braking.

Knuckle Coupler

Invented by Eli Janney (Wiki) in 1873.
138405 Car-Couplings, Eli H. Janney, Apr 29, 1873, B61G3/04 -
Railroad
                Knuckle Coupler

Katie's Coupla Caboose

This coupler is on a different, but very similar UP capola caboose.  This one has been remodeled inside to be suitable to live in (bath but no kitchen).
Union Pacific Caboose Coupler
Union Pacific Caboose Coupler Union Pacific Caboose Coupler
Union Pacific Caboose Coupler Union Pacific Caboose Coupler Union Pacific coupla caboose remodled with
                    bathroom


Tapered roller bearing (Wiki)

Henry Timken (Wiki) invented the tapered roller bearing used on train axles and pretty much anything with wheels.

Related

Southern Pacific Bay Window Caboose No. 1345  that was for sale, now sold.

Links

Back to Brooke's PRC68, Products for Sale, Alphanumeric Index of Web Pages, End 2 Party Government - Issues
Page created 6 Oct 2013