VHF-UHF Frequency Calibrator

© Brooke Clarke 2019

Control Electronics
                  Co. VHF-UHF Frequency Calibrator, Model 121

Background
Description
Photos
Schematics
Patents
Related
References
Links

Background

This relates to my interest in Time and Frequency.

Description

This appears to be a harmonic or comb generator, similar in concept to the HP 8406 Frequency Comb Generator.  The main difference is the HP 8406 uses 1, 10 or 100 MHz comb separation with a maximum frequency of about 4 GHz.  This comb generator has selectable comb separation frequencies (input frequencies) of 50 or 100 MHz, but with outputs between 50 MHz and 11 GHz.  Another difference is that this unit is based on vacuum tubes.

The 50 MHz crystal is adjacent to V2 (12AT7WA).  This dual triode is rated as an oscillator up to 300 Mhz.  But the circuit is strange in that the crystal is connected between the two cathodes.

Label

VHF-UHF Frequency Calibrator
Range: 50 Mc to 11,000 Mc
Supply: 115 V. 1 (phase) 50 - 440 cycles
Model No. 121    Serial No. 55
Control Electronics, Co., Inc.
Huntington Station, Long Island, N.Y.

AC Input Connector

See Fig 1 below.

Three male pins.

O.D.: 0.618 (male threads)
I.D.: 0.458
 


Connection
A
C23
B
chassis
C
C22

Tube Table


Nomenclature
Common Use

V1
6X4W
B+ Rectifier
Transformer 386 V c.t. (6.3 VAC fil)
V2
12AT7WA
Oscillator
50 MHz crystal (pins3 & 9)
V3
5654 (6AK5W)
pentode
Freq Multiplier
V4
5654 (6AK5W) pentode Freq Multiplier
V5
5686
5 Watt Amp
Power Amp up to 160 MHz

Test Points


Description
DC
AC
TP1
Osc Out, V3 Grid 1
0

TP2
V4  Grid 1


TP3
V5 Grid 1


TP4
Output


Photos

Fig 1 The grill is for ventilation.

Control
                      Electronics Co. VHF-UHF Frequency Calibrator,
                      Model 121
Fig 2  The crystal is 50.000 Mc.

Control
                      Electronics Co. VHF-UHF Frequency Calibrator,
                      Model 121

Fig 3 Top: Tubes & Test Points

Control
                      Electronics Co. VHF-UHF Frequency Calibrator,
                      Model 121
Fig 4 Bottom Cover Removed

Control
                      Electronics Co. VHF-UHF Frequency Calibrator,
                      Model 121


Schematics

Fig 10
VHF-UHF Frequency
                      Calibrator
Fig 11
VHF-UHF Frequency
                      Calibrator
Fig 12
VHF-UHF Frequency
                      Calibrator


Patents


Related


References

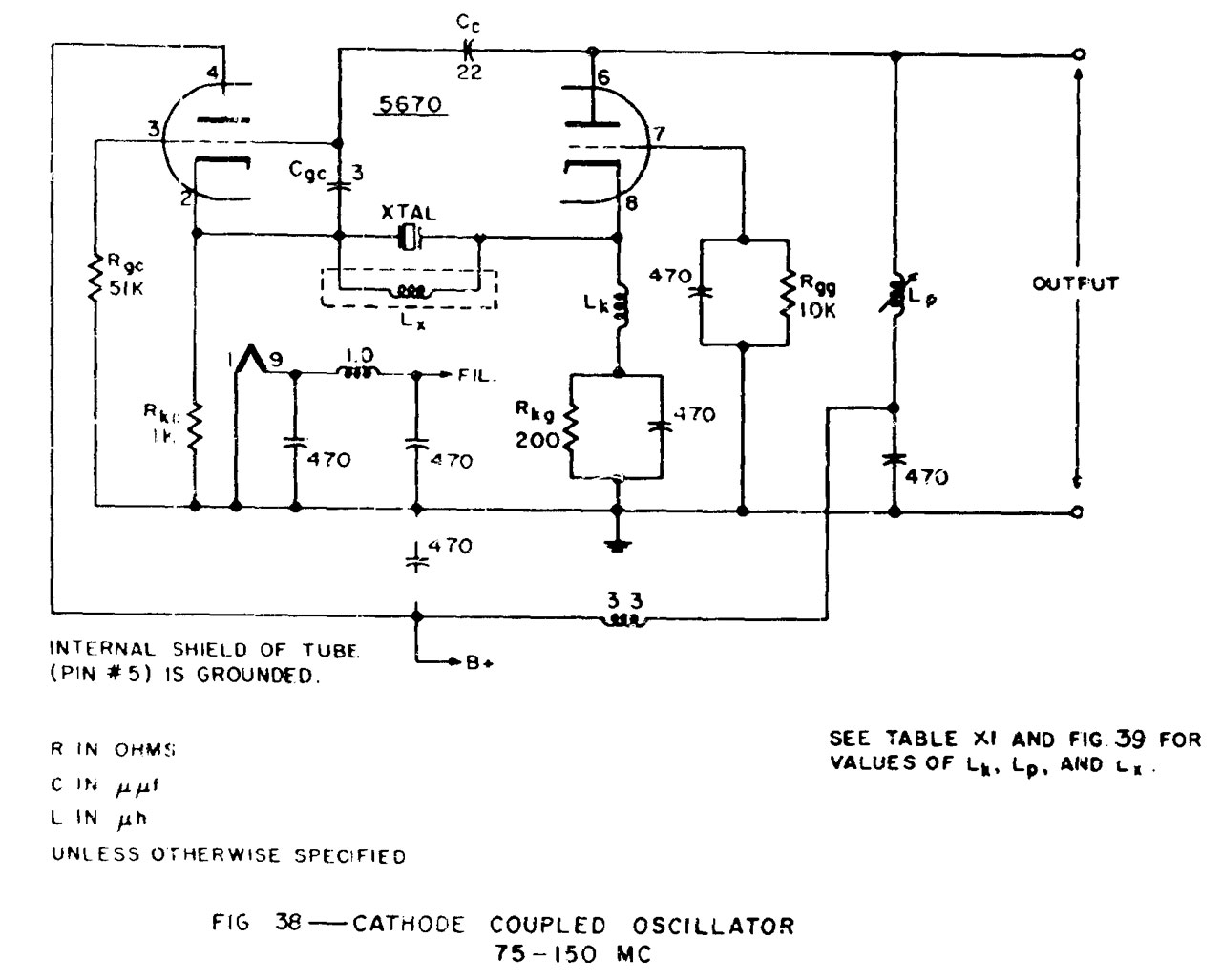
DTIC AD0149085: A Study of Crystal Oscillator Circuits, 1957 - The Cathode Coupled Crystal Oscillator aka Buttler Oscillator is the circuit for V3.
DTIC
                AD0149085: A Study of Crystal Oscillator Circuits Fig 38
                Cathode Coupled Crystal Oscillator

Links

PRC68, Alphanumeric Index of Web pages, Contact, Products for Sale
Page Created 2019 January 3