If a movie is made using a formula
or template then it most likely will not be great but will be much
better than a movie made by a director that does not know what he
is doing.
An analogy is portrait photography. Many amateurs take
pictures of other people and the results are poor to bad most of
the time. A portrait studio that has a formula lighting
setup and back drop can turn out reasonably good portraits even if
a non photographer works the camera. But a gifted
photographer can take a great portrait using the same studio setup
or outdoors.
Like in many things once you know the rules and why they are there
then you are free to knowingly break them.
Novel or original Screen play Writer
This is the idea the movie is
based on. Tom Clancy wrote the novel "Red October".
Larry Ferguson wrote the screen play. (A screen play describes
the place, time, what the camera sees and the dialog.
Often when people are describing a movie they mistakenly give
the director credit for the idea. For example see the
comments about "12 Monkeys" and "Blade Runner" which were screen
written by David Web Peoples. Almost all the comments are
really about the story not about what the director did.
Philip K Dick
wrote the books that were made into the movies: Blade Runner,
Total Recall, Barjo, Screameres, Imposter, Minority Report,
Paycheck.
Producers
The producers purchase the movie
rights and fund it's production. They are the ones who set
the budget, hire the director and may be influential in hiring
the key actors. This is a chain of events and so there may
be a number of producers (opening logos) associated with a
movie. They sometimes leave the movie and sell their part
to another producer.
If you know what the different producer titles in the credits
mean please
let
me know.
Screen Writer
A screen writer does the creative
process of coming up with the movie script based on a novel or
an original idea. Scripts are written in a very
standardized format so that the movie run time is very closely
related to the number of pages in the script. (one minute per
page)
Sometimes after a movie has started the script is found to be
lacking and a new screen writer may get hired to finish the
script. This happened in the Western Unforgiven.
Director
The director is similar to the
captain of a ship. He hires all the cast and crew.
He has control of what's filmed and how. He may or may not
have final say in the editing. The stunning visual images
in "The Cell" are the result of the directors vision and his
choice and direction of the production designer. Another
way to think of it is the director is the story teller.
For example the same novel could be made into very different
movies if different directors were chosen to make it.
It's important for a director or actor to be sure the movie is a
good fit for them. If a director has made a number of very
successful movies that are all alike he may be tired of them and
if another similar is done it may be a looser. But if he
is challenged with a new type of movie it may be great.
The danger is that a director may not accept challenging new
movie types and keep making boring versions of his prior movies.
One of the key jobs of the director is controlling the
budget. This is the driving force behind how any movie is
made. The locations used for a movie have a lot to due
with the budget. Also the shooting order. If a very
expensive actor is being used it's good to film all of their
scenes in the most time efficient manner. In "Ticker"
Dennis Hopper was only involved for a couple days, yet he
appears all through the film (this was overdoing it since the
actors ended up having no interactions), although a low budget
film ended up with some big actors in it the quality was poor.
It may be that the producer that hires the director has already
set the genre, but whoever sets it will hold all those at
successive job titles to it.
Sometimes the person who has written the script is the
director. This may be so the creative control is
maintained.
Actors
The actors are the people that
appear in front of the camera. Actors have different
levels of capability. Some actors always play the same
type of character like a thug, a slightly crazy person, a good
looking woman, a cowboy, etc. Other actors have much more
range and can portray completely different types of
people. You might not even recognize that an actor you
know is performing. Gary Oldham is great in this
regard. Michael Parks plays the old Mexican pimp in Kill
Bill 2, but you wouldn't know unless you were told it was
him. Peter Sellers was famous for playing multiple parts
(maybe up to 12) in the same movie.
Actors, like directors, tend to give their best performances
when challenged. Robin Williams in "One Hour Photo" does a
fantastic job playing a character that's far from his normal
comedic self.
Quentin Tarantino has chosen actors who were out of favor at the
time and cast them in rolls that were different from what they
had done in the past with a very good result both for the movie
being made and for the actors careers.
Film Sizes
YouTube:
Why
did we Abandon 4:3? | Nostalgia Nerd, 16:39 -
16 mm, 8 mm, Super 8, Super 16
When I was going to school 16mm was the size we saw in the
classroom. It was the size used for filming football games
and documentaries. If a 16 mm is split in two lengthwise
the two resulting strips are called 8 mm film. Early "8mm
films" were made on stock 16mm film by only exposing half of it
then reversing the film to expose the other half. It has
sprocket holes only on one side. But the sprocket holes
are beside the frame that gets exposed. An improvement was
made called Super 8 where the sprocket holes were positioned
between the frames allowing the frame size to be larger.
Recently Super 16 has shown up and allows a larger frame size
than the classical 16 mm frame. Many 16 mm cameras can be
retrofitted to allow Super 16 film to be used.
2023 May 2:
The Real Innovation Of
16mm Film, 14:46 - (
Wiki)
acetate safety film to replace nitrate base films (
Wiki)
which were very flammable.
Also see: Wiki:
Conservation
and restoration of film -
PS Dave W. Packard restored a movie theater in Palo
Alto which only screens movies prior to 1970. (Wiki: Stanford
theatre) and so has a fire proof projection room.
He also has a home movie setup that's safe for viewing nitrate
base films.
1466733
Apparatus for making sheets or films,
Albert
F Sulzer,
Henry
E Van Derhoef,
Eastman
Kodak Co, 1923-09-04, - This is the drum used to make the
film.
The patent calls base film stock patents:
1217027
Film and process of producing same, Leon
Lilienfeld, 1917-02-20, - Cellulose acetate safety film
(Wiki)
1342601
Cellulose-ester composition and method of making the same,
Paul C Seel, Eastman
Kodak Co, 1920-06-08, - Cellulose-ester
35 mm
This is the standard film size used in movie theaters.
Like the other film sizes above it is run from the top reel to a
bottom reel unlike a standard 35 mm (llandscape mode) camera
that runs the film horizontally. The frame size in a 35 mm
still camera is much larger than for a movie. The half
frame 35 mm still cameras get twice the number of photos per
roll of 35 mm film as the standard 35 mm still cameras but the
frame is portrait mode. When a 35 mm movie uses the film
horizontally it's called Vista-Vision or Technirama.
There's also a Super 35 format.
70 mm
When used in the standard top to
bottom way it's just 70 mm. When turned horizontally is
called Imax (
Wiki).
Video
Color television was invented in
the U.S. and the first color format is called NTSC (sometimes
called Never The Same Color). The PAL system is an
improvement and SECAM is a further improvement. These
are all interlaced formats where each frame is made up of two
fields that are scanned alternately.
Progressive scan scans the whole frame in one go. This
takes twice the bandwidth as an interlaced scan which means
you are seeing twice the information.
The newer High Definition TV (HDTV) formats use
progressive scan. There are now HD TV video cameras
below $ 2,000 that may be about equivalent to a 16 mm film
camera. As of Dec 2006 there has been an announcement
about HD DVDs, but they are not in the rental stores.
Most of the movie Collateral
(2004) was shot using HDTV instead of film. The action
takes place all at night. Note that silicon image
sensors like CCD or MOS types have much more sensitivity to
light than film stock. When you watch Collateral you
will notice trees in silhouette against a gray sky
background that would not be seen on film. There are
many other places in Collateral where the use of HDTV
results in seeing way more than would be possible if film
were used.
Sony
HDW-F900 cameras list price ranges from $10 k to over $100 k
for a loaded package.
There is a hidden director's commentary on one of the
subtitle tracks (there is no audio commentary) that points
out many of the video camera's advantages for this
film.
Sony also makes the
HVR-V1U
that's a civilian 1080p24 HDTV camera using 3 CMOS sensors
with a sticker price below $5k (street price (2007) below
$4k for the camera. The optional Firewere external
HVR-DR60
hard drive recorder for under $2 k (total for package about
$ 7 k). A reviews of the HVR-V1U:
Gizmodo,
Animation
In any camera that can take a
single frame or maybe 2 or 3 frames with a single push of a
shutter button you can make an animated movie. In addition to
animating using drawings you can animate real objects like
people. For example of a person poses like they are
skating with one foot up and to the rear and you make a still
photo, then have the person move 12 inches forward and take up
the same pose and make another still photo. When this
process is repeated many times and the movie is played it will
appear as if the person is skating. Clay makes a good
subject for animation. Note that you can have the camera
on a tripod and locked down for the entire sequence. If a
longer lens is used and the camera is panned to follow the
person then great care is needed so that the person stays in the
same part of the frame rather than appearing to bobble back and
forth.
By photographing story boards for the length of time the scene
will run you could make a rough version of a movie. This
might be a way to work on the editing prior to exposing film.
I used a Bolex 16 mm camera (
Wiki) for the
animation I did. But there might be a video camera that
allows single frame exposures. Editing video has the great
advantage that no film cutting is needed. That means you
do not destroy film when you scrap a proposed sequence.
History
of sub-35 mm Film Formats & Cameras -
Film
Formats Larger than standard 35mm -
TV Screens
In the old days all TV images in
the U.S. were in the 4:3 aspect ratio and were 30 frames per
second (60 interlaced fields per second, i.e. 30i) and they have
780 lines in the horizontal direction and 480 lines in the
vertical direction (480i). Recently High Definition video
has come out where each frame is one field that's progressively
scanned and there's 1080 lines in the vertical direction, called
1080p or 30p.
Since the movie film standard is 24 frames per second there's a
standard way to electronically scan the frames of film to end up
at 480i for viewing on a classic TV screen. When a 480p
display is fed movie video in the 480i format there is a circuit
that remembers the two fields and combines them to produce a
480p signal that has twice the resolution. This makes a
fantastic difference in the image quality. The difference
in going to 1080p on a screen that's about 5 feet wide is lost
on my eyes. But I suspect that for screens 10 or more feet
wide the difference would be noticeable. And for sure on a
40 foot wide screen in a movie theater it would be very apparent
(that's why 1080p was used to make the movie "Collateral").
Note that most of the DVD and VHS tape players that are on the
market in 2006 have progressive outputs and can drive a 480p
screen. The DVDs for new movies are double layer and have
a capacity of about 2 * 4.7 = 9.4 GigaBytes. Half is used
for the movie and some or all of the rest is used for the
special features. Since DVDs are digital the quality is
much much better than analog tape where every step of the
process degrades the image. There is not yet a standard
for 1080p. Blue Ray is one idea for a disk that can hold
the needed 50 GB and these are starting to be sold but both the
drives and the media are now very expensive.
Aspect Ratios
The classic ratio is 4 width to 3
height for both TV and movies. Now wide screen 16 wide by
9 high is popular. When a movie is shot in wide screen
format and displayed on a classic 4x3 TV screen it needs to be
"panned and scanned". This results in chopping off
information. If a wide screen movie is displayed on a
classic 4x3 TV screen in wide screen format there will be a
black bar above and below the image. Some people feel that
the black bar means that they are seeing less information than
when they are seeing a "full screen" image, but that is NOT the
case. They are really seeing less in the "full screen"
(panned and scanned) version. So my rule of thumb is to
see the most watch the movie in the format that was used to make
the film.
Movie
Screen Aspect Ratios -
This is not an exhaustive list, just
some that I like.
This is something I started doing at
about 4 years old and caused me to get into engineering.
Hidden Message? Prot (Kevin
Spacy) the alien says that sex on his planet K-Pax is
disgusting. On earth Prot eats a banana including the skin
and in a number of places notices or comments on the great "fruit"
on earth. At one point he disappears to travel to some
northern countries. It may be that "fruit" is a metaphor for
sex and that's what Prot enjoys so much about earth and his travel
was to enjoy more of it
don't bother with the Dreamworks web
site, way too much graphics for anything less than a LAN
connection.
Cell, the - 2000 -
Enemy
of the State -
1998
-
IMDb -
Gene Hackman
(ex NSA),
Will
Smith (Victim ) - see
1999 STOA Report
on communications intelligence for background
Truman Show -
IMDb
-
1998
-
Jim
Carrey - unknowingly raised as the star of a 24 hour/day
TV show
Zero Effect
-IMDb
-
1998
-
Bill
Pullman (gum shoe)
Ben
Stiller (gum shoe's assistant)
Kim
Dickens (romantic interest) - bigger part than
Mercury Rising
Daryl Zero:
Now, a few words on looking for things. When you go looking
for something specific, your chances of finding it are very
bad. Because of all the things in the world, you're only
looking for one of them. When you go looking for anything at
all, your chances of finding it are very good. Because of all
the things in the world, you're sure to find some of them.
Out of Sight -
IMDb-
1998 -
George
Clooney (Con)
Jennifer
Lopez (FBI & girl friend)
Elmore Leonard
novel
Elmore Leonard's
web page. & on
Amazon.com
Rush Hour -
IMDb
-
1998
-
Jackie
Chan - Done in Hollywood, better quality than the dubbed
ones
Mercury Rising -
1998 - Starring
Bruce
Willis
(FBI g guy) and
Alec
baldwin (NSA b guy),
Kim
Dickens (friend) -
Universal
Pictures - Book -
Simple
Simon by
Ryne
Douglas Pearson
Wag the Dog -
1998 -
Robert
DeNiro (Fix it man) &
Dustin
Hoffman (Movie Producer) -
New Line Cinema - Book:
American
Hero by
Larry
Beinhart - very close to reality?
Sphere -
1998 -
Dustin
Hoffman (shrink),
Sharon
Stone (patient) and
Samuel
L.
Jackson (mathematician) -
Warner Brothers - Book:
Sphere
by
Michael
Crichton-
Deconstructing Harry -
IMDb
-
1997
- a
Woody
Allen film -
Robin
Williams,
Elisabeth
Shue,
Richard
Benjamin,
Kirstie
Alley,
Judy
Davis + + + + stars
Contact -
1997 -
Jodi
Foster (Radio Astronomer) -
Warner Brothers - Book:
Contact
by
Carl
Sagan similar in concept to 2001 a Space Odyssey.
Men in Black
-1997 -
Mr.
Jones (seasoned gost buster) and
Mr.
Smith (new trainee)
Linda
Fiorentino(coroner) -Columbia Pictures -comic book
The
Men in Black by
Lowell
Cunningham.
The Fifth Element -
1997
- Bruce Willis (future taxi driver)
Milla
Jovovich (ET saves world)
Gary
Oldman (villain) -highly recommended
Liar
Liar - 1997 -
Jim
Carrey (Lawyer) - Universal Pictures -
The Game - 1997 -
Michael
Douglas (business man),
Deborah
Unger (game player) -
PolyGram
The Postman -
1997 -
Kevin Costner (Postman) -
Warner Brothers -
The Saint - 1997 -
Val
Kilmer (gentleman thief)
Elisabeth
Shue
(scientist) - Paramount Pictures - Book:
The
Saint and the Happy Highwayman by
Leslie
Chateris.
Good
Will Hunting - 1997 -
Matt
Damon (janitor) &
Robin
Williams (shrink) - Miramax Films
Red Corner - 1997
-
Richard
Gere (buinesman) -
MGM/UA
Conspiracy Theory-
1997 -
Mel
Gibson
(cab driver),
Julia
Roberts (assistant DA),
Patrick
Stewart (CIA shrink) - Warner Bros.
The
Assignment - 1997 -
Aidan
Quinn (navy man),
Donald
Sutherland (CIA) &
Ben
Kingsley (Mosad) - Sony -
Murder at 1600
-
1997-
Wesley
Snipes (Washington DC cop) &
Diane
Lane (Secret Service) - Warner Bros.
As
Good As It Gets - 1997 -
Jack
Nicholson (wierdo) -
Greg Kinnear (neighbor) - Sony
G.I. Jane -
1997
-
Demi
Moore (SEAL) - Hollywood Pictures -
Gattaca
-
1997
- Interesting genetic sci-fi
Ethan Hawke,
Uma Thurman,
Jude Law
Sling Blade - 1996 -
IMDb - I
didn't see this movie or Silence of the Lambs for some time
since the title & what I had heard suggested that they were
slasher type movies. It turns out that they are both
great.
Mission: Impossible -
1996
- based on the TV series
Independence Day -
1996
-
Will
Smith (Marine) &
Jeff
Goldblum (TV repair man)
Bill
Pullman (President)-
20th
Century Fox -
Broken Arrow -
1996
-
John
Travolta (bad guy),
Christian
Slater &
Samantha
Mathis (good guys) -
Phenomenon -
1996
-
John
Travolta garage mechanic gets very smart -
Michael -
1996
-
John
Travolta (angel) - not the kind of Angel you expect
Eraser-
1996
-
Arnold
Schwarzenegger (Marshal),
Vanessa
Williams (whistle blower) - Warner Bros. -
The Long Kiss Goodnight -
1996
-
Geena
Davis (teacher/spy) &
Samuel
L.
Jackson (private eye) - action & comedy
Johnny Mnemonic -
1995 -
IMDb
-
Keanu Reeves
a data courier/smuggler with a jack into his brain so he can
upload/download data.
Hollywood
Goes Cyberpunk - technical details on the CGI
Heat -
1995
-
Robert
De Niro (career criminal),
Al
Pacino (cop),
Val
Kilmer (demo man) - Warner - De Niro & Pacino have a
cup of coffee Same writer/director as Thief (1981)
Die Hard 3 1995 -
IMDb -
Robert Patrick
has one line buy you can see the T1000 spirit that got him into
Terminator2 (strange IMBD does not have a listing for die hard 3
in his bio.
Crimson Tide -
1995
-
Gene
Hackman (Sub Captian) &
Denzel
Washington (XO) - Buena Vista Home Video - good sub movie
French Kiss -
1995
-
Meg
Ryan (woman) &
Kevin
Kline
(con man) - trimark - heart warming
12 Monkeys - 1995 -
IMDb - Bruce
Willis is sent back in time to find out how the virus that wipes
out humans got started. As a young boy he witnesses his
own death.
For him it's hard to say what's
real and what happened in a dream.
Script
by Mr. & Mrs. Peoples who also wrote Blade Runner and
Unforgiven. The first time I saw this movie it did not
get it. Now it's one of my favorites.
Get Shorty -
1995
- great cast - loan shark decides to become a movie producer
Pulp Fiction - 1994 -
IMDb - written
& directed by
Quentin
Tarantino one of the first movies to feature
Samuel L. Jackson
this
led directly to Die Hard 3
Forrest Gump -
1994
-
Tom
Hanks (grows up) &
Gary
Sinise (Sgt. Dan) - tour de force for computer movie
graphics. I live in the same time frame as Gump.
True Lies -
1994
-
Arnold
Schwarzenegger (spy) and
Tia
Carrere (bad girl) - action & comedy
The Joy Luck Club -
1993
-
Rosalind
Chao,
Joan
Chen,
France
Nuyen,
Tamlyn
Tomita (women) - Hollywood Pictures -
The Fugitive -
1993
- based on the TV series
Groundhog Day -
1993
-
Bill
Murray weatherman doomed to repeat the worst day of his
life until he discovers the key to moving his life forward - the
concept is at the heart of many religions.
Rising Sun -
1993
-
Sean
Connery (master) and
Wesley
Snipes
(student) - Book:
Rising
Sun by
Michael
Crichton - the comments by Connery are mostly (all?) true
Jennifer Eight - 1992 -
IMDb -
Andy Garcia
&
Uma Thurman
in a mystery where both of their performances are great as is
the movie
Wayne's World -
1992
-
Mike
Myers Dana
Carvey Tia
Carrere (rock singer) - based on Saturday Night Live
Under Siege -
IMDb-
1992
-
Steven
Seagal (cook),
Tommy
Lee
Jones &
Gary
Busey (bad guys) - Warner Home Video -
The Bodyguard -
IMDb-
1992
-
Whitney
Houston (singer) &
Kevin
Costner (bodyguard) - Whitney is the only person I've
heard sing the Star Spangled Banner that really made it sound
great, gave me goose bumps, she's a fantastic singer!
L.A. Story -
IMDb-
1991
-
Steve
Martin (TV weatherman) &
Victoria
Tennant (English reporter) -
JFK -
IMDb-
1991-
It combines all the conspiracy theories, ture or false to weave
a tale.
Silence of
the Lambs - 1991 -
IMDb - along
with
Hannibal
&
Red Dragon
are great Anthony Hopkins movies
Ghost -
IMDb-
1990
-
Patrick
Swayze (banker) &
Whoopi
Goldberg
(medium)
Demi
Moore (girl friend)- Paramont -
The Hunt for Red October -
IMDb-
1990-
Alec
Baldwin (NSA analyst) and
Sean
Connery
(Russian Sub Captain),
James
Earl
Jones (head CIA)-
Malofilm
Group - Book:
The
Hunt for Red October by
Tom
Clancy - The book has more true spy tech stuff, like
processing both the film and lens of the camera to get greatly
enhanced images.
Die Hard 1988 -
IMDb
- $28M to make grosses $137M leading to DH2, DH3 and DH4
Rain
Man -
IMDb
- 1988 - A great movie. Similar to
Bill
Full Metal Jacket -
IMDb - 1987 -
Vincent D'Onofrio very believable as Pvt. Pyle who can't take
boot camp and shoots his D.I.
Top Gun -
IMDb-
1986
-
Tom
Cruse (pilot),
Meg
Ryan (bit part),
Val
Kilmer (pilot) - some great aerial combat scenes
Crocodile Dundee -
IMDb-
1986
-
Paul
Hogan (country boy) -
Remo Williams: The Adventure Begins -
IMDb-
1985
-
Joel
Grey (martial arts instructor) -
Joel Grey has
extremely great mental-physical moves - must see.
Back to the Future -
IMDb-
1985
-
Michael
J. Fox (teenager),
Christopher
Lloyd (mad scientist) - time travel
The Falcon and The Snowman -
IMDb-
1984
- Based on a true story about spying inside TRW. See my
crypto page for more.
Beverly Hills Cop -
IMDb-
1984
-
Eddie
Murphy (streetwise cop) -
Brainstorm -
IMDb-
1983
-
Natalie
Wood,
Christopher
Walken,
Cliff
Robertson (Three scientists) - invent a machine that
allows you to experience what another experienced - must see
WarGames -
IMDb-
1983
-Were I worked someone called our telex machine trying to hack
it, we offered (1) checkers... (4) Global Thermonuclear War...
Risky Business -
IMDb-
1983
-
Tom
Cruise (business man),
Rebecca
De Mornay (working girl),
Joe
Pantoliano,
Richard
Masur -
Cat People -
IMDb-
1982
-
Nastassja
Kinski (cat)
Malcolm
McDowell (cat) Music by
David
Bowie - "putting out fire with gasoline"
Blade Runner -
IMDb-
1982
-
Harrison
Ford (future cop) - a classic
Script
by Mr. & Mrs. Peoples who also wrote 12 Monkeys and
Unforgiven. The first time I saw this movie it did not get
it.
Stripes -
IMDb
- The Animal House crew at it again.
History of the World: Part I -
IMDb-
1981
-
Mel
Brooks,
Madeline
Kahn,
Harvey
Korman,
Cloris
Leachman,
Sid
Caesar,
Dom
DeLuise,
Phil
Leeds,
Gregory
Hines,
Ron
Carey
Looker -
IMDb-
1981
-
Albert
Finney (plastic surgeon) - Warner Home Video directed by
Michael
Crichton -
Wolfen -
IMDb-
1981-
Albert
Finney
(cop) -
Blow Out -
IMDb-
1981
-
John
Travolta (sound man) - excellent movie, even today (2006)
Eye of the Needle -
IMDb-
1981
- spy thriller based on pre Normandy spoof by Gen.Patton -
book
by
Ken
Follett
Tattoo -
IMDb-
1981
-
Bruce
Dern,
Maud
Adams -
Bill -
IMDb-
1981
-
Mickey
Rooney,
Dennis
Quaid -TV movie - a fantastic performance by Mickey
Thief -
IMDb-
1981
-
James
Caan (professional thief),
Willie
Nelson
(prision roomy),
Tuesday
Weld
(girl friend),
Robert
Prosky,
James
Belushi,
Dennis
Farina - Same writer/Director as Heat - good technical
details
Southern Comfort -
IMDb - 1981 -
Keith Carradine,
Powers Boothe,
A squad of National Guards on an isolated weekend exercise in
the Louisiana swamp must fight for their lives. Vietnam
allegory? Haunting music by Ry Cooder.
Altered States -
IMDb - 1980 -
William Hurt A
Harvard scientist conducts experiments on himself with a
hallucinatory drug and an isolation chamber that may be causing
him to regress genetically.
Caddyshack -
IMDb-
1980
-
Chevy
Chase (golfer),
Rodney
Dangerfield (rich golfer),
Bill
Murray
(grounds keeper) -
The Blues Brothers -
IMDb-
1980
-
John
Belushi (Jake) &
Dan
Aykroyd
(Elwood) - Universal Studios -> sequel
BB2000
-
Making of The Blues Brothers - best version -
The
Blue Lagoon -
IMDb -
Brooke Shields
(same first name, but much easier on the eyes)
Hopscotch -
IMDb-
1980
-
Walter
Matthau (X CIA),
Glenda
Jackson (friend),
Sam
Waterston ,
Ned
Beatty ,
Herbert
Lom -
Airplane! -
IMDb-
1980
-
Robert
Hays (drinking problem),
Julie
Hagerty (girl friend),
Lloyd
Bridges
(control tower),
Leslie
Nielsen (pilot),
Peter
Graves Robert
Stack
Apocalypse Now -
IMDb-
1979
-
Marlon
Brando (crazy soilder)
Robert
Duvall Martin
Sheen Dennis
Hopper Harrison
Ford - classic about Vietnam era -
Porklips
Now-
- THX-1138
- The Naked Gypsies
- The Conversation -IMDb
- 1974
- Apocalypse Now -IMDb-
1980
- Have We Seen the Elephant?
- Vesuvia
- Santa Rita
Warner Brothers
withdrew support for American Zoetrope after they saw THX-1138
and so missed out on The Conversation, Apocalypse Now, American
Graffiti, etc.
Note this is the
movie that had a profound effect on hollywood. It was made
for about $ 400k and grossed about $ 60,000 k and marked
the end of the old hollywood.
2001: A Space Odyssey -
IMDb-
1968
- Directed by
Stanley
Kubrick - a classic
The Thomas Crown Affair -
IMDb-
1968
-
Steve
McQueen (banker-bank robber) plays chess with
Faye
Dunaway (insurance investigator) ->
new
version out 1999
Barbarella -
IMDb-
1968
- Why would Jane Fonda make such a movie?
Bullitt -
IMDb-
1968
-
Steve
McQueen (cop),
Robert
Vaughn,
Jacqueline
Bisset,
Robert
Duvall,
Norman
Fell - the best auto chase & sound EVER
The President's Analyst -
IMDb-
1967
-
James
Coburn,
Godfrey
Cambridge (shrink) - about TPC (The Phone Company)
The Graduate -
IMDb-
1967
-
Dustin
Hoffman gets his start and the song "Mrs. Robinson"
Casino Royale -
IMDb-
1967
- Woody Allen spoof on James Bond movies
The Dirty Dozen -
IMDb-
1967
- all star cast of bad guys doing good
Cool Hand Luke -
IMDb-
1967
-
Paul
Newman (prisoner) - Captain says "What we have here is a
failure to communicate"
Dennis
Hopper & others from this movie went on to make Easy
Rider.
Fahrenheit 451 -
IMDb-
1967
- The fire department's job is to burn books since buildings are
fire proof -> Mel Gibson is directing a
version
for yr 2000
Morgan -
IMDb-
1966
-lunatic artist disguised as a gorilla
Blow-Up -
IMDb-
1966
-
Vanessa
Redgrave David
Hemmings - what can be found by many enlargements of a
photo (Nikon F)
The Quiller Memorandum -
IMDb-
1966
- all star cast
The Pawnbroker -
IMDb-
1965
-
Rod
Steiger -
A Hard Day's Night -
IMDb-
1964
-
Beatles
-
Tom Jones -
IMDb-
1963
-
Albert
Finney
(son of who?),
Susannah
York
(wench) David Warner -Henry Fielding's 1749 novel - a
man & women enjoy eating
The Hustler -
IMDb-
1961
-
Paul
Newman (hustler),
Jackie
Gleason (pro),
Piper
Laurie (girl friend)
George
C.
Scott (boss) - in high school we then went to the local
pool hall - Still a great movie in 2006. 1986 remake called
The Color of Money.
2005 remake called
Shooting Gallery
(poor title it means something else)
The Mouse That Roared -
IMDb-
1959
-
Peter
Sellers Leo
McKern - Peter's very small country invades the U.S.
and wins
Bell, Book and Candle -
IMDb-
1958
-
James
Stewart Kim
Novak Jack
Lemmon Ernie
Kovacs Hermione
Gingold Elsa
Lanchester
Rear Window -
IMDb-
1954
- directed by
Alfred
Hitchcock -
Rebel Without a Cause -IMDb
-1955
-
James
Dean,
Natalie
Wood,
Sal
Mineo - Perhaps the best teen-age drama of the 1950's.
The Wild One -
IMDb-
1954
-
Marlon
Brando,
Lee
Marvin - The Hell's Angles visit Hollister, CA - Harley
motorcycles "Oh, the shame of it all"
Stalag 17 -
IMDb-
1953
- directed by
Billy
Wilder,
William
Holden (prisoner) prison escape [the classic
Eames chair was
built for Billy]
The Man in the White Suit -
IMDb-
1951
-
Alec
Guinness (inventor) - Sir Alec made many great movies
Cameras
After doing a lot of still photography using the Hasselblad
500C (Wiki)
and Nikon F (Wiki)
cameras I did some movies using a Bolex H16 (Wiki).
My first camera was the Nikon F, but the camera classes at
De Anza Jr. College required a minimum film size of 2-1/4"
so I got the 500C and some lenses.
This is an interesting review of the Sigma fp (Sigma,
Wiki) is a
full frame mirrorless cinema camera. Because
it's mirrorless you can use most 35mm DSLR lenses.
YouTube: Best
Cinema Camera for Only $1,500!, 27:38, - Sigma
fp vs fp L - Watch BEFORE you Buy! -
EVF-11
Electronic Viewfinder.
Niceyrig
Grip
SmallRig
Camera Cage Kit - used to mount SSD.
YouTube: SIGMA FP in 2022 - I
WANT IT...BUT ,15:45- has some disadvantages for movies.
YouTube: Does
the SIGMA fp have a future?, 22:06 - poor marks for
the rear mounted eye level viewfinder. lack of mechanical
shutter poor for stills,
Prime video: WWII: Mysteries in the
Archives 1938-1948, series - many of the clips were filmed
using the Bell & Howell (Wiki)
Eyemo (Wiki)
movie camera.
Filmo 16mm & 8mm versions (Wiki) 1923:
Filmo 70.
Eyemo 35mm (Wiki)
1925
Model C 1927 - 3 lens turret
Filmo 75 1928 - very thin ladies camera w/ornate scroll work
Filmo Field Camera 1931 - plain wrapper version of the 75
Listing
of B&H cameras -

|
Enlarged image of 70-DR showing
patent numbers:
|
|
1038586
Motion Picture Machine, A.B. Bell, 1912-09-17, -
Large Studio 35mm camera
See: Bell
& Howell Standard Cinemachinery Type 2709
-
|

|
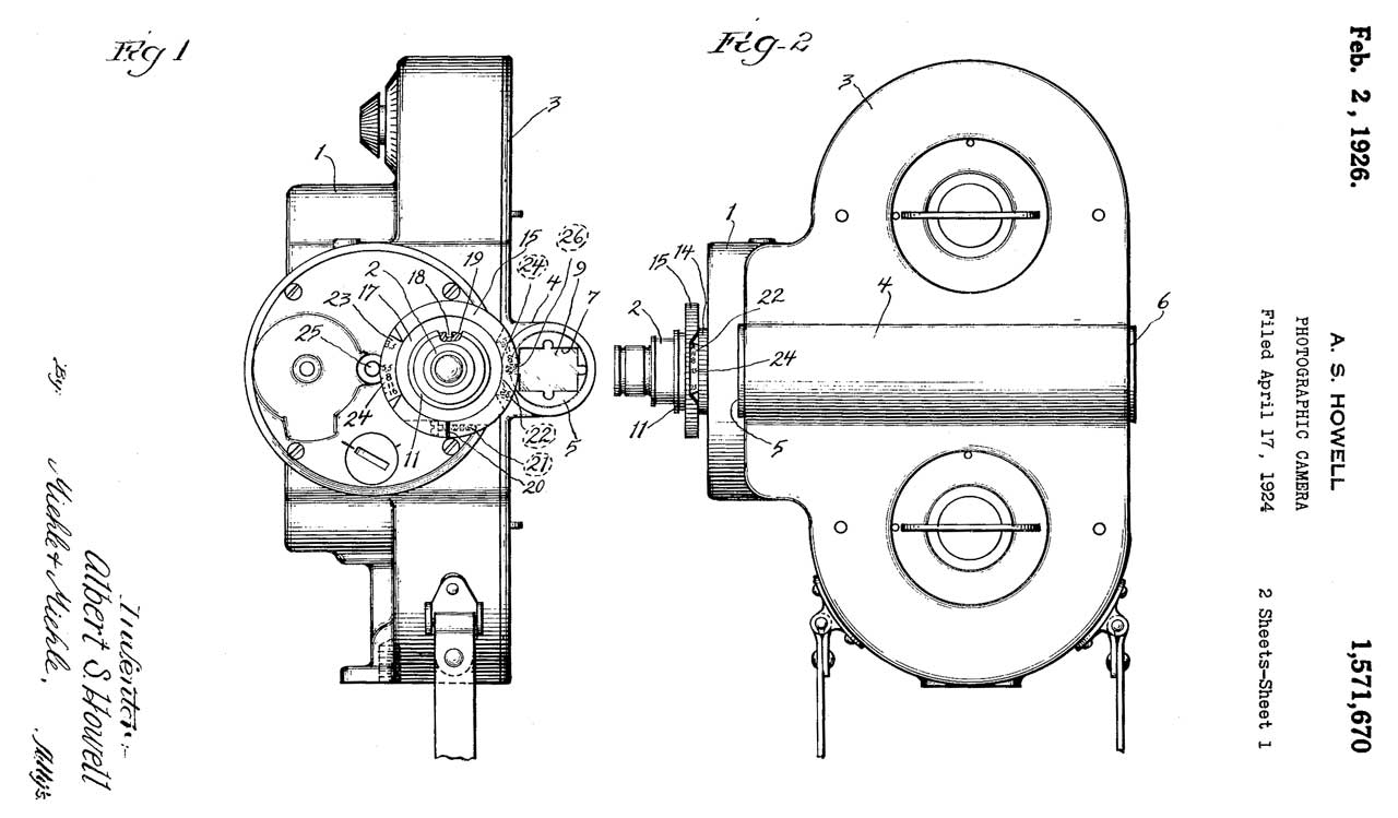
1571670
Photographic camera, Albert
S Howell, Bell
and Howell,App: 1924-04-17; Pub: 1926-02-02, -
70 series
Single lens. patent about lens focusing
|
|
1620727
Photographic camera, Albert
S Howell, Bell
and Howell, 1927-03-15 - similar to 1571670
|
|
1628668
Flat-spiral power spring, Albert
S Howell, Bell
and Howell, 1927-05-17, - htis comes from
clock technology
|
|
1665207
Photographic-film reel and process of manufacturing
the same, Albert
S Howell, Bell
and Howell, 1928-04-10, - "...permitting
handling of the film under ordinary light conditions
without fogging or partially exposing the same and
particularly with a view toward permitting daylight
loading and unloading of the photographic cameras in
which the film is photographically exposed." |
|
1720275
Spring motor, Albert
S Howell, Bell
and Howell, 1929-07-09, -
|
|
1767846
Intermittent-feed mechanism, Albert
S Howell, Bell
and Howell, 1930-06-24
-
high speed version of patent 1509556.
|

|
1767847
Motion picture camera and the like, Albert
S Howell, Bell
and Howell, 1930-06-24
- 75/Filmo Field Camera -
light weight is very important just as it is for Binoculars.
|
|
1767848
Motion picture camera and the like, Albert
S Howell, Bell
and Howell, 1930-06-24
- |
|
1767849
Plural-lens-adjusting means, Albert
S Howell, Bell
and Howell, 1930-06-24
- focus once and all 3 lenses are in focus
|
|
1767850
Lens structure, Albert
S Howell, Bell
and Howell, 1930-06-24
- for use with color filters
|
|
1795490 View finder, Albert
S Howell, Bell
and Howell, 1931-03-10, -
On side of 70 series camera. Has drum with
various sizes of rectangular armatures corresponding
to lend focal lengths.
|
|
1818062
Photographic camera, Albert
S Howell, Bell
and Howell, 1931-08-11, - flat faced lens
turret
|
|
1831070
Winding means for spring motors, Albert
S Howell, Bell
and Howell, 1931-11-10, -
|
|
1835493
Motion picture camera and the like, Albert
S Howell, Bell
and Howell, 1931-12-08, - quick and convenient
lacing and unlacing |
|
1893327
Photographic camera, Albert
S Howell, Bell
and Howell, 1933-01-03, - lens turret 70
Eyemo/Filmo
|
|
1940130
Stop mechanism, Albert
S Howell, Bell
and Howell,1933-12-19, -
|
|
1941473
Centrifugal speed governor, Albert
S Howell, Bell
and Howell, 1934-01-02, - multiple selectable
speeds
|
|
B&H made smaller
rectangular shaped movie cameras for the general
public.
|
DVD
DVDs have replaced tape as the
preferred format for watching movies at home. This is
not only because there's a huge improvement in the quality,
but also because there's additional information in the
Features, alternate audio tracks and subtitle tracts.
Some DVDs also contain programs that run on a computer.
Features
The first generation DVDs were
single layer that can hold just a little more than a 2 hour
movie and so tended to have minimal special features.
Maybe some static text about the cast and/or crew. There
may be more than one audio track and or subtitle track, but
not likley.
Second generation DVDs are double layer and can hold a little
more than 2 complete movies. These typically hae a
special features section that includes such things as deleted
scenes, bloopers, alternate ending. These typically
include a choice of 2 or 3 languages for the audio track and
the same languages for the subtitle track.
On some movies the commentary audio and/or subtitle tracks
have a lot of good information for students of making movies.
Hidden Features
To find these you need to use your remote to select alternate
audio tracts and/or alternate subtitle tracts. I call
them hidden if you can not get to them using the root menu or
any menu under the root menu (like special features or bonus
menus).
I recently have been finding
hidden features. For example in Basic Instinct there is
a hidden audio commentary track by a woman who sounds like a
college professor that does not understand what the words she
used mean. Many mistakes.
In Collateral there's a hidden subtitle track which I think is
by M. Mann that has information about the use of HDTV instead
of film and it's effect on the night scenes. For me this
file looks much more "real" than those movies who use film for
night scenes.
DVD Repair
When a DVD gets dirty and
covered with finger prints it will cause the picture and/sound
to break up. This can be fixed by washing the disk using
soap and water, then drying in air or using a lint free
wipe. If there are scratches or abrasions that are
causing the picture break up then washing will not fix the
problem. But using
CD
Fix It will provide a cure in many (but not all)
cases. I got it at my local Video rental outlet (that
also has a disk polishing machine which they use to maintain
all their rental DVDs).
patent
5746811
Disk
Repair System May 5, 1998 106/10 ; 106/11; 106/3;
451/63 - contains wax, non water based solvent, dispersing
agent & polishing compound - need to work in radial
strokes or across visible scratch to bevel sides of scratch
and fill with wax. It really works.
DVD v. BluRay
As far as I can tell the video quality is about the
same. I have a few movies in both DVD and Blu-ray
formats and can not tell the difference. I think the
bad rap that DVDs get is because they are not being properly connected.
redbox DVD Vending Machines
For the last couple of months the shelves in Video Rental room
at the local Lucky store have been mostly bare, like they were
going out of business. When asked the clerks
didn't know anything. About a week ago (16 Apr 2008) the
Lucky store ad had a code (LUCKY30) for Red Box DVD rental and
the store address appeared in the ad. But a phone
call confirmed that they do not have a Red Box machine.
Surfing found
redbox.com
and
a store finder based on zip code. It turns out that
there is one redbox within 20 miles of our town center.
The machine has a light box on the left side with a couple of
dozen movies illustrated. A touch screen and credit card
reader on the front. The black thing on the right is the
input/output slot. The DVDs are in a special case 5 5/8"
wide x 4 7/8" high x a little less than 1/4" thick. The
four corners are beveled and there's a slot for the robot to
work with.
The back has a hole in the center so the 2D bar code can be
read, but the front has three windows and if all the open area
is scanned you can stitch together a complete bar-code.
The center of the front (redbox on label) has a 2D bar-code in
the center that's the case serial number. Marked Made In
China....
7234609 Article dispensing system and method for same, Michael
DeLazzer, Franz Kuehnrich (redbox), Jun 26, 2007, 221/10;
221/93; 221/97; 221/133; 221/191; 221/281; 221/287
this patent outlines the key features some of which are:
- each machine is linked via satellite to a central
control station that can interact with each machine in
many ways
You can check the inventory of your local machine on line
and rent on line then to pick up you only enter your email
and zip code and swipe the charge card.
- The door on the front of the machine uses an RFID tag
system to unlock so when a cartridge is going to be
replaced the door unlocks when it's approached.
- The cartridges are replaced not by a route driver like
conventional vending machines but by the driver of a
common carrier like Fedex or UPS.
- The Foodmax is open 24/7 so you now have 24/7 access to
DVD rentals at $1 (plus tax) each including new releases.
- 2,000 DVD capacity.
11/408607 System and method for calibrating a vending
apparatus - is an application that is mostly a continuation of
the first patent.
Problems
There is a very limited number of available titles (about 200)
compared to a brick and mortar Video Store (20,000) or even a
supermarket video rental room, let alone an on line rental
system like Block Buster (>80,000) or Net Flix
(>100,000). This may just be a startup issue or
a business decision by redbox? Limited phone support
hours 1 (866)-733-2693 No idea what hours they are there
"leave a message".
The on line trailer feature did not work for me and at the
same time the store locator also had a window saying something
like OOPS not available now.
Redbox has the capability of offering as many titles as the
others, but in the end is much more expensive. For
example with a gallon of gas at $ 3.60 (Apr 2008) if you make
a special trip the actual cost is very high. If there
happens to be a redbox machine at a store you frequent or on
your route to or form that store then it's not so
expensive. Having the mailman deliver and pickup the
videos may be a lot lower cost option.
Some of the titles (with major U.S. actors) were made outside
the U.S. and have their main (IMDB) title something other than
the title Redbox uses, making it difficult to find on IMDB.
Netflix
I subscribed to try out the streaming movies available on a
net connected Blu-ray player (see:
Home Theater) but my internet
connection is just a little too slow. But I'm getting
the DVDs by mail (there's an extra charge to get Blu-ray disks
so have not done that since they don't look any better).
Once I got DSL then I could get Netflix streaming, but just
barley. Netflix requires a minimum of 2 Mb/s download
speed and I'm getting about 2.2 Mb/s, so often get buffering
delays.
It turns out that the new release (popular) movies are not
very available from Netflix. On the que page there are
just under a dozen movies that have been there for weeks
marked "long wait" or "very long wait". I'm now using
Red Box to watch these and remove them from my Netflix que.
USPS
The post office treats Netflix as a special case since they
are a very high volume operation. The envelope used by
Netflix is "machinable" meaning it works on the high speed
automatic mail sorting machines. That greatly lowers the
mailing cost compared to non machinable mailing pieces.
Because of this the time in transit is quite short. Here
are some examples deposited in the box in front of the post
office on Orchard Ave, Ukiah, CA. Pickup times: Mon - Fri:
noon & 5:15, Sat 2:15, Sun: none.
Note the Orchard Ave facility does't sell stamps or postage,
it's where the big mail trucks are loaded/unloaded and the
route trucks are loaded/unloaded.
Sent in
bold, arrival
of next DVD in normal font.
Summary Table
Bold for
Sent day and time, normal font for arrival day in
mail box
Sent before
|
Mon
|
Tues
|
Wed
|
Thu
|
Fri
|
Sat
|
Sun
|
Noon
|
Wed
|
Thu
|
Fri
|
Sat
|
Mon
|
Tue
|
Wed |
(M-F)5:15 pm or 2:15 pm (Sat)
|
Wed
|
|
Fri
|
Sat
|
Mon
|
|
Wed |
tbd = to be determined
Saturday after 2:15 is the same as Monday morning.
It looks like there is no advantage is mailing prior to noon,
the last pickup works just the same.
It looks like my rural mail pickup is just as good as putting
the return envelope in the Orchard St. post office box before
the last emptying of the day (typically 5:15).
Examples Table:
| Sent |
Arrive @ Netflix
|
Sent From Netflix
|
Scheduled
|
Arrive here
|
Sat
5pm
|
Tues
7 am UTC
|
Tues
12 pm UTC
|
Wed
|
Wed
|
Thu
31 Dec
|
(Fri
holiday)
Sat 6am
|
Sat
11 am
|
Mon
(4 Jan)
|
Mon
|
Mon
4 Jan 4pm
|
Tues
1 pm
|
Tues
7 pm
|
Wed
|
Wed
|
Wed
Jan 6 2 pm
|
Thur
6 am
|
Thur
11 am
|
Fri
|
Fri
|
Fri
Jan 8 5 pm
|
Sat
5 am
|
Sat
11 am
|
Mon
|
Mon
|
Tue
12 Jan 10am
|
Wed
6 am
|
Wed
noon
|
Thurs
|
Thurs
|
Thur
14 Jan 3 pm
|
Fri
7 am
|
Fri
12:41 pm
|
Sat
|
Sat
|
| Mon
18 Jan Holiday
|
Tue
6am
|
Tue
10:43
|
Wed
|
Wed
|
Fri
22 Jan 5 pm
|
Sat
6 am
|
|
|
Mon
|
Mon
4 pm
|
Tue
7 am
|
Tue
noon
|
Wed
|
Wed
|
Thur
9 am
|
Fri
6 am
|
Fri
11:25
|
Sat
|
Sat
|
Wed
my mailbox
|
Thur
5:22 am
|
Thru
11:50 am
|
Fri
|
|
? reading email on Tuesday at 4:12 pm yet Netflix shipping
email is time stamped 12:04 pm.
It's not yet 12 pm EST so the time most likely is UTC.
Murdoch Mysteries (Wiki: episodes)
X-ray, metal detector, fax machine, bicycle gears, jolly
jumper, tea bag,
2008
S2E9: Night Vision using a pair of parabolic reflectors,
similar to using 7x50 binoculars.
S2E10: Oliver Typewriter (Wiki),
uses a practice telegraph set as if it were connected to
telegraph system.
Remakes
Added this after seeing YouTube: Easy
Riders, Raging Bulls - Full Documentary 4K, 1:53:16
- Time Feb 1968: Cinema Trends: The Student Movie Makers.
Airplane 1980 (IMDB, Wiki)
was a parody of Zero Hour 1957 (IMDB, Wiki).
Before Easy Rider 1969 (IMDB, Wiki)
there was The Wild Angles 1966 (IMDB, Wiki)
and The Wild One 1953 (IMDB, Wiki).
Before Solaris 2002 (IMDB, Wiki)
there was Solaris 1972 (YouTube,
IMDB, Wiki)
there was Solaris 1968 (IMDB, Wiki).
Television
Programs
Cult
TV - many good TV shows covered
Lycos
Guide to TV Shows -
Ultimate TV - good
links to TV & Movies
The Prisoner -
Six of One web
site -
The Avengers - Elan
- NOON:
DOOMSDAY - Unofficial
Home Page - June
26th,
1998 Movie - Adam
Richards reviews - New
Avengers - Search
Results - TV home page
- James Dawe's
Unofficial Home Page -
The Twilight Zone - snap
- Lycos
- guide
- TZ
Directory - cultTV
- One of my favorites (screen play was in TV Guide) 6.The eye of
the beholder Plastic surgeons in some unknown society make one
final attempt to improve a young womans face so that she can
live among normal people - Lycos
- The
Sign Post - The
5thDimension -
Patents
Comments to Brooke
Brooke's Home
Page
[an error occurred while processing this directive] page created Jan.
2000.