Geek Stuff

© Brooke Clarke 2013 - 2025

Background
Electronic Goldfish in a Bowl
Fireflies in a Jar
Butterfly on a string
ZipString
Zendulum
Mova Globe
Plasma Globe
Drinking Bird
Collapsible Cup
Magnetic Levitating Lamp
    500g Magnetic Levitation module
Metal Earth Monarch
    Tools for Metal Earth
Electrically Operated Coin Box Device aka Thing Magic Hand
Mechanical Fingers Coin Snatcher
Diamond Tester
Chess Sets & Board Games
Toy Bombsight
Knife Sharpening
    Measuring Sharpness
    Wet stone
    Diamond Hone
    Strop
    Kuma 8" Chef Knife   
    Global GS-14 Knife
   
Straight Razor
    J&O Knife Sharpener
    Motorized Wet Stone Sharpeners
    Ruixin Pro III Rod Type Knife Sharpener
    Ruixin RX-008 Rod Type Knife Sharpener
    Air Force Pilot's Survival Knife See: One Man Life Raft
Can Opener - moved to One Man Life Raft
Liberty Jig Saw Puzzles
Buddha
Sound Generators
    Theremin
    Gluggle Jugs
    Frog Percussion Instrument
    Police Rattle
AxiDraw
California Canned Earthquake
Wind Turbine
Aeromotor
Low Power AM Broadcasting
Solar Variable Frequency or Split Air Conditioning/Heating
Gallus Lamp
Mouse Trap
Hop Rod
Lego
Related
Links

Background

There are some thing's I'm find interesting but that I'm not going to spend my life pursuing.

Theremin

The Theremin (Wiki)  is an electrical musical instrument played by using one hand to control the pitch and the other to control the volume.  Since both controls depend on the capacitance between the hand and instrument sensing antenna, any body movement other than the hand will be heard.  So you will notice that the performer is holding very still except for the hand movements. Pamelia Kurstin plays the theremin (TED, YouTube)

Although I would like get a full size theremin, they are priced way too high for what use I'd make of it.  So when a "toy" theremin showed up at http://www.thinkgeek.com I waited till they were back in stock and got one.

The theremin was originally the product of Russian government-sponsored research into proximity sensors by Lev Sergeevich Termen (Wiki).
1661058 Method of and Apparatus for the Generation of Sounds, L.S. Theremin (M.J. Goldberg and Son, G.M.B.H Germany), Feb 28, 1928, 84/674; 84/711; 331/37; 331/40; 331/55; 331/65; 331/181; 340/384.72; 984/383

1658953 Signaling Apparatus, L.S. Theremin, Feb 14, 1928,
340/562; 236/74.00R; 236/DIG.11; 246/2.00R; 246/63.00R; 246/249; 307/652; 331/176; 334/6; 336/30; 336/75; 340/590; 340/592; 361/1; 361/161; 361/181; 361/282; 455/120- any movement in a room will set off the alarm

2047912 Timing System, L Theremin, Jul 14, 1936,  307/2; 368/52; 968/827 - synchronous clock run on DC

Also see my Music web page.

Book: Theremin: ETHER MUSIC AND ESPIONAGE by Albert Glinsky, ISBN-13: 978-0252072758
Also see my music web page for other references.

YouTube: Pink Floyd - "The Great Gig in the Sky" - Theremin, 2:36 - From the album "The Dark Side of the Moon"

Fig 1 Kit as received
Theremin

Fig 2 magazine all about Theremins (Japanese?)
Theremin



Electronic Goldfish in a Bowl

Runs on 3 AA batteries or an external wall wart.
Electronic Goldfish in a Bowl

Fireflies in a Jar

The jar has frosted glass and as the LEDs inside dim and brighten it appears that there's movement.

Butterfly on a string (Solar Wobble Butterfly)

From a distance it looks like a real butterfly when near a plant.  Can add a AA battery, but it's not required.  Not sure why you'd want to use one.
The plastic stakes are very fragile, i.e. they will break if you try to force them into the ground.  You need to have a hole first then insert the stake.

Butterfly on a string (Solar Wobble Butterfly)


D682453 Solar flower with butterfly, Matthew S. Glenn, Headwind Consumer Prod, 2013-05-14, -

ZipString

Saw this in Nov 2021 on YouTube: Steve Mold: (also see Filling Nozzle) This String Shooter Is SO Weird, 11:53 - It took about 10 months to get here (received 21Sep2022).
YouTube: Bruce Yeany: String shooter-String launcher- physics of toys //// Homemade Science with Bruce Yeany, 4:19 -
Redit thread -
Hyper Toys - on box but not their web page

While charging a red LED glows near the Micro-B USB socket.
When charged the LED is blue.

Fig 1
ZipString
Fig 2
ZipString
CN113797561
Fly rope toy, Drilling Technology, 2021-12-17, - ?
CN216319961 Fly rope toy, Drilling Technology, 2022-04-19, - ?

Zendulum

A Zen Pendulum.  A magnetic ball generates an electric current when it passes over a coil that triggers the discharge of a capacitor giving it a small kick to keep it going.
Powered by a small solar cell or by a mini USB jack.  The black acrylic plastic has been laser cut, a neat idea.

The solar cell is an assembly made by Solarbotics who made this kit.  It has a printed circuit board on the back intended for one of their other kits.
The other kits use one of the MN1381 voltage triggers (MSE solar cell combo), like the MSE2 Powerful bundle kit.  The solar cell charges a big capacitor and when the cap voltage reaches the trigger point the 1381 grounds a terminal transferring the storage cap power to the load, which can be a small motor.

This works using the idea from an old patent "Novelty Electric Motor" from 1974, see Joule Thief web page and scroll down for other examples.

There are a couple of errors in the instructions.
Step 8 - use the 1/2" screws, not the 1/4".
Step 10 - save the left over double sided tape, it will be used to stick the solar cell to it's mount.

By turning off the switch and letting the ball come to a stop as pictured in the photo below a "+" mark can be made on the top.
Now, after moving the "+" mark 90 so it's facing forward the switch can be turned on and the ball given a slight nudge.
After running for a number of cycles and switch is turned off.
The "+" mark is either at or near the top.

Note:  This electrical circuit has a lot in common with the Joule Thief.

Zendulum top
Zendulum bottom https://youtu.be/PEMa5ySuc5E

An early version of this that used classical pendulum with a magnet on the tip is in Chapter 11 of the book: Junkbots, Bugbots & Bots on Wheels: Building Simple Robots with BEAM Technology by Hrynkiw and Tilden.  This book has a neat idea they call the Miller Solar Engine that uses a microcontroller voltage dropout detector IC to allow a solar cell to charge a capacitor that may have application to the Joule Thief idea of recovering energy.

If the ball is left on the rails and the Sun goes down the ball ends up in the center as pictured above.  The next day when there's light, but not direct Sun the ball and coil act like a loudspeaker and makes a faint beep that can take some time to track down.  This unit is NOT self starting, so even when in direct Sun the ball will not start moving, but just make the faint beep.

Mova Globe (MovaGlobes.com)

Mova Globe
It does turn from room lighting.  So far have not got it under overhead sun.
Maybe in half a year (Now December 2018 so Sun is low in the sky).
A sphere, like a map of Earth, spins inside a clear plastic sphere for ever.  Solar powered, so needs a lot of light to spin.
4.5" Blue with Relief Map on order 2018 December 1.
6937125 Self
                  rotating display spherical device, William W. French,
                  1999-10-18 - 6853283 Frictionless self-powered moving display, William W. French, 1999-10-18 - Original method
6937125 Self
                  rotating display spherical device, William W. French,
                  1999-10-18 -
6937125 Self rotating display spherical device, William W. French, 1999-10-18 -alternate methods

1856514 Electrical top, Loyd L Sheneman, 1932-05-03, 446/259 446/484 310/46 - runs on a grid of squares alternating + and -.

Bill French YouTube:  Mova Origins, Mova Globe origins and operation, 10:27.
Mova Globe : Internal Mechanism Revealed by Cutting Open -
YouTube: This Mysterious Globe Perpetually Spins With No Batteries, 7:04 - cutaway view

Media appearances:
Extant (IMDB): Black star map version on same base as mine appears on the desk of  Sam Barton (Camryn Manheim), Episodes 1, 6, 

Plasma Globe

This is the 8" size with a AC line power supply.  There are larger and smaller sizes and some of the smaller ones run from a battery.

Plasma Globe
This still photo does not capture the motion or the effect when a hand is placed on the globe.
Here is a movie showing the motion: https://youtu.be/rKxu1DK-WZQ


The Wiki page shows a Tesla patent  but Bill Parker is the inventor of this device.
454622 System Of Electric Lighting, N. Tesla, 1891-06-23 - >= 15 kHz & >=29kV AC drive
514170 Incandescent electric light, N. Tesla, 1894-02-06 - insulates the wire inside the globe, only the ball is exposed

The Parker patents are all for a hemispherical dome, but the actual product is close to a spherical globe.

 
4963792 Self
                  contained gas discharge device, William P. Parker,
                  Lahive & Cockfield, 1990-10-16 Plasma Globe
4963792 Self
                  contained gas discharge device, William P. Parker,
                  Lahive & Cockfield, 1990-10-16 Plasma Globe 4963792 Self contained gas discharge device, William P. Parker, Lahive & Cockfield, 1990-10-16
4754199 Self
                  contained gas discharge device, William P. Parker,
                  Lahive & Cockfield, 1988-06-28 Plasma Globe
                  gasses
4754199 Self contained gas discharge device, William P. Parker, Lahive & Cockfield, 1988-06-28
Table 1 possible gas mixtures


D322489 Decorative gas plasma light display, William P. Parker, Lahive & Cockfield, 1991-12-17

Drinking Bird

The Drinking Bird (Wiki) is something that moves and is energy efficient.  These are on eBay for under $10 including shipping.  "Drinking Bird" are the search terms, maybe "magic".

Fig 1 No adjustments needed.  Just install with head and feet pointing the same way.
Drinking Bird



Fig 2 The head is made of porous material that gets soaked with water
Drinking Bird



250821 Oscillating
                  motor, I. L. Landis, Dec 13, 1861, 60/675

250821 Oscillating motor, I. L. Landis, Dec 13, 1861, 60/675
253868 Motor, A.
                  & A. Iske, 1882-02-21, 60/675
253868 Motor, A.
                  & A. Iske, 1882-02-21, 60/675 253868 Motor, A. & A. Iske, 1882-02-21, 60/675 -
2384168 Activated
                  amusement device, Arthur M Hillery, 1945-09-04,
                  60/641.6; 60/675; 446/304; D21/812; 40/406; 446/87
2384168 Activated amusement device, Arthur M Hillery, 1945-09-04, 60/641.6; 60/675; 446/304; D21/812; 40/406; 446/87 -
2402463 Novelty
                  device, Miles V Sullivan, 1946-06-18, 446/199; 40/406;
                  159/906
2402463 Novelty device, Miles V Sullivan, 1946-06-18, 446/199; 40/406; 159/906

YouTube: The Engineering of the Drinking Bird, 10:27 -

Collapsible Cup

Fig 1
Cyclist's Cup
Fig 2 Pat'd Feb 23, '97 (577764)
Cyclist's Cup
Fig 3
Cyclist's Cup
Fig 4
Cyclist's Cup



First saw these in the movie The In-Laws (IMBd) where it's carried in a fanny pack by Albert Brooks.
There are some eBay listings for a "Cyclist's Cup" with a patent date of: Feb 23, 1897 - Knox brand & "Cyclist's Cup" have same patent date.
There's also an eBay listing for an engraved Silver version with a patent date of: Dec 31, 1912 (1049199)

21955 Drinking Cup, L. Grosholz, 1858-11-02, 206/218; 220/8; 206/37; 126/43 -telescoping collapsible cup
577764 Collapsible Cup, J. Lines, 1914-02-2
577764 Collapsible Cup, J. Lines, 1914-02-23, 220/8 126/43 -

640418 Collapsible drinking-cup, Samuel M Royer, 1900-01-02, 206/218; 220/8; 206/37 - includes tea strainer

211568 Pocket-Cup, L. Hailer, 1879-01-21, 206/218; 220/8; 206/37  adds-wire handle

212221 Pocket-Goblet, G.H. Hazelton, 1879-02-11, 220/8; 206/218; 248/558; 248/688 -has goblet base

988453 Collapsible drinking-cup, Edward Hanna Forney, 1911-04-04, 229/405 383/43 493/186 4/259 -folded paper

1048935 Drinking-cup, John F Brady, 1912-12-31, 220/8 - "...objects are facile portability, compactness, freedom from rattling when in collapsed position, non-accessibility to dust, and reversibility of the cover as base."

1049199 Collapsible drinking-cup, Henry W Bowman, 1912-12-31, 220/8 193/25S 428/906 - has wire handle, spiral rather than telescoping sections.

Magnetic Levitating Lamp

With the power off, after plugging in the power pressing the touch switch does nothing.  In order to turn the unit on, the lamp must first be removed, the switch pressed then the lamp slowly brought back to the balance point.
When the power (12 VDC <= 1 Amp) is turned off the lamp jumps up.  That's to say the active magnetic circuit is pressing the lamp down and permanent magnets are pulling it up.

Note the "lamp" uses the new (2019) linear LED "filaments" and it rotates when on.

Fig 1 Mova Globe, Levitating lamp,
Plasma Globe, Novelty Electric Motor,
the Swinging Sticks Kinetic Sculpture is
just off camera to the right.
Magnetic
                  Levitating Lamp


Levitron Arts is the patent holder.

500g Magnetic Levitation module

Patents

3215901 Method and device for maintaining stationary position of a ferromagnetic body freelyfloating in electromagnetic field, Carniol Bohdan, 1965-11-02 - ferromagnetic rotor of an ultra-centrifuge, freely floats in the magnetic field of an elect-romagnet, coils above and below rotor. (but no to have a gap visible)
4585282 Magnetic levitation system, Robert W. Bosley, Levitron Intl, Filed: 1983-07-19, Pub: 1986-04-29 - active circuit Fig 1 coils above and below, but later figures show only bottom coil.
4910633 Magnetic levitation apparatus and method, Louis P. Quinn, 1990-03-20 - a magnet is held by an electromagnet above it, uses a sensor and variable lift adjustment to control gap, low cost, plans on internet, but touchy to get working.
5168183 Levitation system with permanent magnets and coils, Lorne A. R. Whitehead, University of British Columbia, 1992-12-01 - complex
YouTube: Inventing the Gravitron (LEVITRON From-Below Electromagnetic Levitator) -
YouTube: Levitation Arts Levitating Light Bulb - support from below
YouTube: 2017: A MOUSE ODYSSEY - mouse climbs on floating disk (note: www.floatingstuff.com forwards to levitationarts.com)
YouTube: LEVITRON / GRAVITRON Technology From Levitation Arts
5218257 Magnetic levitation self-regulating systems, Oleg Tozoni, Maglev Tech Inc, 1993-06-08 - for trains all PMs
5404062 Magnetic levitation device and method, Edward W. Hones, William G. Hones, Creative Gifts Inc, 1995-04-04 - a PM top is spun over a PM square sheet then, using a non-magnetic lifter plate the top is raised.  It will then hover for a little while.
5883454 Electormagnetic drive method and apparatus for driving a rotationally stabilized magnetically levitated object, Edward W. Hones, William G. Hones, Creative Gifts Inc, 1999-03-16 - spinning top floats for a while
6275127 Solar powered magnetic support for display, William Wallace French, 2001-08-14 -
6373676 Magnetic floatation control system,William Baker JohnSpan Inc (Hewlett-Packard),
7348691 Magnetic levitation apparatus, Harold Davis, Lorne Whitehead, Levitation Arts Inc, Filed: 2003-09-29, Pub: 2008-03-25 - much simpler 39 claims
7505243 Magnetic levitation apparatus, Harold Davis, Lorne A. Whitehead, Levitation Arts Inc, 2009-03-17 - 25 claims
WO2010150207A1 Floating lamp, Eberhard Waffenschmidt, Peter Visser, Philips, 2010-12-29 - floats above base, LED

Metal Earth Monarch

Metal Earth makes laser cut metal "bend the tabs" type 3D model objects.  I got the Monarch to see if the colors shown were part of the kit. (they are)

Assembly Tips

1. Be sure you do not cut metal sheet when opening envelope.
2. It's not clear how to best separate the parts from the sheet. (Flush Cutters)
3. I used a stereo zoom microscope and tweezers to do the assembly.
3. When a box is around some parts assemble these parts into a sub-assembly before any other assembly.
4. When doing a "tab only" bend to attach two parts look for a notch on the non tab part to be sure you have them properly aligned.

YouTube:
Fascinations Metal Earth Model Kit Basics - TOOLS -
 Fascinations Metal Earth Kit BASICS - tweezers, flush cutters, jewelers screwdriver, needle nose pliers - he says assembly proceeds by part number, but that is not the case for the Monarch.
Q-tip and alcohol to remove finger prints.

Fig 1 Front of package.
Notice you can see metal sheet at top and in triangle notch at bottom left.
This is important when you cut envelope to remove metal sheet.
Metal Earth
              Monarch
Fig 2 Limited instructions.
Metal Earth
                Monarch
Fig 3 Metal sheet
Metal Earth
              Monarch
Fig 4 Assembled.
Metal Earth
                Monarch

Tools for Metal Earth

From the video above.

Fig 1 Tools shown with Metal Earth Dozer (3 sheets)
Tools for
                  Metal Earth
Fig 2
Tools for
                  Metal Earth

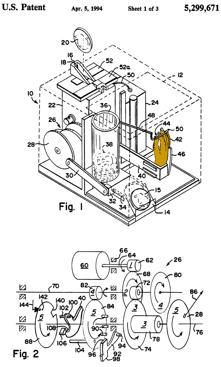
Electrically Operated Coin Box Device aka Thing Magic Hand

Found this while searching all the patents in class 446/484 Amusement Devices: Toys/Electric
Also see Money - Coins & Locks Coin Banks  

Photos

Fig 1 US Patent 3243914
Electrically
                  Operated Coin Box Device aka Thing Magic Hand
Fig 2
Electrically
                  Operated Coin Box Device aka Thing Magic Hand
Fig 3
Electrically
                  Operated Coin Box Device aka Thing Magic Hand
Fig 4
Electrically
                  Operated Coin Box Device aka Thing Magic Hand


3243914
3243914
                  Electrically Operated Coin Box Device, Donald B
                  Poynter, April 5, 1966, 446/9 446/484 472/71 194/310
                  472/70 -
3243914
                  Electrically Operated Coin Box Device, Donald B
                  Poynter, April 5, 1966, 446/9 446/484 472/71 194/310
                  472/70 -

3243914 Electrically Operated Coin Box Device, Donald B Poynter, April 5, 1966, 446/9 446/484 472/71 194/310 472/70 -
Grabs coin and drops it into box.  To retrieve coins open lid and dump them out.  You will need something thin to pry lid open.

Packaged in a box marked:  "The Thing from The Adams Family" (Wiki).

Foot (35) shakes box while hand is reaching for coin.

The Poynter Products company was formed later.
3244420 Miniaturized basket-ball backboard, Donald B Poynter, Poynter Products Inc, 1966-04-05, - mount over wastebasket
4300473 Device for moistening the adhesive coating on postage stamps and envelopes, Donald B Poynter, Poynter Products Inc, 1981-11-17, - similar to 3243914 except a wet tongue comes out of the box.
4432542 Joke cigarette lighter, Donald B Poynter, Poynter Products Inc, 1984-02-21, - looks like BIC lighter (Wiki) but shoots out foam spaghetti that can not be stopped.  A one time use item.
5004122 Article dispensing package, Donald B Poynter, Poynter Products Inc, 1991-04-02, - Looks like gumball machine, but is a slice of one and mounts on wall.

There were many more Pouynter Products that were not patented.  eBay: "Poynter"
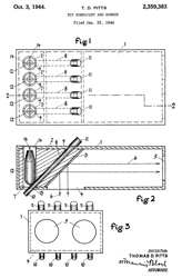
3512298
3512298 Coin return
                  amusement device, Donald B Poynter, May 19, 1970,
                  446/9 446/484
3512298 Coin return
                  amusement device, Donald B Poynter, May 19, 1970,
                  446/9 446/484

3512298 Coin return amusement device, Donald B Poynter, May 19, 1970, 446/9 446/484 - rejects coin, throws it back
5299671 Coin
                  exchanger, Clifford Garland, Apr 5, 1994, 194/310;
                  446/9; 453/41



5299671 Coin exchanger, Clifford Garland, Apr 5, 1994, 194/310; 446/9; 453/41 - takes in one coin, outputs a different coin

Mechanical Fingers Coin Snatcher

This has the same function as the above coin snatcher, but this one is all mechanical.
Marked: "Fingers" and "Coin Bank b y Frankonia, Made in Japan".  It seems many tin litho toys (Wiki) were made by Frankonia toys.

Fig 1
"Fingers" "Coin Bank by
                  Frankonia", "Made in Japan"
Fig 2
"Fingers" "Coin Bank by
                  Frankonia", "Made in Japan"
Fig 3
"Fingers" "Coin Bank by
                  Frankonia", "Made in Japan"

Diamond Tester

First saw this on BigClive.com's YouTube: Inside a diamond tester. (thermal conductivity) - "Diamond Selector II"
eBay title:
"NEW LED V2 Jewelry Diamond Gemstone Gems Tester Selector Tool + Battery w SGV" under $10.
A better choice would be to get both the Diamond and Moissanite tester set of 2 testers for under $15.

Patents

The key methods are thermal conductivity, electrical resistance/conductivity and optical transmission/absorption/emission.  Some of the electrical conductivity testers use 1,000 VDC with current limiting.

6265884 Electrical conductivity gem tester, Solomon Menashi, David Barrett, Wayne Duderwick, Randolph M. Bogdan, CERES Crystal Industries Inc, 2001-07-24, 324/717; 324/693; 324/71.1; 324/722 - 1,000 VDC limited to 33uA.
Cites:
Publication number  Priority date  Publication date  Assignee  Title
US3944922A1973-10-15  1976-03-16  The Parc-Amber Company Limited  Resistivity measuring heads - semiconductors
US4255962A1978-04-10  1981-03-17  Ceres Corporation  Method and means of rapidly distinguishing a simulated diamond from natural diamond - Thermal conductivity
US4324129A1979-03-28  1982-04-13  Unisearch Limited  Method and means for distinguishing gemstones - gem becomes part of a thermoelectric generator
US4344315A1978-12-29  1982-08-17  Ceres Electronics Corporation  Method and device for distinguishing material by thermal conductivity - Thermal conductivity
US4364677A1978-04-10  1982-12-21  Ceres Electronics Corporation  Method and means of rapidly distnguishing a simulated diamond from natural diamond - Thermal conductivity by heating probe tip then touching the gem and watching how fast the tip cools.
US4488821A1981-03-03  1984-12-18  Ceres Electronics Corporation  Method and means of rapidly distinguishing a simulated diamond from natural diamond
US4616939A1984-05-23  1986-10-14  Meir Gitlis  Apparatus for testing diamonds - enhanced thermal conductivity by using LM339 voltage reference
US4646571A1985-02-11  1987-03-03  Krautkramer- Branson, Incorporated  Method and apparatus for hardness measurement - hardness
US4841764A1987-11-07  1989-06-27  Helmut Fischer  Device for a hardness measuring instrument - hardness
US4898470A1988-07-12  1990-02-06  Eastman Kodak Company  Apparatus and method for testing circular cylindrical or conical surfaces - optical
US4906083A1987-05-21  1990-03-06  Sattler Hans Eberhard  Apparatus for examining gemstones and the like - microscope with dark-field illumination
US5052819A1989-06-12  1991-10-01  Baratta Francis I  Method of and apparatus for nondestructively determining the composition of an unknown material sample - thermal test for grade 8 bolts
US5118181A1989-10-27  1992-06-02  Wellborn Ltd.  Method and apparatus for identifying gemstones, particularly diamonds - UV or IR radiation and measuring the spectrum emitted
US5317275A1992-01-13  1994-05-31  Orbital Sciences Corporation  Conductance measurement circuit with wide dynamic range - aimed at bacteria, but could be used on diamond
US5358596A1992-07-02  1994-10-25  The Board Of Trustees Of The Leland Stanford Junior University  Method and apparatus for growing diamond films - allows growing real diamond on top of fake diamond
US5379102A1991-12-24  1995-01-03  E.R.C. Company Ltd.  System for identifying jewels - bench top system of microscope, and PC
US5450745A1994-07-29  1995-09-19  Flaherty; Frank  Edge strength tester
US5533411A1992-06-25  1996-07-09  Hitachi Construction Machinery Co., Ltd.  Method and apparatus for nondestructive testing of physical characteristics of a specimen using ultrasonic waves
US5536943A1992-05-19  1996-07-16  Gersan Establishment  Method and apparatus for examining an object - optical transmission at 254 & 365nm compared.
US5559436A1994-11-21  1996-09-24  Marion Matthews  Method and apparatus for distinguishing synthetic diamonds from natural diamonds - the diamond (no metal) is placed in an air core inductor and the change in frequency measured.
US5603414A1992-06-03  1997-02-18  Gersan Establishment  Detecting diamonds in a rock sample - X-ray method used for mining not gems
US5620253A1995-07-31  1997-04-15  Lucent Technologies Inc.  Method of determining the thermal resistivity of electrically insulating crystalline materials - uses thermal resistance & optical transmission
US5664884A1995-07-31  1997-09-09  Lucent Technologies Inc.  Apparatus for determining the thermal resistivity of electrically insulating crystalline materials - uses thermal resistance & optical transmission
US5703288A1995-07-19  1997-12-30  Ricoh Company, Ltd.  Thermally-sensitive type flow meter having a high accuracy
US5748317A1997-01-21  1998-05-05  Brown University Research Foundation  Apparatus and method for characterizing thin film and interfaces using an optical heat generator and detector
US5756893A1995-06-14  1998-05-26  Nippondenso Co., Ltd.  Thermal flow meter - heaters and temperature sensing based
US5801819A1994-09-02  1998-09-01  Gersan Establishment  Distinguishing natural from synthetic diamond - UV flash lamp -> phosphorescence measured (long is fake)
US5807523A1996-07-03  1998-09-15  Beckman Instruments, Inc.  Automatic chemistry analyzer -using a nephelometer (Wiki).  My Rabbit Air filter uses one of these.
US5811824A1994-01-25  1998-09-22  Gersan Establishment  Method and an apparatus for testing whether a diamond has a layer of synthetic diamond deposited thereon
US5811817A1996-04-25  1998-09-22  Ravich; Gilbert Norman  Method & apparatus for detecting fracture filled diamonds
US5835200A1990-04-24  1998-11-10  Gersan Establishment  Method and apparatus for examining an object - based on UV transmission
US5835205A1996-02-12  1998-11-10  C3, Inc.  Optical testing system for distinguishing a silicon carbide gemstone from a diamond - based on UV transmission
US5844684A1997-02-28  1998-12-01  Brown University Research Foundation  Optical method for determining the mechanical properties of a material
US5880504A1994-09-07  1999-03-09  Gersan EstablishmentExamining a diamond - max absorption at 415.5 nm
US5955735A *1997-09-29  1999-09-21  C3, Inc.  Apparatus and method for positively identifying synthetic silicon carbide gemstones - using lingt transmission around 350 nm-370 nm

Cited by:
Publication number  Priority date  Publication date  Assignee  Title
US6439766B1 *2001-02-06  2002-08-27 Oris L. Nelson Diamond detecting apparatus and method
EP1378748A1 *2002-07-05  2004-01-07 Wetenschappelijk en Technisch Onderzoekscentrum voor Diamant Method and device for discriminating between real and fake gemstones based on electrical conductivity measurements
US20050141588A1 *2002-04-19  2005-06-30  Mark Robertson  Method and apparatus for assessing the integrity of a jewellery setting
US20050206388A1 *2003-12-30  2005-09-22  Quint Jonathan B  Battery management system and apparatus with anomaly reporting
US20060087306A1 *2004-10-18  2006-04-27  Boris Zolotar Loginov  Gem tester using electrical photo conductivity
US20060176046A1 *2005-02-07  2006-08-10  Walker Jason A  Power meter for biasing an audio amplifier
US20080078677A1 *2005-11-11  2008-04-03  Chua Yih J  Testing Device For Precious Metals
US20090070236A1 *2005-05-21  2009-03-12  Ehud Cohen  Diamond and Precious Stone Trading Platform with Funding and Delivery Transparency
US20090281928A1 *2003-12-30  2009-11-12  Quint Jonathan B  Battery management system with runtime reserve analysis
US20100138167A1 *2007-04-27  2010-06-03  Panasonic Corporation  Flow rate measurement apparatus, program thereof, flow rate measurement method, and fluid supply system
US20120007619A1 *2010-07-09  2012-01-12  Xiuling Zhu  Multi-functional precious stone testing apparatus and method thereof
US20120049836A1 *2010-06-21  2012-03-01  Kessler Daniel L  Gem Tester
US8833635B1 *2011-07-28  2014-09-16  Us Synthetic Corporation  Method for identifying PCD elements for EDM processing
US20150091593A1 *2011-02-16  2015-04-02  Shenzhen DiKai Industrial Co., Ltd.  Multi-Functional Precious Stone Testing Apparatus and Method Thereof
US9037430B1 *2009-07-07  2015-05-19  Us Synthetic Corporation  Methods and systems for non-destructively testing a polycrystalline diamond element
US20160161420A1 *2011-02-16  2016-06-09  Shenzhen DiKai Industrial Co., Ltd.  Multi-Functional Precious Stone Testing Apparatus and Method Thereof
US9395350B2  2010-06-21  2016-07-19  Sy Kessler Sales, Inc.  Gem tester
US10161878B2  2015-08-12  2018-12-25  Jubilee Diamond Instrument (S) Pte. Ltd.  Diamond identification apparatus
US10228330B2  2016-06-01  2019-03-12  Jubilee Diamond Instrument (S) Pte. Ltd.  Precious stone testing device
8278906 Apparatus for simulating thermal conductivity and electrical resistance of diamonds and their substitutes, Boris Z. Loginov, Leonid Radomyshelsky, Tri Electronics Inc, 2012-10-02, 324/71.1; 324/693; 324/717 - A way to make something that has the thermal and electrical characteristics of diamond, moissanites or cubic Zirconia using common low cost materials.
Cites:
Publication number  Priority date  Publication date  Assignee  Title
US4255962A *1978-04-10  1981-03-17  Ceres Corporation  Method and means of rapidly distinguishing a simulated diamond from natural diamond - Thermal conductivity
US20060087306A1 *2004-10-18  2006-04-27  Boris Zolotar Loginov  Gem tester using electrical photo conductivity
Cited by:
Publication number  Priority date  Publication date  Assignee  Title
US20120049836A1 *2010-06-21  2012-03-01  Kessler Daniel L  Gem Tester
US20150233740A1 *2012-09-17  2015-08-20  Presidium Instruments Pte Ltd. a corporation  Analysis tool member
US9395350B2  2010-06-21  2016-07-19  Sy Kessler Sales, Inc.  Gem tester
US10161878B2  2015-08  122018-12-25  Jubilee Diamond Instrument (S) Pte. Ltd.  Diamond identification apparatus
US10228330B2  2016-06-01  2019-03-12  Jubilee Diamond Instrument (S) Pte. Ltd.  Precious stone testing device

Chess Sets & Board Games

Chess

While I can play chess (Wiki) my skill is so low that I don't know how to specify my rank.
I very much like some chess sets because of the design.  Some of these I've owned in the past.

Wood Chess Set Weighted Pieces Majestic Staunton Ebony/Boxwood 4"+2 Extra Queens


I wanted a set where the Bishop's mouth was more open than on the common Staunton (Wiki) sets.  This one still is not as open as the one shown on the Wiki Page.
From eBay seller houseofchess_store
The King is 4.1" (104mm) tall with a base diameter of 1.79" (45mm) and weights 2.6 oz (74g) [1.79" is 3/4 of 2.4" square, or 80% of a 2.24" square]
Note that the standard height of the king for tournament play is 3-3/4".  House of Staunton: The Leeds Series Luxury Chess Pieces - 3.75" King, MENWLED375
8 * 2-1/4" = 18" + border ~22" overall board size?
The Chess.com web page: Chess Board Dimensions | Basics and Guidelines‎ -

square size should be anywhere from 2 inches to 2.5 inches (World Chess Federation (FIDE): 1.97" to 2.36")
king's height
 should be 3.375 inches to 4.5 inches (World Chess Federation (FIDE): 3.74")
These pieces are weighted to the point that they will stand up if the head is lifted up maybe a inch.  The weight is also attracted to a magnet.
Jaques
                    Cook Staunton Chess Set from Wiki
Photo from web page:
https://en.wikipedia.org/wiki/Staunton_chess_set

Note the open mouth on the Bishop.

Fig 1 King
Wood Chess
                    Set Weighted Pieces Majestic Staunton

Fig 2 Bishop
half open mouth
Wood Chess
                    Set Weighted Pieces Majestic Staunton







Go

 (Wiki) is an interesting game and there are boards made very solid so that when a stone is put down it makes a nice sound also to keep vibrations from moving the stones as someone walks by.  Note the board at the top of the Wiki page.

Backgammon

Toy Bombsight

Eagle Bombsight by Toy Creations, Inc.
On order 12 May 2021.

Holds 4 bombs.  45 degree mirror "bombsight", but no cross hairs or anything to differentiate aim point for the 4 different bomb locations.  Pull out dowel to release bomb.

Fig 1
Toy Creations
                  Bombsight
Fig 2
Toy Creations
                  Bombsight
Fig 3
Toy Creations
                  Bombsight
Fig 4 Needed a couple drops of glue.
Toy Creations
                  Bombsight



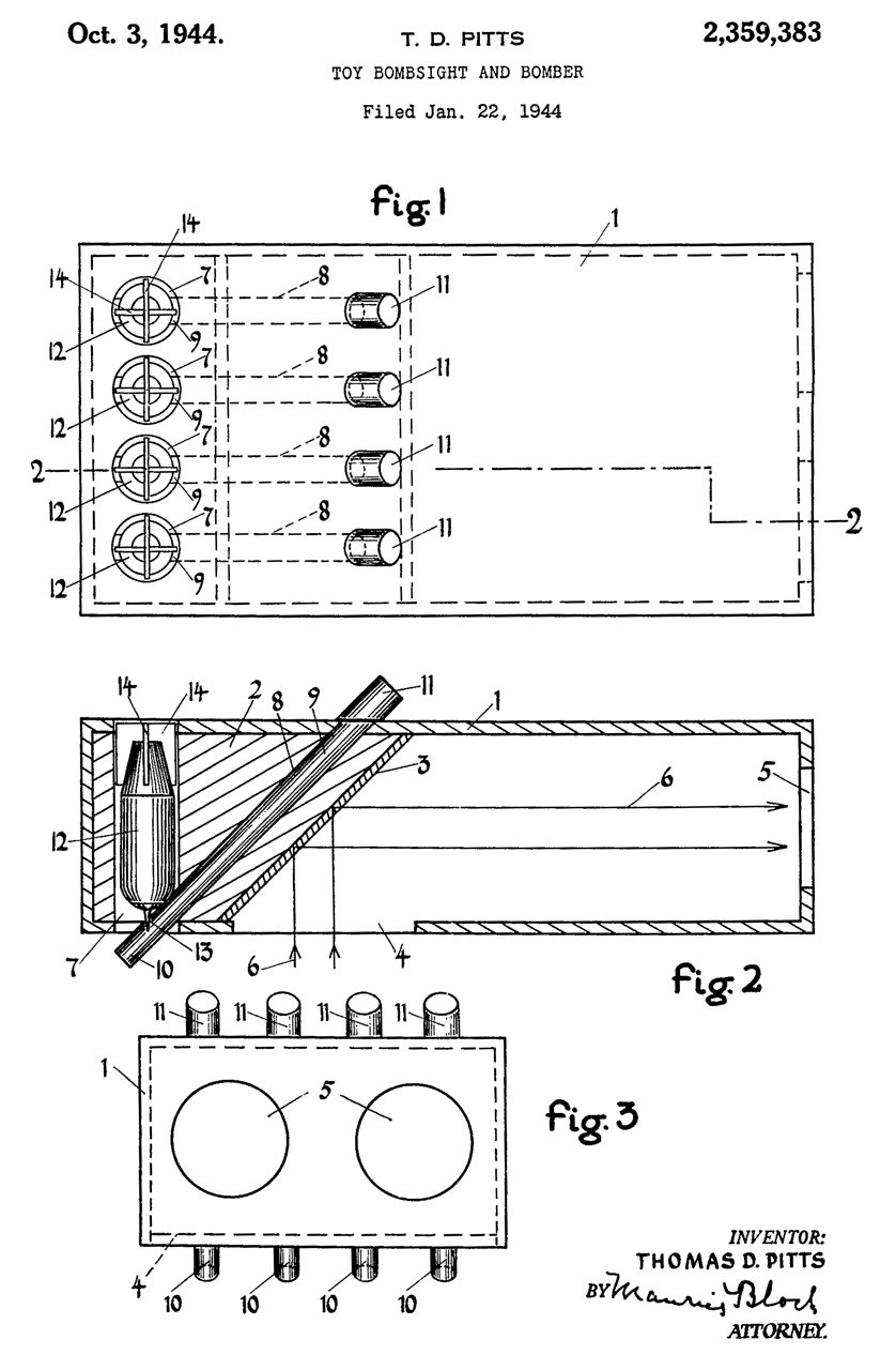
2359383 Toy bomb sight and bomber, Thomas D
                  Pitts, Toy Creations, 1944-10-03
2359383 Toy bomb sight and bomber, Thomas D Pitts, Toy Creations, 1944-10-03, -
D137482 Design for a game board or similar
                  article, Thomas D Pitts, Toy Creations,1944-03-21 D137482 Design for a game board or similar article, Thomas D Pitts, Toy Creations,1944-03-21 - Berlin Map

Knife Sharpening

Measuring Sharpness

The Brubacher Edge Sharpness Scale (BESS) developed by Mike Brubacher.  Measures the force needed to cut a standard media.
The scale records the maximum force needed.  The media appears to be something like Fluorocarbon fishing line. "... test media is 0.23mm (.009", i.e. 6#) in diameter and composed of humidity and temperature resistant coated polymer plastics."
Edge On Up - YouTube - sells BESS related products.

Knife Steel Nerds: What Causes Razor Blades To Dull -
BESS Exchange forum: Precision Sharpness Testing Device -
YouTube: How we check the quality of sharpening - BESS, Edge Tester, Cigarette paper, Copper Roller the BESS, Stropping,
Knife Grinders AU - YouTube - Book (pdf) "Knife Deburring: Science behind the lasting razor edge" - also a number of accessories for the Tormek-WEN BG4270-Record WG200/WG250 - Scheppach 2000/2000s/2500&3000vs - Jet JSSG-10 - NTS 250PRO - Triton TWS10 - ELMOS BG200 and Paper wheels - grinders - software to compute angel settings for different size wheels on the Tormek.

DARTA: Knife & Blade Cutting Test Machine - Some test resultsGlobal at top of list. (see Global GS-14 below) 
6/3/21 have the G-2 & Sharpener combo on  order

2021 June 5 - Have an idea for a very simple (low cost) way of measuring sharpness.

Simple Knife Sharpness Test (SKST)

Simple Knife Sharpness Test
Seaguar Invizx 06VZ200 (2.7 kg, 6#) 100% Fluorocarbon fishing line
100g Weight with paper clip "hook" to grab line.

4353960 Composite and conjugate filaments, Hiroyuki Endo, Hiroshi Ohhira, Tohru Sasaki, Kureha Corp, 1982-10-12, - Seaguar invented Fluorocarbon fishing line.

This is to use fixed weights instead of a special scale.
I'm using a common balance weight set that includes 100g and 200g weights and Seaguar Invizx 100% Fluorocarbon fishing line that's been tied into a loop using the Uni-knot.  A paper clip is used on each weight to make a hook to grab the line.
When testing start out with the lowest weight you expect the knife to fail to cut.  That way you get to keep using the same loop for multiple tests.  This is unlike the scale method where every test destroys a fishing line.

YouTube: Simple Knife Sharpness Test (SKST) 1:29 - 8 June 2021 the SKST seems to work.  Looking for a quick easy way to tie loops of this fine fishing line.

Wet Stone

8 June 2021 - The idea of hand sharpening is in my opinion something only those with a lot of skill/practice can do some of the time. Far far better is some type of system where the knife to stone angle is controlled by a fixture.  It's not so important that it be a constant angle, but it's very important that it's the same angle at the same place on the edge.

eBay Title:  "Knife Sharpening Stone Safe Set Whetstone 2 Side Grit 1000/6000 Waterstone Strai"
Soak stones for up to an hour.  Use cloth or paper towel to keep stone wet.
The angle from the factory seems to be different than the angle of the fixture, so a LOT of 1000 grit work to get it to match.

Fig 1 What's Included.
Wet Stone
Fig 2 No Name Very Dull knife for practice.
Wet Stone
Fig 3 Green Dressing Stone knocked down
some high areas near the long edge.
Wet Stone

Diamond Hone

This is a Gordon 4 Sided Diamond Hone Block, Harbor Freight Item 92867 with grits of 200, 300, 400 & 600.

Within maybe 10 minutes on the 600 grit face the cheap no name knife is starting to cut a paper towel.

Fig 1  The wadded up paper towel is being used as a sponge to keep both abrasive surfaces wet.
Diamond
                    Hone & Wet Stone

Strop

I remember the local barber using a strop (Wiki) to sharpen a straight razor prior to shaving me.  That was a double sided hanging strop, this one is a double sided paddle strop.
Beaver Craft Tools - Ukraine - LS1P1: Dual-sided Leather Paddle Strop with P1 Polishing Compound ( M7 compound is 7-5 micron)

Fig 1
LS1P1:
                    Dual-sided Leather Paddle Strop with P1 Polishing
                    Compound
Fig 2
LS1P1:
                    Dual-sided Leather Paddle Strop with P1 Polishing
                    Compound
After using all 4 stones on the Ruixin Pro III then a few strokes on the strop side with the green polishing compound the knife cuts paper.

Kuma 8" Chef Knife

This should be much easier to maintain that the no name knife and probably a lot sharper.  Out of the box it easily cuts paper.

Fig 1 Close-up of edge.
Kuma 8" Chef Knife

Fig 2 Box has magnetic latch
Kuma 8" Chef Knife

Fig 3 Label side
Kuma 8" Chef Knife

Fig 4 Back side
Kuma 8" Chef Knife


Global GS-14 Knife

Global cutting knife GS-14 is probably my sharpest kitchen knife.  But this is a serrated edge so not suitable for the above sharpening methods.
How to sharpen serrated blades?
Fig 1
Global cutting
                    knife GS-14

Straight Razor

This may be the sharpest blade I know of.  Looking into how to quantify "sharpness".  Let me know.
693524 Razor, George W Korn, 1902-02-18, 30/32; 30/346.6; 30/346.55; 30/348 - oldest in class 30/346.55
"...the one known as the '' English hollow ground,"which has concave faces that extend from the cutting edge to the very back of the blade. These have practically ceased to retain their hold upon the market, because of the vibratory character of the edge, since the extended concavity made the cutting edge vibratory to such an extent also render the instrument itself objectionable in use."

"The other kind of razor largely in use is known as the ''Hamburg concave," which had the back portion of the face concave and the edge portion substantially convex and which, though producing a satisfactory cutting edge When new, was subject to the serious objection that after short use it could no longer be honed, owing to the fact that the ridge of the convexed portion would stand Outside of the line drawn from the extreme back to the extreme cuttingedge, there by preventing the edge from touching the hone."

This invention adds a ridge that's low enough to allow honing.
135793 Razors, E. A. Freeman, 1873-02-11, - oldest patent in class 30/32
266034 Razor, E. Heberer, 1882-01-17, - oldest patent in class 30/346.6 - a device with rollers hold the razor while using it
72 Scythe, Silas Lamson, 1836-10-29, - oldest patent in class
30/348
1100051 Razor-sharpening machine, George Browning, Perfection Razor Strop Co, 1914-06-16, 
451/196 - for sharpening thin bladed razors, like the Gillette which means a razor blade rather than a straight razor.
1064 Tanners Tool (blade sharpening bench), W.
                    Eglestron, 1839-01-08
1064 Tanners Tool (blade sharpening bench), W. Eglestron, 1839-01-08, 451/166 - oldest in class 451/166.
272345 Knife Edging Machine, James A. Stephens,
                    1883-02-13
272345 Knife Edging Machine, James A. Stephens, 1883-02-13 - Like 1064 has the blade fixed with surface to be ground pointing up.  This way it's easy to look at the newly ground surface.

Here is a home made version:
The knife SHARPENING jig II - starts with building, @6:00 using, @14:17 Scissors
Looks like an accident about to happen.

J&O Knife SHARPENING Jig III -starts with building, all metal construction @1:01 using (no scissors option)
Facebook -
Tormek -

J&O Knife Sharpener

Here is a home made version:
The knife SHARPENING jig II - starts with building, @6:00 using, @14:17 Scissors
Looks like an accident about to happen.

J&O Knife SHARPENING Jig III -starts with building, all metal construction @1:01 using (no scissors option)
Facebook -

KMFS Knife Sharpening Kit - @3:50 Setup - dual stones, one on each side of the knife, seems awkward.

Motorized Wet Stone Sharpeners

The Tormek family is the gold standard.

Tormek - makes grinding wheel type sharpeners the K-2 is for kitchen knives. - Knife Sharpening - YouTube -
 T-2 Kitchen Knife Sharpener (open :Show More" for a Table of Contents with links.)

9186767 Knife jig assembly, Hakan Persson,
                    Tormek AB, 2015-11-17 SVM-100 Small Knife Holder
9186767 Knife jig assembly, Hakan Persson, Tormek AB, 2015-11-17, - SVM-100 Small Knife Holder
D625743S1 Truing tool for a grindstone, Torgny
                    Jansson, Tormek AB, 2010-10-19 - TT-50 Truing Tool
D625743S1 Truing tool for a grindstone, Torgny Jansson, Tormek AB, 2010-10-19 - TT-50 Truing Tool
9950401 Jig means for a grinding machine and a
                    grinding machine comprising the jig means, Hĺkan
                    Persson, Tormek AB, 2015-06-18, - K-2 kitchen knife
                    angle guide
9950401 Jig means for a grinding machine and a grinding machine comprising the jig means, Hĺkan PerssonTormek AB, 2015-06-18, - T-2 (Tormek) kitchen knife angle guide

This mounts to the standard tool support rod, but I don't see it being offered as a stand alone product for the normal grinding machines.

20200316749A1 Arrangement for grinding edged tools - a version that uses the face of the grinding wheel.
8556685 Tool setter for a grinding machine,
                    Torgny Jansson, Tormek AB, 2013-10-15, - TTS-100
                    Turning Tool Setter
8556685 Tool setter for a grinding machine, Torgny Jansson, Tormek AB, 2013-10-15, - TTS-100 Turning Tool Setter (Tormek)

RE46941E1 -
EP0957331A2
                    Angle gauge for grinding sharp-edged tools, Torgny
                    Jansson, Tormek AB, 2008-07-23 - WM-200 Angle
                    Master
EP0957331A2 Angle gauge for grinding sharp-edged tools, Torgny Jansson, Tormek AB, 2008-07-23 - WM-200 Angle Master (Tormek)

If the bevel size is small the gauge can be used on the flat of a knife.  If the bevel is about 1/2" or more you can use directly on the bevel.  There's a factor of 2 in the angle depending on which way you use it.

US6189225 is shown on the gauge, but it's a typographic error, i.e is for a jig not a gauge.

 - MB-100 allows using face of wheel.


Wen (Grisly, Jet, &Etc)  The BG4270 (fixed speed) & BG9910 (variable), 42704B Knife Accessory Kit,

YouTube: WEN Sharpener Review & User Guide | Tormek Knock-Off - some good ideas on modifications and cross using Tormek accessories.

Ruixin Pro III Rod Type Knife Sharpener Professional Kitchen Sharpening Set System Fix Angle 4 Whetstone

This is a knock-off version of the J&O shown above. It's not clear if this is a real Ruixin product (Ruixin)?
It came with pretty much all the parts assembled as shown in Fig 2 below.
About $32 (2021) including shipping.  Downside is that it uses custom stones.
Stones
Support 158mm long overall x 21mm wide x 9mm thick (both stone & support).
Color
Grit
Green
120
Red
320
Orange
600
White
1500

Questions after assembly:
1. What is the purpose of the screw, 2 washers and matching hex wrench Ans: to replace the thumb nut when grinding at shallow angles where the knife would otherwise hit the thumb nut.
2. Where is "H" measured in order to set the bevel angle? Ans as of 7 Jun 2021: Use clinometer app on smart phone.
3. Are the stones to be used dry, splashed with water, soaked in water or oiled? Ans as of 7 Jun 2021: soak in water.

I've seen complaints on YouTube that there's slop in the universal joint.  This really does not matter since there's some down force being applied which takes up that slop.

My main complaint, and why I ordered the RX-008 version is that after removing the thumb screw (Fig 5) and installing the lower profile hex head screw (Fig 6) the hex wrench is needed every time you change sides on the knife, a real PITA.  BUT . . . it does sharpen the knife.

Fig 1
Ruixin Pro Rod
                    Type Knife Sharpener
Fig 2
Ruixin Pro Rod
                    Type Knife Sharpener
Fig 3
Ruixin Pro Rod
                    Type Knife Sharpener
Fig 4 "H" is not defined so the table is worthless.
Ruixin Pro Rod
                    Type Knife Sharpener
Fig 5 Thumb Nut hits stone at 15 deg bevel.
I'm guessing water soak for stones.
In addition to the Thumb nut problem the height
adjustment clamp needs to be set so the pinch screw
does not hit when working the tip or heel of the blade.
Ruixin Pro Rod
                    Type Knife Sharpener
Fig 6 Installing screw fixes that problem, BUT . .
it makes it much more difficult to change knife
to other side.

The Ruixin RX-008 with the "Flip" feather seems
like a bargain.  On order 7 Jun 2021. 
Th3 RX-008 says to soak stones in water.
Ruixin Pro Rod
                    Type Knife Sharpener



YouTube: Ruixin Pro III Knife Sharpener - Assembling, Upgrades and How to Use - he uses a cell phone clinometer app to set angle. 
Has some upgrade ideas. 

Ruixin RX-008 Rod Type Knife Sharpener

This has a big advantage over the Ruixin Pro III (see above) in that the knife holder can be flipped 180 degrees (the ads say 360 degrees, which while true is not the advantage, it's the ability to easily and quickly work on either side of the blade that's important.) 

On page 2 of the  manual are listed optional tools that fit where the supplied stone holder now is attached:

What may be a disadvantage:
*is that the RX-008 uses raw stones that are long and skinny.  I've read reviews complaining that the stones are easy to break.  Note the Ruixin Pro III has the stones mounted on carriers that makes them much more resistant to breaking.

*There is no method included to set the bevel angle.  I tried a couple of clinometer apps for my phone, but they both were more sensitive to tipping the phone side-to-side than to the height of the pivot.  The phone app is NOT a viable way to set the bevel angle.  I'll get my mechanical clinometer and try it.

Fig 1
Ruixin RX-008
                  Rod Type Knife Sharpener
Fig 2  Nice bag and box for the stones. 
Great way to store sharpener.
Ruixin RX-008
                  Rod Type Knife Sharpener
Fig 3  I have no stone installed until I understand how
to set the bevel angle.
Ruixin RX-008
                  Rod Type Knife Sharpener
Fig 4  The AccuRemote Angle Gauge works.
No stone installed, just testing method.
Ruixin RX-008
                  Rod Type Knife Sharpener



Liberty Jig Saw Puzzles

These are not your grandfather's puzzle.  Laser cut on wood stock.  Great colors.  Typically NOT a rectangular shape so there are no edge pieces.  Some of the pieces are like little sculptures, not the common puzzle shape.  The pieces are laser cut from 0.21" thick wood.

Fig 1 Frog
Liberty Jig
                    Saw Puzzle Frog
Fig 2 Owl 2021 Thanksgiving
Liberty Jig Saw Puzzle - Owl
Fig 3 Finished Owl, starting Whale, 2021 Thanksgiving
Liberty Jig Saw
                  Puzzle - Whale

Buddha

Bought this bronze sculpture in San Francisco a few decades ago.  It's about a meter high and takes four people to move it.

Bronze Buddha
                    1 meter tall

Sound Generators

Theremin

The Theremin (Wiki)  is an electrical musical instrument played by using one hand to control the pitch and the other to control the volume.  Since both controls depend on the capacitance between the hand and instrument sensing antenna, any body movement other than the hand will be heard.  So you will notice that the performer is holding very still except for the hand movements. Pamelia Kurstin plays the theremin (TED, YouTube)


The theremin was originally the product of Russian government-sponsored research into proximity sensors by Lev Sergeevich Termen (Wiki).
1661058 Method of and Apparatus for the Generation of Sounds, L.S. Theremin (M.J. Goldberg and Son, G.M.B.H Germany), Feb 28, 1928, 84/674; 84/711; 331/37; 331/40; 331/55; 331/65; 331/181; 340/384.72; 984/383

1658953 Signaling Apparatus, L.S. Theremin, Feb 14, 1928,
340/562; 236/74.00R; 236/DIG.11; 246/2.00R; 246/63.00R; 246/249; 307/652; 331/176; 334/6; 336/30; 336/75; 340/590; 340/592; 361/1; 361/161; 361/181; 361/282; 455/120- any movement in a room will set off the alarm
2047912 Timing System, L Theremin, Jul 14, 1936,  307/2; 368/52; 968/827 - synchronous clock run on DC

Also see my Music web page.

Book: Theremin: ETHER MUSIC AND ESPIONAGE by Albert Glinsky, ISBN-13: 978-0252072758
Also see my music web page for other references.
RCATheremin.com -
Theremin World -

Although I would like get a full size theremin, they are priced way too high for what use I'd make of it.  So when a "toy" theremin showed up at http://www.thinkgeek.com I waited till they were back in stock and got one.
Fig 1 Kit as received
Theremin

Fig 2 magazine all about Theremins (Japanese?)
Theremin

2024 May 16 The Mini Theremin showed up on eBay
While I've figured out the menus, no sound comes from the built-in speaker?


Gluggle Jugs

Make Guggle sound when liquid is poured from them.
YouTube: Steve Mould: Why Gluggle Jugs Are So Weird, 8:46 -
Gluggle Jug

Frog Percussion Instrument

The stick that gets stored in the frog's mouth, when rubbed along the saw-tooth ridge on it's back makes a sound like a frog croaking.  Or the stick can be used to beat on the hollow frog body, like a wood block. These come in different sizes.  The large one is about 4-1/2" heat to tail and the small one is about 2-1/2".
Frog Percussion Instrument

Police Rattle

These are also called Ratchet's (Wiki: Policeman's Rattle)

Corvus Rattlesnake Rattle
Corvus-Toys Germany - Bought from eBay seller phileasfox1 in the UK - sold for use at Soccer games

Note small black dot on gear wheel is a wire pinning it to the shaft.
The reed is probably glued in a much wider slot that may act as a sounding board.
60072 Policeman's Rattle, Smiley Becher &
                  Townsend, 1866-11-27
60072 Policeman's Rattle, Smiley Becher & Townsend, 1866-11-27,446/420 -
Police Rattle

113061 Baton, C. Kast, 1871-03-28, 463/47.2; 446/420 - baton with rattle built-in

AxiDraw

This is an X-Y movement platform designed to move a writing instrument.  Made by Evil Mad Scientist.  They did the Egg-Bot over a decade ago.
The Version 3 can cover A4 or 8.5x11" paper.  $550.
It works with the freeware: Inkscape. YouTube search for Inkscape has many many hits. Inkscape is based on vector graphics (different from raster graphics) and so works with laser engravers.
I suspect there's a steep learning curve.

California Canned Earthquake

Saw on Big Clive Dot Com: Inside a Dynmo canned earthquake, 4:04 -

Fig 1
California
                  Canned Earthquake
Fig 2
California
                  Canned Earthquake
Fig 3
California
                  Canned Earthquake

California Canned Earthquake 5152708 Vibration
                  mechanism with attitude sensing switch, Dan Claugus,
                  Jeffrey T. Liles, 1992-10-06
5152708 Vibration mechanism with attitude sensing switch, Dan Claugus, Jeffrey T. Liles, 1992-10-06, -

Wind Turbine (Wiki)

In many TV series set in Europe there are small wind generators located mostly on boats, but also on buildings.  These small wind turbines (Wiki) may be Vevor brand.  They make a number of units for charging 12V batteries in the range of 100 to 800 Watts.  They seem built to take all kinds of weather.

Other sailboat wind turbines:
SuperWind - 350Watt, 1.2m dia, 3 blades,
Rutland - half dozen models around 500 Watts. 504 (70 Watt trickle charger), 510mm dia, 6 blades; charge controllers for both wind & solar and for 1 or 2 batteries.

The Vistron 30 Amp MPPT charge controller gets high marks and has bluetooth.

Watch this before you buy a wind generator, My personal experience, and what to look for, 14:05 - Air X Marine Turbine (aka RyseEnergy, primuswindpower, USA) - specs - Air Breeze for residential use (starts @ 7 MPH) - iSTA-Breeze (Turkey)  - For made in China wind turbines also see YouTube Toys for Watts.

Aeromotor

My grandmother's farm had one of these.  The output is a rod that moves up and down, thus pumping water into a wood stave tank on a platform that was maybe twenty feet up.
655270 Wind-wheel, Thomas O Perry, 1900-08-07, - "... will achieve a marked increase in the mechanical efficiency of devices of this character."  Aeromotor advertised that their 8' diameter would pump more than other's 10' diameter units.  He thought that the best efficiency would come if the wind stopped moving at the trailing edge of a blade, but that's not the case.  See: Wiki: Wind Turbine Aerodynamics. But he was very scientific in measuring many designs and did come up with a very efficient design.
678554 Pump connection, Robert M Dyer, Aermotor Co, 1901-07-16, -
717916 Tilting tower, Thomas O Perry, 1903-01-06, - all these towers allow the wind-wheel to easily be moved near the ground for maintenance/repair.
Calls:
375378 Windmill-derrick, Thomas O Perry, 1887-12-27 - poles, almost identical to the mast for the TCI-651T Antenna.
RE11181 Windmill-derrick, Thomas O Perry, 1891-07-28 - based on 375378
485883 Tilting-tower for windmills, Thomas O Perry, 1892-11-08 -
772052 Windmill, Thomas O Perry, 1904-10-11, - this is the head equipment excluding the wheel and tower/derrick.
821126, 836836, 876596, 872758 Transmission-tower
836465 Anchor for skeleton towers, Daniel R Scholes, Aermotor Co, 1906-11-20, - mainly about attaching tower leg to anchor.
897922 Draw-bench, La Verne W Noyes, Daniel R Scholes, Aermotor Co, 1908-09-08, - this is used to make precision tubing by drawing rather than welding.  See: Day or Night Telescope Ref 3. The manufacture of high-precision brass telescope tubes 1780 to 1990
920491 Fluid-pressure controller, Thomas O Perry, 1909-05-04, - The Aermotor at my grandmother's ranch was replaced by an electric well pump that filled a steel water tank about the size of a hot water heater, maybe 50 gallons.  There was air pressure above the water so when a faucet was turned on water would come out even though the pump was not running.  This patent is for a pressure regulator what would be used in an early version of this system.
1101211 Lubricating mechanism, Daniel R Scholes, Aermotor Co, 1914-06-23, - gear teeth (5) lift oil from sump
1101949 Ladder, La Verne W Noyes, Aermotor Co, 1914-06-30, - for use on a corner of the windmill tower.
1141356 Gear-casing for power transmission, La Verne W Noyes, Aermotor Co, 1915-06-01, - sheet metal
1143307 Lubricating mechanism, La Verne W Noyes, Aermotor Co, 1915-06-15, - better capture of oil at top of gear
1143324 Power-transmission mechanism, Daniel R Scholes, Aermotor Co, 1915-06-15, - uses two pairs of gears and Pitman arm (Wiki).
1151815 Lubricating mechanism, La Verne W Noyes, Aermotor Co, 1915-08-31, - rudimentary oil pump but gravity feed to bearings
1155518 Windmill, Daniel R Scholes, Aermotor Co, 1915-10-05, - improvement of mechanism.
1163680 Power-transmission mechanism, La Verne W Noyes, Aermotor Co, 1915-12-14, -
1163681 Windmill, La Verne W Noyes, Aermotor Co, 1915-12-14, - wheel braking system
1163682 Windmill, La Verne W Noyes, Aermotor Co, 1915-12-14, - brake and vane mechanism
1171631 Windmill, La Verne W Noyes, Aermotor Co, 1916-02-15, - housing encloses gears and mechanism
1188093 Windmill, La Verne W Noyes, Aermotor Co, 1916-06-20, - improved vane stop - buffering mechanism
1245371 Pawl-and-ratchet mechanism, La Verne W Noyes, Aermotor Co, 1917-11-06, - not sure why?  Similar to the winding mechanism in the Self Winding Clock
1341080 Lubricating mechanism, Daniel R Scholes, Aermotor Co, 1920-05-25, - Pitman arm scoops up some oil.
1395601 Windmill, Daniel R Scholes, Aermotor Co, 1921-11-01, - overall operation.
1427914 Gear casing, Daniel R Scholes, Aermotor Co, 1922-09-05, - sheetmetal
1596557 Electric-current collector, Daniel R Scholes, Aermotor Co, 1926-08-17, - for charging storage batteries
1514305 Windmill, Daniel R Scholes, Aermotor Co, 1924-11-04, - Generator (dynamo electric machine)
1529088 Windmill, Daniel R Scholes, Aermotor Co, 1925-03-10, - brake and vane mechanism
1529089 Windmill, Daniel R Scholes, Aermotor Co, 1925-03-10, - improved construction
1545609 Windmill, Daniel R Scholes, Aermotor Co, 1925-07-14, - improved lubrication for water pump head
1545610 Windmill, Daniel R Scholes, Aermotor Co, 1925-07-14, - improved lubrication for water pump head
1545611  Windmill, Daniel R Scholes, Aermotor Co, 1925-07-14, - adds lubrication of step (thrust?) bearings
1545612 Supporting Tower, Daniel R Scholes, Aermotor Co, 1925-07-14, -for electrical lines
1545613 Supporting Tower, Daniel R Scholes, Aermotor Co, 1925-07-14, - for electrical lines - Maybe related to the Bilby Tower (Wiki)?
1630804 Post, Daniel R Scholes, Aermotor Co, 1925-07-14, - underground sub assembly used at each of the four tower legs
1749892 Power-transmission gearing, Daniel R Scholes, Aermotor Co, 1930-03-11, - improved head mechanism
1901061 Pump, Daniel R Scholes, Aermotor Co, 1933-03-14, - electric motor uses classic Pitman arm mechanism to work pump up and down.
1993184 Pump, Daniel R Scholes, Aermotor Co, 1935-03-05, - electric motor uses classic Pitman arm mechanism to work pump up and down.
2099036 Power transmitting and lubricating mechanism, Daniel R Scholes, Aermotor Co, 1937-11-16, - improved head with better lubrication
2050129 Wind wheel for windmills, Daniel R Scholes, Aermotor Co, 1936-08-04, - improved wheel construction, rods hold vanes: How an 8’ Aermotor windmill is assembled, from start to finish!!!!, 1:00:06
2115286 Power transmitting mechanism, Daniel R Scholes, Aermotor Co, 1938-04-26, - improved head mechanism
2507352 Pump jack, Daniel R Scholes, Aermotor Co, 1950-05-09, - electric motor & mechanism that can be installed at the base of a hand pump

Low Power AM/FM Broadcasting (Wiki)

When in high school I had a Knight Kit AM broadcast transmitter.  I was a blue chassis with some tubes on top.  Not case to hide the tubes.  But it had a very short range.
I'd like to do an experiment using the TCI 651T antenna at the top of the AM band to see if it would work in NVIS mode.

Part 15 Radio Stations? A community radio station, with a range of 1 to 2 miles you can setup today!, 15:34 -
Hamilton Rangemaster -
LPAM.net -
The Low Power Broadcasters Handbook (archive, pdf)
Techlib: Personal Radio Stations -
Low Power Radio Communications Archive -
YouTube: Farpoint Farms - "Pirate Radio", Part 15 Radio & Micro Broadcasting -

Solar Variable Frequency or Split Air Conditioning/Heating (Wiki)


FREE Solar Heating & Air Conditioning Is Finally Here..., 21:07 -

The Airspool 12,000 BTU (1 Ton, 3kW) units do not have any batteries and are rated for a 500 sq ft space.  They are powered from either a series string of solar panels or a standard 120 VAC outlet, with solar as the priority source.  Also only as much power as needed is drawn from he AC.  But the solar input needs to be between 80 and 380 Volts and less than 20 Amps.  Recommended: Four series connected panels about 380 Watts per panel, i.e. 1520 Watts of solar.

A disadvantage of this system is that the solar panels are dedicated to the split AC unit.

Solar air conditionner!? | Air conditioning / heating on or off grid with solar panels, 6:29 -
HotSpot Energy makes a 12,000 BTU cooling (4,000 BTU heating) system that runs on 48 VDC (DC48Specs, ACDC18C Specs, 220 VAC, not 120)
They make larger units that would be suitable for a house.

An advantage of this system is you have a 48 VDC solar battery system that can be used for other things.

Chiltrix makes chillers, i.e. they use water between the outside unit and the inside unit(s).
Chiltrix com's CX34 ltra High Energy Efficient Air Cooled Chiller Heat Pump in the news, 2:34 -
Solar Air Conditioner Chiltrix CX34, 1: 18 - 1/4 ton (3,000 BTU) 100 - 150 sq ft.; CX34 1/2 Ton (6,000 BTU); CX34 3/4 Ton (9000 BTU, 350 - 400 sq ft); CX34 outdoor compressor, 2 Tons AC, 3 Tons heat; use with up to 8 indoor units.

Gallus Oil Lamp or Tea Candle Light (Interesting, I do not have one)

Mouse Trap

I tried a Ultrasonic "Marten (rodent) Repeller, but it was so weak as to be useless.
Saw the Victor M250S on YouTube: AvE: BOLTR: Electric Mouse Trap, 10:15 - error in plastic mold, can be notched out.
Woodstream makes many animal related products.  Victor is the mouse trap label.  They make the classic snap trap.
I have their M792 Ultrasonic Reppeler and M250S Electronic Trap on order.
The shipping for the new CM205B from the factory is as much as the trap and it's available on neither eBay nor Amazon. This is a one piece design, not the battery saver version.

M250S

Fig 1
Victor M250S
                  Electric Mouse Trap
Fig 2
Victor M250S
                  Electric Mouse Trap
Fig 3 Two parts: Battery & electronics; Mouse holder.
Victor M250S
                  Electric Mouse Trap
Fig 4 Four AA Batteries
Victor M250S
                  Electric Mouse Trap





M792 Ultrasonic Reppeler

----- Patent numbers on M250S in YouTube video--------------
8505235 CPU-controlled, reaming electronic animal trap with three-killing-plate configuration, Christopher T. Rich, Larry L. Harman, David L. Anderson, Woodstream Corp, 2013-08-13, - 3 killing plate, mice & Rats,
7219466 CPU-controlled, rearming electronic animal trap with three-killing-plate configuration, Christopher T. Rich, Larry L. Harman, David L. Anderson, Woodstream Corp, 2007-05-22, - Plate1 & Plate 2 tied together, Plate 3 separate - 9V battery
7010882 CPU-controlled, rearming, high voltage output circuit for electronic animal trap, Christopher T. Rich, Larry L Harman, David L. Anderson, Michael J. Gehret, Woodstream Corp, 2006-03-14, - look & feel of M250
6836999 CPU-controlled, rearming, high voltage output circuit for electronic animal trap, Christopher T. Rich, Larry L. Harman, David L. Anderson, Michael J. Gehret, Woodstream Corp, 2005-01-04, - look & feel of M250 but one piece
6796081 Animal trap, David L. AndersonMichael J. GehretDavid W. SwiftChristopher T. Rich, Woodstream Corp, 2004-09-28, - look & feel of M250 but one piece
6775947 Animal trap, David L. Anderson, Michael J. Gehret, David W. Swift, Christopher T. Rich, Woodstream Corp, 2004-08-17, -
6735899 Animal trap, David L. AndersonMichael J. GehretDavid W. SwiftChristopher T. Rich, Woodstream Corp, 2004-05-18, - look & feel of M250 but one piece
------------------------ other Woodstream Corp patnets ----------------
20210176980 System And Method For Controlling A Shock Output Of An Electronic Animal Trap, Matthew Kauffman, Woodstream Corp, 2021-06-17, - longer battery life
D830492 Mouse trap, Matthew Ambler, Luke Benjamin HANEY, 2018-10-09, - 2 piece design, like the M250S.

Hop Rod


YouTube: More than 50 years after being discontinued, the Hop Rod is still one of our most dangerous objects!,
2929459 Combustible gas powered pogo stick, Spitzmesser Gordon, 1960-03-22, -

Lego

YouTube: SpitBrix: Modulex: LEGO’s Most Successful Failure, 25:20 -
3005282 Toy building brick, Christiansen Godtfred Kirk, Interlego AG, 1961-10-24, - unlike the 5/16 x 5/16 x 3/8" standard brick, Module X was a square 5x5x5 mm brick compatible with 1:20 Architectural scale models.  These are NOT compatible with standard Legos.

Related

40mm grenades - Bazooka
AN-M8 Pyrotechnic Flare Pistol & Gyrojet Pen Gun Flare Launcher
China Lake Patents - Sidewinder, Proximity Fuze & Others
Cryptographic - Crypto Machines - Patents
Electro-Optical Gadgets -Aircraft Cockpit UV Instrument Lights Grimes AN-3038-2A aka C-5A UV Cockpit Light - MODEL 9379640 Cockpit light -
Faradic Instruments - Quack medical devices
FN FAL - Types of Sights -
Gibson Girl AN/CRT-3B life boat survival beacon transmitter
GRC-206 Program Pacer Speak & MT-6250 - Forward Air Controller
Gyroscopes - Norden Bomb Sight
MD1 Star Tracker Navigation System
Miscellaneous Old Stuff: Atomizers, Sen-Sen, Apple Peelers,
Mk 20 Mod 4 Gun-Bomb Sight
Navigation
Navy Mk. 18 Gun Sight
Optics
Outdoor Intrusion Alarms - Vietnam era
Radar Warning Receivers - AM-6536 - AN/ALR-54 LAMPS
Radio Direction Finding 
Ruger SP101 Laser Sight
Sonobuoys - Underwater Locator Beacons & Roswell Connection - CRT-1B Sonobuoy
Sperti Sun Lamps
StormScope - lightening mapper
Submarines
Torpedoes - "Range" problems with torpedoes, battleship guns, depth charges, horizontal bombing
Ultra Violet light -
Wallace & Tiernan FA 181 Altimeter, Barometers & Altimeters, Aneroid (aircraft instruments)

Links

L & A St. Leger - Automata & Miniatures
Dark Roasted Blend: Weird & Wnderful things -

Back to Brooke's PRC68, Alphanumeric List of Web Pages, Products for Sale,  Electronics, page

page created 7 April 2013.