Welnavigate GS-100 L1 C/A GPS Code Simulator


© Brooke Clarke 2020




Background
Description
Photos
Patents
Related
References
Links

Background

I have a passion for GPS, see Related below, and got this to see how they made it.

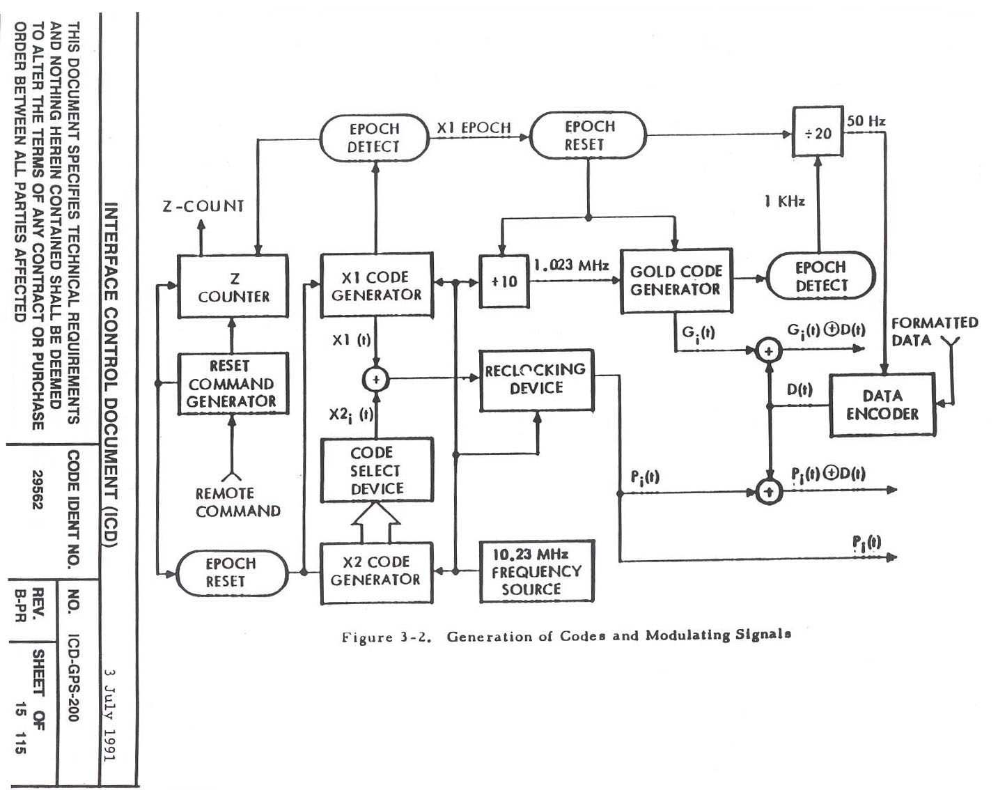
The Stanford Telecom 5001A Navstar Test Transmitter was made made directly from ICD-200 where a wire wrap board would be a block from the diagram.  It uses 7400 series TTL logic chips, no microcontrollers back then.

The Northern Telecom GPS Satellite Simulator STR2760 is much more modern and uses Motorola 68000 microcontrollers.  This is a 10 channel (5 L1 & 5 L2) simulator that does C/A & P-Code.  There are I & Q modulators for both L1 and L2 frequencies. Capable of simulating: Velocity: +/1 120km/s, Acceleration: +/- 3600m/s2 (350 g), Jerk: +/- 5,000 m/s3 (500 g/s).  You could say this unit is more than ten times more capable than the Welnavigate GS-100 shown on this page.

Description

This is a single channel L1 only C/A code signal generator.  When the CODE switch is turned off the L1 carrier appears on the output.  If the Doppler is turned on and the Doppler Control knob turned the carrier frequency will move.


Photos

Fig 1
Welnavigate GS-100 L1 C/A GPS Code Simulator


Fig 2
Welnavigate GS-100 L1 C/A GPS Code Simulator

Fig 3
Welnavigate GS-100 L1 C/A GPS Code Simulator

Fig 4
Welnavigate GS-100 L1 C/A GPS Code Simulator

Fig 5
Welnavigate GS-100 L1 C/A GPS Code Simulator
Xilinx XC3164A
Fig 6
Welnavigate GS-100 L1 C/A GPS Code Simulator

Fig 7
Welnavigate GS-100 L1 C/A GPS Code Simulator


J1: F Pnl switches
J2: R Pnl BNC
J3: +12 & +5 VDC
J4: to uW
J5: to uW
J6: to 10.23 Crystal Oven
J7: 10.23 MHz out
TP1: 112.53 MHz out
Fig 8
Welnavigate GS-100 L1 C/A GPS Code Simulator
Main board layout

112.53 (U14) * 14 = 1575.42 MHz
10.23 * 154 = 1575.42 MHz

Patents

5572218 System and method for generating precise position determinations, Novariant Inc. 1996-11-05, - "The reference oscillators 63(1)-(3), the synthesizers 64(1)-(3), the PRN code generators 65(1)-(3), the mixing stages 66(1)-(3), and the amplifiers 67(1)-(3) may be commonly found in a GS-100 signal generator produced by Welnavigate."

8040276 Generation of multi-satellite GPS signals in software, Sastry Vadlamani, Vrishti Agrawal, Sanjeev G. Dhumawad, Pramod Subramanyan, Abhay Samant, National Inst, 2010-05-27, -
Citations
Publication number  Priority date  Publication date  Assignee  Title
JPH03251778A *  1990-03-01  1991-11-11  Toshiba Corp  Tester of gps receiver
US5093800A *  1989-09-14  1992-03-03  Saburo Ifune  Global positioning system satellite signal simulator
Citations
Publication number  Priority date  Publication date  Assignee  Title
US4701934A *  1985-09-03  1987-10-20  Motorola, Inc.  Method of doppler searching in a digital GPS receiver
Citations
Publication number  Priority date  Publication date  Assignee  Title
US4313197A *  1980-04-09  1982-01-26  Bell Telephone Laboratories, Incorporated  Spread spectrum arrangement for (de)multiplexing speech signals and nonspeech signals
US4412325A *  1981-07-13  1983-10-25  Telettra- Telefonia Elettronica E Radio S.P.A.  Equipment for single band multiplexing through digital processing
US4453165A *  1983-01-03  1984-06-05  Sperry Corporation  Differential Doppler receiver
US4457006A *  1981-11-16  1984-06-26  Sperry Corporation  Global positioning system receiver
CItations - not GPS type
US4494238A *  1982-06-30  1985-01-15  Motorola, Inc.  Multiple channel data link system
JPS63276931A *  1987-05-08  1988-11-15  Anritsu Corp  If band gps signal generator for testing receiver
US4910525A *  1984-10-31  1990-03-20  Rockwell International Corporation  Audio verification system and technique for GPS receivers

US5420592A  1993-04-05  1995-05-30  Radix Technologies, Inc.  Separated GPS sensor and processing system for remote GPS sensing and centralized ground station processing for remote mobile position and velocity determinations
US5663734A  1995-10-09  1997-09-02  Precision Tracking, Inc.  GPS receiver and method for processing GPS signals
US6289041B1  1997-02-11  2001-09-11  Snaptrack, Inc.  Fast Acquisition, high sensitivity GPS receiver
US6571082B1 *  1999-10-29  2003-05-27  Verizon Laboratories Inc.  Wireless field test simulator
US6735523B1 *  2000-06-19  2004-05-11  American Gnc Corp.  Process and system of coupled real-time GPS/IMU simulation with differential GPS
US6760582B2 *  2002-02-04  2004-07-06  Qualcomm Incorporated  Method and apparatus for testing assisted position location capable devices
US6825801B1 *  2003-12-11  2004-11-30  The United States Of America As Represented By The Secretary Of The Navy  Outer loop test generator for global positioning system
US7432856B1 *  2005-04-19  2008-10-07  Deutsches Zentrum für Luft- und Raumfahrt e.V.  Signal simulation device
US7596465B2 *  2003-09-25  2009-09-29  Trimble Navigation Limited  System and method for built-in testing of a GPS receiver
US20100145615A1 *  2008-12-08  2010-06-10  Mccrank Christopher L  Measuring and mapping receiver performance using global positioning system (GPS)data

Related

4-Way power splitter for GPS based on Cable TV parts
5001A Stanford Telecom 5001A Navstar Test Transmitter - made to test their GPS receiver ICs - based on the ICD
Ashtech Z-12 Reference Station GPS receivers
AtAt: Motorola GPS Receiver "@@" computer commands
CSI LGBX Pro DGPS Receiver
Defense Advanced GPS Receiver & Polaris civiilan version
GPS & Satellite Navigation Patents
HNV600 Rockwell Trooper GPS HNV-600 & HNV-960
HNBV-960 GPS receiver without front panel, but has antenna & backup battery
HNV-2000 Rockwell HNV-2000 PLGR II SPGR GPS Receiver
HP Z3805A Time & Frequency GPS Receiver
Jackson Labs - LTE-Lite GPSDO Evaluation Kit
KS-24361 (Lucent ) HP/Symmetricom Z3809A, Z3810A, Z3811A, Z3812A GPSDO System
Magellan GPS Commander
Magnavox MX7221 GPS Receiver
Motorola GPS Receivers
MX 4102 Transit Satellite Navigator & MX 4200 Differential GPS receiver
Northern Telecon GPS Satellite Sumulator STR2760
PLGR GPS Family
PLGR-II Rockwell HNV-2000 PLGR II SPGR GPS Receiver
PSN-6 R-1897/PSN-6 Loran Receiver
PSN-8 PSN-8 GPS receiver
PSN-9 GPS receiver
PSN-10 SLGR GPS receiver
PSN-11 PLGR GPS receiver
PSN-13 DAGR GPS receiver
Quantic Q-5200/SM Timing GPS Receiver
Rockwell Trooper GPS HNV-600
Rockwell HNV-2000 PLGR II SPGR GPS Receiver
ThunderBolt Trimble GPS Timing receiver
TI9100 TI 9100 LORAN-C Receiver Type III
Trimpack Trimble Trimpack Family of GPS receivers
Tripods - camera, survey, GPS antenna, Binocular
Trooper GPS HNV-600
URN-502 Vehicle Mount GPS Receiver System - Very early GPS can only be used mounted in a vehicle

References


Links

PRC68, Alphanumeric Index of Web pages, Contact, Products for Sale
Page Created