Gibson Girl AN/CRT-3B

© Brooke Clarke 2015 - 2025
Fig 1
Gibson Girl CRT-3B
                  SCR-578
Fig 1
Fig 2
Gibson Girl CRT-3B
                  SCR-578



Background
Application
Description
Components
    Transmitters
        Versions
        Inside
        Power Supply Problem
    Antenna
    Reel
    Kite
    Balloon
    Hydrogen Generator
    Signal Lamps
    Bags
    Parachute
    Manuals
Photos
Related
Mystery Device
PRT-5
References
Links

Background 

This is the classic survival radio (Wiki).  It is a transmitter (no receiver) and can transmit on the now obsolete LF International Calling and Distress (Wiki) frequency (Wiki: 500 kHz) or an HF distress frequency (either 8280 kC (older) or 8364 khC newer).  The current frequency of 8291 kHz is not supported.

The more modern Russian R-861 survival radio has provision for the following frequencies: 2,182, 4,182, 8,364 & 12,546 kHz.

I got this for a number of reasons.
  • When I was in high school I bought the kite in it's cardboard tube (M-227-A) and it was the best kite I every had, cloth over hollow metal tubes.
  • I have web pages for a number of survival radios and a survival kit and this is in that family of radios.
  • I have a CRT-1B which my be the first model U.S. Sonobuoy and this is CRT-3.  The AN/CRT-2 was a communications jammer.  I think I also had the mechanical timer from one of those when in high school.  It was housed in a light colored wooden cylinder a few inches in diameter and maybe 6" long with a clock face calibrated in time (maybe from 0 to 24 hours) with a pointer that could be set.  Wind up timer.  That way the jammer would not start to drain the batteries until some time in the future.

Gibson Girl

Charles Dana Gibson (Wiki 1867 - 1944) the American graphic artist drew women that were the personification of the feminine ideal of physical attractiveness which then ment big bust and hips and a narrow waist.  Since this radio has a narrow waist it got the nick name Gibson Girl.
The design is copied from the German NS2 survival radio (Wiki: Survival Radio\Gibson Girl)

Application

The Gibson Girl was used mainly for transmitting a distress radio signal from a lifeboat or liferaft.  For example it was part of the on board equipment of the A-1 Lifeboat (Wiki) starting in 1943.  The A-3 Lifeboat (Wiki) came out in the 1950.  Not sure if it had the Gibson Girl but expect it did.

Another application was to drop the radio from an airplane to survivors in the water.  The manuals mentin that dropping the radio onto land might damage the radio, so it must has also been used for land based survivors (maybe of a plane crash).

Description

The Set Complete Radio 578 was part of the equipment on board a 27' lifeboat carried in aircraft that overflew water and on ships.  But this equipment is marked AN/CRT-3B.

In order to have a useful transmission a source of input power and a good antenna are needed.  The source of power is a hand-crank generator built into the radio.  The long antenna could be lifted using either a box kite or a balloon that can be filled using a sea water actuated hydrogen generator.  In addition there's a signal light.

The parachute was used to air drop the SCR-578 onto water.  If dropped on land the radio probably would be damaged.

Looking for information on what models of life raft (lifeboats) carried the CRT-3 (SCR-578) and what else they carried.  Let me know.

Components

Radio Transmitters T-74A/CRT-3 (BC-778)

This transmitter is marked T-74A (not BC-778) stock NR 5820K1200382A.

Versions

Radio Set
Transmitter
Comments
SCR-578-A
BC-778-A
resistor coupled audio
BC-778-B
adds transformer coupled audio
BC-778-C
removed auto keying of lamp
BC-778-D
lock open ant door, imp. brake, gears, name plates
BC-778-E
new ant lead in fastening
BC-778-F
"A,B or C" + improved gears & added mark BC-778-F
CRT-3, 3A, 3B
T-74A
500 kHz, 8280 (or 8364) kHz


Fig 3
Gibson Girl
                        CRT-3B SCR-578
Fig 4 Ground in lower left corner.
Gibson Girl
                        CRT-3B SCR-578
Fig 5 Sheet metal wrench for Crank, Ground & Brake.
May also work for decasent in lower right corner.
Gibson Girl
                        CRT-3B SCR-578
Fig 6 Crank marked:
U.S. Army
Hand Crank GC-18-A
Kingston Products Corp
Gibson Girl
                        CRT-3B SCR-578
Fig 7 Radioactive Check (PocketGeiger)
3 counts/min or 0.06 uS/hour
No radioactivity.
Checked using a UV flashlight, no glowing letters.
Gibson Girl
                        CRT-3B SCR-578
Fig 8 Antenna A-98 Phantom
Used for practice, i.e. without radiating a signal.

Wanted: Contact Brooke

A-98 Phantom Antenna

Inside

Box opened up because the Speed Indicator Keep Lighted lamps do not turn on. They should be on no matter the state of relay K201, but only turn on when the relay is manually pressed down.  That could be because the upper relay contacts are oxidized (most likely) or because the relay is not pulling in.

Power Supply Problem

Fig 50  The two GE 1820 lamps do not light up
when the crank is turned.  Pressing relay down turns them on.
Gibson Girl
                        CRT-3B SCR-578
Fig 51 Crystal sets the HF frequency.
Gibson Girl
                        CRT-3B SCR-578
Fig 52
Gibson Girl
                        CRT-3B SCR-578
Fig 53 The 12SC7 (front) and 12A6 tubes are held by springs.
Gibson Girl
                        CRT-3B SCR-578
Fig 54  Antenna terminal at bottom center below 12A6.
Gibson Girl
                        CRT-3B SCR-578
Fig 55
Gibson Girl
                        CRT-3B SCR-578



Patents


2149808 Emergency automatic radio transmitter, Daniel E Ellis, 1939-03-07, - includes Morse code modulation - built-in airplane
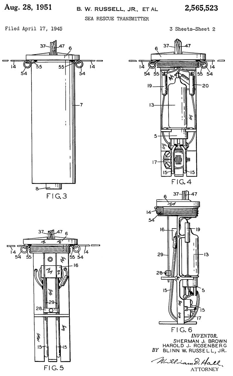
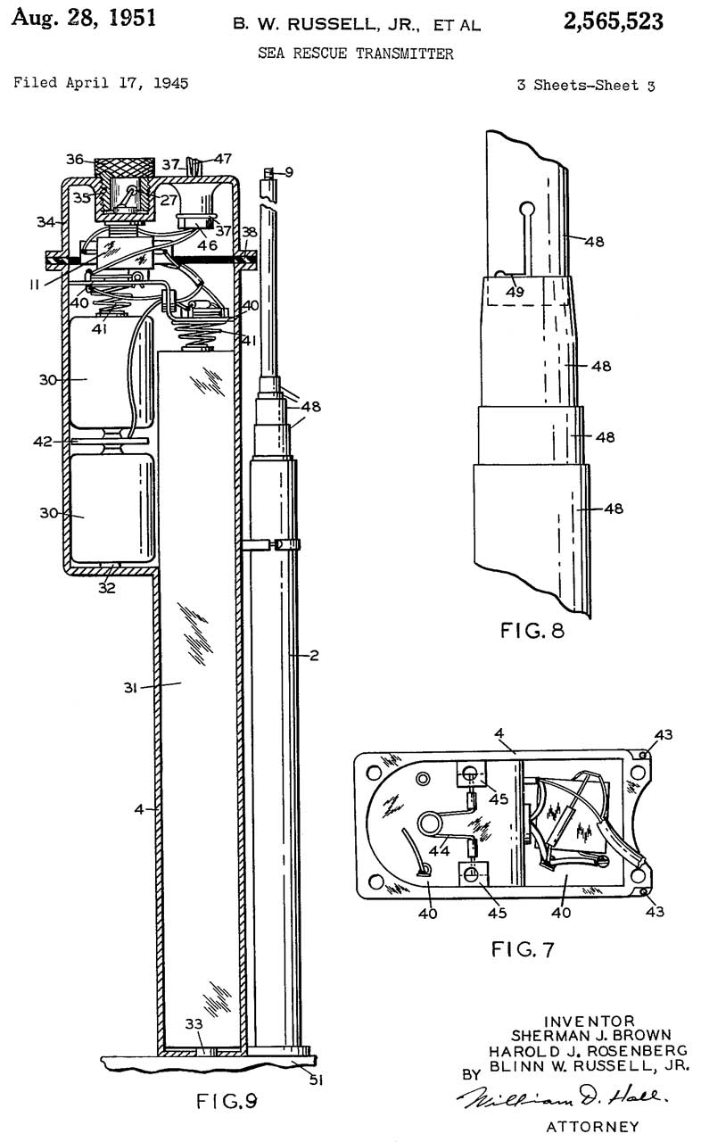
2565523 Sea rescue transmitter, Jr
                                Blinn W Russell, Rosenberg Harold, Brown
                                Sherman James, App: 1945-04-17, W.W.II,
                                Pub: 1951-08-28, - One Tube Tx 2565523 Sea rescue transmitter, Jr
                                Blinn W Russell, Rosenberg Harold, Brown
                                Sherman James, App: 1945-04-17, W.W.II,
                                Pub: 1951-08-28, - One Tube Tx 2565523 Sea rescue transmitter, Jr
                                Blinn W Russell, Rosenberg Harold, Brown
                                Sherman James, App: 1945-04-17, W.W.II,
                                Pub: 1951-08-28, - One Tube Tx

2565523 Sea rescue transmitter, Jr Blinn W Russell, Rosenberg Harold, Brown Sherman James, App: 1945-04-17, W.W.II, Pub: 1951-08-28, - One Tube Tx

On Pg3 Fig 9 the battery arrangement (2 "D" cells for filament and long skinny B+ battery) and telescoping antenna look like those on the BC-611 Handie-Talkie.  The single tube in this Tx is not an acorn (Wiki) type.
So, I'm guessing this Tx operates in the HF frequency band at 2,182 kHz.







Antenna Assembly AS-207/CRT-3

Fig 41 Antenna Assembly, AS/207/CRT-3 for AN/CRT-3
Gibson Girl
                      CRT-3B SCR-578


Fig 40Antenna/Tether SEB-400X3-OAC
NSN: 1H5820-LL-HHH-0525
The black cord is the tether and the cream color
insulated wire is the antenna.
This spool is about twice the height as the
AS-207 that is in the T-74A (Fig 41 above).

The antenna and spool (not the shipping tube) weighs 13.1 ounces (371 g, 0.82 lb).
Gibson Girl
                      CRT-3B SCR-578



Reel RL-48 & Wire

Inside door on transmitter.  Holds 300' of antenna wire.
W-147 or W-148 wire.  This is probably phosphor bronze.

A possible substitute is Bare 1x7 Copper Trolling Wire which comes in 300 foot spools.

Kite M-357-A

Made using hollow metal tubes and constructed so it folds up for storage and when it crashes.

Versions

Radio Set
Kite
Comments
SCR-578-A
M-277-A
Full 36" long, packed in tube, kapok (Wiki) buoyent pads
CRT-3, 3A, 3B
M-357-A
two halves 19" long, packed in bag, no kapok


Fig 20 Bag (not: BG-109-A) has no BG marking.  Empty and flat as shown it's 23" x 5".  ee Bags below
marked:
Warning
Tie all tapes tightly
Contents:
1 each Kite M-357-A
2 each inflating tubes part of generators M-315-( ) (hydrogen) (missing)
Part of CRT-3A

Gibson Girl
                      CRT-3B SCR-578
I remember that there were two attachment points for the line.  One at the end of the rod and the other back an inch or two.  To be used in different wind conditions.
The attachment loop at the corner is marked "25 to 40 MPH", the attachment loop down a few inches is marked "2 to 20 MPH".
"Kite M-357-A, Part of Radio Set, CRT-3"

Kite Patents

1103817 Kite, Ernest Niehoff, 1914-07-14, - "...designed for use in signaling."

Balloon M-278-A

Sealed coffee type can marked:
Balloon M-278-A for AN/CRT-3A, N-4, AF34 (601)- 22180
Aproximate inflated dia. 4'.

Tuf-tex balloons made by Maple City Rubber makes 3', 5' and 6' latex balloons.  About $25 for the 5' balloon.
Blimp Works has a 5.5' ball and a 3' tube.
The 5' (60") balloon takes about 65 cu ft to fill.
An 80 cu ft tank rents for about $70.
Local Welding Gas Supplier
Gas
H
He
Tank Size
250 cu ft
125 cu ft
Cost of gas in tank
$137
$77
$ per cu ft
0.54
0.61
Tank rental deposit
$250
$250
In Stock
yes
no
They also have the pressure regulator and balloon filling fitting.

Balloon Sizes and Lift

Hydrogen lift is about 8% more than helium.
If the antenna wire weighs less than 1 pound and a 4' diameter balloon was used then it looks like the balloon should have twice the lifting capacity as the actual load.
wt g
Neck
dia in.
no air
dia in
Launch
dia in (ft)
Burst
dia in (ft)
Vol
cu ft
He Lift
lbs
He
$
10
0.9
3.2
18 (1.5)
24 (2)
7
0.1
6
30
0.6
7.1
25 (2)
39 (3.3)
13.6
0.3
12
100
0.6
13.8
40 (3.3)
52 (4.3)
38
1.25
33



4

50
2.3
44



5

78
4.5
68



6

113
8
99
200
1.3
19
78 (6.5)
96 (8)
133
10.5
116
300
1.3
24
96 (8)
132 (11)
201
19.8
176
350
1.3
27
108 (9)
144 (12)
254
28.3
222
600
1.3
37
144 (12)
192 (16)
452
67.5
400
800
1.3
44
168 (14)
228 (19)
616
108
540
1000
1.3
50
192 (16)
252 (21)
804
161
705

Hard Core DX - Balloon or kite antenna? Why not- static electricity requires a resistor to ground to bleed off.
Distance from anchor point to balloon should be shorter than distance to problem, like overhead power lines.

Fred W4JLE - has the idea of using multiple lines going to the balloon to keep it from wandering.  His 160 meter 1/4 wave antenna - blimp stayed up for about a year with occasional descents to top up the He.

Hydrogen Generator M-315-B

Immerse in sea water to activate the metal hydrate.  It takes about 40 minutes and 50 gallons of sea water.

Versions

Dates
Generator
Comments
<July 1943
M-315-A 1 lb (454 g) lithium hydride (Wiki: safety)

M-315-B
1 lb (454 g) lithium hydride - improved canister design

M-315-C
1200 g (2.65 lb) of calcium hydride (Wiki)


2082134 Production of calcium hydride, Popow Alexander Peter, Jun 1, 1937, 423/647
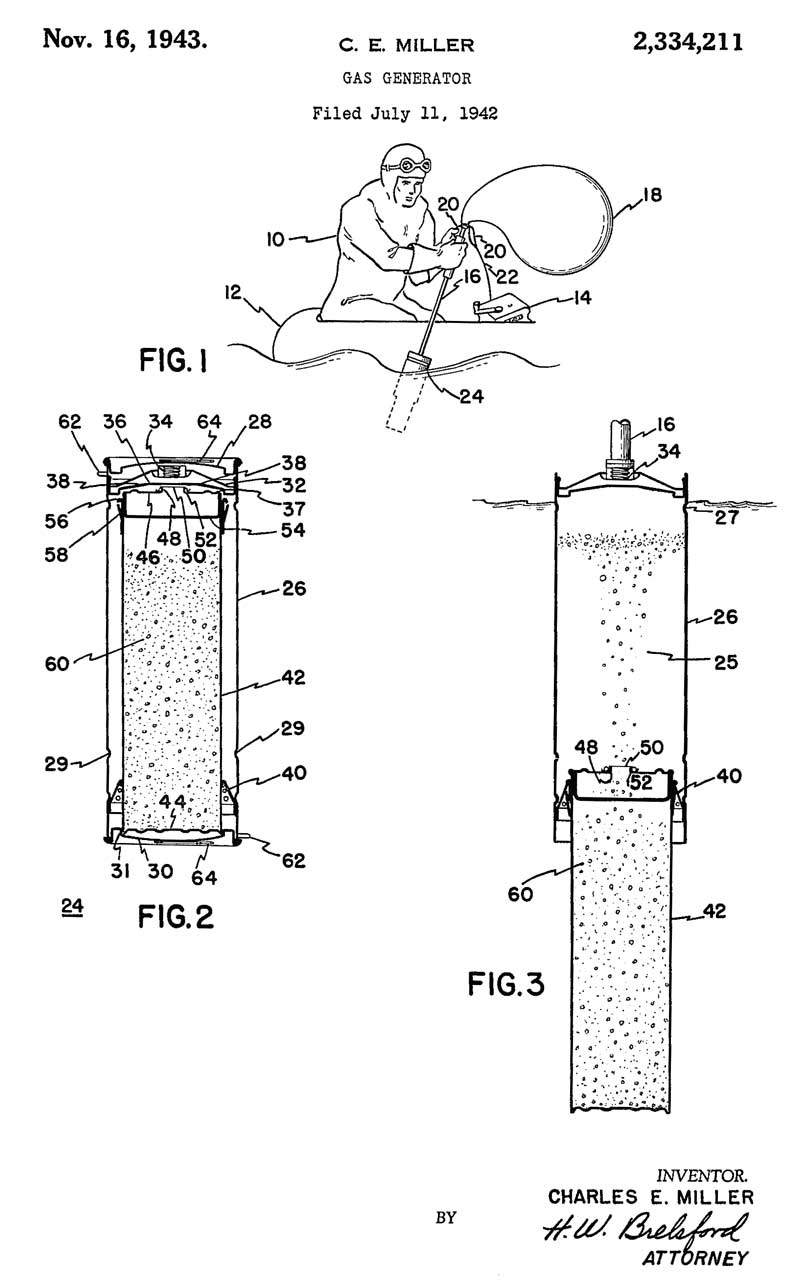
2334211 Gas
                      generator, Charles E Miller, Bendix Aviation Corp,
                      1943-11-16, - for life raft & Gibson Girl
2334211 Gas generator, Charles E Miller, Bendix Aviation Corp, 1943-11-16, - for life raft & Gibson Girl
cited by 33 patents

2408748 Production of lithium hydride, Alexander Peter P, Oct 8, 1946, 423/646, 75/590

Hydrogen (Wiki) gas is diatomic (i.e. H2) unlike Helium (Wiki) which is monoatomic (He).  This means that the hydrogen dumbell is larger than a single helium atom and so hydrogen leaks less from a balloon than does helium.  There are many ways of producing hydrogen (Wiki) that are being activly developed now (2015) since it's a way of storing energy, like a battery, (it's not a source of energy).

Signal Lamps

There have been a number of different signal lamps.  This CRT-3B came with two.
Note that one of the lamps in Fig 35 is not wired up, i.e. the spare is in a socket rather than loose like the spare lamp in Fig 30.

Versions

Radio Set
Lamp
Comments
SCR-578-A
M-308-A
reflector for directional beam, forehead mount beam points where looking
M-308-B (Fig 30)
no reflector, mount on top of head (omnidirectional), loose spare lamp
CRT-3
SEB-004-LHA (Fig 35)
omnidirectional, spare lamp in socket


Fig 30 signal Lamp M-308-B
Gibson Girl
                      CRT-3B SCR-578
This lamp did not light when the mode switch is in Signal Light position and the crank turned.
But . . . it should only light with the above AND pressing the Morse key, but even then it did
not light.  Also the Speed Indicator Keep Lighter lamp does not light when the crank is turned
fast, so the box opened up.  See figures starting at Fig 50.

After scraping the corrosion off the connector pins the lamp lights (but dimly).



Fig 35 Signal Lamp Assembly SEB-004-LHA
NSN: 1H5820-01-200-1663
lamp marked:
England, OM1821 England
dim glow at 6 VDC.
Gibson Girl
                      CRT-3B SCR-578
This lamp lights (but dimly) the first time when in Signal Light mode, crank turning & key pressed.
Probably because the two connector pins are gold plated.

Bags

BG-? (see Fig 20 above) 23" x 5" when empty and flat.  This is the bag for the M-357-A kite that is half the length of the older M-277-A kite.
Marked:

Warning
Tie all tapes tightly
Contents:
1 each Kite M-357-A
2 each inflating tubes part of generators M-315-( ) (hydrogen) (missing from my bag)
Part of CRT-3A

BG-109-A a little over 36" long to hold the M-277-A cylindrical kite tube.  But it's considerably larger in diameter than the M-277-A kite tube so it can hold other things beside the kite.

BG-110-A radio bag the parachute permentantly attachet to the top.

BG-155-A - See Fig 1 at top of page. Has metal attachment rings for the parachute and "chimminy" that would accept the BG-109-A with M-277-A kite.

Because there are two versions of kite packaging there are a number of possible radio bag configurations.

The SCR-578-A used the BG-110-A radio bag with the BG-109-A strapped on.  Note the BG-109-A holds the M-277-A cylinderical kite tube and the accessories.

Parachute M-390-B

If you have any information let me know.

Manuals

Preliminary Instructions for Radio Set SCR-578-A
Order No. 676-WFSCPD-42, 1152-WFSCPD-42
I don't see a date but the below title suggests 27 November 1942

AN 08-10-94 Handbook of Instructions for Radio Set SCR-578-A or SCR-578-B. 
This book replaces Preliminary Instructions for Radio Set SCR-578-A (Technical Order No. 08-10-94), dated 27 November 1942.
19 August 1943

AN 16-30CRT3-2 (overstamped: 12R5-2CRT3-2)
Handbook of Maintance Instructions for Radio Set AN/CRT-3
(overstamped: SPECIAL NOTICE International Distress Freq. 8280 Kcs, has been Replaced by 8364 Kcs, in this unit)
11 April 1945

Photos from eBay

Photos from eBay seller dadssuperpawn (nice photos supplied by Mike) posted while waiting for hardware
eFig 1
Gibson
                      Girl CRT-3B SCR-578
eFig 2
Gibson
                      Girl CRT-3B SCR-578
eFig 3
Gibson
                      Girl CRT-3B SCR-578
eFig 4
Gibson
                      Girl CRT-3B SCR-578
eFig 5
Gibson
                      Girl CRT-3B SCR-578
eFig 6
Gibson
                      Girl CRT-3B SCR-578
eFig 7
Gibson
                      Girl CRT-3B SCR-578
eFig 8
Gibson
                      Girl CRT-3B SCR-578
eFig 9
Gibson
                      Girl CRT-3B SCR-578
eFig 10
Gibson
                      Girl CRT-3B SCR-578
eFig 11
Gibson
                      Girl CRT-3B SCR-578
eFig 12
Gibson
                      Girl CRT-3B SCR-578
eFig 13 A-98 Phantom Antenna
A-98 Phantom Antenna for the Gibson Girl
                      SCR-578


Related

Survival Radios
Survival kit
40mm Gernade Launcher & related
AN-M8 Pyrotechnic Pistol Very (Flare) Pistol
One Man Life Raft -
SDU-5/E Marker Distress Strobe Light - I make a battery adapter for these (eBay)  Note this is a strobe light that's much brighter than the flashlight bulb used with the Gibson Girl radio.
SDU-30 Light Marker Distress - is a flashlight bulb type unit, similar to the Gibson Girl Signal Lamp.

Mystery Devicef

This photograph showed up on eBay (301225267182).  The question is what is it?  I'm putting in on this web page since my first guess is a low frequency transmitter.  But there are some clues this is not the case.
Also shown at the left is a 50s vintage oscilloscope and at right some type of test meter in a wooden box.  The eBay ad claims 1950s China.

What is in
                      this eBay 301225267182 photo?
Observations:
The carry case with two handles (probably it's heavy) has English printing about keeping out of the Sun. (does not make sense for a beacon transmitter)
WARNING - KEEP IN UPRIGHT POSITION
....NOT  .......................   (handle) EXPOSED
TO HEAT SUCH AS RADIATOR OR SUN

There are at least 3 parts to the device:  (1) the carry case, (2) the main chassis (we can see the back of it), (3) the front panel (2 men holding)
Note the carry case has an "L" shaped storage area at the back center for a bunch of accessories that involve a lot of wires.
Both the chassis and front panel are notched to fit into the carry case.
In the upper left corner on the back of the main chassis is what appears to be a motor driven mechanism with two cams operating two witches which might be Morse Code keyers. 
The same idea as the motor driven cam in the Gibson Girl Fig 50.
At the upper right of the chassis is a large coil with many taps which appears to be for low or medium frequency.  It has a lot of taps.
This might be part of an antenna matching network (consistent with an emergency beacon transmitter) or it might be to allow generating RF on many frequencies (not consistent with a beacon transmitter.)
In front of the carry case there appears to be a white cylinder a couple of inches in diameter.  Maybe just a spool of hookup wire used to connect scope.

The test set at the right might be the I-179 multimeter (selectable 1000 or 20,000 Ohms/Volt)

Let me know what this is.

PRT-5

One of these showed up on eBay "Aircrew Survival Radio Beacon Buoy AN/PRT-5A".  Some web surfing and I found a claim that it was intended to replace the CRT-3 Gibson Girl.
Also claimed that is was based on the German NSG-2 transmitter (BunkerMilitaria: repro manual).

Transmits (only, no receive function) on 8.364 MHz and on 243 MHz using separate transmitters in a common housing using a common 18V battery, but separate circuits and separate antennas.

3238429 Dual by-pass capacitor unit, Kenneth F Bornhorst, NCR Corp, 1966-03-01, - low loss cap for UHF
3239776 Amplitude regulated oscillator circuit, Ian S Shaw, NCR Corp, 1966-03-08, - amplitude limited to lower odd harmonics
3299356 Pulsed carrier radio beacon transmitter, Kenneth F Bornhorst, Edward L Gliatti, William L Colello, NCR Corp, 1967-01-17, - energy efficient Tx for 243 MHz.

Note NCR developed and manufactured a machine to break the German 4 rotor Submarine version of the Enigma Machine.

References

US Navy Radio Communications - 1950s & 1960s - US Navy Directory of Communication Equipment, NAVSHIPS 94200.1, 1.6 Transmitters AN/ART-13 to AN/GRT-3 - CRT-1, CRT-3 & CRT-4 (36MB pdf)

War Kite: The ‘Gibson Girl’ Kites -
British Rocket Kite -
Gibson Girl M 357a -
Parachute M-390-A for SCR-578-B Gibson Girl Transmitter -
Kite Articles from The Kiteflier - Issue 93 Gibson Girl kite article Oct 2002 - mentions rocket launcher for kite based on 40mm Verey Pistol (Wiki) used on the British Dinghy Transmitter T-1333.
Wireless for the Warrior - Gibson Girl part 1. Air-Sea Rescue: Long wave and short wave -
Olive-Drab -
SCR-578 Gibson Girl Transmitter - says balloon is 4' dia.
Museum of the Broads - has a flying lifeboat (Wiki) designed by Uffa Fox (Wiki).
YouTube: 'Gibson Girl' Survival Radio - NOW WITH ACCESSORIES!, 16:01 -
YouTube: B-25 Restoration Update on the Gibson Girl, 4:12 -
YouTube: 'Gibson Girl' Survival Radio: the Downed Airman's Girlfriend, 11:08 - @9:01 RT-159/URC-4, @10:13 SDU-5
Radio Nerds: SCR-578 - AN 08-10-94 Preliminary; AN 08-10-94 Maint Inst; AN 16-30CRT3-2 Maint Inst.
Our Own Devices: Inside the 'Gibson Girl' Survival Radio, 16:52 -
Kite Antenna Let Down Episode 2, 6:29 - MyDEL Kevlar braided antenna wire

Links

PRC68, Alphanumeric Index of Web pages, Contact, Products for Sale
Page Created 27 Oct 2015