Thomas Walker & Son Excelsior IV Taffrail ship's Log

© Brooke Clarke 2020 - 2021




Background
Description
    Models
    Patterns
    Storage Box
Photos
Rigging
    Samson rigging Kit - Navy Tapered Splices
    Rigging Marlinspike Pocket Knife
    Rope 3/8" x 50'
    The Ashley Book of Knots
Patents
Pedometer
    Photos
    Patents
Related
References
Links

Background


The Taffrail Ship Log (Wiki) is the way ships determined their speed.  The device is similar to a car's odometer (Wiki).  By making a distance measurement for a known length of time the speed can be determined.  Most of these ship's logs have a maximum distance reading of 100 miles and so are not indented to be used to actually measure distance traveled like is done with the car odometer.

There are a number of internet web pages saying Thomas Savery (Wiki) invented an odometer for ships in the 1600s.  But I haven't found any details.

I'm looking into instruments to measure air flow made by Alnor, aka: Illinois Testing Laboratories.  One of the eBay lots included a Taylor Tycos 3132 Biram Anemometer that works the same way as a ship's log.  That's to say it has a dial face with a number of pointers that record total feet of air movement.  By running the test for one minute the dial face translated to Feet Per Minute.  This is exactly the same way the ship's log works, i.e. if run for an hour the log display would be the ship's speed in Knots (Wiki) since the log records Nautical Miles.

Currently Wind Speed is on the Weather web page but my move.

Description

Models

Walker & Sons made a number of different models.

Mark
Name
Application
Dial 1
Dial 2
Dial 3
I

?



II
Cherub
Big Ship Speeds
0 to 100
0 to 10
na
III
Cherub Big Ship Speeds 0 to 100
0 to 10
0 to 1
IIIA
Knotmaster
K.D.O & K.D.S.
Yacht (Wiki)
0 to 100
0 to 10
0 to 1
IV
Excelsior
Yacht (Wiki) 0 to 100
0 to 10
na

Trident Electric
0.1 Amp 40 Ohms
?
0 to 100 0 to 1
0 to 1000

Patterns

Outrigger

an ad from November 1951 Motor Boating:

Walker Ship's Log Sling Pattern


"A complete set for an "outrigger pattern" log should also have a pair of shoe plates in the box; these you screw to the rail on the port and starboard quarters. Theoretically you should tow the log from the lee side, but I don't bother; having an offset prop to port I always stream the log to starboard, for very obvious reasons!

You should also find a length of line and a weight for the line - a little bronze torpedo with a set screw in it, which you screw to the line three feet ahead of the fish. If the line is missing or rotten you can use any small diameter hard braided line - 100ft is the right length.

Keep the recording head swimming in oil.

The official way to hand the log is to grasp the line, unhook it, and pay out the end with the hook on as you haul in the fish, then haul in the hook again; this stops it kinking.

In a flat calm, haul the log fish on board, do so also when you heave to. Omitting these precautions will eventually lead to wrapping the log line round the prop - everybody does this once!

Stream the log when "taking your departure" at the start of a passage."

from Andrew @ WoodenBoat

Sling

The register is supported on a rope.

Walker ship's log sling pattern
Note ring with eye for support rope.
This would allow slinging the register between a couple of ropes.
Walker OUtrigger Pattern

The input shaft of the register is tight up against the left wall.


Storage Box

When received the parts were in random positions in the box and packed with snake type brown paper.  But there's a specific way the box should be packed.
See Fig 1 Storage Box below.
1. This block has a hole to hold the spinner.  In order to get the spinner to go deep enough into the hole you need to turn it until if finally seats.
2. When the spinner is properly seated in block (1) the tail end (2) will sit on the notch.  Now when the storage box lid is closed the trapping block (3), which has come loose and needs to be glued back,  will trap the spinner.
4. There is a small (1/2 x 1/2 x 3") block that should be glued to the front wall in a vertical position.  Note sure what it does.
5. There is a block inside the front wall that has a cylindrical cutout that matches the diameter of the register.  In the photo above of the Sling pattern unit you can see a leather belt holding the register into this block.  This needs some improvement: (a) the wheel end of the register is not sitting on the floor of the box, so it needs a spacer or maybe the block is installed upside down?  Also the input shaft of the register is not tight up against the left wall so maybe a block with a hole to support the shaft should be there?
6. There is a block on the floor of the box with a cylindrical cutout.  Not yet sure why?

Photos

Fig 1 Storage Box
Thomas
                      Walker & Son Excelsior IV Taffrail ship's Log

Fig 2  Dial
Nautical Miles
0 to 100, 0 to 10.
Oil Here
Excelsior V Log
Thomas
                      Walker & Son Excelsior IV Taffrail ship's Log

Fig 3 Dial side view. 
Note screw at right locking flywheel shroud. 
This is a left hand thread. 
Back off to disassemble for oiling.

3/27/2021 have soaking in Kroil.
4/23/2021 still not unscrewing.
5/11/2021 Ordered an MERCARS Impact Screwdriver.
Thomas
                      Walker & Son Excelsior IV Taffrail ship's Log
Fig 4 Rope rigging
Short: maybe 3 feet, Long: maybe 50 to 100 feet?
Thomas
                      Walker & Son Excelsior IV Taffrail ship's Log
Fig 5 Instructions for Cherub III (eBay image)
Instructions for Cherub III Ship's Log


Fig 6 Short Rope assembled (eBay photo)
Ref: Fig 4 Short Rope
Instructions for Cherub III Ship's Log

 Rigging

Rigging (Wiki) has to do with using tension members (rope, cables, chains, shrouds and stays . . .) to make connections.  In this case it's to make up a short and long rope to connect the rotator and dial.

Samson rigging Kit - Navy Tapered Splices

Samson
                      rigging Kit - Navy Tapered Splices
Includes:
For rope diameters 1" and smaller.
Samson, Splicing Pusher, for 2-IN-1 Braided Ropes, 1/4 to 1/2 dia, USA
Fid blue 3/8" x 9-1/2"
3 each 3/8" x 10' ropes
Riggers Manual 1968
Aplicing Award

Rigging Marlinspike (Wiki) Pocket Knife

It's handy when working with rope (Wiki) and rope splicing (Wiki).  Particularity in the latter when you want to feed an end back into the body of the rope and need a hole.
The above are different topics from tying knots (Wiki).


Fig 1
Rigging
                      Marlinspike Pocket Knife Heyco Registered Design:
                      938732, patent: 1278065

Fig 2
Rigging
                      Marlinspike Pocket Knife Heyco Registered Design:
                      938732, patent: 1278065

Fig 3
Rigging
                      Marlinspike Pocket Knife Heyco Registered Design:
                      938732, patent: 1278065

Heyco Germany Registered Design: 938732, patent: 1278065

Rope

3/8" x 50', 3-strand, Cotton, IIT Tools No. 48710 - <$15 on eBay including shipping.

Fig 1
3/8"
                      x 50', 3-strand, Cotton, IIT Tools No. 48710



The Ashley Book of Knots (Wiki)

by Clifford W. Ashley, 1993, ISBN: 0-385-04025-3, HARDCOVER. (corrected from 1944 version).
also see: the International Guild of Knot Tyers - Publications - Knot Charts -
There is an on line version.

Fig 1
The
                      Ashley Book of Knots, Clifford W. Ashley, 1993,
                      ISBN: 0-385-04025-3, HARDCOVER,

The Project Gutenberg eBook, Knots, Splices and Rope Work, by A. Hyatt Verrill

Patents

38634 Ship
                      Implement (Imporved Marline-Spike) , Albin
                      Warth,1863-05-19, 57/23
38634 Ship Implement (Imporved Marline-Spike) , Albin Warth,1863-05-19, 57/23 -


92296 Marline
                      Spike, Frederick Fischer, July 6, 1869, 57/23
92296 Marline Spike, Frederick Fischer, July 6, 1869, 57/23 -
299305 Needle,
                      John W. Weed, 1884-05-27, 57/23; 606/225; 223/102
299305 Needle, John W. Weed, 1884-05-27, 57/23; 606/225; 223/102 -
563155
                      Marlinespike, Charles H. Fulson, James M. Doyle,
                      June 30, 1896
563155 Marlinespike, Charles H. Fulson, James M. Doyle, June 30, 1896, 57/23 -

961201 Splicing
                      device, August F Altheide, 1910-06-14, 57/23;
                      24/40
961201 Splicing device, August F Altheide, 1910-06-14, 57/23; 24/40 -
989378 Splicing
                      needle, John D Martin, 1911-04-11, 57/23
989378 Splicing needle, John D Martin, 1911-04-11, 57/23 -
1293453 Rope
                      splicing fid, Arthur Jacobson, Guy N Garland,
                      1919-02-04
1293453 Rope splicing fid, Arthur Jacobson, Guy N Garland, 1919-02-04, 57/23 -
Wiki: Fid
Animated Knots -
Samson: How to Splice Rope -
New England Ropes
2503507
                      Marlinespike, Otto Olsen, Apr 11, 1950, 57/23
2503507 Marlinespike, Otto Olsen, Apr 11, 1950, 57/23 -
D149901 Marlinespike, Otto Olsen, June 8, 1948, D8/14 D8/393 D8/47 57/23 -
4512051
                      Handtool, Arthur S. C. Magan, 1985-04-23, 7/128

4512051 Handtool, Arthur S. C. Magan, 1985-04-23, 7/128 - includes marlinspike


Patents

Drawing

Description
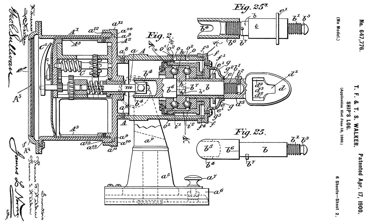
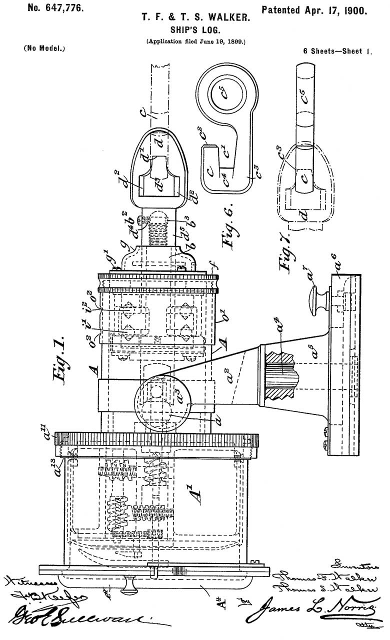
647776 Ship's
                      Log
647776 Ship's
                      Log 647776 Ship's Log, Thomas Ferdinand Walker, Thomas Sydney Walker, 1900-04-17, 73/185 -


701651
                      Electrical Ship's Log Apparatus, Thomas Ferdinand
                      Walker, Thomas Sydney Walker,1902-06-03

701651 Electrical Ship's Log Apparatus, Thomas Ferdinand Walker, Thomas Sydney Walker,1902-06-03, 73/185; 377/19 -


720508 Electrical Ship's Log Apparatus, Thomas Ferdinand Walker, Thomas Sydney Walker, 1903-02-10, 200/19.26 -


1008225 Electrical Ship Log Apparatus, Thomas Ferdinand Walker, Thomas Sydney Walker,1911-11-07, 200/19.18 -
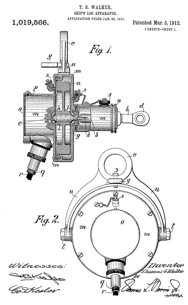
019566 Ship's
                      Log Apparatus, Thomas Sydney Walker, 1912-03-05

1019566 Ship's Log Apparatus, Thomas Sydney Walker, 1912-03-05, 73/185 -


1451602 Ship's Log, Walker Thomas Sydney, Walker Philip Jeffery, 1923-04-10, 73/185; 74/385 -


1609229 Ship Log, Walker Thomas Sydney, Walker Jeffery, 1926-11-30, 73/187 -


D110462 Taffrail Log Spinner, Charles.E. Ellicott Jr. July 12, 1938, -

Pedometer

The pedometer (Wiki) counts steps taken by a walking person and displays them either directly in miles or just a count.

Photos

Fig 1 K&R Ultrak 210(48030)
K&R
Fig 2 K&R Ultrak 210(48030)
K&R

Zero black knob on back (quarter as screwdriver)
Cylindrical weight.
Red/White color on face of weight
Stride adjustment (red slider) restricts weight movement.
If stride over adjusted weight does not move!
0 to 12 Miles in 1/4 mile ticks.

Fig 3 Dial at bottom.
K&R
Fig 4
American
                      Pedometer Co.
Fig 5
American
                      Pedometer Co.
See A.P. Co. patents: 694652, 770644

Patents

Drawing

Description
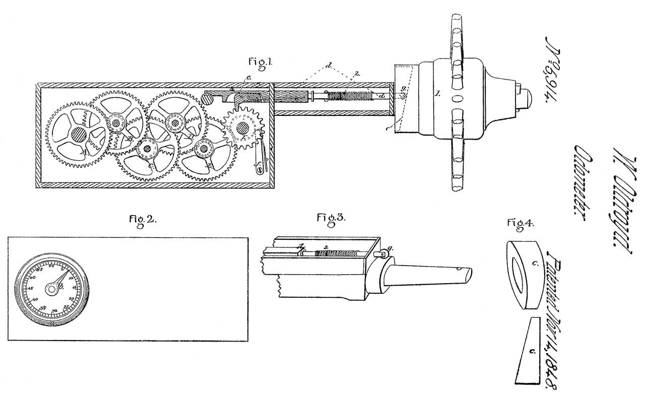
5914 Odometer,
                      William Oldroyd, Nov 14, 1848

5914 Odometer, William Oldroyd, Nov 14, 1848, 235/95B; 235/96; 235/95R - cam (C) in hub causes back and forth motion parallel to wagon wheel axle.


?  RoadOMeter (Wiki), William Clayton (Wiki), Orson Pratt (Wiki), 1847, - Wagon wheel counter
Pedometer, B.S.
                      Church, 1877-07-17, 235/105

193224 Pedometer, B.S. Church, 1877-07-17, 235/105 - Tiffany & Co. - oldest patent in class 235/105.
210096
                      Pedometer, B.S. Church,1895-11-19, 235/105 -
                      Tiffany & Co. -
210096 Pedometer, B.S. Church,1895-11-19, 235/105 - Tiffany & Co. -
255004
                      Cyclometer, J. J. Morton, 1882-03-14

255004 Cyclometer, J. J. Morton, 1882-03-14, 235/95R; 235/96 -
427306 Device
                      for Measuring Distances, H. Emken, May 6, 1890,
                      235/105

427306 Device for Measuring Distances, H. Emken, May 6, 1890, 235/105 - " for measuring distances traveled by horsemen; and among the objects in view are to provide an automatic register designed to be Strapped to the body of a rider and be operated by the jolting or movement of the animal and to register the number of steps taken by him, which, when compared with the average length of his step as caused by the gait he travels, will accurately render the number of miles traveled."
537824
                      Cyclometer, W.W. Hastings, Apr 23, 1895

537824 Cyclometer, W.W. Hastings, Apr 23, 1895, 235/95R; 235/140; 235/111 -
New York Standard Watch Co.
537896
                      Cyclometer, H.A. Loew, 1895-04-23

537896 Cyclometer, H.A. Loew, 1895-04-23, 235/95R 235/106 235/96 - New York Standard Watch Co -




548482
                      Cyclometer, C.H. Veeder, Oct 22, 1895

548482 Cyclometer (Wiki), C.H. Veeder, Oct 22, 1895, 235/95R; 235/117R; 235/139R - mounts to the hub of bicycle wheel. (ad at: RFD: Marketing to a Rural AudienceAlso see Veeder Root Counter
676519 Register,
                      C.H. Veeder, Veeder Mfg Co, June 18, 1901

676519 Register, C.H. Veeder, Veeder Mfg Co, June 18, 1901 Veeder Mfg Co - total & re-settable trip counters

694652
                      Pedometer, Edmond Kuhn, American Pedometer Co.,
                      (A.P. Co) 1902-03-04, 235/105

694652 Pedometer, Edmond Kuhn, American Pedometer Co., (A.P. Co) 1902-03-04, 235/105 -
709313 Surveying
                      instrument, Thomas Tapley Helenus Ferguson,
                      1902-09-16

709313 Surveying instrument, Thomas Tapley Helenus Ferguson, 1902-09-16, 346/8; 235/105; 346/100; 33/775; 346/25; 346/104 - shoulder strap pedometer
718792
                      Pedometer, Wilson E. Porter,1903-01-20, 235/105 -
                      New Haven

718792 Pedometer, Wilson E. Porter, 1903-01-20, 235/105 - New Haven


718795
738482
                      Pedometer, Wilson E. Porter, 1903-09-08, 235/105

738482 Pedometer, Wilson E. Porter, 1903-09-08, 235/105 - New Haven
765992
                      Pedometer, Wilson E. Porter, 1904-07-26, 235/105

765992 Pedometer, Wilson E. Porter, 1904-07-26, 235/105 -

Patents by Wilson E. Porter



641888 Stem winding watch, Wilson E. Porter, New Haven Clock Co, 1900-01-23, -
641889 Stem winding watch, Wilson E. Porter, New Haven Clock Co, 1900-01-23, -
687782 Alarm Clock, Wilson E. Porter, New Haven Clock Co, 1901-12-03, -
737474 Stem winding watch, 1903-08-25
793320 Stop Watch, Wilson E. Porter, New Haven Clock Co, 1905-06-27, -


1149683 Lever or marine strike clock movement, Wilson E. Porter, New Haven Clock Co, 1915-08-10

770644
                      Pedometer, E Kuhn, American Pedometer Co., (A.P.
                      Co) (E. & G. Bunzl), 1904-09-20

770644 Pedometer, E Kuhn, American Pedometer Co., (A.P. Co) (E. & G. Bunzl), 1904-09-20, 235/105 - improved stride adj.

003623 Odometer
                      (Wiki), Kendree Littlejohn, 1911-09-19

1003623 Odometer (Wiki), Kendree Littlejohn, 1911-09-19, 235/95B; 235/105 -
1010654
                      Cyclometer, Albert F Madden, 1911-12-05

1010654 Cyclometer, Albert F Madden, 1911-12-05, 235/95C; 235/96 -


3598309 Hubodometer (Wiki) with resettable signal, Charles H Engler, Robert Fulvio, Engler Inst Co, 1971-08-10, 235/95B; 116/62.1; 116/285; 235/96-
Calls:
2638274 Hub odometer, Howard G Engler, Engler Inst Co, 1953-05-12
1010654 Cyclometer, Albert F Madden, 1911-12-05
1891335 Automatic lubrication annunciator for motor vehicles
1872838 Indicating device

Related


References

Impact Hub: A History of Thomas Walker and Son -
WoodenBoat Forum -Thomas Walker log history.. 
Mathematical Instruments - Pedometers -

Links

PRC68, Alphanumeric Index of Web pages, Contact, Products for Sale
Page Created 2020 May 6