Weather

© Brooke Clarke 2000 - 2025


On Line Weather Station
Introduction
Forecasting
News Groups
Organizations
Schools
Weather Web Cams
Vendors
Reports
Satellites
H.F. Radio
Soil Moisture
Personal Weather Web Pages
Global Weather Cells
Information
Instruments
    Oregon Scientific BAR122HGLA
    La Crosse S84107 Wireless Forecast Station
    Oregon Scientific Weather Station
    Tempest
Psychrometrics
Air Quality
Wind Speed
    Pitot Tube
    Hot Wire or Thermocouple
    Vane in Tunnel
        Alnor Model 9850 Air Velocity Meter
        Alnor Model 6000 combined temp & anemometer
        Alnor Velometer Jr.
        Alnor Model 3002
     Rotating Vane (Windmill)
        Taylor 3132
        FloRite  & Floret
     Ultrasonic
     Laser
     Acoustic resonance
Rain
Lightening Detection & Location

Introduction

I got started weather forecasting using the Sager Weather Caster.  It's a book with a multi-disk circular calculator.  There are disks for: These settings translate to a code number [X834]which, when looked up, results in a forecast [SW8] that is quite accurate [S=Rain or showers followed by improvement (within 12 hours, W=Dangerous gale (whole gale) (55 to 73 MPH),  7=West or Northwest winds].  This would make the basis of a single station weather station that could also do forecasts.  By building a data base based on recording the station's recorded data the quality of the forecast could be improved over that that is published in the book.  Copyright 1969 by Raymond M. Sager and E.F. Sager. Published by Weather Publications, County Trust Building, Pleasantville, N.Y. 10570. No ISBN or Lib of Cong #s.

I have an older Heathkit Weather Station with LED displays (ID-4001) but when I connected a ribbon cable to the data port it made a very large amount of radio interference just by being connected.  Maybe the later model with an LCD display and RS-232 interface solved that problem.

Forecasting

Weather Simulator (WXSIM) - shareware, $48 to register - mainly aimed at temperature

News Groups

alt.talk.weather
ne.weather
sci.geo.meteorology - sci.geo.meteorology data sources FAQ -

Organizations

U.S. Department of Commerce - National Oceanic and Atmospheric Administration  - National Weather Service (MD) - Western Region Headquarters (UT)- NWS Sacramento (CA)- NOAA WEATHER RADIO RECEIVER - Air Resources Laboratory - Current Meteorology -
Space Environment Center - Today's Space Weather -
AVN Model Forecast Animation - AVN Forecast Model Animations -
Commercial Vendor Home Pages - over 130 listed
NIST Standard Reference Database Number 69 - Chemistry WebBook - free as of 4 Jan. 99, but they may charge for this in the future
REINAS - Real-time Environmental Information Network and Analysis System

U.S. Department of Energy - Atmospheric Radiation Measurement (ARM) Program- Program Measurements -
El Paso NWS Weather Page - The Weather Calculator Script Files -
World Meteorological Organization -
American Meteorological Society -
NorthEast Media of Atmospheric Science -
Exploratorium - Watching Weather: A Low Pressure Book about High Pressure Systems -
Oxenhope Weather Station Data - An automated weather station used to allow a telescope to determine on it's own if it can look into the night sky! Cloud Sensor -
MIT - Lincoln Labs - Aviation Weather - Overview -
Office of the Federal Coordinator for Meteorological Services (OFCM) - Publications - Federal Standards for Siting Meteoroligical Sensors at Airports -
National Lightning Safety Institute - Links -
Emergency Digital Information Service (EDIS) - California EDIS Message Archive - the EDIS page was down when I edited this page
Air Force Combat Climatology Center - Air Force Weather Technical Library Links -
Joint Weather Training Facility - at Keesler AFB -
Air Pressure - Height & Temperature - Copyright © 1996-1998 Texas A&M University
Space Weather Aeronomical Responses Model - software package that gets it's inputs form the internet
Robo Weatherman -

Schools

University of Illinois - Department of Atmospheric Sciences (DAS) - WW2010 CD-ROM - It is used with an internet browser - Guides - WW2110 web -
University of Michagan - Atmospheric, Ocean and Space -Weather Underground - WeatherNexComputer Model Forecasts - Software Archive -
University Corporation for Atmospheric Research - National Center for Atmospheric Research - NCAR's Data Support Section -
Universität zu Köln - IGM - Aktuelle Wetterinfos  - Chart -
Texas A&M Department of Meteorology - METR 475: Radar And Mesoscale Meteorology -
Pennsylvania State University - Department of Meteorology - Basic Meteorology - Bad Meteorology FAQ - GP1 Lightning Locator -

Weather Web Cameras

page of links -
Rob's Live Weather Cams -
Weather Links - Weather Cams -
Live Web Camera from the National Earthquake Information Service -
Weather from Mendocino, CA - Web Weather View - works with: Davis WM II & WW III, Oregon Scientific WM918, Maximum WeatherMAX, Rainwise WS-2000, Texas Weather Inst WR-25
Mendocino Coast Weathercam -

Vendors

iButton - based on Dallas Semi 1-wire technology-

Applied Technologies, Inc. - links - Sonic Anemometers, Hygrometers, Data Collection and Processing, Relaxed Eddy Accumulators (REA), Flux measurement Systems, Radar, and other Meteorological Equipment

Boltek - StormTracker detects lightning strikes up to 300 miles away and plots them in real time on a map of your area.(magnetic detection)
Campbell Scientific, Inc. - complete tower type stations
Casella - solarimeter http://www.casella.co.uk/casviewpage.htm?stage=4&productname=Weather+station+sensors+-+solarimeter&option=Introduction - an other instruments
Data Professionals  - Heathkit parts - Weather Stations -
Davis Instruments Corp - WeatherLink Toolbox™ 1.0  (web publishing tool) - Scientific Sales, Inc. - good prices
Dynamax Inc. - plant bio-sensors, plant transpiration measurement, plant bio-productivity and environmental conditions
Forest Technology Systems - Cameras -
FT Technologies Ltd -
Protimeter - moisture meters
Instrumentation météorologique à l'usage - French dealer
ISA, the International Society for Measurement and Control. - search results for "METEOROLOGICAL INSTRUMENTATION" -
IRDAM SA - no moving parts "wet finger" wind speed & direction method- US Patent No 4905513 -
Maximum - WeatherMAX - TriGeo (web tool) - classical looking round brass cases
MesoTech International - airport weather systems
Morgan Weather Measurement System - PIC based - discontinued in 2002
NovaLynx - Dealer with a large catalog of weather stuff
Onset - Hobo data loggers (see: G Pendant, 4-Channel logger)
Oregon Scientific Store. - Weather products - Model WM 918 is carried by Radio Shack as the WX-200 (63-1015) - Parts page -
Paroscientific - pressure & other weather instruments
Questech inc. - makes the Heathkit ID-5001 weather station & has some parts for the other Heathkit weather stations ( http://www.questech-inc.com/ is no longer a valid link, they probably are out of business?)

Peet Bros.  - Ultimeter 2100 Weather Station - the modular phone connectors can uncouple all by themselves.
US4969358: Electronic altimeter/barometer
US05361633 11/08/1994 Method and apparatus for wind speed and direction measurement
US05231876 08/03/1993 Method and apparatus for wind speed and direction measurement
US05033402 07/23/1991 Metric/English orometer
US05001929 03/26/1991 Electronic altimeter
US04969358 11/13/1990 Electronic altimeter/barometer
RainWise - WS-2000 418 MHz Weather Station  -
R. M. Young Co. - 3D ultrasonic wind speed & other weather instruments
Robert White Instruments - more than 40 years as an instrument dealer. Weather & Marine Instruments
Stormwise - Home Lightning Detection and Severe Storm Detection

Unofficial Radio Shack WX-200 Electronic Weather Station Support Page - 2003 date but still on line
Vaisala -  electronic measurement systems and equipment for meteorology and the environmental sciences, traffic safety and industry
Weather View 32 -http://www.weatherview32.com/  Real-time Weather Station Monitoring with Internet Support -$129 to $999 depending on features
WeatherExperts.com - dealer
Yankee Environmental Systems (YES) - Total Sky Imager (TSI-440A) - TSI-880- Ultraviolet Instrumentation -

Reports

Everwonder -
USA Today  Weather - not only reporting but basics
Crown Weather Services -
Convective Detection radar -
Global Atmosp[herics Inc. Lightening Explorer -
Plymouth State College (PSC) Weather Center- US Temperatures -
Weather Watches & Warnings -
The Ohio State University Atmospheric Sciences Program- Severe Damage Reports -
Accu Weather - Doppler radar -
Weather in Europe and other regions in the world -
Ballooning -
Eumetsat -
Dundee Satellite Receiving Station -
U.S. Navy Weather Satellite Images - Naval Pacific Meteorology and Oceanography Center West, Guam -
Landings: Every Weather Link Known... Aviation Weather for Pilots
Geo Info Systems - magazine
Tim's Weather Projects - Basic Stamp Lightning Activity Monitor - up to 50 miles - One-Wire Lightning Monitor -

Satellites

HF-FAX- visual radio modes including weather fax and sats - WX sat page- with interesting antenna articles
WEATHER FROM ABOVE: How to Receive Weather Satellite Imagery in the Comfort of Your Home -
QTH.NET - This site is dedicated to the sole purpose of furthering the abilities and interests of the Amateur Radio Community - subscribe to HearSat-L
Remote Imaging Group -
Quadrifilar Helix Antennas -  the best antenna? to use for APT satellite reception at 137.5 MHz
GEOS - government site about these geostationary weather satellites
US Satellite Laboratory -
Dartcom -
FAS - China's NSMC - APT/WEFAX, Digital weather satellite ground stations
TECNAVIA -
Radio Amateur Satellite Corporation - The Lindenblad: The Ultimate Satellite Omni Antenna - Satellite Antennas Hints and Kinks -
137mHz APT QUADRAFILAR ANTENNA -
WinOrbit: Satellite Tracking- also see my Satellites info (lookig AT satellites)
Chips, the Copenhagen Image Processing System - software package for remote sensing image processing and spatial data analysis with extensive support for NOAA AVHRR data.
Remote Imaging Group (RIG) - RX2 kit for RIG members (over 1,000 in use)
GTI Electronics - ground stations
Northern Video Graphics - High Resolution Digital Systems, Weather Facsimile Systems
Systems West - shipboard systems
SMARTech  - antennas for LEO sats and related electronics
Home Made Link Page -
NOAA's Office of Satellite Data Processing and Distribution  (OSDPD) - Computer Readable Code Format, WEFAX Products -

HF Radio

Short Wave (H.F.) RT Network Frequencies - used by airplanes over the ocean for weather info
Sferics - Radio Signals caused by lightening
Haze-SPAN - Sun photometer - a LED and op amp measure the Sun's output & can determine the amount of haze.
Anasphere, Inc. - Ham radio small balloon borne equipment

Soil Moisture

Personal Weather Web Pages

Atmospheric Optics - Rainbows, etc.
Skywarn - Looking for a weather station? -
Michael L. Dawley - links -
BIT LINE Home Page - software decoders for a number of weather & other formats
Richard H. Brockmeier - Weather Log software

Global Weather Cells (Atmospheric Circulation: Wiki)

". . . . The atmosphere and the earth are part of the same system and rotate together, so if everything was static there would be no friction between the atmosphere and the surface of the Earth.
 
However the atmosphere is a fluid and there is unequal heating between the equator and the poles. The unequal heating causes air density and pressure differences, and the atmosphere develops a circulation. Because the Earth is a rotating sphere the motion of these circulations are deflected to preserve angular momentum. The resulting pattern of atmospheric circulation becomes quite complicated.
 
In the simple case of a non rotating Earth air would rise at the equator and descend at the poles, and at the surface of the Earth there would be a pole to equator ward return flow, that is a northerly wind in the northern hemisphere and a southerly in the southern. This would make a single "cell" of circulation equator to pole in both hemispheres.
 
However as the Earth is rotating, rather than one circulation cell, we have three. The full hemisphere cell mentioned above reaches only to about 30° latitude and is called the Hadley cell (Wiki). The rotation of the Earth affects the cell by deflecting the surface return flow to the west in both hemispheres. These are the NE trades of the northern hemisphere and the SE trades of the southern hemisphere.

The other two circulation cells are the Ferrel (Wiki) and the Polar cell (Wiki). The Ferrel Cell runs in the opposite sense to the direct thermally driven Hadley cell, so the surface winds run the opposite way as well, and are deflected in the opposite way. So in the northern hemisphere in the mid-latitudes the average/predominant wind would be a SW wind. However the Ferrel circulation is much more complicated than this simple picture suggests, and there are flows both north and south, though both are generally from the west."

-------Cheers, Hank Australia Bureau of Meteorology ------------

Information

Peter H. Anderson - Embedded Processor Control - PIC weather
Database on Wind Characteristics - mainly for power generation
National Data Buoy Center -
Pacific Marine Environmental Laboratory -
WOCE hydrographic data -
Nazi U-boat automated weather forecasting espionage network - WWII
Books by W.E. Knowles Middleton:  Invention of the Meteorological Instrument, 1972 (on order 5 Jun 20)

Instruments

Peet Brothers Ultimeter 2100 Weather Station - uses RJ- type modular telephone connectors and friction fit power plugs.  Both of which can easily be pulled out which turns off the station.  It's off more than it's on.
TMQ-34 Meteorological Measuring Set -
Heathkit ID-4001 - many decades old - in storage shed along with separate wind speed & direction Heathkit setup.
IR Cloud Sensor - The first one used a Peltier device as a generator who's output depended on the difference in temperature between the ground below it and the sky temperature.  The second device is a commercial IR thermometer.
Campbell Stokes Sunshine Recorder - Casella CEL - Wiki -
CCRadio 2E has a weather band
Eppley (Model 2)  Precision Pyranometer, Model PSP covers 285 to 2800 nanometers.
GMQ-33 Cloud Height Set
Kestrel 5500FW Fire Weather instrument - very sensitive wind speed and direction, better than any others I have.
SkyScan Severe Thunderstorm Detector
Peet Brothers Ultimeter 2100 Weather Station
Pilot Baloon (Pibal) theodolites - to follow weather balloons.
Radiosonde (Wiki) -
TMQ-34 Meteorological Measuring Set -
Wallace & Tiernan FA 181 Altimeter & barometers

Oregon Scientific BAR122HGLA
Oregon Scientific BAR122HGLA indoor WWVB clock, barometer, temperature, humidity & THGN321ES outdoor temperature and humidity.
Oregon Scientific BAR122HGLA indoor WWVB clock,
                barometer, temperature, humidity & THGN321ES outdoor
                temperature and humidity. After the painters removed it from the house, it was out of the Sun
and has stopped working.

To restart:
0. remove battery cover
1. Charge Ni-MH battery in charger 30 mA overnight.
2. Install battery
3. Select Channel 1, 2 or 3
3. Press reset using paper clip for 10 seconds to set channel.
Hold so solar panel is oriented same as when mounted
4. press TEST and see if LED adjacent to TEST button lights green.
The above was not enough.  To get sync, see IMPORTANT
Oregon Scientific
                THGN132ES Temperature & Humidity Exterior Sensor

IMPORTANT

There was a problem getting the indoor unit to synchronize with the new outdoor unit.
The solution is to remove all the batteries and let both units sit for at least 10 minutes, then:
1) install 4 AA batteries in the indoor unit and then press and hold RESET for a few seconds.
2) install a charged AAA battery in the outdoor unit and press and hold RESET for a few seconds.

You can see in photo at left that the indoor unit is showing the temp and humidity of Channel 1 (the remote).

Now to mount the remote outside where it will get some Sun.

PS the THGR122NX Thermo - Hygro Sensor does NOT work with this weather station. (It took a day or two in order to sync.)
Unit fell on floor breaking off the antenna.
Replaced with some lead wire (solder is easy to shape) and
hot melt glue.  Works fine.
Note Channel 1 not synced. 
It did after removing the 4 AA batteries and pressing RESET
with paper clip.
May 2020 still working.
Oregon Scientific
                BAR122HGLA indoor WWVB clock, barometer, temperature,
                humidity


La Crosse S84107 Wireless Forecast Station
Can only be viewed from straight on or from above, not from below (looking up, like from a bed).
Includes a WWVB clock - calendar and the internal barometer can be set to the local airport.  Settings for units for each measurement and some max/min and alarm settings.  The barometer bar graph is animated.
Uses the outdoor TX141TH-BV3 Temperature and Humidity Sensor.
Patents -Google Patents for La Crosse -

Mystery

There is a mystery concerning the backup batteries. 
1. On the S84107 received as a Christmas gift I installed three Energizer E91 AA cells with date code: 12-2029 lot No,:  0120.
After synchronized to WWVB and the time zone set the power supply was unplugged.  The screen turned black.  When plugged in a minute or two later the time date came up at the default 10:00 Jan 01.  This was confirmed with a second test. 

2. After complaining to the factory I received a warranty replacement S84107 and installed the same new batteries in it.  When the power supply was unplugged the screen when black and when plugged in again the time date reverted to the default 10:00 and Jan 1.  When I complained to the factory they asked that I install another set of batteries which I did using Energizer E91 AA cells with date code: 12-2030 lot No.: 022.  After letting the unit run overnight (i.e. synchronized to WWVB and the time zone set) when unplugged, the screen goes black, BUT when the power supply is plugged back in the time date comes back!  Why???  Let me know.
PS I just now tested the three E91 AA cells on the  ZTS multi-battery tester and they all show fully charged.


Initial Problem Synchronizing to WWVB
The first location was on a table that was also used to charge an iPhone, iPad and/or FitBit as well as a cordless phone.  It did not sync in that location.  When moved to a corner of the house far away from any electronics it synchronized easily.  Moving back to the original location is where the memory battery failure was noticed.  After removing all the chargers and cordless phone to another location the S84107 easily synchronized.  So it may be important to now locate the S84107 near other electronic devices if you want the WWVB time signal to work.  I noticed at 11:01 pm that the tower icon just to the right of the time minute digit was blinking.  Apparently it tries to sync at 11:00 at night and maybe at other times at the top of an hour near midnight.  The default setting is Atomic Time: On.  But you have the option to manually setting the time and date if you have a problem Synchronizing to WWVB.

From the manual: "Your station will search for the atomic signal at UTC 7:00, 8:00, 9:00, 10:00, and 11:00.  If there is no WWVB signal reception, your station will search every 2 hours until the WWVB time is received.

Viewing Angle
The LCD screen is designed to be viewed straight on or by looking down at it like when it's on a table.  You can not read the screen if you look up at it.  So if placed on a bedside table with the screen angled slightly back you can not read the screen from bed.   But if the screen is leaning a little forward (put something under the foot) then it can be read from a bed.

Relationship between Temperature and Humidity (Wiki)
The upper left (green) display is outdoor temperature over outdoor humidity.  Just below that (red) is the indoor temperature and humidity.
At night the outdoor temperature might be 35F while the outdoor humidity might be 70%.  At the same time the indoor temperature might be 70F and the indoor humidity might be 35%.
If there was no wind, i.e. the bulk of the air was the same, then how would the humidity vary with temperature?

Empirical Equation
On normal days the sum of temperature (F) and humidity (%) is around 102.  Both outdoors and indoors.
On rainy days the outdoor sum is more like 135 with an indoor sum like 112.
In the photo below the outdoor sum (71F + 35%) is 106 and the indoor sum is (71F +35%) or 106.  Maybe they are the same because the unit had just been started?  Normally the outdoor temperature (in April 2022) is 20 degrees colder than the indoor temperature.
Humidity calculator -

At 30C (86F) 100% humidity corresponds to 30.4 g/cu meter (0.82 oz/cu yd).
Rough estimate of absolute humidity from Wiki Table (click "show")
Date
Time
Temp out
 (F)
Hum out
 (%)
Sum
Out
Temp in
  (F)
Hum in
 (%)
Sum
In
Weather
2022-03-02
07:37
56
46
102
69
37
106

2022-04-16
14:30
70
47
117
71
41
112

2022-04-17
07:29
38
78
116
71
37
108

2022-04-18
05:08
39
71
110
68
37
105

2022-05-03
05:45
40
65
105
66
39
105
Clear & Sunny

TX141TH-BV2 Outdoor Sensor (Data sheet.pdf)
If the sensor gets wet it can fail in any number of ways.  So, not only does it need to be in a North facing location (so shaded from the Sun), it needs to be protected from rain. (Today in Northern California there's supposed to be an atmospheric river.)

Opened sensor because it no longer syncs to the base unit.
Fig 1 top (seen when opening case)
La Crosse TX141TH-BV2 Outdoor Sensor
Fig 2 bottom, seen after unsoldering battery terminals.  Note gunk, maybe related to getting wet?
La Crosse TX141TH-BV2 Outdoor Sensor

In order to synchronize the sensor and display it's easiest to bring the sensor to the display and slide off the battery compartment cover. Then...
* Press and hold "Search" (the third switch from left when looking at the front of the display) until you hear a "beep" and see the signal strength icon in the upper left "searching", then
* Press the button "TX" just above the batteries until the red LED on the sensor blinks.  When that happens the display should start reading the sensor data.

Front
La
                    Crosse S84107 Wireless Forecast Station
Back
La
                    Crosse S84107 Wireless Forecast Station
Dead Remote Battery
I think a used battery was installed hence the short (6 mo) life.
La Crosse S84107 Wireless Forecast Station

Second S841047
Fig 1 Using energizer L91 Lithium AA cells
La Crosse
                    S84107 Wireless Forecast Station
Fig 2 After manual settings
including date & time.
Atomic time not synchronized yet.
Barometer history not yet acquired.
La Crosse
                    S84107 Wireless Forecast Station




Outdoor unit failed
March 2023 - no longer synchs to the indoor unit.

Oregon Scientific Weather Station

By coincidence I put batteries in a Oregon Scientific WWVB clock around noon local time and it was synced within a hour, not a day.  After all the trouble I've had with La Crosse equipment I'm looking for a weather station by Oregon Scientific.

Model
$
3Apr23
Manual
Wind
Rain
Time
Solar
WiFi
App
Wx
Display
Software
WMR300A
600
OOS
WMR300.pdf
Yes
Yes
WWVB
STC300A



WMR500
300
WMR500.pdf
Yes
Yes
WiFi
Yes
Required
Yes

WMR86NS
120
WMR86NS.pdf
WGR800
PCR800
WWVB
optional
STC800
na


WMR200A
280
WMR200.pdf
yes
yes
WWVB
yes


$60
WMR89A
200

yes
yes
WWVB
na
na


WMR86A
OOS
->WMR86NS
150

yes
PCR800 WWVB na



WeatherFlow Tempest Home Weather Station, no moving parts (Support, Map, Station 168723)

The Peet Brothers weather station has a number of the sensors that have stopped working.  Most likely because of broken wires.

Model: TH-TWS-02-NA

Sensor

TH-TWD-01
FCC ID: 3AF35-WXFLW001 - 915 MHz (Wiki: 902 - 915 MHz), 5.45 mW, Part 15c - used by Smart Electric meters for home automation
Battery: DC 2.4V 1300mAH
Input: DC 2.8V 500mA
Has 4 digit number

Hub

ESP32-S3 (Wiki) integrated Wi-Fi and dual-mode Bluetooth.
TH-HUB-02

FCC ID: 2AEQB-WXFLW001 - 915 MHz (Wiki: 902 - 915 MHz), 5.45 mW, Part 15c
FCC ID: 2AC7Z-ESPS3WROOM1 - 2.4 GHz (Wiki: WiFi & BLE) 10 mW to 360 mW, Part 15c
Input: DC 5.0V  2000mA
Has 4 digit number

Hub Power Adapter

Model: XSC-05020005
Input: 100-240V ~50/60 Hz 0.4A
Output: 5 V DC 2000 mA
Efficiency Level: VI (best rating, ~88%)

Orientation

There is a North arrow that should be on the North side.
There are 4 solar panels, One faces East and one faces West.  Two are angled away from South.  These would be good as compass reference.
There are no panels facing North, since there's no Sun there.

Sensors

Top to bottom:

Tempest References

After watching this YouTube review, I'm looking at the Tempest unit.
2024's Home Weather Station Showdown - There's TWO winners!, 4:43 -
They considered:

Make
Model
Score
$
Ambient Weather WS-1965 88/100 140
Ambient Weather WS-2902 88/100 190
Davis Vantage Vue 84/100 626 w/console
356/cell phone
Tempest (ordered 2024Dec28)
Home 95/100 340+tax
370 total
Kestrel (See FW5500)
KestrelMet 6000 Wi-Fi
95/100 1000

The WeatherFlow Tempest Weather System Review, 14:57 -
WeatherFlow Tempest Review and How To Integrate into Home Assistant, 22:13 - Photos of Tempest Installations -

Photos

Fig 1
Tempest Weather Station, no moving parts
Fig 2 Components Left to Right:
* Hub 900 MHz sensors to/from WiFi (BlueTooth) + USB cable + USB wall wart
* Pipe Mount 1-1/4"+ ID relaxed, 1"- ID tight - includes bubble level
* Post Top or 1/4-20 Thread mount
* Weather Sensor
Tempest Weather Station, no moving parts
Fig 3  The mounts can only attach to the sensors in one way.  Each mount has a North Arrow.  The East and West facing flats are ideal for aligning a smart phone running a Bearing App.  (Note: Compass apps show magnetic bearing, but this Bearing app (with GPS enabled) shows true Bearing.)

North is up in the below photo.

Tempest Weather Station, no moving parts
Fig 4
Tempest Weather Station, no moving parts
Fig 5
Tempest Weather Station, no moving parts

Patents

D805924 Environmental monitoring device, Graham Neal Wimberly, Jenna Marie Hampton, Keith Alden Koenig, Daniel Carson Lyons, David St. John, Weatherflow Tempest Inc, 2017-12-26, - Ultrasonic wind speed/direction, light, baro, temp, hum, lightening. solar power,
20170329049 Haptic rain sensor, Robert John Derr, David St. John, Weatherflow Tempest Inc, 2019-12-31, - 10% accuracy, vs. 5% for tipping bucket

Rain Gauge

The above patent explains how a piezo element detects the sound of rain and determines both the drop size and rain rate in order to calculate the amount of rain.  Not as accurate as the tipping bucket, but no moving parts.  They claim unlimited amount of rain.  Works with a smart phone app.

Patents

2027367 System of Determining Meteorological Conditions by Radio - an early Radiosonde.

Psychrometrics

Psychrometric charts (Wiki) are an easy way to find out the Humidity Ratio (mass of moisture/mass of dry air).

Air Quality

Since I live in a forest/jungle air quality has never been a concern until the recent wildfires starting in 2017.
This unit is marked Machine Type: DM106
Input Voltage DCV5 (Note the USB Mini-B socket on the side for battery charging)
Battery Capacity: 2000mAh
HCHO detection range: 0 - 1.999 mg/m3
TVOC detection range: 0 - 9.999 mg/m3
PM2.5 detection range: 0 - 999ug/m3
Fig 1
DM106 Air
                    Quality Meter
Fig 2
DM106 Air
                  Quality Meter
Date & Time  Battery State of Charge

PM2.5, PM10 & PM1.0

HCHO Formaldehyde

TVOC

Air Quality Index

Temperature

Humidity
Fig 3 Inside
DM106 Air
                  Quality Meter


Also See: Gas Masks\Rabbit Air Room Filter
Measuring dust with a Dylos air quality monitor - link to patent 8009290
8009290 Compact, low cost particle sensor, Roger L. Unger, Sensirion AG, 2011-08-30, 356/336 - cites 15 patents, cited by 30 patents
other particle sensor patents:
7857892 Air pollution sensor system, Johan Marra, Koninklijke Philips NV, 2010-12-28, - cites 36 patents, cited by 68 patents
9885602 Particle sensor, Hirotaka Matsunami, Shintaro Hayashi, Shinichi Kitaoka, Panasonic, 2017-06-29, - 
20200209132 Particle sensor and particle sensing method, Declan Patrick Kelly, Shuang Chen, Michael Martin Scheja, Koninklijke Philips NV, 2020-07-02, -

Wind Speed

There are many ways of measuring wind speed.
Ref: Air Currents and the laws of ventilation, Google Books.pdf,  Sir Napier Shaw, 1907

Pitot Tube

The differential between static and ram air pressures can be translated into air speed.
YouTube: Torque Test Channel: Using Jet Aircraft & F1 Tech to Debunk Leaf Blower Performance Claims - Pitot Tube best for 100+ MPH measurements.
Used Digi-Sense
EW-20250-13 (Cole-Palmer, Datasheet) good for 2 to 178 MPH. also displays Pressure, Speed, airflow (CFM) & Temperature.

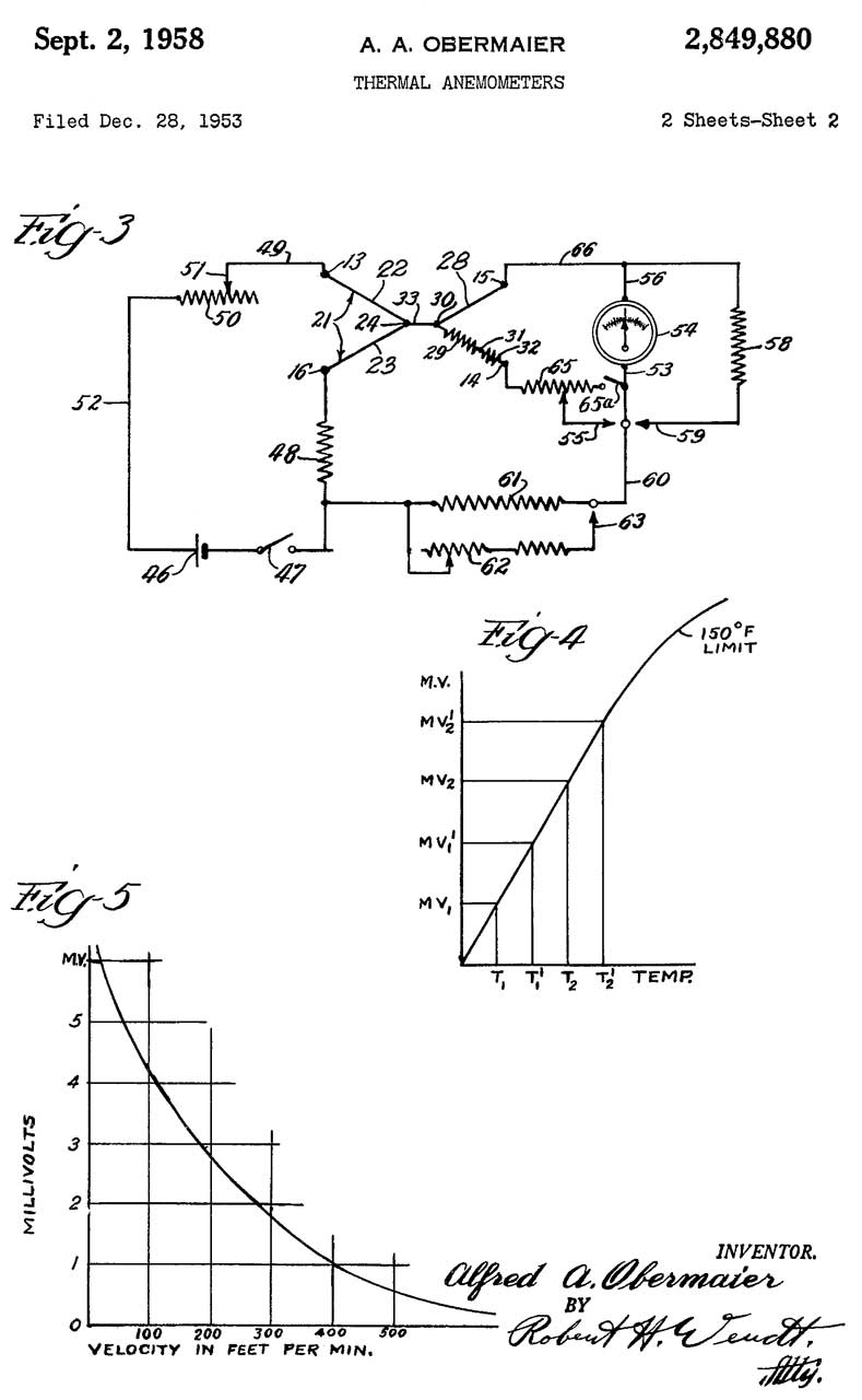
Hot Wire or Thermocouple

Wind pulls the heat away from thermocouple which is driven harder than when just used to measure temperature.
See patent 2849880 below.
The Cole-Palmer web page shows 6000 ft/min as max air velocity (60* 6000/5280=) 68 MPH max so not suitable for use on leaf blowers.

The obsolete  Kurz Instruments KRZ480 is a hot wire type.

Alnor Model 9850 Air Velocity Meter

This has two beads in the air tunnel.  Not sure why.  Maybe for two ranges or something about how it measures?  There is an air flow arrow on top of the probe that needs to be properly orientated.
Arrived with dead 9V battery corroded onto to battery snaps.  Some care was needed to remove old battery without damaging snaps.

Photos

Fig 1 The protective white cap looks like a wire nut but it is not.
Shown in Battery Test mode.
Alnor Model 9850
                    Air Velocity Meter
Fig 2
Alnor Model 9850
                    Air Velocity Meter
Fig 3 There are two beads.
Alnor Model 9850
                    Air Velocity Meter
Fig 4 Sims, Alnor Velometer Jr & Alnor 9850 (Note 1)
Alnor Model 9850
                    Air Velocity Meter
Fig 5 Rear row: Alnor 3100 w/2778 Jet, Alnor 9850
Front row: Sims, Alnor Velometer Jr.
The 9850 is the only one that runs from a battery,
so I turn it off most of the time.
Alnor Model 9850
                    Air Velocity Meter

Note 1:  It's June 2020 and hot.  I have the upstairs North facing windows open and the upstairs South windows closed.  The front door has a screen and is open.  The wind speed meters are just inside the front door.  The idea is hot air rises and there should be a natural draft pulling in cooler air from the North side of the house.  Note the 9850 hot wire meter is showing wind while the other two meters are not.

Model 6000

This uses a Mercury battery (maybe the same RM42 used in the 8500 combined thermometer and hot-wire anemometer. 

Mallory
Eveready
Max
mA
Service
Life mAh
Service
load (mA)
dia
cm
Len
cm
Wt
gm
Vol
cc
RM-42
E42
500
14,000
250
3.30
6.10
167
48

Note the RM-42 is very close to the size of a "D" cell.
The Keithley 502 uses a bunch of batteries, including the RM-42 as B3 for tube filaments. 1 each 6118 and 4 each 6119 (Radio Museum: CK6419, CK549DX).  Vf=0.625, so two in series is 1.25 Volts, maybe the dead voltage of the RM-42?

Vane in Tunnel

The Illinois Testing Labs manufacturers Alnor Scientific Instruments. 

Alnor Velometer Jr.

aka: ML-433 - has 8" long handle on bottom.

This is a vane in a tunnel type wind speed instrument.  A problem is the wind that's being measured consists of ambient air which contains crud.  That crud gets inside and there's no easy to clean the inside of the meter glass.
Alnor is another name for Illinois Testing Laboratories.
See patent 2690671 below.

Handheld Anemometer
                    ML-433A
This may be the basis of the ML-433. 
A handle is added below the bottom that includes a magnetic compass.
An airfoil shaped wind vane that can rotate 360 degrees is added at the top.  It it caged by a slide off "U" shaped sheet metal cover secured by a metal ball chain like used on plumbing stoppers.
TM 11-6660-205-nn where nn might be 14P, 12, 15 ??

Photos

Fig 1 leather carry case
Alnor
                    Velometer Jr.
Fig 2 Range selects hole size
above scale:
U.S.A. Pat 2690671 Gr. Br. Pat 754894 others Pend.
Alnor Instrument Co.  Chicago, U.S.A.
Alnor
                    Velometer Jr.
Fig 3 Vent hole in straight line with range hole
Alnor
                    Velometer Jr.
Fig 4 This sheet metal covering tunnel.  Weak glue holding.
Alnor
                    Velometer Jr.
Fig 5 Vane in Tunnel.  Note if vane moves up the crook
in support arm hits end of tunnel.  Wind causes vane
to move down.   Note wire wound balance stub.
Alnor
                    Velometer Jr.
Fig 6 Pressure in tunnel forces vane down.
Alnor
                    Velometer Jr.

Alnor Model 3002

This is considerably larger and heavier than the Alnor Velometer Jr. above.  It also has threaded ports for pressure (left) and vacuum (right) that accept direct jets (probes) or a connection to a rubber tube and a remote jet (probe).

A set was quoted by the Law Instrument Co. Angola, Indiana for the Lafayette City School.  It's a kit with fewer accessories than some more expensive set, but should work for the school while saving money ($113.50 v. $171.50 in 1950).  The contents of this kit does not match the kit quoted in the letter.

This kit has all matching serial numbers on the meter and Jets.  It allows for measuring the flow coming out of outlets (2220) and in flow going into inlets (2225).  It also allows using a direct orifice for low speed (2778) or high speed (2420).  Note the meter face shows all these Jet (probe) numbers.  There is no provision on the meter face to use the meter without any probe or Jet, even though that's mentioned in the Alnor literature.

The 3002 is a very capable model and many of the sets offered on eBay are based on it. This is an all mechanical set, not batteries or electronics so it works great now. Note the Model 6000 is no longer viable because of it's need for the RM-42 Mercury Battery.  To be trusted the serial numbers of all the probes (Jets) should match the meter serial number.

Sets and Probes

p/n Description Range Supply (Pres)
 Intake (Vac)
1G Set 2G Set 3G Set 4G Set 5G Set
2215 averaging >2000 FPM Pres          
2220 Angle Supply Jet
>2000 FPM Pres 2 1 1 1 1
2225 Angle Intake Jet >2000 FPM Vac 2 1 1 1 1
2230 Angle Supply Jet
>2000 FPM Pres 1   1    
2245 Small Tubing Fitting <2000     1      
2402 Direct Orifice 1000            
2420 3000 FPM Direct Orifice Jet >2000 FPM Pres   1      
2425 Duct 18" >2000 FPM   1   1   1
2460 Static   Pres 1 1 1   1
2485 Total 18"   Pres          
2726 Replacement Filter Element              
2778
300 FPM Direct Orifice Jet







3150 Dust Filter              
3290 Duct  9" >4000   1        
3905 Tubing Fitting 1000            
3910 Duct 24" 1000   1        
3920 Angle 1000 Pres 1 1 1    
3930   1000 Vac 1 1 1    
2215-36 averaging 36" >2000 FPM Pres          
2220-36 Angle Supply 36" >2000 FPM Pres          
2230-36 Angle Supply 36" >2000 FPM Pres          
2425-36 Duct 36" >2000 FPM            
2485-36 Total 36"   Pres          
The 2000 series probes take the small (3/8") tubing.  The 3000 series probes take the large (?") tubing.

Photos


Poor Packaging
Alnor &
                  Taylor wind speed instruments
Fig 1 Alnor 3002 Set
Alnor 3002 Wind
                    Speed
Fig 2 Alnor 3002 Set
Alnor 3002 Wind
                    Speed
Fig 4 Alnor 3002 Set with Jets numbered.
Alnor 3002 Wind
                    Speed
Fig 5 patents: (see below) 2060848 & 2207747
Alnor 3002 Wind
                    Speed

Rotating Vane (Windmill)

Taylor 3132

Taylor Anemometer - three dials: Large: 0 to 100 Feet, small: 0 to 10 Hunderd feet & 0 to 10 Thousand feet. YouTube: How to use a Taylor anemometer -
Tycos 3132 Biram Anemometer (8 vanes)
3141 single large dial, 8 vanes
Mining Artifacts - Anemometers,
Davis & Sons
UK patent 1876 No. 1128

TB Winter Newcastle Mining anemometer.
"Biram's Patent, Davis Optician Derby" (History of Science Museum, UK)
The dial face of the Taylor 3132 looks identical to the one for the Ship's Log.  They work the same way, that's to say they are allowed to run for some fixed time and the total run is divided by the time to get the speed.

From Taylor 1936 Catalog, pages: 26 & 27 shows up to 10,000 ft/min or yo to 113 MPH so not good for leaf blowers.
Short & Mason
Model
Comment
Max/Min
FPM
Max
Feet
On/Off
Vanes
Dials
Frame
$
3102
Electric
4-cups






148.50
3102A
"
adds Wind Vane






203.50
3112
Portable
100,000' total
3000
200



4

97.00
3121
Portable
10,000,000 total
3000
200



4

97.00
3130
Biram's





2
3"
89.00
3132
Biram's
Taylor Jewelled
3000
200
10,000
Yes
8 3
4"
40.00
3139
Short & Mason Pocket Biram's



8
2
2"
125.00
3141
C3962
Short & Mason Low-Reading
300
30

na
8
1?
4"
115.50
3150
Short & Mason High-speed
200,000' total
10,000
1,000



3
4-1/2"
125.50

Short & Mason makes dip needles. Taylor 1936 Catalog, pg 28 -
2974 Short & Mason Inner's Compass, $33.00 5" dia case
2974-1/2 Short & Mason Miner's Compass, $44.00, Norwegian Type 3" dia case.
page 29
Short & Mason, Campbell-Stokes Sunshine Recorder, $308.00 Improved style Bronze bowl with _____ for summer, winter and equinox.  adjustalbe for latitude from 40 to 70 degrees, optically perfect sphere.

Photos

Fig 1
Taylor 3132
                    Wind Speed
Fig 2  It's not clear what the purpose of the hollow tube is.
It is not an adapter to a standard camera tripod.
If you know what it's used for let me know.
Taylor 3132
                    Wind Speed
Fig 3
Do not turn lever to "On" position unless fan blades
are in motion.  If instrument is not in wind stream,
and motion is desired, blow lightly on fan.  Do not
put blades in motion in any other manner.
2662                                                          4-58

Spring loaded lever at about 30 on main dial is to zero all dials.
Note wind direction in order to get dials to count up. 
The person using the anemometer should stand facing the wind and reading the dials.
Taylor 3132
                    Wind Speed
Fig 4  The first generation units have the screw seen at the top under the base foot instead of exposed like this one.  That means to dissemble one of the old units the base foot needs to be removed. 

Note the bottom screw is recessed and would clear the base casting if it was that big.
But . . . . they made a mistake and bored the clearance hole in the basefoot casting in such a way that it removed the part number.
If they would have put the clearance hole on the plain side you could read the part number.
Taylor 3132
                    Wind Speed



FloRite & Floret

Both made by the Bacharach Instrument Co of Pittsburgh, PA.

FlowRite MRF Style 3035 A

Range: 0 to 35 MPH (0 to 3000 ft per min).
Has manual scale lock to capture reading, or can be turned off so reading varies with wind.

Floret Air Velocity Indicator

Restrained vane type.
Knurled screw at bottom is air inlet. Aim into air flow.
Four air outlet holes on back

Patents

Bacharach Instrument Co Holds many patents related to industrial gas measurements, but these instruments are aimed at commercial HAVC applications and I haven't found any patents that cover them, but expect there should be one for the scale lock toggle/screw device.

Fig 1
FloRite & Floret air velocity indicators
Fig 2
FloRite & Floret air velocity indicators

Ultrasonic (Wiki)

Can measure very slow and high wind speeds and some models work in three dimensions.  Tend to be priced over $1,000.

Laser (Wiki)

The Campbell Scientific Inc. CA-9 Path-Averaging Laser Anemometer seems to be a pioneer introduced in 1974.   I'm trying to figure out how it works.

3966324 Laser doppler anemometer,Paul D. Iten, Brown Boveri AG (Campbell Scientific: CA-9), App: 1973-04-18, 356/28.5; 356/28 -

Acoustic resonance (Wiki)

The NETATMO wind speed/direction sensor may be of this type.  It's priced way below the other ultrasonic sensors and does not appear to have the bumps they have for the transducers.

5877416 Anemometer employing standing wave normal to fluid flow and traveling wave normal to standing wave, Savvas Kapartis, FT Tech Ltd, 1999-03-02, -

Anemometer Patents


1050350
                    Anemometer, Henry Davis, 1913-01-14

1050350 Anemometer, Henry Davis, 1913-01-14, 73/861.85; 415/4.3 -

1401877 Flow-meter for gases, Robert H Davis, 1921-12-27, 172/719 - nozzle sends air to paddle attached to meter needle.  Not vane in tunnel.

1535421 Anemometer, John E Jones, MSA Safety Inc, 1925-04-28, 73/861.05 -

1560535 Anemometer, Carl O Burton, 1925-11-10, 188/155; 340/601 - spinning cups drive electric generator has output corresponding to the current wind speed.

1684350 Rotary-type flow meter, Hamill William Wilson, 1928-09-11, 73/861.81; 73/254; 73/861.88 - spinning rotor, not vane in tunnel.
1905444
                            Anemometer, Alfred U Davis, Davis Instr Mfg
                            Co, 1933-04-25
1905444
                            Anemometer, Alfred U Davis, Davis Instr Mfg
                            Co, 1933-04-25

1905444 Anemometer, Alfred U Davis, Davis Instr Mfg Co, 1933-04-25, 73/861.85; 73/514.39; 73/524; 310/93 - Cups or rotating vanes, uses spinning fan as part of mechanism to display speed instead of dials for run.

eBay listing: Post WW2 Casella hand held anemometer

There's another speed indicating anemometer where the readout looks like an electrical panel meter (probably is and the cope drive a generator).
AN/PMQ-3A Airflow Inst Co. - the spinners may have a 1/4" phone plug as the attachment.


1967449 Hand wind gauge, Ostman Carl Johan, 1934-07-24, 73/861.85 - spinning vane with rotation counter.  Sort of a windmill.  Can zero counter using the hand holding the gauge keeping the other hand free to work the watch.

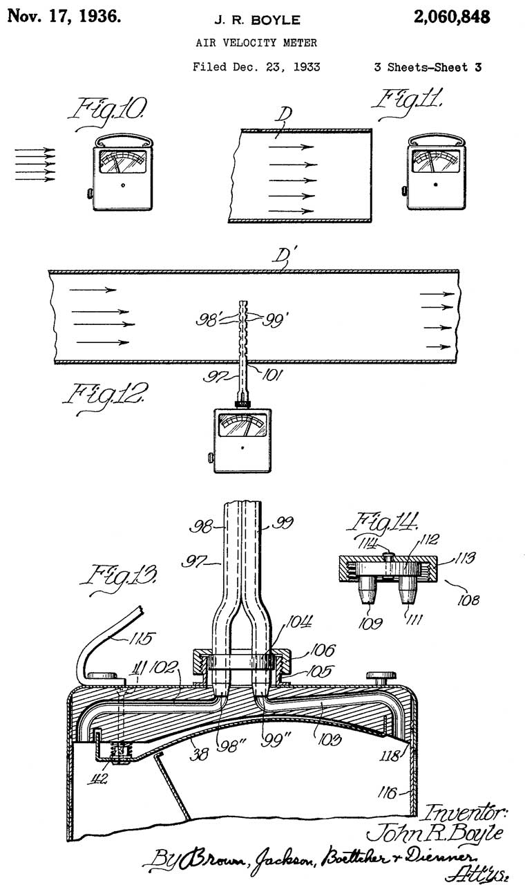
2060848 Air
                    velocity meter, John R Boyle, Illinois Testing
                    Laboratories, 1936-11-17
2060848 Air
                    velocity meter, John R Boyle, Illinois Testing
                    Laboratories, 1936-11-17 2060848 Air
                    velocity meter, John R Boyle, Illinois Testing
                    Laboratories, 1936-11-17
2060848 Air velocity meter, John R Boyle, Illinois Testing Laboratories, 1936-11-17, 73/202; 73/861.76; 138/DIG.4 - purely mechanical, Single port with two tubes. Vane (35) in tunnel above meter pivot.



RE21127 Air velocity meter, John R Boyle, Illinois Testing Laboratories, 1939-06-27, 73/202 - 2060848
There must have been at least one law suit over this patent in order for it to be reissued.

2207747 Velocity
                    meter, Joseph A Manarik, Kenneth H Miller, Illinois
                    Testing Laboratories,App: 1936-11-11, Pub:
                    1940-07-16
2207747 Velocity
                    meter, Joseph A Manarik, Kenneth H Miller, Illinois
                    Testing Laboratories,App: 1936-11-11, Pub:
                    1940-07-16
2207747 Velocity meter, Joseph A Manarik, Kenneth H Miller, Illinois Testing Laboratories,App: 1936-11-11, Pub: 1940-07-16, 73/202; 73/861.76; 73/187 -

The Push To Read button (63) keeps the needle locked and also has a hold measurement function.

Jets (probes) are covered in this patent.  The word "jet" in the 1930s may not have been common.

Note it's not at all clear how to connect the tubing to the meter.

Note the word "Velocity" implies speed and direction.  These instruments only measure speed so that would be a more appropriate word in the title.
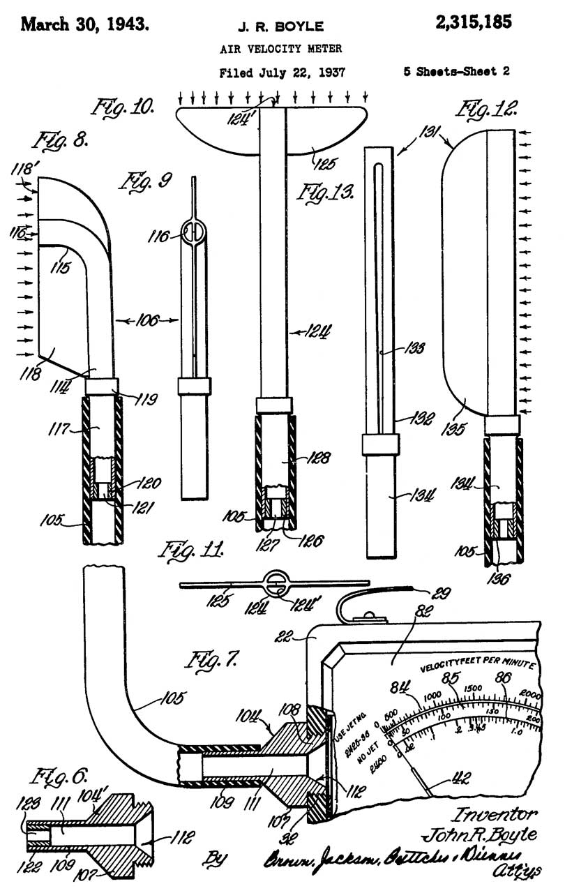
2315185 Air
                    velocity meter, John R Boyle, Illinois Testing
                    Laboratories,1943-03-30
2315185 Air
                    velocity meter, John R Boyle, Illinois Testing
                    Laboratories,1943-03-30
2315185 Air velocity meter, John R Boyle, Illinois Testing Laboratories,1943-03-30,73/202; 73/430; 73/861.76; 123/198F - purely mechanical with hose fittings on either side of meter for external probes. Vane in tunnel above meter pivot.

A number of the Alnor (
Illinois Testing Laboratories) sets on eBay have Boyle in the title.


2316255 Anemometer, Knobel Max, Packard Robert Henry, GMC, 1943-04-13, 73/861.75 - to operate at < 5 feet/minute (inside refrigerators), remote reading
2342290 Jet for air velocity meters and the like, Kenneth H Miller,
Illinois Testing Laboratories, 1944-02-22, 73/202; 73/861.65 - I'd call it a probe.
2346864 Anemometer, Packard Robert Henry, 1944-04-18,
73/861.85; 250/232; 250/237R; 324/175; 416/5; 416/241R -
2377884 Means for measuring wind velocity, Hillman Leon, 1945-06-12, -
(later on Anemostat Corp model 60)
2389615 Anemometer, James P Eder, 1945-11-27, - hot wire (later on
Anemostat Corp model 60)
2608859 Propeller anemometer, Harcourt C Sontag, Cordero Fidel, Samuel H J Womack, 1952-09-02,
73/170.07; 33/402 -
2612047 Probe device for fluid condition measuring apparatus,
Henry O Nilsson, Leonard R Phillips, Anemostat Corp, 1952-09-30, -
2612780 Resistance thermometer, Bruyne Emil A De,
Illinois Testing Laboratories, 1952-10-07, 374/183; 374/144 - cal plugs for 0 - 100F, 100 - 200F & 200 - 300F. linear wire sensor.
2648224 Apparatus for measuring velocity and temperature of fluids, Leonard R Phillips, Henry O Nilsson,
Anemostat Corp, 1953-08-11
2690671 Air velocity meter, John A Obermaier, Alfred
A Obermaier, Alnor Inst Co, 1954-10-05, 73/861.76; 73/431; 220/664 - purely mechanical with port on left and right sides.  This is the Velometer Jr.


2690671 Air
                    velocity meter, John A Obermaier, Alfred A
                    Obermaier, Alnor Inst Co, 1954-10-05

2690671 Air
                    velocity meter, John A Obermaier, Alfred A
                    Obermaier, Alnor Inst Co, 1954-10-05 2690671 Air velocity meter, John A Obermaier, Alfred A Obermaier, Alnor Inst Co, 1954-10-05, 73/861.76; 73/431; 220/664 - purely mechanical with port on left and right sides. 

This is the Velometer Jr.

Works in any orientation.

There's a claim of easy glass removal & replacement.  How?


2779194 Wind-gauge working on the pressure principle, Slettenmark Karl Ivar Gustav, 1957-01-29, 73/861.57 -


2800018 Probe device for fluid condiction measuring apparatus, Leonard R Phillips, Robert L Miller, Godes Elliot, Franz J Kurth, Anemostat Corp, 1957-07-23, -


2838932 Anemometer, James G Dwyer, DWYER Manuf,1958-06-17, 73/170.16; 73/170.07; 73/170.14 - (Official web page) - Pitot tube remote reading

2849880 Thermal
                    anemometers, Alfred A Obermaier, Illinois Testing
                    Laboratories, 1958-09-02
2849880 Thermal
                    anemometers, Alfred A Obermaier, Illinois Testing
                    Laboratories, 1958-09-02
2849880 Thermal anemometers, Alfred A Obermaier, Illinois Testing Laboratories, 1958-09-02, 73/204.24 - Hot-wire Anemometer (Wiki)- mentioned thermocouple, not thermister.


2889707 Anemometer, Walter J Snider, 1959-06-09, 73/861.76; 73/170.15 - wind direct against vane with spring so reads out in MPH/KPH


2923152 5-prong aerodynamic pickup, Jr George C Mabry, Andrew A Mahoff, Charles E Pettingall, Douglas Aircraft, 1960-02-02, - angle of attack, angle of sideslip and indicated airspeed.
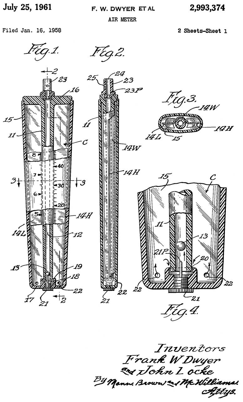
2993374 Air
                    meter, Frank W Dwyer, Locke John, DWYER Manuf,
                    1961-07-25
Dwyer Wind Meter 2993374
Dwyer Wind Meter 2993374

2993374 Air meter, Frank W Dwyer, Locke John, DWYER Manuf, 1961-07-25, 73/861.55 - pith ball floats in tube to indicate wind speed.

3242730 Air velocity meters, Veikko K Peltola, Illinois Testing Laboratories (Alnor), 1966-03-29, 73/861.76 - internal 1.35 V Mercury battery (obsolete) used for damping, has left and right ports for attachments. 
3463003 Air velocity measuring apparatus, Martin J Pierman, Edwin W Donath, Otto A Ernst, Illinois Testing Laboratories (Alnor), 1969-08-26, 73/861.75; 73/861.76 - taught band meter movement spring balanced vane (plate) in tunnel all in one assembly that can be adjusted and tested prior to assembly into meter.  No batteries.
3557617 Vane anemometers, Alexander Connor Wilson, Peter Edward Bagley, Airflow Developments Ltd, 1971-01-26, 73/861.85 - hand held rotating vane with Veeder-Root distance register
3636766 Velocity meter, Philip R Austin, Contamination Control Lab, 1972-01-25, 73/861.75 - pretty much like a door with the hinge at the top, very simple to make from sheet metal.
3638488 Fluid velocity measuring device and method, Robert S Meijer, Alnor Instruments, 1972-02-01, - modulation (audio?) and phase measurement.
3719082 Air velocity measuring system, A Obermaier, M Pierman, Alnor Inst Co, 1973-03-06, 73/202 - adds range switch to purely mechanical system between probe and meter.  Has the look of an Acetylene welder mixing handle (Wiki).
3769835 Pitot calibrated air velocity measuring system with transducer, A Obermaier, M Pierman, Alnor Inst Co, 1973-11-06, 73/202 - range switch between sensor and vane in tunnel meter
3823611 Vane
                    anemometers, M Rudow, W Klawans, Davis Inst Co,
                    1974-07-16


3823611 Vane anemometers, M Rudow, W Klawans, Davis Inst Co, 1974-07-16, 73/861.85 - works down to 30 feet/minute.  Note that the Kestrel 5500FW can operate down to 2 feet/minute.
3826136 Anemometer device, N Chang, 1974-07-30, 73/861.85; 73/861.75; 73/170.15 -

4051725 Hand-held anemometer, Alden Schloss, 1977-10-04, 73/861.76; 267/179 - wind direct acting on vane, no tunnel.
4102188 Portable anemometer with collapsible rotors, R. A. Simerl, Simerl Instruments, 1978-07-25, 73/170.01; 73/861.85 -
Related:
DE2824771A1 Portable anemometer with light weight rotor cups - has cup support arms pivotally connected to spindle and collapsible from active horizontal to vertical storage position, R A Simerl, 1979-12-13, -
D244203 Anemometer generator frame, R. A. Simerl, 1977-05-03, D10/103; D10/52; D10/96 -
D245970 Anemometer transducer, R. A. Simerl, 1977-10-04, - Savonius (Wiki) instead of cups. Cylindrical case.
Calls:
2648980 Apparatus for measuring and recording the direction and velocity of wind, Louvan E Wood, Vernon D Hauck, Bendix Aviation, 1953-08-18, 73/170.07 - molded to look like a plane, propeller for speed, tail for direction. Maybe the "Aerovane" stype?
3465584 Anemometer with braking mechanism, Robert E Turner, Dennis W Camp, NASA, 1969-09-09, 73/861.8- testing in order to measure the time for cups to come up to speed
3623362 Free-fall current meter, Robert Daniel Gerard, Navy, 1971-11-30, 73/170.14; 73/170.34 - sinks to bottom and returns to surface of ocean while recording water currents.
3904984 Oram - type in number
D237951 Anemometer, R. A. Simerl, 1975-12-05, - Savonius see D245970 above. Rectangular case with normal meter movement. Looks like Sims Anemometer on eBay.
GB1559761 Anemometers, 1980-01-23
FR2514143A1/en Hand-held electronic anemometer - has Hall sensor coupling rotating shaft to electronic circuit giving adapted scale read-out to LCD
D244226 Combined top sender and bearing plate for an anemometer, R. A. Simerl, 1977-05-03, D15/199 -
D247879 Anemometer transducer, R. A. Simerl, 1978-05-16, D10/96; D10/60 -
Calls:
D215071 Anemometer integral cup and arm, David M. Davis, 1969-08-26,
Calls:
3020963 Cup anemometer, Hakkarinen William, 1962-02-13, 416/196R; 416/196A; 416/197A; 416/197R; D10/96 - strong enough for hurricane
D237951 Anemometer, R. A. Simerl,
3020963 see above
3713336 Combination fluid flow speed and direction transducer, T Bernstein, J Miller, 1973-01-30, 73/170.11; 73/170.08; 73/170.12; 33/351; 33/362 - direction relative to magnetic North.
4154101 Air velocity gauge, Steven O. Buchanan, Robert W. Butts, Dwyer Instruments Inc, 1979-05-15 73/861.75; 73/272R - Vane in tunnel, 20 - 400 FPM,

4248082 Anemometer, D. Eugene Farmer, 1981-02-03, 73/861.85; 73/861.78 - classic Taylor type windmill vane type but with LCD readout. magnets turn in coil.
Calls:
3777121 Electronic Counter
3777263 Peak holding circuit
3805161 Apparatus for sensing speed - magnets and coils
3916326 Sensing circuit including polarity discriminator
3970935 Wide-range digital reluctance tachometer
4841782 Target fluid flow indicator gauge, Steven O. Buchanan, Dwyer Instruments Inc, 1989-06-27, 73/861.74; 73/DIG.5 - Magnehelic?
Patents for Dwyer Magnehelic:
3373614 Differential pressure gauge, Robert D Neyer, Yarway Corp, 1968-03-19, 73/716; 116/268 - magnetic coupling from pressure vessel to outside
3397319 Differential pressure indicator and switch, John P Locke, Dwyer Mfg, 1968-08-13, 250/231.19 -
3645140 Pressure gauge, James W Phillips, Richard S Zoludow, Dwyer Instruments Inc, 1972-02-29, 73/716 -
3862416 Pressure indicator and switch, James W Phillips, Richard S Zoludow, Dwyer Instruments Inc, 1975-01-21, 250/231.11; 250/231.19 -
4011759 Differential pressure gauge, James W. Phillips, Terrence J. Troyer, Dwyer Instruments Inc, 1977-03-15, 73/716; 73/DIG.5; 116/267
4030365 Differential pressure gauge, James W. Phillips, Terrance J. Troyer, Dwyer Instruments Inc, 1977-06-21, 73/708 -
4890497 Differential pressure gauge transmitter, John M. Cahill, Dwyer Instruments Inc, 1990-01-02, 73/708; 338/4; 73/721; 73/766 -
4347744 Diaphragm type differential pressure gauge with overpressure relief protection, Steven O. Buchanan, Dwyer Instruments Inc, 1982-09-07, 73/715; 137/68.27; 137/71; 73/431; 73/716; 73/738 -
5012678 Overpressure relief safety plug for pressure gauges, Steven O. Buchanan, Dwyer Instruments Inc,1991-05-07, 73/738; 73/431; 73/756 -
6564652 X-wire probe for velocity measurements near the downstream edge of an aperture, Paul J. Zoccola, Jr., US Navy, 2003-05-20, 73/861.85 -

Rain

The Peet Borthers Ultimeter weather station does include a tipping bucket rain gauge it's of no use if one of the modular connectors comes loose, especially ones related to DC power.

So got this modern take on the old fashioned rain gauge.

Headwind EzRead Jumbo Rain Gauge.

Headwind EzRead
                  Jumbo Rain Gauge
The mounting bracket has holes at the top and bottom that worked well with tie wraps.
The gauge proper can be lifted out of the bracket in order to dump the water.
Note the funnel at the top magnifies the scale so that 1-1/4" by tape measure = 1" of rain fall.

Not visible in this photo is the plastic washer that floats on top of the water making reading at a distance easy.

2023 End of year the float stayed at the bottom.  I thought the float had become water logged.  But the problem turns out to be scum on the inside of the tube.
The float works fine in a glass of water.

Headwind EzRead Jumbo Rain Gauge
After attempt to clean using dishwasher soap.
Still needs a lot of help.
Bottle brush, but what size and bristle, or .....?
answer from YouTube:
There are 4 ways to clean the tube. All of them require removing the funnel at the top at some point in time. Just give it a wiggle and it should come off.
#1. Let the rain gauge completely dry out. Usually the gunk at the bottom of the funnel will harden and come out.
#2 Just a little vinegar (1 tablespoon) and let it soak in the bottom of the unit for 15 minutes or so. It should break up the gunk and then rinse out the tube.
#3 same as number 2, but use bleach
#4 use a bottle brush to scrub it. The tube is made from high grade polycarbonate, but be careful not to deeply scratch the tube when scrubbing.


 



9010182 Rain gauge, Matthew S. Glenn, Headwind Consumer Prod, 2015-04-21, - another version has a small solar cell and LED in the float.

D7543493 number on point of sale card but not found on neither Google nor USPTO.

Measurements

To avoid filling past 5" the gauge needs to be emptied when it's almost full.

Date
Reading
then empty
Total
2021-10-27
0
0
2021-12-23
5+
5+
2021-12-23
0
5+
2022-04-15
5+
10+
2022-08-29
1.75
11.75
2022-08-29* 0
0
2022-12-31
5+
5+
2023-01-05
4.25
9.25+
2023-01-13
5+
14.25+
2023-02-26
4.9
19.15+
2023-03-081
3.75
22.9+
2023-03-15
3.75
26.65+
2023-09-24
2.5
29.15+

0
0
2023-12-07
5.125
5.125
2023-12-22
4.75
9.875
2024-01-09
3.8
13.675
2024-01-22
4.5
18.175
2024-02-031 3-7/8"
22.050
2024-02-14
3.5"
25.55
2024-02-201 4.375
29.925
2024-03-11
4.875
34.8
2024-05-07
5.00
39.8


0

* Started to rain 2pm
2023 Feb some snow in late Feb.
Note 1. Atmospheric River (Wiki) scheduled for tomorrow.

Lightening Detection & Location

An Instantaneous Direct-reading Radiogoniometer by Robert Watson-Watt, 1926
StormScope - lightening detection
SkyScan Severe Thunderstorm Detector

 Patents
3753117 Severe weather warning device, Downing G, Mcewen T, Weather Watch Corp, Aug 14, 1973, 73/170.24, 340/515, 324/72, 340/601, 340/693.1 - distance not direction
4023408 Stormscope, Paul A. Ryan, Nicholas Spitzer, May 17, 1977, 73/170.24, 324/72 -   aircraft instrument WX-7 was the first in a series.
4115732 Detection system for lightning, Edmund Philip Krider, Ralph Carl Noggle, Martin Allan Uman (Wiki), UoA, 1986-12-30, - gated magnetic DF -  Cited by 40 patents
4245190 Lightning detection system utilizing triangulation and field amplitude comparison techniques, Edmond P. Krider, Ralph C. Noggle, Martin A. Uman, Lightening Location and Protection, 1981-01-13

Back to Brooke's:  PRC68, Products for Sale, Alphanumeric web page index

page created 30 Jan. 2000.