
When making the Helmholtz Coil I bought a cheap ($5) hand miter saw but it was only good for a few cuts before the miter box (thin molded plastic) was destroyed. They no longer sell the metal miter saws like my father and his father used. A miter box (Wiki) is a wooden device that can be used to make square or 45 deg (or any other angle you want) that can be made on a job site. It's very different from the metal miter saw setup.
I wanted to have an outdoor workbench and really liked the Ron Paulk plywood design, but after watching a few of the step-by-step videos on YouTube could see that he uses many thousands of dollars worth of tools to make the workbench and it's very labor and skill intensive. I wanted a workbench that's easy to make and only uses a small and inexpensive set of tools to make. The key tool would be used to cut the legs to length and the horizontal joists to length, so a power miter saw looks like what I need.
It turns out there there's a bunch of miter saws ranging from just over $100 to over $1,000. At the low end you have MIC (Made In China) saws where structural parts are made of plastic. At the high end you have saws with blades over 12" in diameter that are huge (they take up more bench space than I'm willing to give them).
There are also two types: First are the cutoff type miter saws where there is no sliding action, just hing action. Second there are miter saws with sliding action and hing action. The sliding action allows making a square cut on a 2x12 in one operation, just the thing needed for cutting bookcase shelves (the next project after the workbench).
So I ended up getting the Ryobi TSS102L 10” Sliding Compound Miter Saw with Laser (US SKU: 1000-053-377, UPC 033287163083) at Home Depot.
This saw is similar to a radial arm saw (Wiki) except you can not turn the blade for making a rip cut. While a radial arm saw can make a notch, the miter saw can not. The sliding action allows cutting much wider boards than you can do with a cutoff type saw that only swings/hinges up and down.
This is a Ryobi TSS102L Compound Sliding Miter Saw. Compound means that the saw can do a miter and/or bevel cut. Miter is when the blade is swung left or right and bevel means the blade is tilted left or right. Sliding means the saw can be pulled out and pushed back allowing a 2x12 to be cut. Without the sliding you could not cut a 2x12 using a 10" blade.
I really like this saw. It cut the lumber for a workbench. The 4x4s were cut in one operation with ease was were the 2x6 joists. Of course the workbench was designed to minimize the skill and expense needed to make it.
The miter saw that I remember was made of metal and hand operated. The saw blade was rather long to minimize the number of back and forth motions needed to make a cut. Also the long blade made for cleaner cuts since every time you started a new cut there might be a visible defect in the final board. Note the metal miter saw in the photo below can make miter cuts but not bevel cuts, i.e. the saw blade is always square to the base.
Cheap Miter Saw
The cheap ($5) miter saw is great if you only need to make a small number of cuts, like to frame one photo, or in my case to make a couple of square cuts on a 2x4 for a Helmholtz coil.
Fig 1
Fig 2
Fig 3
Circular Saw
This is a hand-held Dewalt 364 circular saw. It's the direct drive type and so the motor can stall if the saw binds, hits a knot or a nail. This is unlike a worm drive circular saw (Wiki: Skil Model 77 Saw) that keeps turning no matter what.
Side bar: Worm Drive Hand Held Circular Saw (Skil saw)
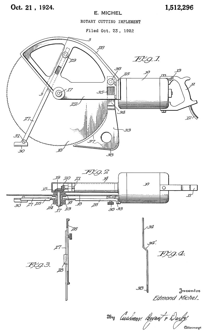
1512296 Rotary cutting implement, Michel, Edmond, Electric Hand Saw Co., 1924-10-21 - this one uses bevel gears (19 & 20). Edmond Michel invented the first electric powered hand operated saw (Wiki: Skil). But changing to a worm gear (Wiki). The worm gear can drive the conventional toothed gear, but the toothed gear can NOT drive the worm gear (Wiki).
This is a well made saw and still is the only saw I've got that can cut large sheets of plywood or doors. I recently cut a door to make a work table and by using brads to tack down a thin strip of wood was able to make a straight square cut. I can see how a track saw (Festool: Track Saws) version of a circular saw would be a handy thing to have if you were making a lot of cuts on wide lumber, but for the few cuts I make in a decade a track saw is not worth the money.
The Dewalt 364 has adjustable depth of cut (something missing from the Ryobi miter saw) so you cut the lumber you want and not cut the bench below if you use a sacrificial piece of wood below the wood being cut.
It can also be used to make bevel cuts. I can remember doing that once, but it's been so long ago I forget why.
It takes a lot of skill to make a square straight cut with one of these. The Compound sliding miter saw solves this problem.
Dewalt 364 Circular Saw Blade side
Dewalt 364 Circular Saw Motor side
Ryobi TSS102L Compound Sliding Miter Saw
After using the saw for a couple dozen cuts I'd say it removes the requirement of skill needed to make a straight square cut.
But using the laser does require some skill to get closer than about 1/8". But if you make a trial cut, measure what happened, then make a real cut you can get to better than 1/16".
Blade
Ryobi
10" diameter for 5/8" arbor.
The 10"x5/8"-40T blade (Fig 15) that comes with the saw has 40 teeth. It's intended for general purpose use, like cutting 2 by framing lumber. But for precision cutting plywood, like for making bookcases a blade with more teeth makes for cuts with less splintering on the back side.
Steel saw blades wear out much faster than blades with carbide tips. Typically the carbide tips are a little wider than the blade keeping the blade from binding but also making for a wider kerf (Wiki).
Freud (Fig 16 below)
Freud D1080X Diablo 10-Inch 80-tooth ATB Finish Saw Blade with 5/8-Inch Arbor and PermaShield Coating - on order. has carbide cutting tips, just over $50 after tax and shipping.
20080307941 Saw blade tooth geometry for circular saw blade, Freud America, Inc., Dec 18, 2008, 83/835
8381625 Circular saw blade with cutting tips mechanically locked against multiple force vectors, Freud America, Inc., Feb 26, 2013, 83/835
Pitch
The distance between the points of the teeth (pitch) is strongly related to the thickness of the material to be cut. For example if a hand saw is going to be used to cut thin metal then the pitch of the blade must be smaller than the thickness of the metal or else the saw will jam.
The stock 10"x5/8"-40T blade that comes with the Ryobi saw has a pitch of (PI * 10")/40 teeth or 0.785". This blade works well for cutting 2by lumber but is not suitable for cutting thin boards.
The Diablo 10", 80 tooth, Ultra Finish saw blade has a pitch half of the Ryobi blade, i.e. 0.393" and so will make much smoother cuts.
Fig 4 In the Box
Fig 5 Clamp, Table extenders and sawdust bag.
![]()
Fig 6 Left side just out of box.
![]()
Fig 7 Right side just out of box.
![]()
Fig 8 Right after removing packing materials.
![]()
Fig 9 Front
![]()
Fig 10 Note saw base is larger than commercial wood workbench.
![]()
Fig 11 Bottom view. Note hex wrench-Philips Screw-driver at top center.
![]()
Fig 12 The clamp seems to be in the way most of the time.
I've removed the clamp since it's more in the way than it is helpful.
![]()
Fig 13 Mounted on two pieces of plywood since
the saw footprint is larger than the commercial (small)
wood working bench. 5/16" bolts.
Fig 14 All the cut lumber needed to build my
first 4'x8' workbench.
Fig 15 Stock 40 Tooth Carbide blade 5/8" arbor
Click for upside down larger image that's easy to read.
Fig 16 Freud D1080X Diablo 10-Inch 80-tooth ATB Finish Saw Blade with 5/8-Inch Arbor and PermaShield Coating
Fig 17 80 tooth blade mounted on Ryobi saw.
![]()
Fig 18 Bottom side of thin plywood
Top cut with 80 tooth blade.
Bottom cut with 40 tooth blade.
Fig 19 Top side of thin plywood
Top cut with 80 tooth blade.
Bottom cut with 40 tooth blade.
A18MS01 Stand
Before designing a way to integrate the Ryobi miter saw into the workbench I looked to see if there was a ready made stand and found the A18MS01, but the Home Depot web page said it only could be purchased in the store. The store said to look up A18MS01G, the Green version, which can be ordered on line with free shipping. So I have it on order. The reviews are pretty much all 5 stars. This stand will also accept other brands of saws so it is not restricted to just one model. It arrived in about a week with some damage to the package, but the stand parts were fine.
The stand is designed to allow feeding the lumber from either the right or left side.
Workbench
Geodesic Dome Connector Plates
Fasteners
Length & Weight Measurements
Drill Press
Air Compressor & Tools
PRC68, Alphanumeric Index of Web pages, Contact, Products for Sale
Page created July 2015