Ukiah, California Latitude Observatory

© Brooke Clarke 2007 - 2023

Ukiah Latitude Observatory Ukiah Latitude Observatory


Photos from 2007
Background
Causes and Types of Polar Motion
Photographic Zenith Tube (PZT)
Plate Tectonic Motion
Ukiah Astronomers
Latitude Observatories 
Equipment
    Zenith Telescope  - Unpacking - 1982 Photos
        Striding Level
        Filar Micrometer
        Scope on Mount
        Zenith Telescope Procedures
    Clock  - Unpacking
    Chronograph
    Observatory Building
    Thermometers
    Target Building
    Office Building (aka Interpretative Building)
    Seismometers
    Magnetic Repeat Station
    Plot Plan & Markers
    Community Facility
Talcott Method  - Equation - Weather - Star List
Dividing Engines
Coordinates of North Pole
Lunar Ranging
Donated T. Cook & Sons, York Telescope
Garden Telescope by Russel Porter
Time Line
References
Links

Photos from 2007

Zenith Telescope at Smithsonian
Zenith
                  Telescope of the type used in the Ukiah Latitude
                  Observatory
Sidereal Clock at Smithsonian
Ukiah Latitude
                  Observatory clock face
Chronograph drum at Smithsonian
Ukiah Latitude Observatory Chronograph
Straddle Level for Vertical axis
Ukiah
                Latitude Observatory Striding Level

Sidereal Clock at Smithsonian
Ukiah Latitude Observatory clock





Ukiah Observatory
                  Roll Off Roof in Shade
Roll Off Roof Observatory Building protected from sun.

Two out buildings to the right.

Viewed from Observatory Ave.
Ukiah Observatory
Roll Off Roof Observatory Building protected from sun.

Astronomer's house to the left.

Viewed from Observatory Ave.
Ukiah Observatory
Astronomer's house.

Viewed from Observatory Ave.
Ukiah Observatory
Out buildings.

Viewed from Observatory Ave.
Ukiah Observatory
Out buildings, Roll Off Roof Observatory, house.

Viewed from Luce Ave.

Orange netting at target building location.
Ukiah Observatory
Roll Off Roof Observatory, house.

Viewed from  Luce Ave.
NOAA 1930? photo of first astronomer's house & observatory.
It looks to be much closer to the hills than the current location?  Telephoto lens
x
The first house is now on an adjacent property.
Front of
                First Ukiah Latitude Obs Astronomer's house

Ukiah Latitude Observatory Looking South
Popular Science Monthly Nov 1909
Ukiah
                Latitude Observatory 1909 Looking South
   
Note that the telescope is sitting on a pedestal that's waist high.  The reason for the North facing door is so that when the telescope is horizontal it can see a North alignment mark at the top of a waist high concrete pier in the meridian alignment building.



Zenith Telescope
Popular Science Monthly Nov 1909
Figure 4
Ukiah
                  Latitude Observatory Zenith Telescope

When scope is rotated so that horizontal axis is East-West the scope moves in the meridian plane.  There are stops on the lower azimuth circle that can be set to 180 deg.  If the scope is pointing 10 deg East of meridian and the scope rotated about the vertical axis to the other stop 180 degrees away then it will be pointing 10 degrees West of the meridian allowing the difference between the zenith angles to be measured using the eyepiece micrometer.



Background

Within a year or two of moving to Ukiah (early 1990s) I saw a street sign "Observatory Ave." and turned onto it searching for an observatory and found a roll off roof observatory.  The local historical building had a little information about it.  This web page is about the Ukiah latitude observatory (Wiki) part of a half dozen identical observatories all located at the same latitude all around the world.

Official Ukiah Latitude Observatory facebook web page.

History

See Wandering Pole, Wobbling Grid (Reference5 ) for some history.

Euler's (Wiki) paper Theory of the Motions of Rigid Bodies in 1765 predicted the wobble of the Earth (Wiki) which is in addition to the precession (Wiki) that takes about 26,000 years for one cycle. 

From the Wiki page on Stellar Parallax:
"James Bradley first tried to measure stellar parallaxes in 1729. The stellar movement proved too insignificant for his telescope, but he instead discovered the aberration of light,[5] the nutation of the Earth’s axis, and catalogued 3222 stars."  In 1729 the precision of angle measurements (see: dividing engines below) was not adequate to the task.

Nutation is related to the angle of the Earth's spin axis relative to the plane of the Earth's orbit around the Sun.  It is not related to the latitude of an observatory.

From the Wiki page on James Bradley:
"Bradley's discovery of the aberration of light was made while attempting to detect stellar parallax.[5] Bradley worked with Samuel Molyneux until Molyneux's death in 1728 trying to measure the parallax of Gamma Draconis."

German astronomer Karl Friedrich Küstner (Wiki) discovered Polar Motion of the Earth (Wiki) in 1888. 

1890 - Progress of Astronomy by William C. Winlock (see short article below in Dividing Engines section) data showed the latitude problem

Wandering Pole, Wobbling Grid by Trudy E. Bell, 2016 - Interesting scientific history that lead up to the Latitude observatories.


On
                  the contribution of the Geodetic Institute Potsdam to
                  the International Latitude Service Fig 2


Side Bar - Brooke's speculation: Aberration of Light

This may have been related to measurements made to better understand Aberration of light (Wiki, Wiki2).  This was a scientific problem that lasted from about 1758 until Einstein's (Wiki) theory of special relativity (Wiki) in 1905 that talks about moving and fixed reference frames.

For example the position of a star (for example the North star) observed from the Earth in, it's orbit around the Sun, will vary because of aberration (Wiki: annual aberration).  The constant of aberration is about 20.5 arc seconds and the amount of change in a stars position depends on the declination of the star and the latitude of the observatory.  So the wobble of the Earth would introduce an error in measurements of these small angles.

A common example is the idea of standing still in the rain where it falls straight down (no wind) compared with standing up in a convertible moving forward.  When standing still the rain appears to come from straight overhead and when moving it appears to come down at an angle.  In a similar way the light from a star appears to come from different places depending of the the movement of the Earth.

This means that the location observatories in relation to the spin axis of the Earth are also changing.  The next year a handful of observatories measured their latitude for a year and found a variation.  As would be expected observatories close in longitude would have the same latitude variation (top 3 plots) and an observatory on the opposite side of the Earth would be out of phase (bottom plot).

Ref: On the contribution of the Geodetic Institute Potsdam to the International Latitude Service, Joachim Höpfner, Paper presented on the occasion of the centennial of the first observations of the International Latitude Service in 1999

Note that one division on the vertical axis is 0.1 arc seconds and the total variation over a year is about 0.5 arc seconds.

Even today it's far from a trivial exercise to measure angles this small.  The GPS in a cell phone can not do this yet (2015).


Starting in 1899 observations were made to determine the location of the Earth's rotational axis, i.e. finding the latitude.  To do this a handful of observatories were spread pretty much equally around the globe at 39 degrees 08 minutes North Latitude.  They sequentially observed the same set of about 60 star pairs each night measuring the zenith distance and time of meridian crossing using a Vertical Zenith Telescope (VZT).

[Brooke's note:] It may have been called finding the latitude because of the effort from 1730 to 1770 to find the longitude.

The book Latitude by Carter & Carter ( ISBN 1557500169) has a good description of the problem of finding the Latitude and the brilliant work of Chandler and Newcomb.  Ukiah was the location of one of the small number of Latitude Observatories (Wiki) which measured their latitude (and longitude) nightly in order to help define the wobble of the Earth's poles.  The observatories were started in 1899 and decommissioned in 1982.

Finding the Longitude was a separate but related problem since Longitude (Wiki) and Latitude (Wiki) are the coordinates used to locate a place on the Earth.
The book Longitude by Dava Sobel describes the 40 year effort (1730 - 1770) that John Harrison (wiki) went through to develop the marine chronometer (Wiki).  There's also a movie based on  the book called Longitude.  What Harrison accomplished is fantastic both in terms of a marine chronometer but also in terms of horology (Wiki).  For example he was the inventor of the temperature compensated pendulum (Wiki).  But once accurate balance wheel clocks or better quartz clocks or GPS navigation receivers are available the problem of finding the longitude goes away.

Alfred L. Loomis (wiki) got half a dozen of the Shortt precision pendulum clocks (Wiki) and discovered that they were effected by the Moon's gravity and was the first to publish this limitation of pendulum clocks (Wiki) in 1931.  The book Tuxedo Park by Jennet Conant has details of that.  Some details of the Moon and Sun gravity tides is on TVB's web page Lunar/Solar Tides and Pendulum Clocks.  Also see Earth Tides and Lunar Ranging.
The movement of the North pole caused by the wobble of the Earth was a much larger problem that took longer to solve than the longitude problem.  Many astronomical observations can not be made without a knowledge where the North pole is located (i.e. where the spin axis of the Earth is pointing in space).  The Latitude Observatories operated for almost a century.  It's only been very recently that a connection with El Nino and the wobble has been found.  The problem with the wobble is that it's not predictable as of 2007. 

The Wiki page for Chandler Wobble Measurement mentions earthquakes but I think Plate Tectonics (Wiki) is a more likely explanation that includes earthquakes and movements of gigantic mass thus effecting the angular momentum of the Earth.  This may be a way to account for the timing of the ice ages (Wiki)

There are a number of modern ways that the orientation of the Earth is currently being measured.  This is coordinated by the International Earth Rotation  & Reference Systems Service in France.  They make use of such methods as laser range finding to Earth satellites (Wiki) and the Moon (Wiki) (Lunar Ranging below) and Very Long Base Line Interferometry (Wiki).

In the 1977 NOAA report (See References below) they say "Probably no other project in modern science has continued for so long unchanged in purpose, equipment, or technique and has managed to produce such a large volume of high-quality data."

When reading old papers about the Earth's wobble, like for example: Leaflet No. 111 - May 1938, The Variation of Latitude by William F. Meyer, UC Berkeley, you need to remember it was written prior to plate tectonics (Wiki) which really became the current accepted science starting in the early 1970s.  From 1912 to the early 1950s there was the idea of continental drift (Wiki) which was controversial during all that time, so papers written between 1912 and the late 1950s may or may not mention continental drift and so far I haven't seen any that mention plate tectonics.  In the book Annals of the Former World by John McPhee written in 1998 there are still disputes about where plate tectonics may and may not be the real answer to observations, so even now we don't have a firm grip on all the details.

Prior to GPS (Wiki) the maps of each country used a datum in that country, that's to say there was no model of the Earth.  While the World Geodetic System of 1984 (Wiki: WGS84) was not the first, it's the default system in today's GPS receivers.  I mention this because knowing the latitude and longitude prior to 1984 involved a reference datum that was unique to each country.  So when the Lon and Lat of an observatory are mentioned in the old literature remember it's a local measurement.

The basis of each countries datum was probably a meridian circle (Wiki) for observing stars, but the location of those stars was not well known.  I expect the position of stars is an on going refinement and in the late 1800s and early 1900s the star positions were not well enough known to detect the wobble by observing any star and using it's "catalog" (Wiki) location.  In fact the reason that the latitude observatories were located at 39 deg 8 min North was so that all observatories would look at the same stars and so could both determine the latitude and as part of that process develop an accurate declination value for those stars.

A short YouTube video about the Maryland latitude observatory:
NEWSLINE: Gaithersburg Latitude Observatory Telescope Site Visit
About a meeting of surveyors in Nov 2014.

Causes and Types of Polar Motion

There are forces acting on the Earth that cause it to orbit the Sun and translate in space that are not related to to the latitude problem.  They result in the precession (Wiki) and nutation (Wiki) of the poles.

The unbalanced forces that can effect the latitude come about because the distance between the North and South poles is shorter than the diameter at the Equator.  This gives rise to a Euler period of about 300 days if the Earth is assumed to be rigid or the period Chandler predicted of about 305 days.  Chandler Wobble (Wiki) is added on top of the Euler spiral and is caused by the circulation of air and water, earthquakes, continental drift (the old name for Plate Tectonics) and changes in the Earth's interior (2014) and El Niño (Wiki) ocean currents.

If El Niño has an effect then maybe global warming will show up as a perturbation of the Earth in a way that can be seen using precision astronomy or time?  For example when a large volcano erupts it changes the distribution of mass on the Earth, in a way that's similar to an ice skater extending her arms, that causes a change in the period of the earth's rotation.  See my Stellar Time web page for ideas on how to measure the period of the Earth's rotation.  Conclusion: it may not be possible for someone measure the Earth's rotational period in a backyard.  That's to say it takes some very expensive equipment to do it.

The
Chandler Wobble (Wiki) amounts to about a 30 foot change which is about 1/3 of an arc second.

Photographic Zenith Tube (PZT)

This is a zenith telescope where part of the optical system is a pool of Mercury that reflects the light from a star, through a lens system who's node is filled with a glass photographic plate that's moved on a track at the sidereal rate.  After making 4 exposures the plate is read in a X-Y measuring machine and from that the sidereal time of the exposure can be determined to better than one millisecond. 

It was replaced by atomic time in 1972 since an atomic clock keeps much more uniform time that does the rotation of the Earth.  See my Rb and Cs atomic clocks.
On some of my other web pages there's information about the PZT but in reference to it's use to determine the time based on the Earth's rotation.  But in the D.O.C. U.S. Coast and Geodetic Survey Special Publication No. 27, 1915 "Latitude Observations with Photographic Zenith Tube at Gaithersburg, MD."  is a report on the use of the PZT. (atitudeo00uscouoft.pdf) In this paper problems with earlier observation methods are described.
The Royal Observatory - PZT has a photo of the PZT.

The PZT was found to be no more accurate than the zenith telescope and much larger, more complex and expensive so the Latitude Observatories did not switch to using it.

2384666 Astronomical camera, Donald L Wood, Eastman Kodak Co, 1945-09-11, 356/148; 356/249; 396/322; 396/332; 396/429 -  appears to be a mini PZT.
2968228 Zenith and level recording camera and level, Everett L Merritt, PHOTOGRAMMETRY Inc, 1961-01-17
Patent Citations (12)
Publication number  Priority date  Publication date  Assignee  Title
US1378011A *1921-05-17  Telegraphic Register Receiving Apparatus
US1533941A *1924-10-25  1925-04-14  Nl Tech Handel Mij Giro  Gyroscopic apparatus having a means for indicating the inclined position of an airship or the like
US1653585A *1926-03-05  1927-12-20  Maurice R Pierce  Camera sextant
US1880960A *1929-06-03  1932-10-0  4Jr Charles F Keale  Aerial camera
US2047070A *1927-02-22  1936-07-07  Horner Erich  Device for photographic survey from aircraft
US2231378A *1941-02-11  Motion picture printing machine
US2352644A *1942-07-15  1944-07-04  Jr Garrett B Linderman  Apparatus for estimating ranges
US2375356A *1942-09-011  945-05-08  Bausch & Lomb  Optical instrument
US2402216A *1946-06-18  Means for securing improvements in
FR948680A *1947-07-01  1949-08-08  Indicator and recorder gyroscopic vertical
US2671388A *1948-07-27  1954-03-09  Leo N Brubaker  Method and apparatus for determining tip and tilt in aerial survey photography
FR1079027A *1952-07-28  1954-11-25  Kollsman Instr Corp  artificial horizon
Cited By (11)
Publication number  Priority date  Publication date  Assignee  Title
US3037284A *1960-10-17  1962-06-05  Gen Precision Inc  Self-contained celestial navigation device
US3052169A *1959-12-14  1962-09-04  Voigtlaender Ag  Viewfinder for single lens reflex cameras
US3166623A *1960-12-29  1965-01-19  Link Division Of General Prec  Spherical lens imaging device
US3197782A *1961-12-27  1965-07-27  Cordis Corp  Optical recording system
US3236167A *1963-12-16  1966-02-22  Rosemount Eng Co Ltd  Underwater camera
US3628027A *1969-12-17  1971-12-14  Sulzer Ag  Beam deflecting and focusing means for photoelectric monitoring, counting or control apparatus
US4889409A *1988-02-16  1989-12-26  Ball Corporation  Hemispherical retroreflector
US5367407A *1990-12-13  1994-11-22  Karl Friedrich Angstenberger  Apparatus for supporting an aiming and orienting appliance useful in reflector systems
US5392112A *1992-03-11  1995-02-21  Nikon Corporation  Inclination angle metering apparatus
US20070293847A1 *2002-03-29  2007-12-20  Codman & Shurtleff, Inc.  Optical Height Zeroing Device
US20130100536A1 *2009-02-06  2013-04-25  Ems Technologies, Inc.  Shaped gradient lens
2995992 Zenith camera system, Everett L Merritt, PHOTOGRAMMETRY Inc, 1961-08-15, 396/50; 356/148; 356/249; 359/557; 359/665; 396/12 -

3001290 Gyroscopic compass, Rellensmann Otto, Stier Karl-Heinrich, Lear Inc, 1961-09-26,
356/148; 33/275G; 33/285; 33/315 - North Finding
The new CCD Zenith Tube IAU No. 248, 2007 - to replace the 1969 PZT made by Carl Zeiss, Jena

History of Photographic Zenith Tube (PZT) - looking for information by Julien Gressot - Video, 24:24 - requires giving them access to your contact list.

Related

Navigation
Stellar Time Keeping
Surveying
MD1 Astrocompass
Pendulum Astrolabe
Theodolite
Time & Frequency

Plate Tectonic Motion (Wiki)

One of the first indications that "Continental Drift" (Wiki) existed was from archeology (Wiki) in relation to Fossil Distribution (Hyper Physics).  This evolved into tectonic plate motion.

"The secular variation of longitudes and plate tectonic motion" describes how the data from the Latitude Observatories were used to test the plate theory.  This implies that the time of star meridian crossing was measured along with the zenith angle.  Zenith angles would give latitude variations but to also see longitude variations time observations would be needed.

Brooke's theory - Plate tectonics may be the cause of the wobble.  That's because very large masses are moving around on the surface of the Earth thus changing it's center of mass hence the spin axis. 

Note that tide gauges (Wiki), used to measure sea level are anchored to tectonic plates and so really do NOT measure sea level, but rather the difference between the elevation of the gauge and the level of the water.  Some tide gauges, like the one in Eureka, are moving upward as the Pacific Plate (Wiki)  pushes on the Juan de Fuca plate (Wiki) (in the Pacific North West) causing the Western edge of the Juan de Fuca plate rise.  Therefore tide gauge data needs to be corrected for the vertical motion of the plate.  Modern tide gauges are coupled with GPS receivers and gravity meters to back out the movement of the ground under the gauge.

Ukiah Astronomers

I've tried to compile some information on who the astronomers have been here in Ukiah.

No.
Ukiah
Years
Astronomer
References
1
1899 to 1903 Frank Schlesinger (Wiki)
Cal Micrometer
2
1903 to 907 Sidney D. Townley (Wiki)
April 10, 1867 - March 18, 1946
San Francisco Earthquake damage in Ukiah:  5:12 AM - April 18, 1906

Assistant Professor of Applied Mathematics at Stanford in 1907 - 1946

charter member & Editor of
 Seismological Society of America  1911 to 1929
3
1907 to 1912
James D. Maddrill
American Astronomy: Community, Careers, and Power, 1859-1940 By John Lankford, Ricky L. Slavings, 1997
"James D. Maddrill (1880 - ?) illustrates a unique form of failure.  I know of no other case in which the doctorate (1907) was conferred before the dissertation had been completed.  Just how Maddrill convinced William Wallace Campbell and the graduate dean at Berkeley to enter into such an arrangement is unclear.  In any case, Maddrill assumed the post of director of the Ukiah International Latitude Observatory with a Ph.D. but still had to complete the dissertation in astronomical spectroscopy.  Campbell continually put pressure on Maddrill, who responded with excuses that included physical and mental illness as well as the distraction of a failed love affair.  Maddrill apparently made little progress and in 1912 left Ukiah for Berkeley where he hoped to complete his theses.  It is not clear whether this was ever done.  At all events, Maddrill's astromonical career came to an end and he disappeared from view."
4 1912 to 1922
U. F. Meyer

5
1922 to 1946
H. G. Wrocklage

6
1946 - 1972
Leonard F. Caouette
1988 star pairs observed (1611 in Gaithersburg)
7
1972 -1982
Robert Pettey


Latitude Observatories

The observatories built specifically for the International Latitude Service were all located very near 39 degrees 8 minutes North Latitude.  The observation method was as developed by Talcott in 1834 which requires observing pairs of stars where the distance is balanced on the North and South (East & West?) sides of the zenith and the time of culmination is reasonably close.  This allows making better measurements than prior methods.  It requires that the observatories be located all around the Earth and very close to the same latitude so that they are looking at the same star pairs thus allowing for error corrections.  Note when this program was started the proper motions (Wiki) of the stars was not known so the actual star locations needed to be determined along with measurements of each observatories latitude and longitude.

At the time that a decision was being made about where to locate the observatories Japan was very concerned with geology because of the Nobi earthquake of 1891and wanted to be part of this system thus fixing the latitude of 39:08 North for the rest of the observatories (Ref 5).  Note that earthquakes are also related to the Ukiah observatory by the work on seismometers by Townley (See above).

N 39:08:12.51 W 77:11:55.85 Gaithersburg, Maryland USA
N 39:08.3 W 84:25.4 Cincinnati, Ohio USA too close to Gaithersburg to be of much value, closed early in the program
N 39:08:14.26 W 123:12:42.54 Ukiah, California USA
N 39:08.1 E 141:07.9 Mizusawa Japan National Institutes of Natural Sciences
National Astronomical Observatory of Japan Mizusawa VERA Observatory
N 39:08.0 E 66:52.9 Kitab Uzbekistan
N 39:08:13.76 E 8:18:41.90 Carloforte Italy

Equipment

Needed Accuracy

The wobble is on the order of 30 feet.  A rule of thumb is that one arc second of angle change along a line of constant longitude (i.e. changes in latitude) is about 100 feet, then the total magnitude of the wobble is about 0.3 arc seconds.  It would be good to measure at least to 10% of the thing being measured or better 1% so the accuracy of the final measurement should be on the order of 0.03 or better 0.003 arc seconds.  If many measurements are made and then averaged the improvement goes as the square root of the number of readings.  Until I learn more about how the measurements were post processed it's hard to say how good an individual measurement needs to be.

To check plate tectonics in say 1965 there would be 66 years of data.  If observatories were moving 2 inches per year then in 66 years there would be a change of about 132 inches or 11 feet.  Since 11 feet is in the same order of magnitude as 30 feet plate motion should be detected and it's direction determined.  This would require that the observed transit times be converted into Lat and Lon.

Zenith Telescope (Wiki)

The telescope is made specifically for measuring the angle between straight up and a star near the zenith.  Or more accurately said to measure the difference in declination of a star pair where both stars have about the same declination but are on opposite sides of the zenith.  This is done using an eyepiece micrometer.  That means the scale factor depends on the actual focal length of the telescope.  To measure that I'm guessing double stars were measured or better a test target on the ground was measured.

American History - Zenith Telescopes - Julius Wanschaff made the Ukiah scope. 108 mm ( 4 1/4") aperture and 1300 mm (51.8") focal length (f12).    This is a much higher quality instrument than the earlier Troughton & Simms zenith scopes.  I've heard that the angular accuracy was good to 0.1 arc seconds (or better).  This is orders of magnitude higher than today's high end telescopes.  The key difference is that this high precision is limited to the specific type of measurement.  If the zenith telescope telescope was asked to point to a random star it would do a much poorer job than a modern scope that has maybe a few arc seconds accuracy.

A Meridian circle (Wiki) is a telescope with a single horizontal axis.  They are used to measure the time when a star crosses the local meridian (North-South line).

The maximum useful magnification (power) of a telescope is on the order of 50x to 100x for each inch of objective diameter, so for this 4-1/4" objective the power is in the range of 212x to 425x.  That means the focal length of the eyepiece needs to be in the range of 1/4" (6mm) to 1/8" (3mm).

Note that Wild patented a theodolite in 1907 and by 1926 was making 1 arc second theodolites (T2) and later made the T4 good to 0.1 arc seconds.  But the Ukiah observatory may have been making measurements good to 0,01 arc seconds in 1899!   A feat that even today is fantastic.

The astronomer would press a button when the star crossed the horizontal line to mark the chronograph.  But the key operation would be to adjust the pointing of the scope to measure the zenith angle of the star as it rises to maximum height and then recedes.

Ukiah Latitude
        Observatory Base for Vertical Zenith TelescopeThis is the concrete pier for the vertical zenith Telescope.  It's a waist high concrete pier surrounded with wood that matches the interior walls.  You can see three light colored circles where the feet of the telescope sat.  The observer sat in a chair and looked into an eyepiece that was maybe half a foot above the concrete.  In front of the observer was an electrical switch that when activated would make a mark on the chronometer paper.

You can see three circles and when looking closely in each circle there are three indentations in the concrete that may be been small (about 1/32") on the bottom of the three coasters that were between the telescope mount and the concrete.




Zenith Telescope back in Ukiah 31 Jan 2015

Unpacking (UP Fig) figures in order taken.  Photos by Brooke Clarke.

UP Fig 1 as installed by the movers the mount is not positioned with the axis of the ways left right in this photo
The microscope to read the vernier scale (Wiki) is missing.

Blue shrink wrapped package in background is the sidereal pendulum clock.  Not unwrapped yet, will be in interpretive building.
Ukiah Latitude
                  Observatory Zenith Telescope
UP Fig 2 marked: J. Wanschaff, Berlin
Ukiah Latitude
                  Observatory Zenith Telescope
UP Fig 3 The target building as seen from the observatory
Ukiah Latitude
                  Observatory Zenith Telescope

UP Fig 4 top of the mount with the "Y" supports typical of a transit instrument (Wiki).  Note a surveyor's Wye level (description on external page) has a provision to remove the telescope tube from it's mount and reinstall it reversed.  This allows canceling some errors thus making a more accurate measurement.  I'm sure this was done here too, probably at initial alignment and maybe once every so many years for alignment checks.
Ukiah Latitude
                  Observatory Zenith Telescope
UP Fig 5 telescope tube
Ukiah Latitude
                  Observatory Zenith Telescope
UP Fig 6 telescope tube
Ukiah Latitude
                  Observatory Zenith Telescope
UP Fig 7 Light house.  attaches to counter weight
Ukiah Latitude
                  Observatory Zenith Telescope
UP Fig 8 Light house. opening for lamp.  Thumb nut at top holds parabolic reflector.

I've heard that this electric lamp housing replaced a similar one that used Calcium Carbide in Observatories where there was no electricity.  But Ukiah had electricity from the beginning so didn't use that one.
Ukiah Latitude
                  Observatory Zenith Telescope
UP Fig 9  Hole in shaft for light from lamp house.  Threads for counter weight.
Ukiah Latitude
                  Observatory Zenith Telescope
UP Fig 10  "Y" support on left has slot allowing up/down adj.
"Y" support on right is solid metal.
Ukiah Latitude
                  Observatory Zenith Telescope
UP Fig 11 Arm on right has adjustment screw for zenith angle adjustment.  One vernier microscope holder is installed, but the opposite holder is missing, but it's 2 mounting screws are there.
Ukiah Latitude
                  Observatory Zenith Telescope
UP Fig 12 Counter weight
Ukiah Latitude
                  Observatory Zenith Telescope
UP Fig 13 counter weight.  Don't know what the two thumb screws are for.
Ukiah Latitude
                  Observatory Zenith Telescope
UP Fig 14 terminals on counter weight for lamp house wiring
Ukiah Latitude
                  Observatory Zenith Telescope
UP Fig 15 striding level.  The 4 rods that trap the striding level are missing.
Ukiah Latitude
                  Observatory Zenith Telescope
UP Fig 16 striding level. 
Ukiah Latitude
                  Observatory Zenith Telescope
UP Fig 17 striding level shown on telescope bearing surfaces
Ukiah Latitude
                  Observatory Zenith Telescope
UP Fig 18 target building
Ukiah Latitude
                  Observatory Zenith Telescope
UP Fig 19 Behind door of target building, hinged sheet metal panel at top closed.
Ukiah Latitude
                  Observatory Zenith Telescope
UP Fig 20 Sheet metal panel opened showing place holder wooden target bar.
Ukiah Latitude
                  Observatory Zenith Telescope
UP Fig 21 Roll-Off roof observatory
Ukiah Latitude
                  Observatory Zenith Telescope
UP Fig 22 heating/cooling unit in interpretive building
Ukiah Latitude
                  Observatory Zenith Telescope
UP Fig 23 Target bar in interpretive building after unpacking
Both targets can be independently adjusted to precisely match the telescope offset.
Ukiah Latitude
                  Observatory Zenith Telescope
UP Fig 24 right target
It's  not clear why the left positioning bolt is retracted.
Maybe after the target bar was removed someone was making measurements or ???
Ukiah Latitude
                  Observatory Zenith Telescope
UP Fig 25 left target
Ukiah Latitude
                  Observatory Zenith Telescope
UP Fig 26 Target bar sitting in target building.
Mystery vertical slit in the sheep metal.  It was copied from the original vertical slit see UP Fig 35 below
Ukiah Latitude
                  Observatory Zenith Telescope
UP Fig 27 close up of target building.
Since there's no hole in the top of the sheet metal the roof vent probably was to cool the building rather than vent fumes from an open flame.
Ukiah Latitude
                  Observatory Zenith Telescope
UP Fig 28 eyepiece end of telescope tube, missing filar micrometer. (Wiki)
Ukiah Latitude
                  Observatory Zenith Telescope
UP Fig 29 Vertical circle. vernier microscope holder present, but the reading microscope is missing.
Ukiah Latitude
                  Observatory Zenith Telescope
UP Fig 30  Rotating the mount to align the "Y" axis.
Ukiah Latitude
                  Observatory Zenith Telescope
UP Fig 31   Rotating the mount to align the "Y" axis.
Ukiah Latitude
                  Observatory Zenith Telescope
UP Fig 32 Donated Equatorial mount (Wiki) for another scope.
Ukiah Latitude
                  Observatory Zenith Telescope
UP Fig 33 Target (Meridian) building seen from properly rotated mount.
Ukiah Latitude
                  Observatory Zenith Telescope
UP Fig 34 Target building seen from properly rotated mount.
Note telescope can be aimed horizontally at target then rotated 180 degrees in azimuth and 180 degrees in elevation and look at the other target.
Ukiah Latitude
                  Observatory Zenith Telescope
UP Fig 35 The origional target house sheet metal box.
Ukiah Latitude
                  Observatory Zenith Telescope
UP Fig 36 Pétanque (Wiki) court between the observatory and Observatory Ave.
Redwood Empire Boules Club (UDJ article)
Ukiah Latitude
                  Observatory Zenith Telescope
UP Fig 37
The wheels are spring loaded, tension adjusted by screws below.
Note screw in slot showing limit of motion.
Ukiah Latitude
                  Observatory Zenith Telescope
UP Fig 38
View from above. Vernier microscope holder as about 7:00.
Two screw holes for another vernier microscope holder at about 2:00.
Ukiah Latitude
                  Observatory Zenith Telescope
UP Fig 39
The pully in center locks (CW) or unlocks (CCW) azimuth movement.
Ukiah Latitude
                  Observatory Zenith Telescope
UP Fig 40 3 of 7 package stickers
Ukiah Latitude
                  Observatory Zenith Telescope
UP Fig 41 4 of 7 package stickers
Ukiah Latitude
                  Observatory Zenith Telescope
UP Fig 42 azimuth locked CW
Ukiah Latitude
                  Observatory Zenith Telescope
UP Fig 43 azimuth locked CCW

Knob at bottom center drives radial rod and clamps circle.
Works like clamp knob on vertical circle.

Knob above clamp knob is select/release (about 90 deg motion) for latches at 0 and 180 degrees.
Ukiah Latitude
                  Observatory Zenith Telescope
UP Fig 44 Close up of striding level scales
Hard to photograph, see UP Fig 49
UP Fig 45 Wiring for meridian (target) light
(Wiki: Knob-and-tube wiring) 1880 to 1930.
Ukiah Latitude
                  Observatory Zenith Telescope
UP Fig 46 vertical circle missing two levels.  The central knob/pulley does not want to turn.
Maybe because scope is resting on circle.  Try again when on mount.
Ukiah Latitude
                  Observatory Zenith Telescope
UP Fig 47 Counterweight
It was thought that it was a box and that the two thumb screws allowed opening the box to change the internal weights.  But that's not the case, the weight is a single part. 
The cover seems to only be a holder for the electrical terminals and maybe the removable plate was made in
different weights as a fine adjustment for balance?
Ukiah Latitude
                  Observatory Zenith Telescope
UP Fig 48 counter weight
Ukiah Latitude
                  Observatory Zenith Telescope
UP Fig 49 striding Level
one division is 2.2 arc seconds.
Ukiah Latitude
                  Observatory Zenith Telescope


24 Feb 2015 Photos taken after telescope is sitting on mount

It's not yet clear how the controls are used on the vertical circle.

UP Fig 50 The 2 sensitive levels are missing
level mounts are way off level.
Ukiah Latitude
                  Observatory Zenith Telescope
UP Fig 51
Ukiah Latitude
                  Observatory Zenith Telescope
UP Fig 52
Ukiah Latitude
                  Observatory Zenith Telescope
UP Fig 53 There is a Vernier scale for focus or to set scale scale factor for the filar micrometer?
45 degree angle for pirsm (or mirror).
Ukiah Latitude
                  Observatory Zenith Telescope
UP Fig 54 The Vernier scale on both the horizontal and
vertical circles is very faint.
Holder for scale viewing microscope is empty.
Magnifying glass and 45 deg reflector to light scale.
Ukiah Latitude
                  Observatory Zenith Telescope
UP Fig 55 Large handle loosens cap, you can see the gap.
This allows moving the levels but not the telescope.
Notice holes in outer telescope tube for cooling.
Level mounts rotated to closer to level.
Ukiah Latitude
                  Observatory Zenith Telescope
UP Fig 56 This is a fine control of the vertical angle of the telescope.
Ukiah Latitude
                  Observatory Zenith Telescope
UP Fig 57  Are the grooves the support wheels run in
because of wear or were they put in from the beginning.
The roller on the right is jammed in the up position and is
tipping the horizontal axis to the left.  That's why the adjusting
arm on the right has it's lower end to the right of where it should be.
Ukiah Latitude
                  Observatory Zenith Telescope
UP Fig 65 Eyepiece hole (no eyepiece) but with close focus
lens engaged as used to look at meridian targets.
Ukiah Latitude Observatory Zenith Telescope
UP Fig 66 Eyepiece hole (no eyepiece) but with close focus
lens disengaged as used to look at stars.  This way no change is needed to any of the star viewing settings.
Ukiah Latitude Observatory Zenith Telescope
UP Fig 61 Main clamp. Knob on back side moves the central
rod to clamp telescope to horizontal axis.  Once clamped screw allows adjusting angle.

There's a similar rod and clamp knob for the horizontal circle.
Ukiah Latitude
                  Observatory Zenith Telescope
Fig 73 Adjustment bolts at right top and bottom work
against each other to control height of Wyes on one side
to match height of Yye on other side.
Ukiah Latitude
                  Observatory Zenith Telescope
Fig 70 Left side support wheels
The marker screw is at bottom of slot, but wheel is holding
axle up off of Wye.  Needs adjustment.
Ukiah Latitude
                  Observatory Zenith Telescope
Fig 71 Right side support wheels
Bottom screw not run in to take up more weight, yet.
Ukiah Latitude
                  Observatory Zenith Telescope

Zenith Telescope Procedures

Calibration

The Striding Level is used to adjust the three feet of the mount to plumb the mount.  Done by rotating the telescope.

The horizontal circle zero is set by sighting the North star (Wiki) at a time when it's true north.  This happens at two times each day that are 12 sidereal hours apart.
There's a good chance that it can be done in the daytime.

The horizontal motion stops need to be set so that the scope is in the North - South meridian when at either stop by sighting the North Star at the correct time.
Then the meridian house targets need to be adjusted so that they are each on the meridian.  Once this is done the horizontal circle is typically not read, the scope is used either to the West or to the East of the pier at a stop.

Horizontal Movement

To make a horizontal move the clamp screw is loosened.  See UP Fig 16 for the knob at the top center of the mount. The scope rotated 180 degrees.

Vertical Movement

 When the arm clamp screw, see UP fig 61 is loosened the telescope is free to be moved up or down and if the vertical circle is clamped, see UP Fig 55 then the vertical circle moves with it.

Measurement

So the procedure to move to a new star would be to:

Stars are measured in pairs where one star will be on the North side of the zenith and the other will be on the South side of the zenith.
There is two ways to do it, for example the star that's North of the zenith could be measured with the telescope on the East or the West of the pier and the other star in the pair measured by rotating the scope 180 degrees about the vertical axis.

Is it always done the same way or done differently on different days?

1982 Photos

These photos were taken at the time the telescope was being packed in order to ship it to the Smithsonian for storage.
From the Estate of David Pettey, Ukiah Latitude Observer 1972 to 1982

1982 Fig 1 "Zenith telescope in use at observatory,
Ukiah, Calif.  Pier is protected from accidental
disturbance by a wooden casing."
SPDT knife switch near electrical box. 
What does it do?
In later photos appears to be an on/off switch,
which would be for lamp house.
Ukiah Latitude
                  Observatory 1982 Photos
1982 Fig 2
Ukiah Latitude
                  Observatory 1982 Photos
1982 Fig 3 Note plumbers tape holding something
near eyepiece.  What is it?
Ukiah Latitude
                  Observatory 1982 Photos
1982 Fig 4
Ukiah Latitude
                  Observatory 1982 Photos
1982 Fig 5 Wiring for lamp house
Recording thermometer (barometer?) at left on wall.
Ukiah Latitude
                  Observatory 1982 Photos
1982 Fig 6 List of star pairs
So far I have not been able to get this list.
Ukiah Latitude
                  Observatory 1982 Photos
1982 Fig 7
Ukiah Latitude
                  Observatory 1982 Photos
1982 Fig 8
Ukiah Latitude
                  Observatory 1982 Photos
1982 Fig 9
Ukiah Latitude
                  Observatory 1982 Photos
1982 Fig 10 Note vernier reading microscope.
Ukiah Latitude
                  Observatory 1982 Photos
1982 Fig 11 Rods form cage around striding level.
Ukiah Latitude
                  Observatory 1982 Photos
1982 Fig 12 Mount, after scope removed.
Ukiah Latitude
                  Observatory 1982 Photos
1982 Fig 13 Note: (metal?) disks where mount sits.
Bakelite on/off switch for lamp house.
Mount on floor at right.
Ukiah Latitude
                  Observatory 1982 Photos


Striding Level

Fig 49 Striding Level
one division is 2.2 arc seconds.
Ukiah Latitude
                    Observatory Zenith Telescope
Fig 64 Striding level numbers every 10 divisions.
bubble is 33 divisions long
Ukiah Latitude
                    Observatory Zenith Telescope





This is the most sensitive level and sits at right angles to the vertical axis of the mount.  It is used to plumb the vertical axis of the mount by adjusting the three leveling feet and rotating the mount about it's vertical axis. 

Note that part of the calibration process is centering the bubble in the striding level relative to it's feet.  This can be checked by turning the level 180 degrees and seeing if the bubble remains centered.

One division corresponds to about 2.2 arc seconds of angle.
Ref: Science, Vol XXIII, No. 593, 1913 pg 756 "The California Earthquake at Ukiah", by Sidney D. Townley.  The last paragraph of this article mentions that the latitude levels have a sensitivity of 1.0 (with no units specified, but I'd assume that to mean 1 arc second per division, but that's strange since this pair of levels are smaller than the striding level.

Filar Micrometer

This eyepiece coupled with the the pair of levels on the vertical circle are the key elements in making the star zenith angle measurement.

As of Feb 2015 we have not received this as well as a number of other items this size and smaller.

A method was developed to check the repeatability of the filar mechanism by taking readings on each division of the targets in the meridian house.

Photos of another filar micrometer courtesy of the City of Ukiah taken on the East Coast.

A Method for Determining the value of an average space of a latitude-level in terms of a micrometer-turn by Frank Schlessinger, 1901 shows that one micrometer turn is 40 arc seconds on angle.  Based on meridian star observations and the telescope levels.

Fig EP 1 this one has a magnifying glass built in.
Photos of the Ukiah observatory show a hand held
magnifying glass
Filar Eyepiece
                    for Zenith Telescope
EP 2
Filar Eyepiece
                    for Zenith Telescope




Clock

Most clocks tell time based on the Sun, where at true Noon the clock shows 12:00.  A sundial would show some time within plus or minus 15 minutes of the actual time because of the Equation of Time (Wiki) and because the sundial may not be located on the centerline of the time zone.

Sidereal time is based on when a star (other than the Sun) crossed the local meridian (Wiki) at midnight.  The rate of a clock telling sidereal time is slightly faster than a clock telling civilian time.  In the case of a pendulum clock the rate can easily be set to sidereal by moving the pendulum up from it's normal position.  The rate can be checked by noting that when a given star crosses the local meridian should be the same sidereal time every night.  The location of a star (Wiki) is specified by it's Right ascension (Wiki: RA) and Declination (Wiki).  The RA can be specified as an angle between 0 and 360 degrees, or as hours: minutes: seconds of sidereal time.

So the astronomers can regulate the rate of their clock by checking what time each known star crossed the local meridian, but also can set their clock because the right ascension of all the stars they are looking at is known and tabulated.  

A Local Mean Sidereal clock is used to know which stars are on the local meridian.

Strasser & Rohde 599 (German collector web page) most likely an Invar rod pendulum with temperature compensation with lens shaped bob.
The small top hand is seconds, the sweep hand is minutes and the bottom hand is a 24 hour hand.  Set to run at sidereal time not standard time.  The purpose of the clock is to know which star will be visible next.   The clock would have an electrical switch that would close for a short time once each second used to make seconds ticks on the drum chronograph.

Later the Heathkit Most Accurate digital clock was used (photo in old local newspaper at Historical Society).  Note that the clock is to tell the astronomer approximately when a star needs to be observed and then to record the actual meridian crossing time as well as zenith angle.  Note that the position of the stars was not well known then because no observatory knew it's latitude because of the precession (Wiki, axial precession) and wobble of the Earth (Wiki: Chandler Wobble, Polar Motion).  By having all the latitude observatories observe the same star pairs the location of those stars could be refined.  Note of each star pair one star was to the East and the other to the West of the meridian.

Sidereal Time (Wiki)

Sidereal time is based on star meridian transits instead of solar transits which are used for standard time.  Since both are based on an observer on Earth the difference between the two time scales is exactly one day per year since the Earth is revolving around the Sun and it's own axis.

Local Sidereal Time (Wiki) is adjusted for the longitude of the telescope.

The location of a star is commonly specified by it's Right Ascension (Wiki) and declination (Wiki).  The R.A. is the local sidereal time when the star transits the meridian. 

So for a night of observations there will be a star list ordered in R.A.

For example the star Vega is a magnitude 0 star R.A. 18:27:12,  dec 37 deg 47 min 18 sec North  so when the sidereal clock says the time is 18 hours 27 minutes and 12 seconds it will be very close to directly overhead in Ukiah, CA.  On 21 June 2007 at 1:54:32 local time Vega will be very near the zenith.  It's expected zenith angle will be 0 deg 29 min 0 seconds  and to the South of the meridian.

Unpacking

Clk Fig 1 Face
Time shown: 19 hours (bottom hand), 12 minutes (long hand
off right side), 36 seconds (top hand).
Strasser &
                  Rohde Sidereal 24h clock
Clk Fig 3 Clock was shipped with pendulum attached.
Might have been better to remove it for shipping.
an example of damage done by pendulum.
Two holes at left and right just above top of dial used to
anchor clock to wall.
Strasser &
                  Rohde Sidereal 24h clock
Clk Fig 5 The arm that couples the pendulum to the escapement
appears to be bent.
Strasser &
                  Rohde Sidereal 24h clock
Clk Fig 6 Key still in shipping wrap.
Strasser &
                  Rohde Sidereal 24h clock
Fig 7 Clock on Wall
Pendulum has: main adjustable bob,
smaller adjustable lower bob,
Weight shelf near top with up/down adjustment.
Cage at bottom locks pendulum at center.
Strasser &
                  Rohde 559 Sidereal 24h clock


Chronograph

This is just a drum with a length of paper.  The drum turns at some known speed and when a button is pressed when a star crossed the meridian a mark is made on the drum.  The sidereal clock makes a tick mark on the drum once each second.  So that sidereal time when an observation was made can be determined.  Since the right ascension of a star is a fixed number there are a small number of reasons that the observation would not be at the exact time of RA.
Note that the drum speed does not matter.

4 Jun 2009 - The NOAA May 1977 paper on polar motion mentions that the latitude observatory data was used to see if they changed longitude.  That implies that the time of meridian crossing was recorded.  Up until the mid 1960s that could be done using the Western Union time service (see my Self Winding Clock Co web pages) and after the mid 1960s by using the Heathkit GC1000 radio clock.  Since neither the WU time service nor the Heathkit GC1000 are sidereal time pieces they would be used to set the local pendulum clock which might have kept sidereal time.  Or, if it kept regular time a mathematical conversion would be made.

After reading Circles, Clocks, Ships, and Wires: Meridian Circles within Innovative Assemblages in 19th-Century America (Ref 7) looked for patents on recording chronographs.  They were used for seismography, tide gauges and many other applications.

816767 Chronograph, Meyer Wildermann, Robert
                    Ludwig Mond, 1906-04-03
816767 Chronograph, Meyer Wildermann, Robert Ludwig Mond, 1906-04-03, -
This may have been used with a seismometer.
981989 Chronograph, Theodore T Fitch,
                    1911-01-17
981989 Chronograph, Theodore T Fitch, 1911-01-17, -
The drum allows comparing pulse per second hacks from master clock with event hacks.
Very similar to the application at the observatory.
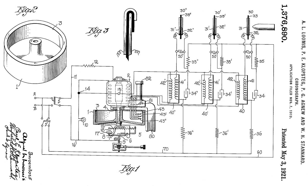
1376890 Chronograph, Alfred L Loomis (Hw
                    Clocks, Wiki), Paul E Klopsteg (Wiki), Paul G Agnew,
                    Winfield H Stannard, 1921-05-03, -
1376890 Chronograph, Alfred L Loomis (Hw Clocks, Wiki), Paul E Klopsteg (Wiki), Paul G Agnew, Winfield H Stannard, 1921-05-03, - capacitive discharge through step up coil causes spark to make pinhole in paper record.  The application is measuring the speed of a projectile, i.e. ballistics.
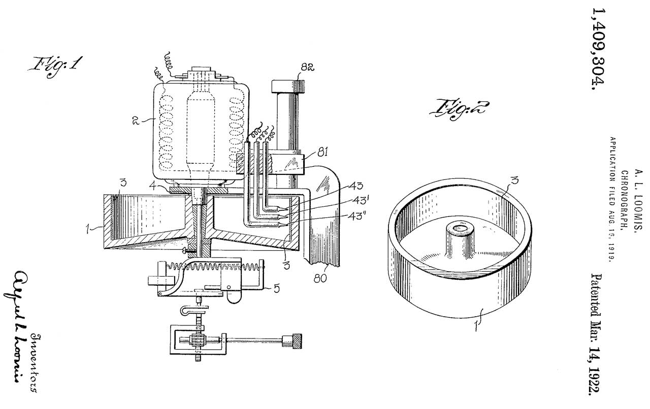
1409304 Chronograph, Alfred L Loomis (Hw
                    Clocks, Wiki), 1922-03-14, -
1409304 Chronograph, Alfred L Loomis (Hw Clocks, Wiki), 1922-03-14, -
2236719 Chronograph, Theodore K Riggen, Bendix
                    Aviation, 1941-04-01
2236719 Chronograph, Theodore K Riggen, Bendix Aviation, 1941-04-01, - for testing weapon clockwork fuzes.
Uses paper tape instead of a sheet of paper on a drum.  Most likley paper tape from a teletype machine.
Riggen holds a number of related patents.

Observatory Building

The buildings for all the latitude observatories may be the same (very similar) in design.  In any case the Ukiah building and the Gaithersburg were made from the same set of plans but the as built configuration was different and changed over time.

A large part of the building design relates to how it cools when the roof is rolled back and how it heats during the daytime when the roof is closed.  This is extremely important since thermal gradients will effect the accuracy of the telescope.  There was a thermometer on the wall of the observatory and a chart for converting between F and C.

Measurements would not be made until the equipment temperature stabilized. 

Thermometers

Ukiah Latitude Obs
        Indoor Temperature Chart & Thermometer bracket
In the observatory.

The bracket probably held a thermometer and to it's left is a conversion chart between F and C.  The chart was not typed with the minus signs, but they have been added by hand.  It also is missing the decimal point for the tenths of a degree C making it awkward to read.  There were also thermometers outside on either side of the building that were recorded at about the center of the observation run each night.

Photo by PaulK 30 May 2009












Target Building (aka Meridian Alignment Building)

Exactly North of the zenith telescope are a pair of targets.  They are sitting on a masonry pier that's about three feet on a side and four feet tall.  The masonry is surrounded with a sheet metal box with a hole for each of the targets, a vertical slit between the targets (reason unknown) and a vent hole at the top which would be necessary for the carbide lantern which was the first light source, but not needed when they switched to an electric lamp.

The purpose of the targets is to zero the azimuth (North) direction.  By using two targets the telescope can be set to North when it's on either side of the mount.

As seen from zenith telescope
Ukiah Latitude
                    Observatory Zenith Telescope
Target bar sitting on bench.
There are two translucent scales with ruler marks.
Behind each scale is a light reflector at about 45 degrees to
back light the scales using either the early calcium carbide
lantern (Wiki) or the soon to be installed electric light in the center.
The sheet metal may be been there to prevent fires?
Ukiah Latitude
                    Observatory Zenith Telescope
Original sheet metal box
Ukiah Latitude
                    Observatory Zenith Telescope
Target bar sitting in house.
Ukiah Latitude
                    Observatory Zenith Telescope

Office Building (aka Interpretative Building)

Seismometers

Sidney D. Townley (Wiki) was the resident astronomer at the Ukiah Latitude Observatory on April 18, 1906 and felt the San Francisco earthquake.  I'm guessing it made a big impression on him because when his assignment at Ukiah was up he moved to Stanford University and in 1911 was one of the founding members of the Seismological Society of America acting as the editor of their key publication.
Ukiah Latitude
          Observatory Seismometer ConcreteIn the basement of the astronomers house there's a room maybe 16 by 14 feet and in the rear corner of the room the top of a concrete block about  8 x 8 feet on a side is sticking up from the floor about two feet.  There is a gap between the concrete mass and the building floor to isolate it.  It was used for developing seismometers.  (Photo by PaulK 30 May 2009)

H. G. WROCKLAGE, Installation of McComb-Romberg tilt-compensation horizontal-component seismometers at the International Latitude Observatory, Ukiah, California
Bulletin of the Seismological Society of America, January 1, 1934; 24(1): 69 - 71.
Arnold Romberg (Univ. of Texas)
"The concrete peir is 6-1/2 x 8 feet base by 5-1/2 feet high, the base being three feet below the normal surface of the soil."

patent 2293437 Force Measuring Device, Aug 18, 1942 " zero-length spring"

Provisional result of the work of the international latitude service in the North Parallel + 39° 8’ during the year 1933
History of the Seismological Society of America -

My seismometers web page.

STA      LAT      LON 		ELEVATION 	STANAME 
UKI 39.1372 -123.2106 0.199 Ukiah, NEIC
Is this the Latitude Observatory? The Lat is the same (39.1372 vs. 39.137294) so yes.
The USGS shows UKI as an open seismic station, probably a typo.

Magnetic Repeat Station

The Plot Plan shows a number of survey markers that suggest that a Magnetic Repeat Station was located at the observatory site.  There are magnetic observatories where the instrumentation is permanently installed and there are repeat stations where the instruments are brought to the site once every few years.

IAGA Guide for Magnetic Repeat Station Surveys, by L.R. Newitt, C.E. Barton, and J. Bitterly, 1997, ISBN: 0-9650686-1-7 -

Note because the latitude observatories were probably the places on Earth where their location was known to an extremely high precision I expect they would also be home to other scientific investigations where they need to know the location.

I would have expected there to be a GPS reference station here, but that's not the case.

Plot Plan

The plot plan made in 1991 shows the boundaries, North-South direction and a number of survey markers.

Ukiah Latitude Observatory Plot Plan 1991 Magnetic Station Azimuth Mark
Ukiah Latitude Obs Mag Sta Ref
                  Mark

RM 3
KT2024
Ukiah
                Latitude Obs Magnetic Station Ref Mrk 3
Meridian House (being restored)
Marker
Brick masonary pier under blue plastic.
Ukiah
                Latitude Obs Meridian House Marker
USGS Magnetic Station
Ukiah
                Latitude Obs Magnetic Station
RM4C
Ukiah
                Latitude Obs Magnetic Station Ref Mrk 4c
RM5 NGS Data Sheet
PID - KT2010
Ukiah
                Latitude Obs Magnetic Station Ref Mrk 5
RM1
Ukiah
                Latitude Obs Mag Ref Mark 1
Magnetic Station Azimuth Mark
Ukiah
                Latitude Obs Mag Sta Ref Mark



The Northern most marker is a concrete post with an angle iron bracket at the top and labeled "Magnetic Station Azimuth Mark".
This establishes true North by using the main magnetic monument.  They are about 100 meters (328 feet) apart.  Much further than the distance between the observatory and the meridian target separation of about 180 feet.
Note that along a North-South line through this marker is the "Ukiah Magnetic 1925" marker and a notation showing a fifteen foot nominal radius.  There are 5 other survey markers all radiating out from the Ukiah Magnetic 1925 marker labeled: RM1, RM2, RM3, RM4 and RM5.  Maybe for Relative Magnetic?
Marker photos by PaulK.

NGS Data Sheets at the Ukiah Latitude Observatory

PID
---------
KT1197 - NAD 83(1986)- 39 08 15.06464(N) 123 12 43.35952(W) AD(1984.00) 2
                           STAMPING: 651.928 B 105 1932
                           The magnetic marks are listed on this data sheet.

KT1198 - NAD 83(1986)- 39 08 14.10437(N) 123 12 42.15978(W) AD(1984.00) 3
                        The top and extreme northwest corner of the concrete base supporting the zenith telescope and about 4 feet above the floor.
PID    Reference Object                     Distance      Geod. Az  
                                                          dddmmss.s 
KT2010 UKIAH MAGNETIC AZ MK                 99.828 METERS 00000 
NAD 83(1986)- 39 08 18.30181(N) 123 12 43.35939(W) AD(1984.00) 2 KT2024 UKIAH MAGNETIC RM 3 42.632 METERS 01959

KT2023 UKIAH MAGNETIC RM 4 31.887 METERS 02829

KT2025 UKIAH MAGNETIC A POINT 29.822 METERS 10237

KT2011 UKIAH LATITUDE 1925 41.413 METERS 13547

KT2001 UKIAH MUNICIPAL AIRPORT BEACON ON H APPROX. 3.0 KM 2223614.1

DB6008 UKIAH MAGNETIC RM 1 15.193 METERS 22349

DB6009 UKIAH MAGNETIC RM 2 15.925 METERS 30730



Community Facility

Some years ago the grounds were developed with a walking path and native plant maze.  On Saturday 31 Jan 2015 when there to take photos of the unpacking of the telescope there were maybe a dozen groups of from 1 to 4 people walking, walking their dogs, exercising or playing Pétanque (similar to Bocce ball Wiki)on the grounds.

Palying Pétanque (Wiki) every Saturday afternoon.
Redwood Empire Boules Club (UDJ article)
Ukiah Latitude
                  Observatory Zenith Telescope
Maze using native plants
Also see Google satellite view at top of page.
x
Walking path
see Google satellite view at top of page.
Office (Interpretative center) building

Residence


Talcott Method

The Horrebow-Talcott method (Wiki):
The so-called Horrebow-Talcott method fixed latitude "by observing differences of zenith distances of stars culminating within a short time of each other, and at nearly the same altitude, on opposite sides of the zenith.". Ref 5:  Captain Albert E. Theberge, Albert. (2001) The Coast Survey 1807-1867 National Oceanic and Atmospheric Administration Library.
Explained in Topographic, Trigonometric and Geodetic Surveying: Including Geographic, Exploratory, and By Herbert Michael Wilson, 1912 J. Wiley & Sons 932 pgs.

Talcott's method took into account that the star catalogs then available (maybe a hand full) had errors for some stars.  By observing a group of stars (maybe a couple dozen) in a night and by pairing the stars so that one was North of the zenith and the other was South of the zenith not only instrument errors but also star catalog errors could be detected and corrected.

The same star list was used by all the observatories.  This allows for further error detection and reduction and is why all the latitude observatories are very close to 39:08 N.

The stars are in pairs where each star in a pair is very close to the same zenith angle.  The scope is set for the average zenith angle of the pair using the vertical circle and vernier and the scope is set East or West depending on which star culminates first.  When that star crosses the meridian the micrometer eyepiece is set to measure how far from the central angle the star is.  Then the scope is revolved 180 degrees about the vertical axis and when the second star crosses the meridian the micrometer eyepiece is again used to read how far it is from the central angle of that pair.  The micrometer readings are much more accurate than an angle read from the vertical circle and is the key benefit of the Talcott method.

Description of observation using Talcott method from Leaflet No. 111 - May 1938, The Variation of Latitude by William F. Meyer, UC Berkeley
By this method the latitude is determined by observing with a micrometer the difference between the nearly equal zenith distances of two stars which pass the meridian within a few minutes of each other, one north and the other south of the zenith. The Zenith telescope is set to the proper zenith distance for the first star with the bubbles of the delicate level, which is attached to the telescope, adjusted and read. After the star has been observed, the telescope is reversed on its vertical axis without altering the position of the level. The telescope can now be adjusted to point to the same zenith distance as used for the first star. Since the stations have nearly the same latitude, the same stars can be used at each, thus assuring homogeneous results.

Equation

From Popular Science Monthly, Vol LXXV, No. 5, Nov 1909.

Φ =  ½(δn + δs) +  ½(mn - ms)*R + ½(ln + ls) +½(rn - rs)
where:
subscript s means to the south, and n to the north

Φ = latitude
δ = measured star declination from vertical circle
m = micrometer measurement
R = micrometer to angle conversion factor
l = reading of vertical circle levels
r
= refraction correction as a function of telescope zenith distance

If the two stars are at exactly the same declination δ and the instrument is reversed without disturbing the pointing, then the m, l and r terms become zero and the latitude becomes δ star zenith angle.

Note the declination (Wiki) of a star is measured the same way as latitude.  So for an observer on the equator looking at a star with zero degrees declination would look straight up, zenith angle of zero.
For an observer at 39 degrees North a star with a declination of 39 N would be straight up.

Need to determine how the vertical circle is calibrated.  Is straight up zero or can it be set to 39:08?

Weather

In the same Popular Science article referenced above on the equation there is a discussion about the impact of weather and incomplete measurements.
Historically, averaged over all the observatories, on 46.5% of the nights there is good weather.  The odds of all six observatories to have good weather on the same night is about one in a hundred.

When making a measurement on a given star if a mistake is made you can not turn back the sky and make the measurement again, it's a missed measurement.
Although Ukiah averaged about 60% of all possible measurements the other observatories were not that good and they averaged about 50%.

So the odds of measuring all the stars at all stations on the same might are about 1/4096.  Estimated once every 20 years.

Star List

Twelve groups of stars (I to XII), each containing eight pairs total.  Six latitude pairs not more than 24 degrees from the zenith and two refraction pairs about sixty degrees from the zenith were selected for observation.  Eight pairs per group total.  Each star in a latitude pair is within 16 minutes of arc and the refraction pairs are within 5 minutes of arc [Ref ASoP1899].  So the filar micrometer may have a range of plus and minus 20 minutes of arc?

The brightness (astronomical magnitude (Wiki, my magnitude web page) ranges from 4.0 to 7.4.  Note the common navigation stars are much brighter (Wiki).  The time interval between culminations vary between 4 and 16 minutes. 
Ref: letter of 11 April 1947 from DOC to Miss Marian R. Marvin, Librarian, Ukiah Public Library.

fact check: 24 hours (1440 minutes) divided by [ (12 groups * (6 pair + 2 pair) *2= ] 192 stars = 7.5 minutes between stars on average.

As of Feb 2015 I'm still looking for the list, but did find out a little more about it from the article:

[Ref ASoP1899] Program for the International Geodetic Association for Observing Variations in Latitude by Frank Schlesinger, Publications of the Astronomical Society of the Pacific, Nov 20, 1899.

The refraction (Wiki) pairs allow determining if a anomaly is caused by refraction (the effect gets larger as a star gets closer to the horizon) and a parallax error which would be the same for observatories on opposite sides of the Earth.

Group
R.A.
From
To
Duration
Overlap
I
0h - 2h
Sep 23
Dec 6
74
na
II
2h - 4h Nov 2
Jan 4
64
35
III
4h - 6h Dec 7
Jan 30
55
29
IV
6h - 8h Jan 5
Feb 24
51
26
V
8h - 10h Jan 31
Mar 21
50
25
VI
10h - 12h Feb 25
Apr 15
50
25
VII
12h - 14h Mar 22
May 11
51
25
VIII
14h - 16h Apr 16
Jun 8
54
26
IX
16h - 18h May 12
Jly 9
59
28
X
18h - 20h Jun 9
Aug 13
66
31
XI
20h - 22h Jly 10
Sep 22
75
35
XII 22h - 24h Aug 14
Nov 1
80
40





40

Dividing Engines (Wiki)

The quality of dividing engines may have been a factor in choosing who made the telescope since the quality of the vertical circle is the prime specification for this telescope.
Both the horizontal and vertical circles can be read directly to 10 arc seconds.  The filar micrometer increases the angular resolution maybe 100 times to 0.1 arc seconds.

Jesse Ramsden's 45" dia dividing engine
In order to mark a ruler or protractor with divisions that are accurate some type of mechanism is needed to eliminate errors caused by variations caused by humans.  Jesse Ramsden (Wiki) developed a dividing engine 45" in diameter with 2,160 teeth (6* 360) on it's circumference.  In order to do that he also invented a screw cutting lathe using change gears custom made to the pitch needed.  Note:  A screw with notches filed into it was used to cut the big wheel.  Then the big wheel was measured and corrected and then tested.  Over a number of cycles of cutting and measuring the quality of the dividing engine was improved.

Note that the problem was getting a precise division of the circle that then could be used to mark other circles.
The photo at left is from the Annual Report of the Board of Regents of the Smithsonian Institution, July 1890.
It was in 1890 that the Ramsden dividing engine was donated to the Smithsonian. 

The first 45" Ramsden dividing engine was made in 1775 and was capable of dividing to 1/2 minute (30 seconds) of arc.

As part of his award from the commissioners of longitude he made public his design not only for the dividing engine but also for the screw cutting lathe that was needed to make the dividing engine.

A Ramsden engine was used to improve the 8 foot radius scale on Halley’s 8-foot (radius) Iron Mural Quadrant at Greenwich. 
That web page shows a lot of similarity with the latitude observatories.

As time went on the diameter of the circle needed to get a specified accuracy (say 1 arc minute for the 45" Ramsden engine, or 1 arc second for the 5" Wild T2 theodolite) has decreased with time.

But I still need to examine the dividing on the vertical circle of the zenith telescope to see how precisely it can be read.  See Figures below.





UP Fig 58 Vertical circle has numbers every 5 degrees.
Large divisions every 1 degree.
Small divisions every 10 minutes.
The vernier divisions are 10 arc seconds each.
Filar micrometer to read finer angles.
Ukiah Latitude
                  Observatory Zenith Telescope
UP Fig 60 Horizontal circle has numbers every 5 degrees.
Large divisions every 1 degree.
Short divisions every 10 minutes.
The vernier divisions are 10 arc seconds each.
Ukiah Latitude
                  Observatory Zenith Telescope


Close UP of Vertical vernier
Marked 10  8  6  4  2  0 (minutes)
Each minute is divided into 6 parts
each of which is 10 seconds
Ukiah Latitude
                  Observatory Zenith Telescope
Progress of Astronomy by William C. Winlock

In another article in the same 1890 report titled: Progress of Astronomy by William C. Winlock there's information about the Earth's latitude:
"The EARTH-Variat'ion of latitude.-The subject of the change of terrestrial latitudes, to which allusion has been made in previous reports, continues to receive considerable attention from astronomers and geographers. The following results have been obtained by Dr. Kiistner, in continuation of his former researches, from 7 pairs of stars at three different times of the year:

Epoch. Latitude of Berlin.
1884.32
+520 30' 16". 73-0.82dA
1884.70                16.96"+0.83dA
1885.31                16.52-0.85dA
where dA represents the correction to the assumed constant of aberration.  The direct inference from these figures is that in 7 months the latitude of Berlin decreased 0".44. Polkowa showed about the same time a similar change:
Epoch.
Latitude of Polkowa
1882.31
+59o46"18".52
1883.51
             18".54
1884.70
             18".63
1885.23
               18".31
1885.31
              18".30
a decrease of 0".33 from 1884.70 to 1885.31.

The general agreement of these results certainly calls for further investigation; and to test the matter Mr. Preston has been sent out by the U. S. Coast Survey, and Dr. Marcuse by the International Geodetic Commission, to Honolulu, which is at the opposite end of the earth's diameter from Berlin, and by simultaneous observations at these two stations it is hoped the question will be settled.

It is quite possible that the origin of the apparent change at Berlin in 1884-1885 is meteorological, a view to which Dr. Foerster inclined in bringing' the matter before the Association Geodesique in 1888. The whole question is, then, whether there are changes in the disposition of atmospheric strata sufficient to account for the facts observed, or the axis of rotation and the axis of inertia of the earth are not sensibly coincident.

A complete resume of the subject is given by M. Tisserand in the Bulletin Astronomique for 8eptember, 1890.

Mr. Ricco has experimented with a somewhat novel demonstration of the rotundity of the earth. At the observatory of Palermo, which is situated at a distance of 1-1/4  miles from the Mediterranean and 236 feet above sea level, a great number of photographs of the sun reflected from the surface of the water have been taken a few minutes after rising or before setting, and they show that the diameter in the plane of reflection is less in the reflected image than in the direct. This deformation is due to the fact that the surface of the water forms a cylindrical mirror, with axis horizontal and normal to the plane of reflection. The amount of the observed flattening accords well with that demanded by theory.
A back of the envelope calculation.
Vertical circle is about 9" diameter, 28-1/4" circumference.
There are small divisions every 10 minutes.
There are 21,600 (360 * 60) minutes in a circle, or
2,160 each 10' small divisions.
28-1/4" / 2,160 = 0.013" between small divisions.

Vernier scale (Wiki)

I think the length of the vernier scale is 10 degrees on the circle or 60 small (10 arc minute) divisions, or 600 arc minutes long.  But a vernier scale divides the smallest division by the number of of divisions on the vernier so in this case 10 arc minutes (600 arc seconds) are divided into 60 parts or 10 arc seconds per division on the vernier.

The key idea is that a vernier divides the smallest division on the circle by the number of divisions on the vernier.
While the commonest vernier has 10 divisions, more can be used, 60 in this case.  In the case of a full circle the vernier might be made to cover 1/2 or 3/4 of the circle resulting in much higher resolution, but how accurate would depend on the quality of the dividing engine.  Also the more divisions in the vernier the longer it takes to read it.


Dividing Engine Patents

  14082 Dividing Engine Dial, William H. Brown, 1856-01-15,
343980 Dividing-engine, Amos H. Brainard, 1886-06-22, - a fancier version of the Economy Indexing Jig.
398504 Dividing-engine, James B. Faucette, 1889-02-26, -
686266 Dividing-engine, Adolph L De Leeuw, 1901-11-12, -
GB191117408 (eSpaceNet) Dividing Engines or Machines for Marking Thermometer Tubes or for the like purposes, Edgar T. Perken, Perken Son & Co, 1912-07-25, - linear scale
1067682 Dividing-head, Oswald Roessler, 1913-07-15, - integrated into milling head
1172778 Angular spacing and feeding mechanism for dividing-engines and machine-tools, Herman W Falk, Percy C Day, Falk Co, 1916-02-22, - for gear cutting machines
1206006 Dividing apparatus, Johan Oscar Lifflander, J & Cg Bolinders Mek Verkst AB, 1916-11-28, - a version of the Economy Indexing Jig.
2487314 Indexing device for optical projection comparators, Roger E Coles, IBM, 1949-11-08, -
2524538 Indexing device, Alan H Pearson, Pearson Inc, 1950-10-03, - more accurate and easier to use on milling machine.
2610551 Indexing device, Frederick W Riedel, United States Steel, 1952-09-16, - a version of the Economy Indexing Jig.
2723461 Roundness measuring and/or recording apparatus, Reason Richard Edmund, Rawstron George Ormerod, Taylor Taylor and Hobson Ltd, 1955-11-15, - for measuring roundness, not for indexing
2795973 Indexing device, Molitor Arvid Axel, 1957-06-18, - energy management for faster metal working
3072014 Photographic apparatus for producing curved lines, Rawstron George Ormerod, Rank Precision Industries, 1963-01-08, - "This invention relates to an apparatus for manufacturing an optical cam device..."


The Dividing Engine in History -
YouTube: Machine Thinking: The HIDDEN Screws of PRECISION, 19:53,

Coordinates of North Pole

The current data is at Earth Orientation Center - Polar motion for the last 365 days -

Lunar Ranging

This is a modern part of determining the period of the Earth's rotation as well as other astronomy.  The idea is to measure the time it takes a pulse of laser light to go from the Earth based observatory to one of the retro reflectors on the Moon and come back.

It turns out that, just like the latitude observatory, great care is needed to make precision measurements.  In the case of the lunar ranging the Earth's gravity tides that cause the ocean water level to move up and down also cause the bedrock at the top of mountains to move up and down (Wiki).  Love Numbers (Wiki) are a measure of how stiff the Earth is at a given location and allow calculating how much it wall move as gravity changes because of the Sun, Moon, &Etc.

There are a couple of ways to measure the movement of the telescope used to make the lunar distance measurements:
1) precision GPS - but it also measures all the changes, not just the change due to earth time
2) a gravity meter, like that GWR that's used for the APOLLO system, allows correcting the telescope position to account for the earth's tide. 
3449956 Force measuring instrument, Goodkind John M, Prothero William A, Jun 17, 1969, 73/382.00R, 73/514.18
5204568 Superconducting bearing for borehole and survey gravimeters, Robert L. Kleinberg, Douglas D. Griffin, Richard J. Warburton, Gwr Instruments, Apr 20, 1993, 310/90.5, 33/366.11, 324/346, 73/382.00R - 
Apache Point Observatory Lunar Laser-ranging Operation (APOLLO)
The Basics of Lunar Ranging
Wiki- Lunar Laser Ranging experiment
ScienceShot: Decades-Old Soviet Reflector Spotted on the Moon
YouTube: Why this observatory fires lasers at satellites, 3:16 -

Donated T. Cook & Sons, York Telescope

While taking photos of the unpacking of the zenith telescope I discovered a donated mount (see UnPacking Fig 32 above).  Martin Bradley posted photos of these parts on the Antique Telescope Society Yahoo Group photos section about 12 Jan 2014.  Photo Courtesy of City of Ukiah

 I have placed thumbnail photos Fig 1 to 19 from that posting below.
Photos York 20 and up I took.

Fig York 01
Very large eyepiece hole to accept filar micrometer
T. Cook & Sons, York Telescope
Fig York 02
Mount on Peir
T. Cook & Sons, York Telescope
Fig York 03
Filters for filar illumination
T. Cook & Sons, York Telescope
Fig York 04
T. Cook & Sons 1871
T. Cook & Sons, York Telescope
Fig York 05
Clockwork for RA drive
T. Cook & Sons, York Telescope
Fig York 06
Telescope tube
T. Cook & Sons, York Telescope
Fig York 07
Objective marked:
Mounted by
GRU68-Parsons
C.T.S. ?????
71 1/4" Focus
T. Cook & Sons, York Telescope
Fig York 08
Telescope tube
T. Cook & Sons, York Telescope
Fig York 09
T. Cook & Sons, York Telescope
Fig York 10
Lower light is from EP hole.
Upper light is from 45 deg mirror.
T. Cook & Sons, York Telescope
Fig York 20 T. Cook & Sons 1871 mount
T. Cook & Sons,
                  York Telescope
Fig York 21 T. Cook & Sons 1871
T. Cook & Sons,
                  York Telescope
Fig York 22 pier for T. Cook & Sons 1871 mount
T. Cook & Sons,
                  York Telescope
Fig York 23 telescope tube
T. Cook & Sons,
                  York Telescope
Fig York 24 light from EP hole coming out filter
T. Cook & Sons,
                  York Telescope
Fig York 25 degree wheel hours in roman minutes in numerals.
T. Cook & Sons,
                  York Telescope
Fig York 26 "T. Cook & Sons 1871" mount
T. Cook & Sons,
                  York Telescope



Porter Garden Telescope

I'm putting this here because I'd like to see one of these at the Ukiah Observatory Park.
The first one made by Garden Telescopes was the reflector version, but as of 2015 they are starting work on a version that can be configured as either a reflector or refactor.  As of 2020 I don't see any mention of the refactor version.  This is made from machined metal castings and is a work of art.  Russel Porter made the first on around 1920

YouTube: Telescopes of Vermont: Porter Garden Telescope Reborn -  Telescopes of Vermont has three other videos about the PGT


1468973 Reflecting telescope, Porter Russell W, Sep 25, 1923, 359/364 - Reflector (mirror)
1651412 Telescope, Porter Russell W, Dec 6, 1927, 359/429, 248/181.1 - Refactor (Lens)

Time Line

1610
Gailleo (Wiki) discovers the moons of Jupiter (Wiki) The idea that another planet can have moons violated Aristotle's cosmology (Wiki). 
By measuring the Occultation (Wiki) of Jupiter's moon Io at different times of the year (different distances between the Earth and Jupiter) the speed of light (Wiki) can be calculated.
1630
William Gascoigne (Wiki) sees a spider web inside a telescope where it's focused.  He invented the telescopic sight.  He also developed the filar eyepiece where a hair moved by a screw allows measuring the diameter of the image, or refining the angle the telescope was pointing.  Note this filar eyepiece is different from the later and improved filar micrometer (Wiki).
PS In an earlier version of this web page I used the term filar eyepiece when I meant filar micrometer, now fixed.
1666
Isaac Newton (Wiki) writes THE book on modern Optics (Wiki: History, Optics) (my web page on optics) and believes in a corpuscular theory (Wiki), i.e. light is made up of particles.
1725
James Bradley (Wiki) tried to measure the distance to a star using stellar parallax (Wiki). 
Note: At this time there was still debate about whether or not the Sun rotated about the Earth.  Heliocentrism (Wiki) was still being questioned and stellar parallax was part of that debate.
But the dividing engine had not been invented and he could not make the measurement.  But in the process he discovered the aberration of light (Wiki, Wiki).
To make the parallax measurement you need to observe a star at two times six months apart (with the Earth on opposite sides of the Sun) to get the longest baseline.  The exact two days of the year depend on the location of the star.

The annual stellar aberration (Wiki) is given by:
k = Θ - Φ ~ v/c
k is the constant of aberration (20″.49552)
Θ is the arrival angle of the light
Φ is the declination of the telescope
v is the speed of the Earth in it's orbit around the Sun (29,780 m/s)
c is the speed of light (299,792,458 meters/second)
1775
Jesse Ramsden (Wiki) invents the geared screw cutting lathe (Wiki) in order to make a precision screw to match a worm gear for a dividing engine.  The 45" diameter engine has one tooth per minute of angle and a dial on the worm screw (Wiki) probably could be read to 10 seconds of angle.

By the end of the 18th century angles could be measured using Vernier scales on engine divided circles to 10 seconds of arc.  Star positions could be further refined by using a filar micrometer to better than one arc second.  Today we can measure fractions of a milli arc second (0."0001).
1838
Friedrich Bessel (Wiki) measures the parallax of 61 Cygni (Wiki: RA 21h 06m 53.9434s, Dec +38° 44′ 57.898″ Note the declination) using a Heliometer (Wiki) which was designed to measure the diameter of the Sun, but also can make precise measurements of angles.  Wiki says the Heliometer was better than a filar micrometer (Wiki) in handling atmospheric turbulence (Wiki), I don't understand why.  Note the the "seeing" gets worse as the size of the telescope objective gets larger, so for telescopes under 6 inches seeing is not much of a factor, but for scopes over one foot diameter it's a real factor, so for Astrometry (Wiki) you don't want large diameter telescopes.  Hence the 4" objective diameter of the Latitude Observatory telescopes.
1845
James Clark Maxwell (Wiki) publishes his equations (Wiki) that describe electromagnetic radiation and treat light as a wave.  The speed of light can be calculated from the permittivity  (Wiki) and Permeability (Wiki) of the medium the light is traveling through.  Since both these numbers were known for a vacuum the speed of light was calculated and checked against the then known value and it matched.
But there was a debate about the nature of light, was it a particle or a wave and there were experiments that gave both answers.
1887
The Michelson–Morley experiment (Wiki) is published.  They were trying to measure the speed of light in the aether (Wiki) but failed.  They published their negative result (this takes a lot of guts to stand up and say you were wrong, even today). 

1889
Getting the constant of aberration to better than an arc second was critical.  Also note the use of observatories at 35o 16' north and south to measure zenith distances.  Note this is tied up with measuring the speed of light.  It was not yet clear if light was a wave or particle.  [Ref 3]

1890
Dr. Kiistner reports a problem in that the latitude of his observatory is changing. [Ref 2]

1905
Albert Einstein publishes the Special Theory of Relativity (Wiki: History, TOR)

References

1. Optics by Eugene Hect & Alfred Zajac, 1974, ISBN: 0-201-02835-2 - used for the Time Line
2. Progress of Astronomy by William C. Winlock, Annual Report of the Board of Regents of the Smithsonian Institution, July 1890
3. Annual Report of the Board of Regents of the Smithsonian Institution, July 1889

Michelson's Recent Researches on Light by Joseph Lovering pg 449 (Wiki) - Talks about various ways the speed of light had been measured.  Michelson's early experiments used a revolving mirror, but had a flaw.  The final experiment was done using a interferometer (Wiki).

"As late as 1872, Le Verrier thought that a new measurement of tbe velocity of light  by Fizeau very important in tbe interest of astronomy; and in 1871, Cornu wrote that tbe parallllx of the sun, and hence the size of the earth's orbit, were not yet known with the desirable precision. In 1875, Villarceau made a communication to the Paris Academy on the theory of aberration. He says that the parallax of tbe sun by astronomical measurement is 8".86. Foucault's velocity of light combined with Struve's aberration makes the sun's parallax 8".86. Cornu's velocity of light gives the same result only when it is combined with Bradley's aberration, which differs from that of Struve by 0".20. Villarceau thinks that there is an uncertainty about the value of aberration on account of the motion of the solar system. 'In 1883, M. O. Struve discussed seven series of observations made by his father, Nyren, and others, with various instruments and by different methods, at the Observatory of Pulkowa. He was certain that the mean result for the value of aberration was 20".492, with a probable error of less than 1/100 of a second. This aberration, combined with the velocity of light as deduced from the experiments of Cornu aud Michelson, made the parallax of the sun 8".784; differing from the most exact results of the geometric method by only a few hundredths of a second. Villarceau proposed to get the solar motion by aberration; selecting two places on the earth in latitude 35o 16' north and south, and after the example of Struve, observing the zenith distances of stars near the zenith. The tangents of these latitudes are ± 1/SQRT(2) so tbat they contain the best stations for obtaining the constant of aberration, and the three components of the motion of translation of the solar system."

The article on pg 749 Geographical Latitude by Walter B. Scaife is about the non ideal characteristics of the Earth, not about a problem measuring precise values.

PS.  There's an article about a tower by a guy named G. Eiffel and another by W.A. Eddy.  984 feet (300 meters) tall compared to the Washington monument at 555 feet.
4. Annual Report of the Board of Regents of the Smithsonian Institution, July 1894 - contains a number of inetesting articles
On the Magnitude of the Solar System by William Harkness pg 93- luminiferous ether is mentioned as are the parallax of the Sun & Moon.  Says 1639 was the introduction of the micrometer eyepiece.  Angle measurements to better than 0".1 are needed for the parallax measurements.

Variation of Latitude by J.K. Rees, pg 271 -
"This was the state of the investigation when Dr. Kiistner, of the Berlin Observatory, published the results of his observations made in 1884-85. Dr. Kiistner undertook some observations for the trial of a new method for the determination of the constant of aberration. On reducing his observations he obtained resnlts which were not at all satisfactory. A careful examination of his work led him to make the announcement that the unsatisfactory valne for the aberration constant was due to a comparatively rapid, though very small, change in the latitude of the Berlin Observatory-" that from Augnst to November, 1884, the latitude of Berlin had been from 0.2" to 0.3" greater than from March to May in 1884 and 1885."

"The lecturer threw on the screen illustrations of several forms of zenith telescopes, and described the new form made by Wanschaft; of Berlin."
5. Tau Beta Pi - Wandering Pole, Wobbling Grid, 2016 by Trudy E. Bell (Home page)
A history of the latitude observatories along with a number of the people involved (and their portraits).
Ref 6. Notes on Polar Alignment Methods - Observatory Class Telescopes -
Ref 7. Circles, Clocks, Ships, and Wires: Meridian Circles within Innovative Assemblages in 19th-Century America, Trydy E. Bell, 1 June 2023, (ahierscfv-3950.pdf)

Links

Flickr - survey marker photos -
National Parks Service - Astronomy and Astrophysics - Gaithersburg Latitude Observatory -
NOAA (National Oceanic and Atmospheric Administration) -
Gaithersburg International Lattitude Observatory - Wendy Woodland

Martin Bradley - The person most responsible for saving the observatory - photo sequence of THE oak tree with star background - Telescope used in Ukiah -
Paul K - Photos taken during 30 May 2009 tour of buildings.
California's First Observatories. By Peter Abrahams.  Ukiah observatory had determined it's latitude and published it in 1897.
Flamsteed Astronomy Society -
NWAC - Precision Regulator Clocks Gallery - Strasser & Rohde

Popular Science Monthly - Nov 1909 "The Shifting of the Earth's Axis" by Dr. Sidney Dean Townley (Stanford univ) - mentions Euler's formula of 1765 giving a 306 day period if the Earth was rigid.  The actual period is more like 427 days.  But the axis does not repeat period to period.  As a possible explanation:
"Ah see by de papers dat de urf's axis am a wobbling an' dey dunno wat fo'.  But ah know wat makes de urf's axis wobble.  Do you see all dis oil dese men am a takin' out of de urf?  Well wat do you spose de good Lord put dat oil in dere fo'?  Wy to grease de axis wif, of course, an' when dey take it all out, wat else can de axis do but to wobble." Attributed to a Preacher in the oil region of Texas, but probably the Townley's humor.

39315 Altitude Instrument, March 29, 1881, S.C. Chandler, Jr. - aka Chronodeik or Almucantar - a telescope coupled to a pendulum so that it points straight up.

"The Observatory" of the Royal Astronomical Society, 1899 (Vol XXII) - pg 445 - Book Review "A Treatise on Instruments" published in German 1899 mentions the Chronodeik is in the book along with typical data.

The SAO/NASA Astrophysics Data System - The Astronomical Journal - No. 1180 page 219 " - report for year: 1 Jly 1948 - 30 Jun 1949

Systems for the Determination of Polar Motion, May 1977, NOAA - Continuing the Lat Obs operations mainly as astronomical & navigational reference frame also may link to/from  earthquakes.  Plan to continue for 50 or 100 more years.  In 1898 the International Geodetic Association (IGS) created the International Latitude Service (ILS) (the name changed in 1962 to International Polar Motion service (IPMS)) of 6 stations all located at 39:08 North to observe 12 groups of 12 stars.  Later the stations at Cincinnati dropped from the service and Tchardjui was replaced by Kitab.  Gaithersburg was non operational from 1916 to 1932, but Misuzawa, Ukiah, and Carloforte gave almost uninterrupted service.  Also starting in 1962 more observatories were added at various latitudes bringing the total to about 50 observatories observing not only stars but also the Moon, artificial satellites and quasars using optical, laser and radio methods.

The observatory locations given in this paper differ from those shown above probably due to the reference frame used.  The paper was pre global navigation and GPS so used an older less accurate country specific reference frames.

The National Museum of American History - Wanschaff Zenith Telescope

Theory of the Motions of Rigid Bodies 1765 Euler (Wiki: Euler angles)

Yahoo Group: Antique Telescope Society - web page: Antique Telescope Society

Stellar aberration due to the orbit of the earth (around the sun) = 20.5 arc seconds, around the Earth = 0.32 arc seconds.

Frank Schlesinger testing of automatic Zenith Camera at Allegheny Observatory

Special thanks to the Mendocino County Historical Society and the Held Pouge Librar

Back to Brooke's PRC68Astronomy, Binocular, CCD Astronomy, Star Magnitude, Personal Home page
page created 31 July 2007