Submarines

© Brooke Clarke 2017 - 2024

Background
Description
Types
Actual Capability
Dive Dive Dive
Key Components
    Hull
    Propulsion
    Periscope
    SONAR
        Echoscope (Gertrude)
    Weapons
    Communications
Patents
NR-1
Modern US Subs
Oxygen Candle
Autolycus (submarine detector)
Hunt For Red October
Related
References
Links

Background

I followed the stories about the Russian K-129 (Wiki) for many decades and have had an interest in submarines for much longer.  Recently learning about sonobuoys and torpedos has rekindled that interest.  This page was made as I started to read Going Deep: John Philip Holland and the invention of the attack submarine (2017) by Lawrence Goldstone as a way to keep track of the patents.

Cornelis Drebbel 1572 - 1633 (Wiki) - built a submersible water craft in 1620 and gave King James I (Wiki) a ride on the Thames river.  Since it was a leather covered wood structure it's not clear how depth was controlled.
The First Submarine - archive -
He was involved in early optics including grinding lenses and the camera obscura.

Hunley

The Hunley (Wiki, 1863, Hunley.org) is called the first successful (depending on how they defined that word) submarine because it sank the USS Housatonic (Wiki).  A paper dated 23 Aug 2017 from Duke University Confederate Submarine Crew Killed By Their Own Weapon shows that soft tissue damage to the lungs and brains of the crew was the problem.  Note that the "torpedo" they used was a "spar torpedo" not an "automobile" type and was on a 16 foot spar.  Since it contained about 135 pounds of gun powder.  The PLOS article is:
Air blast injuries killed the crew of the submarine H.L. Hunley, 2017-08-23.

Note that the plan was to attach the spar torpedo to the
USS Housatonic and then back off maybe 150 feet before exploding it, but something went wrong and the torpedo exploded while still on the spar, much too close to the sub for the occupants to survive. A big part of the design of U.S. military munitions is "Safe and Arm" (MIL-STD-1316) to prevent the type of accident that befell the Hunley.  A normal S&A function is to insure that the weapon has traveled a safe distance from the launching platform before it's armed.  A common approach is a small propeller that needs to make a predetermined number of turns and/or a minimum amount of time needs to elapse after launch.

Description

From prior reading the crush depth for a W.W.II submarine is about the same as it's length, on the order of a few hundred feet.  It took a lot of improvement in metallurgy and sub design to get to the deep diving subs of today.

The W.W.II and earlier submarines were not true submarines like we have today, but rather submersibles meaning they were really surface ships that could submerge and maneuver under water for a very short amount of time.  They had very limited range under water because of limited battery capacity.

John P. Holland
                - Wiki photoJohn Holland (Wiki) is the father of today's submarine, and in the patents section below are key problems he solved.  In Reference 1 there are many dozen early designs for underwater vehicles, but they all suffer major problems.  Patent 815350 (below) shows some sailors so gives a rough idea of the size of the first Holland Sub.  The Electric Boat Co. (Wiki) was formed to build Holland Subs.

At what time was the air compressor for charging the Whitehead torpedoes on board the sub and if it was not then how long between charging the torpedoes until the air leaked out cutting the range in half?

When was the periscope added (it was not part of the Holland design).  In patent 522177 (below) item L is called a Camera Obscura, but is shown as a periscope without any lenses.

Simon Lake designed a series of submarines (see Ref 3) that dived while level by using diving planes ahead of the conning tower.  They also had wheels so could "drive" on hard bottoms (Wiki: NR-1)

Royal Navy - Holland 1 -



John Holland was cheated out of his patents and removed from the Electric Boat Co. To be replaced by the technician Frank Cable who used electrical heating to dry out electrical cables in a sub that sank.

Types

From a YouTube video by H I Sutton: 10 Types of Submarine Explained - web page -
Hull
Nomenclature
Countries

1. SSN (Wiki) SS (Submerged Ship) N (Nuclear powered) USA, France, Russia, China, UK, India, Brazil

2. SSBN (Wiki) Submerged Ship Ballistic missile Nuclear powered USA, France, Russia, China, UK, India

3. SSGN (Wiki) Submerged Ship Guided missile Nuclear powered

4. SS (Wiki) Submerged Ship or Submarine normally diesel-electric


4. SS K (Wiki)
Submerged Ship or Submarine hunter-Killer normally diesel-electric

4. SS P (Wiki)
Submerged Ship or Submarine with Air-independent Power/Propulsion
also see: YouTube: Apex Predators: AIP Submarines Explained -
in the 1950s AIP was about speed, in the 1980s about stealth.

5. SSB (Wiki) Submerged Ship Ballistic missile North Korea

6. SSM (Wiki) Submerged Ship Midget Iran, North Korea, Italy & many more with lesser fleets, <500 Tons

7. SDV (Wiki) Seal Delivery Vehicle  (wet inside so must wear diving suit)
also Submersible boats (S. Korea) & and Dry Combat Submersibles (DCS)


8. 'AGS' (Wiki) Deep Diving (Ocean Bottom) submarine (AGS is from a Russian phrase)
NR-1 (Wiki)  & Russia's Losharik (Wiki)

9. SSAN (Wiki) Submerged Ship Auxiliary Nuclear powered

10. DSRV (Wiki) Deep Submergence Rescue Vehicle



Actual Capability

This is a general idea not limited to torpedoes.  Here some examples of way overrated capability.  This goes farther than the commercial products where marketing hype is understood by most customers.  Here, in my opinion it misleads people in the military about the capability of their equipment.  Not a good thing.

Norden Bomb Sight (Wiki)

While this sight made a number of improvements and did increase accuracy, it was not at all the case that bombing was a precise operation.  The internal gyroscope was based on a DC motor with carbon brushes which deposited carbon dust inside the sealed case causing errors.  But the main problem was fundamentally that the corrections made were not at all adequate since there were variables that were not at all controlled.  This can be seen in the bomb damage assessment (Wiki) reports for W.W.II where not only did the bomb fall in the area of a pickle barrel it missed a factory that was as big as a city block.  Even the modern "smart bombs" (Wiki) are not infallible, but are a lot more accurate than W.W.II iron bombs (Wiki).

Torpedoes 

At the start of W.W.II the torpedoes were either the ones left over from W.W.I or brand new untested designs.  It turns out that the new Mk 14 torpedo has numerous problems making it close to totally ineffective.  It took about two years to fix all the bugs.  So while it was being promoted as the best torpedo ever in fact it was a POS (Urban distionary).  Some torpedoes had a claimed range on the order of 25 miles (Wiki: Type 93) but there's no way it had anywhere near the accuracy to hit any seagoing target at that range.  They realized the problem and made a modification installing a kamikaze (Wiki) for terminal guidance in the Kaiten (Wiki).  Note that most successful torpedo attacks were where the launch point was no more than a few target lengths away.


The Torpedo Data Computer (Wiki) was an mechanical analog computer that solved the problem presented by a moving firing platform and moving target and took into account the speed and course (need not be a straight line) of the torpedo.  Only a couple of second order corrections were made so the accuracy decreased rapidly as the target distance grew.  I expect that the range of the longest torpedo sinking was far below the maximum claimed range for that model torpedo.
1661686 Torpedo director, Mortimer F Bates, Sperry Gyroscope Co Lt, 1928-03-06, 33/274; 33/431; 114/238; 235/403 - triangle solver
2911145 Torpedo director, Odin Eugene, Urquhart Noel, American Bosch Arma Corp, Filed: 1939-01-28 (20 year delay includes W.W.II) Pub: 1959-11-03,
235/403; 235/405 -
Sequential patents published on the same day
2402024 Torpedo director, Raymond E Crooke, Ford Instr Co Inc, 1946-06-11, 235/403 -
2402025 Torpedo director, Raymond E Crooke, Ford Instr Co Inc, 1946-06-11, 235/403 -
2402026 Plotting Mechanism, Raymond E Crooke, Ford Instr Co Inc, 1946-06-11, 235/416 -
2402027 Cam mechanism, George A Crowther, Ford Instr Co Inc, 1946-06-11,74/1R; 74/471R; 74/567; 235/61GM; 74/110 -
3300860 Submarine Attack Director, D.J. Stewart, Sec of Navy, Filed Feb 16, 1948 (19 year delay) Pub: Jan 31, 1967, 33/1CC; 235/61GM -

Battle Ships (Wki)

The main target of the Pearl Harbor attack (Wiki) was Battle Ship Row where all eight of them were hit along with some other ships and aircraft on the ground.  But, the Battle Ship was already obsolete.

Wooden sailing boats had cannons that fired broadside requiring the attacking ship to maneuver parallel to the target ship to allow firing.  The W.W.II 16" guns (Wiki) on a battle ship like the Missouri (Wiki) are mounted in turrets so are more flexible.  They have a stated range of up to 24 miles.  The same problem as firing a torpedo, i.e. moving firing platform, moving target, was solved by the Fire Control Computer (Wiki), and it turns out the the Ford Instrument Co. made both the TDC and FCC.  Practical rangekeepers had to assume that targets were moving in a straight-line path at a constant speed, to keep complexity to acceptable limits.  So, a defensive strategy was to "chase salvos", i.e make violent turns and head to the splash point of the last shot coming towards you or just steer a tight circle (not a straight line) course.

My supposition is that a 16" gun never sank an target ship at a range of 24 miles, but only at much reduced ranges, maybe 2.4 miles?  The reasoning is the same as for the case of the torpedo.  That's to say without some form of terminal guidance the probability of hitting the target is very small.  It may be possible to fire many shots and use RADAR tracking of each one to reduce the error of the next shot, sort of like firing a machine gun by not using the sights but by looking at where the rounds land.  But that's not precision fire control.

1452484 Method of gunfire control for battleships, Elmer A Sperry, Sperry Gyroscope Co Ltd, App: 1916-09-30, (held during W.W.I) Pub: 1923-04-17 89/28.2; 235/407; 89/41.09 - triggers gun in the optimum part of the ships roll cycle.
2407191 Gun Sight, James D Tear, Charles W Buckley, Ford Instr Co Inc,Sept 3, 1946, 89/202; 89/41.21 - anti-aircraft, includes fast slweing from fixed gun position to on target position.
Cited by:
Publication number Priority date Publication date Assignee Title
US2471278A *1943-12-011949-05-24Bell Telephone Labor Inc Gun sight control
US2526677A *1945-04-111950-10-24Mackta Leo Sight for moving targets
US2534225A *1945-10-171950-12-19Leo H Brown Computing sight
US2552554A *1945-07-231951-05-15John H Holstein Rate responsive gun sight computer
US2557103A *1944-10-201951-06-19Sperry Corp Target course gyroscope sight
US2569560A *1945-02-061951-10-02Sperry Corp Gun sight
US2569571A *1944-05-051951-10-02Sperry Corp Automatic gun control system
US2570298A *1945-12-191951-10-09Wheeler Phillip Rood Gyroscopically controlled electrical gun sight
US2586817A *1945-11-201952-02-26Sperry Corp Stabilization system for gunfire control apparatus and the like
US2609606A *1942-04-271952-09-09Research Corp Gunsight having lead computing device
US2612692A *1945-07-141952-10-07Herbert K Weiss Gyroscopic gun sight
US2642662A *1953-06-23Vector sight
US2660794A *1942-09-121953-12-01Sperry Corp Computing gun sight
US2707331A *1946-07-101955-05-03Carl H Christensen Computing gun sight
US2709303A *1947-05-171955-05-31Sperry Corp Computing gun sight
US2715776A *1942-05-251955-08-23Sperry Rand Corp Stabilized gun control system with aided tracking
US2752684A *1951-01-041956-07-03Research Corp Gyroscopic apparatus
US2800058A *1954-05-111957-07-23Arthur T Henshall Gunner's control handle for a fire control system
US2871565A *1942-04-251959-02-03Theodore H Barth Aiming angle sight
US2968871A *1943-03-251961-01-24Sperry Rand Corp Stabilized computing gun sight
US3024536A *1954-08-111962-03-13Mathema Corp Reg Trust Ordnance sight for mobile targets
US3039194A *1957-03-051962-06-19Mathema Corp Reg Trust Control apparatus for anti-aircraft guns or the like
US3091035A *1957-08-221963-05-28Mathema Corp Reg Trust Ordnance sight
US3396629A *1965-04-061968-08-13Jacques Faisandier Launching posts and the remote control of missiles
US3508335A *1965-09-061970-04-28Bofors Ab Method of and device for establishing the correct lead required for firing a projectile at a moving target
US4172409A *1976-06-081979-10-30Licentia Patent-Verwaltungs-G.M.B.H. Fire control system for vehicle-mounted weapon

Air to Air Missiles (Wiki)

The early air to air missiles were just rockets with no on board guidance.  These were not very effective but had an advantage over slower munitions.  For example the F-8 Crusader jet (Wiki) was designed to use 20mm cannon (Wiki) because prior Korean war vintage jets using .50 caliber machine guns were able to fire, dive and get in front of the bullets and shoot themselves.  The 20mm cannon has a higher velocity round (3,300 fps at the muzzle or 2,250 MPH).

The Sidewinder missile (Wiki) was designed to shoot down high altitude bombers, not fighters.  From what I've read in Vietnam when Sidewinders were fired at fighters they often ended up in the mud.

Dive Dive Dive

Pretty much every W.W. II movie has a scene where the captain is using a stopwatch to measure the time to dive.  See Aircraft\Gunships for the reason 2 minutes is so important.

Key Components

Hull

The early patents are all about control and stability underwater.  The major concept missing from earlier attempts.  Sort of like the key thing the Wright Brothers (Wiki) brought to airplanes was a control system so it could be steered.  Prior aeroplanes were focused exclusivity on flying rather than crashing.

The S-boats (Wiki) made between W.W.I and W.W.II had an operating depth of 200 feet and an overall length of 240 feet.  That's to say they had very limited diving capability. (Wiki: Depth Ratings)

The later Gato class (Wiki) could operate to 300 feet and the Balao (Wiki) and Trench class (Wiki) could go to 400 feet.  The crush depth should be at least twice the operational depth.

The pressure hull is typically a cylinder with spherical end caps.  The steel used to build the pressure hull is typically in the HY-xxx family (Wiki), the highest is HY-130.
The below equation is from Yahoo Answers. Note this is about buckling, not ultimate stress so is independent of the grade of steel.
For External pressure design of a long cylinder to resist buckling, the Stress_critical is given by Scr = 0.27*E*(t/r)^3
This is applicable to materials with a Poisson's ratio (Wiki) = 0.3 for steel,
E = the Modulus of Elasticity (Wiki) of the metal, psi (29E6 for steel)
t = the wall thickness, inches
r = inside radius of the cylinder, inches
To this answer you should apply a safety factor of 4.

--------------
Scr = .444 * Water depth in Feet [ 64 lbs/cubic foot for sea water divided by 144 Sq in per square foot = 0.444 PSI per foot of depth)
E = 29E6 for steel (i.e. 1,000 pounds of force on a bolt with a 1 sq in cross section will stretch it 0.029")
t/r = TBD
33 Foot inside diameter = 16.5 foot radius = 198" = r (Los Angles Class Sub Wiki)
Depth
1000 Feet
Pressure (Scr)
PSI
r/t
t"
1
444
26
7.6
1.162
516
24.75
8
2
888
21
9.5
3
1333
18
11
4
1777
16
12
5
2222
15
13
The above numbers have no safety factor.
The pressure hull thickness is at least 8" thick, probably thicker.

Propulsion (Wiki)

The very first scale model used a clockwork as a power source.  The first sub built for the navy was designed to have a combined gasoline engine and a DC motor, but the U.S. Navy changed that to a steam boiler, like used on surface ships, but that turned out to make the inside so hot that no humans could be involved.

The first working Holland sub could use either the engine or motor to power the propeller.  This was true for the S-boats where each of the 4 engines could be connected to either a generator or propellers.  The later classes of boats were true diesel-electric (Wiki) and the engines never were connected to the propellers.

The S-boats had a range of about 5,000 miles, much shorter than the "Fleet Boats" made for W.W.II that can cross oceans.

Electro-Dynamic Co. (Wiki) made electric motors for electric Launch Co. (Wiki ELCO) which were later used in submarines.  W.W. Griscom (Wiki) died in 1897. In 1899 Isaac Rice (Wiki) took over (cheated) John Holland of his patents, took over his company and renamed it Electric Boat Co. (Wiki).  He also controlled ELCO and Electric Storage Battery Co. (Wiki) (later called Exide Co.  In 1952 Electric Boat Co. became part of General Dynamics (Wiki).
356834 Electric motor, William W. Griscom, Feb 1, 1887, 310/40R; 310/216.094; 310/60R; 310/64 - more efficient than prior art motors
397424 Connection of electrical circuits, WIlliam W. Griscom, Henry N. Weiner, Electro Dynamic Co., Feb 5, 1889, 307/9.1; 200/51.1; 307/66; 439/291 -  

In the very late 1890s the gasoline engine was replaced by a diesel engine (Wiki) made in Germany which was much safer.
542846 Method and Apparatus for Converting Heat into Work, Rudolf Diesel, July 16, 1895, 123/27R; 123/1R; 123/25C; 123/25Q; 123/294; 123/58.4; 123/65VB; 60/39.76 -

Periscope

The very early submarines never dived, i.e. they ran  "Awash" so that a man's head could be above the surface.  But as soon as they could dive they were essentially running blind.  The idea was that the periscope could be used to see what was going on but people on ships would have a difficult time seeing the small periscope.

Toward the end of W.W.II the S-band (10 cm) APS-20 RADAR was replaced with the X-band (3 cm) APS- 31 RADAR (9.375 GHz, 200 mile range) which was much better at seeing periscopes.

Currently there are different functions for things called periscopes on submarines:
1. Search periscope, navigation, observation: has both optical and radio antennas, can be rather large
2. Attack periscope: is minimal in size to minimize detection in a combat situation
3. ESM: Electronic Support Measures antennas for a wide range of frequencies (also may be built on submarine
4. Photonics Mast (Wiki): provides the optical periscope function using high resolution TV cameras. Takes up much less space and provides better images and less time above the water line.

Function
Periscope
                      with LensesThe periscope at left uses an special prism to get the image right side up, but suffers in that the distance between (a) and (b) is fixed.
The lenses comprise a right angle telescope.

The periscope at right makes use of collimated light between (c1) and (c2) so the distance between these two lenses can be changed without any effect on the image.  This allows the periscope to telescope.










By Christian Schirm - Own work, after/nach Lexikon der Optik, Spektrum Verlag, Public Domain, https://commons.wikimedia.org/w/index.php?curid=522876

While there were various periscopes (Wiki)  long before their use in submarines, one of the first for a sub was by Simon Lake for his "lake submarine".
Victorian Telescope Makers: The Lives & Letters of Thomas & Howard Grubb by I.G. Glass, 1997 (book on order 15 Aug 2017)

San Francisco Maritime - The Fleet Type Submarine Periscope (on line plus other fleet sub manuals)
Also see the
Panoramic Telescope M12 - Patents web page for more submarine periscopes.
The Optics web page has a little about right-side-up and left-to-right reversals in relation to Vermeer.

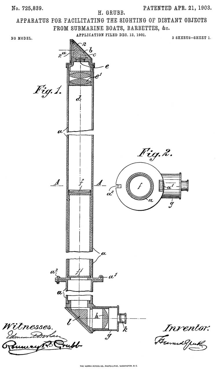
725839 Apparatus
                      for facilitating the sighting of distant objects
                      from submarine boats, barbettes (Wiki), &c.,
                      Howard Grubb, 1903-04-21, - perisocpe
725839 Apparatus for facilitating the sighting of distant objects from submarine boats, barbettes (Wiki), &c., Howard Grubb, 1903-04-21, -
periscope, but maybe that name did not exist in 1903?
751569 Altiscope
                      or the Like, L.Y. Spear, Electric Boat Co., Feb 9,
                      1904
751569 Altiscope or the Like, L.Y. Spear, Electric Boat Co., Filed: Mar 14, 1903, Pub: Feb 9, 1904, 359/402; 114/340 - can move + or - 30 deg from center line of sub (60 deg total).

832219 Means for preventing condensation in optical tubes, Lawrence Y Spear, Electric Boat Co, Filed: May 26, 1904, Pub: Oct 2, 1906, 114/340; 359/512 - vacuum pump and dry air
751569 Altiscope or the Like, L.Y. Spear, Electric Boat Co., Feb 9, 1904, 359/402; 114/340 - can move + or - 30 deg from center line of sub (60 deg total).
832219 Means for preventing condensation in optical tubes, Lawrence Y Spear, Electric Boat Co, Filed: May 26, 1904, Pub: Oct 2, 1906, 114/340; 359/512 - vacuum pump and dry air
941021 Optical instrument, Frederick L G Kollmorgen (Company History), Keuffel & Esser Co, Nov 23, 1909, 359/835 - Telescope that uses Porro prisms (Wiki
954707
Device for conning submarine boats, Lawrence Y Spear, Electric Boat Co, Priority: May 26, 1904, Pub: Apr 12, 1910, 359/405; 114/340 -
849570 Hydroscope, Giuseppe Pino, Apr 9, 1907, 359/402; 114/66; 359/895 -  uses mirrors not lens, to look underwater from above the surface.
1006230 Periscope, Frederick L G Kollmorgen, Keuffel & Esser Co, Oct 17, 1911, 359/401, 89/36.14, 359/402, 114/340 - top of image stays at top even as periscope is rotated.  (see: M12 Panoramic Telescope)     
1085611 Annular-mirror periscope, Jules Humbrecht, Optische Anstalt, 1914-02-03, -
1099126
Housing for the conning-towers, periscopes, and ventilating-shafts of submarines, Jun 2, 1914, 114/334, 114/340 - if water can press on periscope tube it gets jammed, so needs protection from moving water 
1134388 Optical instrument, Frederick L G Kollmorgen, Keuffel & Esser Co, Apr 6, 1915, 356/21, 356/7, 359/405 - uses "infinity optics" allowing the telescoping of the tube while maintaining the image at any extension.  
1168650 Binocular telescope, Frederick L G Kollmorgen, Keuffel and Esser Co, 1916-01-18, - W.W. I Army Artillery Binoculars with good 3D at distance
1203151
Periscope azimuth-indicator, Elmer A Sperry, Sperry Gyroscope Co Ltd, Oct 31, 1916, 356/142, 359/405 -    
1222156
Cleaning periscope-glasses, Joseph A Steinmetz, Apr 10, 1917, 359/509, 52/171.1, 114/340 - 
1270876
Periscope and optical system therefor, George N Saegmuller, Gustav A H Kellner, Bausch & Lomb, Jul 2, 1918 359/405 - hemisphere coverage  
1290744 Periscope, Aladar Hollander, Electric Boat Co, Jan 7, 1919, 114/340, 359/403 - can be used either in coning tower or just below
1290745 Periscope, Aladar Hollander, Electric Boat Co, Jan 7, 1919, 114/340, 359/403 - "
1309639 Periscope, L. G. Kollmorgen, (not assigned), Jul 15, 1919, 359/403 - ability to change objectives for different powers
1361358
                      Periscope, Bedell Charles H, Electric Boat Co, Dec
                      7, 1920


1361358 Periscope, Bedell Charles H, Electric Boat Co, Dec 7, 1920, 356/143, 359/405 - bearing appears in the field of view. 

1458137 Optical instrument, Frederick L G Kollmorgen, 1923-06-12, -
1514621 Stuffing box, Kollmorgen Frederick L G, Kollmorgen Optical Corp, Nov 11, 1924, 114/340 -   
1986731
Combination periscope and stadimeter, Frederick L G Kollmorgen, Jan 1, 1935, 356/7, 356/22, 359/403 - for range finding (see: method of stadia, stadimeter) 
2423836 Ultra high frequency communication system, Burton G Lake, William C Eddy, App: 1936-02-11, W.W>II, Pub: 1947-07-15, -
"It relates particularly to the exchange of such signals between two submerged submarines or between a submerged submarine and any other station equipped to receive and transmit these signals. This communication may be accomplished without exposing more of the submarine than that ordinarily exposed in routine submerged operations. An added advantage lies in the fact that efficient communication may be carried on without disclosing the position of the submerged submarine to the ship or station with which it is communicating, or any other Station. A further advantage of this invention lies in the comparative secrecy of the communications as compared with communication at lower frequencies, which may travel great distances due to reflection and refraction from the Heaviside layer. It appears that this reflection or refraction does not take place if the frequency is greater than about 100 megacycles and also that the range of such waves is practically limited to the quasi-optical range between the transmitter and receiver unless relatively high power is used. In carrying out our invention we use relatively low power which limits the range of our Communication to quasi-optical distances in the present state of the art of communication at ultra-high frequencies above 100 megacycles.

This system also makes possible ultra-high frequency radio communication between totally Sub merged submarines or between totally submerged submarines and surface ships or stations when used in conjunction with a small buoy floated to the surface from the submarine and attached thereto by waterproof conductors."
2503748 Hydraulic periscope elevating system, Kollmorgen Ernst O, Kollmorgen Optical Corp, Apr 11, 1950, 359/406, 92/111, 91/167.00R, 254/93.00R, 91/531 -   
2522280 Periscope mount, Kollmorgen Ernst O, Kollmorgen Optical Corp, Sep 12, 1950, 359/406 - main tube is hinged
2780941 Multiple revolution limit stop device, Kollmorgen Ernst O, Kollmorgen Optical Corp, Feb 12, 1957, 74/10.2, 74/548, 74/553, 338/334 -  needed if no slip rings.
2858732 Mechanism for eliminating parallax from telescopic sights and the like, Ernst O Kollmorgen, Henry G Theuer, Kollmorgen Optical Corp, Nov 4, 1958, 359/428, 42/122 - "Telescope, Rifle, 4XD, MC-1", "FSN 1240 647 1106 US" - do not see this as patentable since it was used on surveying equipment for maybe 10 years
2861203 Torquer, Luneau John R, Unruh Christian H H, Inland Motor Corp, Nov 18, 1958, 310/40.00R, 310/235, 310/43, 310/214, 310/154.13 - while developed for Gyroscopes, later used to to help rotate periscopes.  (Kollmorgen)
2884831
Instantaneous reader for moving dials, Lionel Rawlings John, Nicholas Ciaffardini Aldo, Kollmorgen Optical Corp, May 5, 1959, 356/154, 250/463.1, 33/348, 353/40 - a flash of light on a phosphor screen is used to capture the position of a rapidly rotating index.

SONAR (Wiki)

There are two types of Sonar, one is passive listening and the other is active "pinging" where the time for the echo to return gives the range and the directivity of the transducer array gives the direction.
There are two frequency ranges: normal human hearing (20 - 20,000 Hz) and Ultrasonic (Wiki).
Passive SONAR pays a lot of attention to Acoustic Signatures (Wiki).

Active SONAR came about because of the sinking of the Titanic (Wiki).  By using underwater sound Fessenden was able to locate underwater obstructions a couple of miles ahead.

There seems to be a disconnect between the 37.5 kHz ultrasonic frequency used by Underwater Locator Beacons (Wiki) on Flight Data Recorders (Wiki) and Cockpit Data Recorders (Wiki).  So far as I've been able to determine neither sonobuoys nor SONAR equipment can pick up their signal.

1562950 Signaling by ultra-audible sound waves, Reginald A Fessenden, Submarine Signal Co, Filed: Dec 14, 1918, Pub: Nov 24, 1925, 367/93, 116/137.00A, 367/101, 367/107 - Mainly SONAR, probably in response to the RMS_Titanic sinking in 1912,  coined the term ultra-audiable - diaphragm is 80X a wavelength hence a beam is formed

Calls:
706737 - operated at 50 kHz
793649
918306 - operated at 50 kHz
962018 - operated at 50 kHz
1167366
1265776
1182843
2408395 Object locating system, Jr James B Hays, Western Electric Co, Filed: Apr 26, 1944, Pub: Oct 1, 1946, 367/126, 342/439, 114/21.3, 367/111,
2433332 System for locating obstacles, Benioff Hugo, Submarine Signal Co, Filed: Oct 22, 1941, Pub: Dec 30, 1947, 367/115, 342/139, 346/49, 367/129, 346/150.1 -

367/123 - two channel hydrophone system using time delay in one channel to get bearing.
2423459
Frequency selective apparatus, Warren P Mason, Bell Telephone Lab, Filed: Sep 15, 1942, Pub: Jul 8, 1947 - acoustic prism to separate beams by frequency    

2467368 Submarine sound direction determining system, Batchelder Laurence, Submarine Signal Co, Filed: Sep 23, 1943, (6 Year Delay), Pub: Apr 19, 1949, 367/116, 367/124, 318/638, 367/113, 367/120, 367/114, 367/97, 367/95 -

2658186 Prismatic directional and object locating system, Warren P Mason, Bell Telephone, Filed: Mar 12, 1942, Pub: Nov 3, 1953 - multiple beam sonar. 
2930025 Dual channel superheterodyne receiver, Amedeo D Zappacosta, Sec of Navy, Filed: Mar 31, 1949, Pub: Mar 22, 1960, 367/125, 342/394, 181/125, 342/432, 367/113   
2962997 Underwater sonic depth steering system, Cecil K Stedman, Secretary of the Navy, Filed: Apr 3, 1946, (14 Year Delay) Pub: Dec 6, 1960, 114/25, 318/460, 367/96 - FIDO Mk 24 Mine (Wiki)
2978577 Noise reducing systems, Raymond W Ketchledge, Bell Telephone Lab, Filed: Mar 4, 1948, (13 Year Delay), Pub: Apr 4, 1961, 455/253.2, 330/140, 330/144, 367/901, 114/20.1, 324/76.77, 327/552, 455/306, 367/113, 455/344, 324/76.52, 330/149, 367/97 - impulse noise cancelation in hydrophone system   
3021807
Homing system for torpedo, Cecil K Stedman, Secretary of the Navy, Filed: May 1, 1946, (16 Year Delay) Pub: Feb 20, 1962, 114/23,

3022760 Echo range limitation equipment, Paul C Gardiner, Lawrence E Jewett, Jr George Lupton Broomell, Secretary of the Navy, Filed: Oct 4, 1950, ( ), Pub: Feb 27, 1962, 114/23, 367/96, 367/93, 367/901 - active sonar torpedo

3089451 Transducer pitch control for echo controlled torpedo, Paul C Gardiner, Secretary of the Navy, Filed: Oct 4, 1950, (13 Year Delay), Pub: May 14, 1963, 114/23, 367/12, 114/25 - active sonar torpedo

367/901
, 367/96 - FIDO Mk 24 Mine (Wiki)
3041993 Signal translating system, Donald D Robertson, Bell Telephone Lab, Filed: Dec 27, 1945, ( 17 Year Delay), Pub: Jul 3, 1962, 114/23, 367/900, 367/96 - FIDO Mk 24 Mine (Wiki)

Countermeasures (367/1)

Also see Sonobuoy: Submerged Signal Ejector (SSE) - 3, 4 or 6" diameter launch tube

2710458 Underwater acoustic decoy, Reed Donald G, Secretary of the Navy, Filed: Jun 14, 1945, (10 Year Delay) Pub: Jun 14, 1955, 434/6, 114/20.1, 367/1, 434/25 - training sonar operators
2887671 Echo elongator, Burton Frankel, Cupp Frederick B, Clevite Corp, May 19, 1959, 367/1, 434/6 -Training Simulator -  Referenced by 15 patents -  magnetic wheel
2938483 Acoustic decoy,  Russell I Mason, Secretary of the Navy, Filed: Nov 29, 1945 (15 Year Delay) Pub: May 31, 1960, 114/20.1, 369/69, 367/1 - phonograph record  
2975396 Artificial sonar target, Richard A Mueller, Secretary of the Navy, Filed: (11 Year Delay) Pub: Mar 14, 1961, 367/1, 434/6, 114/20.1 - false target torpedo shaped, maybe smaller both return echo and running sound.  
3180295 Submarine simulator, Christopher Niederer Otto Apr 27, 1965, 114/20.1, 367/2, 434/6, 367/1 - torpedo which is a submarine decoy
3209314
Sound beacon, Vaughn G Mckenney, William A Myers, Secretary of the Navy, Filed: Aug 9, 1944, (21 Year Delay ) Pub: Sep 28, 1965, 367/1, 367/137, 102/390 -
4183008
Noise making device, Ralph P. Crist, Secretary Of The Navy, Priority: May 12, 1958 ( ) Pub: Jan 8, 1980, 367/142, 116/27 random noise 10 Hz to 100 kHz output,  floating, sub launched, much smaller than torpedo, magnesium-silver chloride water activated battery
4194246 Chemical canister, Ralph P. Crist, Secretary Of The Navy, Filed: May 12, 1958 ( ) Pub: Mar 18, 1980, 367/1, 441/22, 441/12 - gas generator for flotation and power
4202047
Acoustic jammer and torpedo decoy, Vivian L. Chrisler, deceased, William H. Gilbert, George L. Boyer, ecretary Of The Navy, Filed: Feb 27, 1953 (27 Year Delay) Pub: May 6, 1980, 367/1, 181/142, 116/27 - motor driven floating buoy with time delayed start - decoy surface ship for sub or torpedo.
6430108 Pyro-acoustic generator for protecting submarines and surface ships, Marc Pignol, Philippe Mourry, Etienne Lacroix Tous Artifices S.A., Aug 6, 2002, 367/145 - 2 explosions every second for 10 minutes.

Fessenden oscillator (Wiki)

This was an Canadian response to the sinking of the Titanic (Wiki) and amounts to a SONAR system.  Note the "Submarine" in Submarine Signal Company has to do with underwater bells, not so much as underwater vehicles.  These were used at light houses and buoys according to Submrine Signals (Ref 12).

Ref 10 & Ref 14 mention Secure Echo Location Equipment (SELE).

1167366
                      Dynamo-electric machinery, Reginald A Fessenden,
                      Submarine Signal Co, Jan 4, 1916


1167366
Dynamo-electric machinery, Reginald A Fessenden, Submarine Signal Co, Jan 4, 1916, 310/15, 310/169, 123/46.00E, 290/1.00R, 367/175, 204/193, 116/137.00A - generate and receive underwater sound.

Fig 1 is a version that uses an electromagnet, an AC winding and a copper tube acting as a single turn coil.

Fig 2 is another version using a permanent magnet.

Fig 3 is a version where the shorted copper tube is powered by a gas engine.

Fig 4 is a wiring diagram for sending or receiving either a tone or voice.

Note that the patent does not mention the idea of receiving a reflected tone burst, but this was done detecting ice burgs out to two miles.

1207388 Method and apparatus for submarine signaling, Reginald A Fessenden, Submarine Signal Co, Dec 5, 1916, 367/134 -

Plan Position Indicator (PPI)

In the book Pig Boats (Ref 5) they mention that special equipment was fitted to submarines to detect naval mines in the Bay of Japan toward the end of W.W.II.  This was developed by the Univ. of California, Division of War Research (Wiki) and was called the QLA.  SONAR (Ref 8) pg 263 says: "The QLA echo-ranging equipment is an f-m scanning sonar. It provides a plan-position indication (PPI) of underwater objects within sound range. It can be installed on submarines or surface vessels. In contrast to the searchlight-type sonar, the f-m sonar provides continuous area search coupled with the ability to detect very small objects."  The reference has some details of how it works.

In Principles of Underwater Sound (Ref-9) 11.4 Scanning Sonar - FM the QLA principle of operation is covered

In An Ocean in Common (Ref 10) the subs outfitted with the QLA were: Spadefish 20 Oct 1944, Tinosa (SS-283) Nov, Bowfin (SS-287) Dec, Stickleback (SS-415) June.  A total of 20 sets were deployed before then end of W.W.II.

Robert M. Page

2629866 Position indicating apparatus (PPI), Page Robert M, not assigned, Filed: Sep 19, 1942, Pub: Feb 24, 1953, 342/144, 342/176 -  maybe for use with RADAR or radio?
Robert Morris Page (Wiki; Patents) - Over The Horizon RADAR (Wiki) - Monopulse RADAR (Wiki) 2929056 - IFF (Wiki; patent No.:254109233119123296615)

Harvey C Hayes

Many patents related to SONAR development between world wars.

1632331
                      Submarine sound receiver, Harvey C Hayes, Jun 14,
                      1927

1632331 Submarine sound receiver, Harvey C Hayes, Jun 14, 1927, 181/198, 367/149, 116/27 -
Adapting inertia microphone for use underwater.  Normal audio range.


1742704 Apparatus for receiving and determining the direction of submarine sounds, Harvey C Hayes, Jan 7, 1930 - 367/174 - improved microphone

1729595 Distance-measuring device, Harvey C Hayes, Sep 24, 1929, 367/99 - sonic depth measuring - spinning wheel &  Light 

2041710 Sound detecting apparatus, Harvey C Hayes, May 26, 1936, 73/570, 381/191, 331/40, 332/137, 331/65, 367/181 - differential capacitance mike

2374637 Supersonic apparatus, Harvey C Hayes, Filed: Sep 10, 1931, Pub: Apr 24, 1945, 367/158, 381/173, 116/137.00A, 29/25.35, 310/340, 340/384.6, 367/166, 116/DIG.180 -  piezo-electric hydrophone/ultrasonic projector
Patent
                      Drawing
2459162
Acoustical sound locating device, Harvey C Hayes, Filed: Nov 16, 1940, Pub: Jan 18, 1949, 181/125, 367/104, 367/151, 367/103 -
motor driven 360 deg scan
Patent
                              Drawing Patent
                              Drawing Patent
                              Drawing

2474842 Indicator, Harvey C Hayes, Filed: Dec 31, 1940, Pub: Jul 5, 1949, 368/89, 368/227, 367/107 -

Echoscope

Gertrude (Wiki)

Underwater telephone where voice frequencies are converted to ultrasonic and back again.  There may be some cryptographic manipulation in a manner similar to what's done for audio or radio cryptographic security.
2400796 Signal apparatus, Donald E Watts, Paul C Gardiner, Gen Electric, Filed: Dec 29, 1939, (7 year delay), Pub: May 21, 1946, 367/87, 367/109, 367/903 - depth finder for use on submarine.
2576157 Wave signaling system, Alexander Tykulsky, Sec. of Army, Nov 27, 1951, 370/281, 370/483 - full duplex radio system, not sonar.
3218607 Underwater telephone, Brock Charles R, Cyr Reginald J, Bendix Corp, Nov 16, 1965, 367/132, 128/201.19, 379/430, 455/575.2, 455/40, D24/110.2, 2/425 -
4039999 Communication system, John Weston, Aug 2, 1977, 367/132, 381/151, 455/205, 455/575.2, 128/201.19, 455/90.1, 128/201.27 - underwater ultrasonic communications system..   
4975890 Underwater sound transmitting system, Sylvan Wolf, Charles C. Vogt, Walter O. Allen, Melvin W. Crawford, Robert D. Mattingly, Donald M. Leslie, Secretary Of The Navy, Filed: May 10, 1960 (30 YEAR DELAY), Dec 4, 1990, 367/131, 367/145, 367/137 - launched from plane, ship or submarine.  A device that sinks to a predetermined depth then fires charges at predetermined time intervals so that a sub can receive a signal.  Makes use of the "sound channel" and has a range of at least 500 miles.  Not Gertrude, but is underwater signaling.   

Weapons

Torpedo Tubes

Note that submarines typically carry a couple dozen torpedo lengths of weapons (I say that because one torpedo can be replaced by 3 or 4 naval mines) and any of these can be loaded into a tube or removed and something else installed.

The classical submarine weapon is the Torpedo.  There are also naval mines that can be launched from the standard 21" torpedo tube.
There is a version of the Harpoon anti-ship missile that can be launched from a torpedo tube called the UGM-84 (Wiki).  This came about in the 1970s when Russian surface ships were outfitted with anti-submarine rocket powered weapons so the Harpoon was developed with a range greater than that weapon.
There is a version of the Tomahawk (Wiki) that can be launched from a standard torpedo tube called the UGM-109

6427574 Submarine horizontal launch tactom capsule, Jeffrey C. Callahan, Secretary Of The Navy, Aug 6, 2002, 89/1.81, 89/1.817 - "provides the capability for launching a Tactical Tomahawk cruise missile from a horizontal torpedo tube on a submarine"
4033225 Hydrodynamic configuration to be used on underwater launched, unpropelled bodies, Roy M. Kartzmark, Jr., Secretary Of The Navy, Jul 5, 1977, 89/1.81 constant upward glide path which is stabilized in roll, pitch, and yaw.

Vertical Launch Tubes(Wiki)

Unlike the torpedo tubes that can be loaded with various on board weapons, once the VLT is loaded and the hatch sealed it stays that way.  This means they are much more space efficient than torpedo rooms. These standardized launchers are also used on surface ships and can fire many different missiles (Wiki: Mk 41) including the Tomahawk.

4934241 Rocket exhaust deflector, Edward T. Piesik, General Dynamics, Jun 19, 1990, 89/1.817, 89/1.8, 89/1.816 - Hot launch  
5363791 Weapons launch system, Clinton W. Stallard, III, Newport News, Nov 15, 1994, 114/318, 114/320, 114/238 - back fill of water adjusted to equal weight of spend missile

Boomers

These submarines only carry nuclear missiles in their own specialized vertical launch tubes.  The Polaris (Wiki) and Trident (Wiki) missiles were designed for launch from submarines.
3499364 Apparatus for submerged launching of missiles, Ooge Charles L D, Us Navy, Filed: Nov 19, 1959, (11 year delay), Pub: Mar 10, 1970, 89/1.81, 89/1.817 - for Polaris missiles

Communications

During W.W. II HF radio (Wiki) was commonly used for long range and VHF/UHFfor line of sight (Wiki: VHF, UHF, Line of sight).  But all of these require the sub to surface.
Wiki: Communication with submarines - audio, Signal Underwater Sound, VLF , general VLF, (Frequency Allocations: VLF) station NAA (YouTube, 25.2) , ELF (Frequency Allocations: ELF), Projects: Sanguine & ELF (76 or 45 Hz)

YouTube: How to communicate with a submarine? - Prof Simon -

Patents

In Going Deep, Chapter 1 there is the recounting of the W.W. I battle of September 22, 1914 (Wiki) involving the British Battle Cruisers (Wiki) HMS Aboukir (Wiki), HMS Hogue (Wiki) and HMS Cressy (Wiki)  and the German U-9 (Wiki) armed with 18" Whitehead design torpedos that use the Brotherhood 3 cylinder radial engine. (NavWeaps)

Patent
                      Drawing 239046 Screw Propeller, John P. Holland, Mar 22, 1881, 416/90R; 416/90A -
Patent
                      Drawing   337000 Hydrocarbon-engine, P. Holland, Mar 2, 1886, 123/275; 123/286; 123/292; 123/41R; 123/41.34; 123/41.76; 123/58.2; 123/61V; 123/69V; 74/567 - based on double acting steam engine valving and designed for street cars.
472670
                      Submergible torpedo-boat, John P. Holland, Apr 12,
                      1892
472670 Submergible torpedo-boat, John P. Holland, Apr 12, 1892, 114/333; 114/1; 114/334 - steam powered with tall smoke stack (4) and snorkel (15), conning tower (16), fore and aft torpedo or gun tubes (6).
Patent
                      Drawing 491051 Submarine gun, John P. Holland, Jan 31, 1893, 89/5; 114/320; 89/1.51; 89/31 - shoots a dart trailing a line which is connected to an explosive.  For attacking wooden ships
Patent
                      Drawing Patent
                      Drawing 492960 Steering apparatus for submarine vessels, John P. Holland, Mar 7, 1893, 114/152; 114/163; 114/311; 114/332  -  cables over pulleys - similar to early aircraft

522177 Submarine
                      Torpedo Boat, P. Holland, Jun 26, 1894
522177 Submarine Torpedo Boat, P. Holland, Jun 26, 1894, 114/327; 114/179; 114/210; 114/238; 114/335; 114/340; 405/192; 89/5 -
There are a number of details.
537113
                      Submergible boat, John P. Holland, Apr 9, 1895
537113 Submergible boat, John P. Holland, Apr 9, 1895, 114/317; 114/238; 405/185 - Fuel pump (e1) and water pump (e2) maintain boat weight.  Torpedoes stored in cylinders that are filled with water pushing piston the removed torpedo, maintaining boat weight.

1897  Holland V "Plunger" (Wiki) - 85' long, 12' diameter, two torpedo tubes - experimental sub

1897 Holland VI (USS Holland SS-1) (Wiki) -experimental sub
681222 Submarine
                      vessel, John P Holland, ‎Electric Boat Co, Aug 27,
                      1901,
681222 Submarine vessel, John P Holland, Electric Boat Co, Aug 27, 1901, 114/333 -

HMS Holland 1 1901 (Wiki) - 63' 10" long, 11' 9" beam, Petrol engine + Electric motor, one each 18" torpedo tube & 3 Whitehead (Wiki) torpedoes
Royal Navy Submarine Museum - HMS Holland I -
Patent
                      Drawing 684698 Storage battery, Robert Mca Lloyd, Electric Boat Co, Oct 15, 1901, 206/524.3; 190/40; 217/131; 429/176 - rugged
Patent
                      Drawing 693272 Automatic diving mechanism for submarine boats, John P Holland, ‎Feb 11, 1902, 114/332; 114/25; 114/285 - while aimed at subs & torpedoes, this mechanism may have suffered from the same torpedo depth control issues ("The Secret")
683400 Submarine
                      boat, John P Holland, Sep 24, 1901
683400 Submarine boat, John P Holland, Electric Boat Co, Sep 24, 1901, 114/317; 114/238; 114/319 - Weight compensation for torpedo firing
Patent
                      Drawing 684429 Visual indicator for submarine boats, John P Holland, Electric Boat Co, Oct 15, 1901, 73/178R; 33/391; 73/299 - inclination & depth
694154 Submarine
                      boat or vessel, John P Holland, Feb 25, 1902
694154 Submarine boat or vessel, John P Holland, Feb 25, 1902, 114/333 - allow for difference in water density between fresh and salt water and pay attention to the relative locations of the centers of buoyancy and gravity.
Patent
                      DrawingPatent
                      DrawingPatent
                      Drawing 696971 Firing-valve for subsurface expulsion-tubes, John P Holland, ‎Apr 8, 1902, 114/238 - "submarine torpedo tube"
Patent
                      Drawing 696972 Submarine boat, John P Holland, ‎Apr 8, 1902, 114/337; 114/185 - venting fuel tank to outside, while taking in air from the inside
Patent
                      Drawing 681221 Submarine boat, John P Holland, Electric Boat Co, Aug 27, 1901, 114/333; 114/25 - automatic maximum depth mechanism
Patent
                      Drawing 694153 Means for automatically ballasting submarine boats, John P Holland, Feb 25, 1902, 114/333; 114/25 - fresh v. salt water
694643 Submarine
                      boat, John P Holland, Mar 4, 1902, 114/339 -
                      Exterior compass mounting
694643 Submarine boat, John P Holland, Mar 4, 1902, 114/339 - Exterior compass mounting - at attempt to escape the problem of an all metal boat (I expect it did not work.  The Gyrocompass was invented expressly so that metallic boats and submarines could have a compass.
Patent
                      DrawingPatent
                      Drawing 702728 Submarine boat, John P Holland, Electric Boat Co, Jun 17, 1902, 114/333 - setting centers of gravity, buoyancy & volume for surface or submerged running
Patent
                      Drawing 702729 Submarine boat, John P Holland, Electric Boat Co, Jun 17, 1902, 114/333; 114/338 - buoyancy considerations for running on surface and submerged
Patent
                      Drawing 706561 Submarine boat, John P Holland, Aug 12, 1902, 114/333 - quick fill and dump ballast tank
708553 Submarine
                      boat, John P Holland, ‎Sep 9, 1902, 114/334;
                      114/339 - adds deck or promenade for the crew
708553 Submarine boat, John P Holland, ‎Sep 9, 1902, 114/334; 114/339 - adds deck or promenade for the crew
Patent
                      Drawing 713198 Torpedo-boat, Francis W Brady, Electric Boat Co, Nov 11, 1902, 114/238 - torpedo tube for sub

738879 Automatic diving mechanism for submarine boats, Francis W Brady, Electric Boat Co, Sep 15, 1903, 114/332; 114/25 - see 693272 above
Patent
                      Drawing 739735 Compensating device for submarine or submergible boats, Lawrence Y Spear, Electric Boat Co, Sep 22, 1903, 114/238 - torpedo weight 
Patent
                      Drawing 764556 Clinometer, Frank T Cable, Electric Boat Co, Jul 12, 1904,  33/381; D10/69 - two tubes with different radius (different sensitivity) 

815350 Submarine
                      boat, John P Holland, ‎Mar 20, 1906
815350 Submarine boat, John P Holland, ‎Mar 20, 1906, 114/333 - minimize liquid slosh problems by placing tanks near center of buoyancy

832219 Means for preventing condensation in optical tubes, Lawrence Y Spear, Electric Boat Co, Oct 2, 1906, 114/340; 359/512 - for periscopes  

There are many more patents by Electric Boat Co. for both submarines and PT boats


713198 Torpedo-boat, Francis W Brady, Electric Boat Co, Nov 11, 1902, 114/238 - torpedo launch tube assembly

NR-1

The purpose of the NR-1 (Wiki) was to tap Russian undersea cables.  A lead wall separated the crew in the front from the nuclear reactor and propulsion in the rear.  When the reactor was running the water adjacent to the submarine would be irradiated and glow green/blue.
NR-1: The Beginning; Rickover’s ‘Little Ship That Could’: NR-1 Story Continues; Welcome Aboard, Sir! The Continuing Saga Of NR-1; Out Of The Frying Pan And Into The Fire: NR1’S Next Adventure; Tomcat Down!;

YouTube: Sub Brief: NR-1 Nerwin, 40:31

Modern US Subs

Class
Date
Depth/Hull
Speed
Los Angeles (Wiki)
1972 - 1996
950'/HY-80
43 MPH
Seawolf (Wiki)
1989 - 2005
1600'/HY-100
65 MPH

20110226173 Fleet protection attack craft, Gregory E. Sancoff, Joseph A. DiCarlo, Juliet Marine Systems, 2013-04-02, - two submarines (complete with fuel) have front mounted propellers that are cavitating thus reducing the hull losses (Fig 15).  Very stable (can drink coffee) and fast/efficient.  The angle of the two struts can be changed for: high speed, extreme stability or stealth (Fig 4, Fig 7 & Fig 8).
YouTube:

Oxygen Candle (Wiki)

2507450 Oxygen generator with integrated initiating device, Glenn A Millikan, Victor A Legallais, Sec of War, 1950-05-09, -

Autolycus (submarine detector Wiki)

Aircraft "smells" Diesel exhaust fumes.
Replaced by MAD.

Hunt For Red October

I could not put down the book.  It may have been the first book in the category of "Techno Thriller".  The movie was also great, but omitted some of the tech that was in the book.
Tech: Signal Algorithmic Processing System, SONAR countermeasures, Hydrodynamic electromagnetic propulsion,

Related

Aircraft
Sonobuoys, CRT-1 Sonobuoy, Gibson Girl CRT-3,
Torpedoes, naval mines, hedgehogs
Gyroscopes -
Cryptography

References


1. Submarine Navigation Past and Present, 1903 - has many drawings of early attempts at submarine design.  The word "navigation" means something like a survey, not finding your position.
2. Going Deep: John Philip Holland and the invention of the attack submarine (2017) by Lawrence Goldstone
3. The Submarine in War and Peace, Simon Lake, 1918
4. The Defender: The Story of General Dynamics by Roger Franklin, 1986 - Note that GD started out with Electric Boat and after W.W.II added other companies.
5. Pig Boats, Theodore Roscoe, 1982 - formerly titled United States Submarine Operations in World War II. Written by the U.S. Navy non fiction.
6. The Naval Institute Guide to the Ships and Aircraft of the U.S. Fleet, Norman Polmar, 2005
7. Cold War Submarines: The Design and Construction of U.S. and Soviet Submarines, Norman Polmar & K.J. Moore, 2004
8.
NAVAL SONAR, NAVPERS 1088, on-line @ Maritime.org-
9. Principles of Underwater Sound, NDRC, declassified 1954 - I'd say it's the bible of sonar.
10. An Ocean in Common: American Naval Officers, Scientists and the Ocean Environment, Gary E. Weir, 2001 -
11. The Submarine: A History by Tom Parris, 2004, 2005
12. Submarine Signals, Submarine Signal Co., 1906 - lists underwater bells at lighthouses and buoys as well as ships fitted with the receiving equipment to get bearings.
13. The Fessenden oscillator: History, electroacoustic model, and performance estimate - abstract
14. Slide Rules and Submarines: American Scientists and Subsurface Warfare in World War II, Montgomery C. Meigs, 1990, 2002, ISBN: 0-89875-905-6
15. A History of U.S. Navy Periscope Detection Radar: Sensor Design and Development, Shannon, Moser, Rite-Solutions, N00178-04-D-4115, 31 Dec 2014.
16. The Submarine: A History, Thomas Parrish, 2004, ISBN: 0-670-03313-8
17. Aircraft and Submarines: The story of the Invention, Development, and Present-Day Uses of War's Newest Weapons, Willis J. Abbot, 1918, 567 pages. - Balloons, Blimps, Zeppelins & Biplanes in the first 4 chapters.  Chapter V The Development of the Airplane is about gliders.  Ch VI: Training avitors, Ch VIII: Incidents, Ch X Features of Aerial Warfare, The Submarine Boat: pg 233, Ch XI: Beginnings of Submarine Invention (illustrations all of aircraft), Ch XII: Steam & Electricity, Ch XIII Holland & Lake, Ch XIV Modern Submarine: Ch XV Aboard a Submarine, Ch XVI Submarine Warfare, Ch XVII: Future of the Submarine - The illustrations seem disconnected from the subject of each chapter.  The quality of the scanning is very poor, many pages totally not readable.
Ref 18. Steel Boats * Iron Men: History of the U.S. Submarine Force, 1994,208 pgs - same as Sonobuoys Ref 48. This is 99% a book about the people, the indexes are all peoples names, not equipment.  There is a chapter on Corporate Histories:
Analysis and Technology (A&T) - think tank: BSY-1, BSY-2, Mk 48, BQQ-5/6, ESM - closed/bought?
AT&T Federal Systems Advanced Technologies - think tank: BSY-1, BSY-2, Mk 48, BQQ-5/6, towed sonar arrays, BQR-15, SURTASS, EMSP, DSP3,
Booz-Allen & Hamilton - consulant Polaris,Trident,
Sorrento Electronics (General Atomics) - Protection & Alarm equipment
Diagnostic/Retrieval Systems Inc - LF Accoustic Vernier Analyzer, SQS-54 (LAMPS), SQR-17 SIGNAL PROCESSOR, ARR-75, Fast Time Analyzer (Electronica, FTAS.pdf, pv2upayj_compressPdf.pdf)
5617371 Method and apparatus for accurately determing the location of signal transducers in a passive sonar or other transducer array system, Jack R. Williams, Diagnostic/Retrieval Systems, 1997-04-01, -
3331069 Contact analog, Cornell Kent Myles, Gard Jerold Henry, Mcafee Charles Lewis, Kaiser Aerospace & Electronics, 1967-07-11, -
3688312 Integrated display system for combat aircraft, Walter R Gustafson, William H Mcmillen, Jackson Kemper Jr, Leonard Newman, Navy, 1972-08-29, -
Electric Boat Co - makes subs
PreSearch Inc - HR screening/search
Kollmorgen Optical Corp - Periscopes
Loockheed Sanders Inc - BRD-6/7, SSQ-23,
Newport News Shipbuilding -
Rockwell International Corp - Autonetics Electronic Systems Div (Wiki) - INS,
3863508 Accelerometer, William M Scarborough, Doyle E Wilcox, Rockwell International, App: 1959-01-02, TOP SECRET, Pub: 1975-02-04, - for use in INS.
Sippican Inc - BT,
Sonalysts Inc - think tank
ARC Professional Services Group (Atlantic Research Corp) -
Ref 19. Hitler's U-Boat War: The Hunters, 1939-1942, Clay Blair Jr. (Wiki) ,1996, ISBN: 9780394588391 - poor review by Gary E. Weir -
Ref 20. Silent Victory: The U.S. Submarine War against Japan, Clay Blair Jr., 1975, ISBN: 9780397007530 - excellent reviews.
Ref 21. Long range undersea drone can recharge its own batteries, 3:37 - explained by Josef Wolfel (first name on patent) - The unmanned subs work in pairs.  One on the surface using a diesel - electric generator to charge batteries and as part of a GPS navigation system while the second unit does the sonar bottom scan. Ref: USS San Francisco (SSN-711) Grounding with seamount (Wiki);  Terradepth Inc
11650345 Autonomous surface and subsurface marine vehicle survey system, marine vehicle for same, and method of use, Josef Wolfel, Judson A. Kauffman, Andrew Resnick, Kenneth L. Childress, David L. Pearson, Joseph Curcio, Paul Holzer, Terradepth Inc, 2023-05-16, -
Ref 22. Congressional Research Service: Navy Columbia (SSBN-826) Class Ballistic Missile Submarine Program: Background and Issues for Congress Updated May 1, 2020, 56 pages - Wiki: "In a bid to reduce life-cycle cost and acoustic signature, Columbia is to run on electric drive—that is, it will use an electric motor to turn its propellers instead of the reduction gearing and mechanical drive systems used on earlier nuclear-powered submarines. It will retain the nuclear reactor and steam turbines typical of U.S. Navy submarines. In such systems, the nuclear reactor heats water to steam, the turbines convert the heat in the steam into mechanical energy, and the generators convert that mechanical energy into electrical energy for use by the propulsion motors and other onboard systems"
Ref 23. Why Being Too Stealthy is Bad for Submarines, 14:54 -
Ref 24. The Hunt for Red October (1990): 25 SECRETS Hidden for Decades, 25:20 - based on the book.

Video

The Battle Of The Atlantic 2 3 Keeping Secrets BBC Documentary Series) - very well done
Submarine Structure & Systems: "The Submarine: Construction" 1955 US Navy
W.W.II Midget Submarines:

Links

NAVY MANUALS AND DOCUMENTS ONLINE -
PRC68, Alphanumeric Index of Web pages, Contact, Products for Sale
Page Created 5 Aug 2017