Started this page mainly to add an index to the MIT Edgerton Notebooks web page which has none.
I want to find out about W.W.II aircraft 50kW strobes and about how the flash duration is controlled.
Started shortly after the GR Strobotac web page.
Edgerton was working with AC motor controllers and noticed that the weak flash of light that came out of a thyratron tube caused the image of a large AC motor to freeze. That led to the development of the Strobotac and other electronic flash units, including a HUGE version that was mounted in bombers because of it's weight (mostly the capacitor bank). Later in W.W.II the company that made these high powered strobes was taken over by the Manhattan Project because they needed the capacitor banks and the Krytron tube to fire the exploding-bridge wire detonators (Wiki) for the Fat Man bomb (Wiki: Implosion-type).
First make a table listing all of them.
There are four naming conventions for the notebooks. The double letter series, T-n series, the Ln series and the nn series.
The dates can overlap between the different series and even between successive notebooks in the same series, at this point do not know the meaning of the three series.I've moved the date range to the left column since that's the order used on the MIT web page.
The link on the date range is for the complete pdf notebook, the series link is to the web page.
Date Range aa
T-n
Ln
nn
Topic
Sep 1927 - Jul 1931
T-1
Hg lamp Stroboscope
Feb 1930 - Jun 1931
03
discovery of thrytron light flashes
when working with synchorous motors
Jul 1931 - Jan 1932 aa
Hg lamp strobe, Interference 76,771, Edgerton v. Miller (1940)
Jul 1931 - Jan 1932 bb
Jan 1932 - Jul 1933
T-3
B1
Germeshausen bk 1
Feb 1932 - Feb 1934
G2
Germeshausen bk 2
Interference 76,771, Edgerton v. Miller (1940)
measure 8uS flash using bromide paper on wheel rim PG13
Milk drop photos @ 480 fps pg21
Spark Gap strobes pg28 . . .
Development of Hg tubes
Start of bullet photos pg59
Neon, helium & argon gas pg63
Neon Tube Eureka!! pg65
Jun 1933 - Nov 1934
T-4
Oct 1934 - Aug 1935
T-5
Apr 16, 1935 - Jan 23 1937 cc
Aug 1935 - Apr 1936
T-6
Apr 1936 - May 1937
07
Jun 1937 - May 1937
08
Apr 1938 - Jun 1939
09
Jul 1938 - Jul 1939
B1
Jun 1939 - Sep 1940
10
analysis of M1 Grand rifle bolt action pg34
graph of ball and Armor Piercing rounds pg 34b
idea for book "Flash" 1939 pg38
Hummingbird photos
jump rope, cards, back flips
Sep 1940 - Dec 1941
11
Testing strobe on blue background 2000V 112 uF pg3
Testing RCA 929 photo cell & strobe light meter circuits pg5
need to measure separately background & flash levels, meter includes flash firing pg7
Bellows Falls, VT hydro gen testing pg8
boy's portrait setup photograph pg8b
Bellows Falls traces and man w/tie & hands photos pg9
Spiral lamp @ 2kV & 4,000 uF - photo across Charles river pg10
Photo shows MIT chimneys @ 1500 ft. pg11
Details of pg11 photos
photo with streaks & scratches pg13
using a microphone to trigger flash for testing loom pg14
Taking photo @ 200 MPH & 3500 ft for camouflage requires strobe pg15
Loom shuttle thoughts pg16
5000 dozen Kodatron flash tubes sold already
Nov '40 - photos at NCR (4-rotor NCR enigma started in '42) so doing what? pg17
30 Nov '40Photo of football game shoing shadow from Big Strobe pg18
2kV - 112 uF spectrum (relation to camo?) pg 18b, c, 19
notes on tank photos & photo of acrobats pg22
diagram for bullet through plate w/ dual cameras pg23
High speed shutter = motor spins disk with hole pg24
Dec 30 '40 party photo pg25
photo of setup for bullet into plate pg27
Photo of 8" shell 1797 ft/sec pg28
wet Battery Portable speedlight ckt pg29
" camera trip method ckts pg30
Jan '41 wire in tension trigger pg35
Model 52 Winchester .22 rifle photo (strings?) pg41
another string photo pg42
photo men looking at "Flash" magazine
photo of 9 men pg47
Method of speeding up flash time by doubling voltage, 2kV 4000uF pg48
" photos mounted on truck
Kodatron pricing pg50
Boxing photos pg51
2 photos taken with "portable" pg52
photo of Joe Costa museum exhibit pg53
plug-in strobe lamp safety ckt pg54
photo Ed holding portable battery box pg56
Kodatron Imax vs LOG(C) is linear pg58
Dec 1941 - Aug 1942
12
microscope flash pg03
Aug 1942 - Mar 1943
13
Quartz tubes made by GE for aircraft use
Aeiral photo from 5,000 ft (f3.5, Tri-X, 13.5" lens 1942 pg17
Aerial flash tube 2000 mF, 4000V, 6 sec interval pg18
8V Bat Portable Speed-Lamp pg81
AC line powered Kodatron Speedlamp pg102
1/30,000 sec, 2kV (similar to the aerial lamp) Pop Science Feb 1941
ground mounted aircraft beacon (6 or 12 radial beams)
Table: Strobotac, Strobolux, Microflash, Kodatron Port, Kodatron, Sea Search, B-25, A-20 & B-24. pg146
flash duration math for EG&G FT14 tube pg149
Apr 1943 - Jan 1944
14
4kV - 4000 uF aircraft flash
Jan 1944 - Feb 1944
15
Timing tests w/ parallel RC ckt in series w/lamp pg34
bomb damage photo pg40
Doodle Bug (Wiki) nearby pg51
K-19B wiring dia pg52, 53
Stonehenge pg57
A-26 flash install dia pg59 & plan pg60
Stonehenge photo from air pg61, 62
Flash tube tests pg64
?? pg64b
Stonehenge flight path? pg64c
K-19B night aerial camera pg71
ckt for 230VAC model 929 photocell pg78
Getting LORAN sets, testing APS-13 tail warning Rx pg79
K-29 camera pg82
weight of D-2 system 540 # pg87
FT-24 tube holdover testing pg99, 100 - 107
D-2intervalometerr calcs pg109
GR VTVM ckt pg113, (light meter w/ 629) - 119
using 1G4 battery tube pg120
photo plane located using APN-7 RADAR transponder & SCR-584 Radar (Wiki) sets pg121
1G4 tube light meter ckt pg122
Jan 4, '44 Construction of Exposure meter pg124 - 132
testing Cent Sci. stroboscope pg133
testing amp tubes for integrating exp meter pg134b
Series inductance fixes holdover problem in FT24 tube pg136
27 Jan '45 Hi-Freq camera for short films pg138
Shutter Tester pg139
Spark Gaps pg143
talk about IR detection of aircraft pg147
Photos: 9kV, 0.3uF, 240 RPM pg149 - 152
Feb 1945 - Mar 1946
16
A26c 2,400uF @ 4000V & rotating mirror movie camera pg1 (Wiki:A26)
rotating shutter camera pg2
example photos of microflash lamp pg3, 4, 5
D-5 (A-26c) System diagram, 2ea K-19 cameras + FT-17 flash
Rotating mirror camera phototgraphs the GR strobe pg10
A26c strobe failed to fire because it was dark pg16
D-5 ckt dia photocell for triggering K-19 from flash bombs pg18
asks GR to manufacture photocell exp meter pg19
radar screen photos taken from A26c pg28 (is APS-1 a cover story for a K-band radar?) (Wiki: H2S)
Photo inside A26c pg28b
Radar screen photo & flash photo pg30
Gemeshansen coil for starting movie lamp pg31, 33, 34
Exposure meter meas shutter time pg32
1 Jun '45 - add 5% Thorium for pg 16 dark-start problem pg 34
Testing 929 light meter pg36, 37, 38, 39
FT-20 lamp Light-v-Current plots pg41
Photo of strobe tube pg43
strobe ckt pg45
Mar 1946 - Jun 1948
17
4V bat -Vibrator (15 sec delay) - 550 V Strobotron pg 143
Jun 1947 - Aug 1947
dd
Storage battery small portable strobe pg23
Jan 1948 - Jul 1948
18
Front Insert: Calibration of PW 931 (photo-multiplier) Tube with Napthalene Using a Radio Active Source
Shot: X-Ray, Yoke, Zebra (Wiki: Operation Sandstone, Fat Man)
EG&G Cathode Ray Indicator schematic (prior pages)
Front Insert Photocell current from nigh sky
pg1 935 Photocells V.A. Char, Cathode Follower 6SN7
Confirm with Lew Fussel about measurements to be made at Eniwetok Atol in spring.
pg 79 Sunday May 2, 1948 observations about the test and instrumentation
pg 48 patent 685501 Desk or table lamp, George Westinghouse (Hg? arc lamp)
Jun 1948 - Feb 1950
19
pg 46 pg47 GR Light Meter
Dec 8, 1948 - Apr 8, 1951
ee
Rapamatic high speed camera
Eniwetok (Wiki)
Jun 1949 - Dec 1952
ff
Feb 1950 - Dec 1951
20
Aug 1952 - Oct 1952
gg
Underwater photo experiments
Flash 540V (12*9V) FT-110 lamp pg5
Camera pg22 & pg13
Dec 1951 - Jan 1954
21
Feb 1954 - Apr 1955
22
Apr 1955 - Dec 1956
23
Dec 1956 - Apr 1958
24
Work on Strobotac to come after the GR 631
underwater
Sonar test 15,000' deep pg47
Apr 1958 - May 1960
25
May 1960 - Feb 1962
26
Jan 1961 - Apr 1961
hh
Jan 1962 - Nov 1963
27
Nov 1963 - May 1965
28
May 1965 - Jul 1969
29
Oct 1969 - Jan 1973
30
EG&G SD-100 photo diode
5" sonar tests
Exposure calculations on Wash. dome
Golf swing
Bullet sonic boom shadow Spark Gap photos
Flap shutter in front of f2.5 aerial camera lens (fogging) pg114
Jan 1973 - Aug 1975
31
Aug 1975 - Jan 1978
32
Jan 1978 - Oct 1981
33
Map Long Island
EG&G 259 Sonar, Target in Loch Ness 1976
hair comb on balls photo?
Side Scan proposal at EG&G Feb 2, 1978 pg1
Juggling bowling pins photo pg2
16mm movies of cells (back light by FX6A pg3 - pg5
Photographing an eye, ants pg6
Test of Vincent 26L 18826x5 Shutter - Microflash pg9
MIcroflash golf photos
Underwater camera & Flash pg12
diagram raft, camera & 5 underwater strobes pg13
schematic Nature Photography Flash Unit
3 lamp houses, 70uS pg15
Water Drop system dia pg16
259 side scan testing pg17
Testing silh...underwater camera & rotary side scan pg20
Loch Ness Itinerary pg24
Sound Trigger for Focus pg31
Turbine blade break photo wanted, Reticon underwater use of imaging sytems, Dye Laser'78 pg32
Ocg '78 Lecture on photo of Atom Bombs pg34
Side scan search for 16" ball glass pg35
Output of spark ??? for silhouette underwater camera pg 36
petri dish type photo setup pg37 and photo pg40
Jan '79Writing preface for paperback Electronic Flash-Strobe, Minox FC35 pg42
Silhouette underwater camera volume calcs & FX6A ideas pg43
book "Moments of Vision" pg44
Elapsed Time camera design pg45
Color shadow photo setup pg49
Condenserdesign for brine shrimp pg51
Test of 10" dia Fresnel Lens for Plankton (FX198 tube) pg52
'79 Plankton Camera drawing pg pg58
" wiring diagram pg59
1/4" plate glass on 4" pipe breaks at 100 psi (200') pg60
Stonehenge photo strobe illuminated pg61b
Newatode worms pg 61f
Test point light source pg62
GR Strobotac & Graflex flash output table pg67
Wiring for underwater camera and flash pg70
Apr '79 Plankton Camera diagram pg71 (maybe same as Graflex flash?)
17.5X Brine shrimp photos pg 73, 74
Vincent Model 26L18A26X5 s/n: 0669 shutter .001 seconds pg78
Shutter used to cut background light, not stop motion.
Golf swing Setup for Vincent test pg79
'79 3 Lamp Flash System wiring dia pg80
Silhoette Strobe wiring dia pg81
planning cavitation photos pg84
Color of Plankton setup pg86
Hydrophone Study pg88
Jan '80 6kc Hydrophone data (Massa was best) pg92
Jan 1978 - Dec 1983
34
Dec 1983 - Jun 1986
35
Front Insert: Lost Loch Ness camera near Bunker Hill monument
1988 TR-238 Sonar Tx Voltage & Z vs. frequency
TR-238 polar plot 6 ele array 12.7 kHz
SONAR traces
Small Boomer (Tool Box) schematic 5/19/66 (patent? Dec 18, 1983)
Massa TR-25 & TR-1025 Transducers data sheet
Computer generated map N: 40:37:62, W 74:02:19
Kodak Vericolor II 4107 Film data sheet (X)
EG&G FX-102 Flash Tube measurements
Photo 2 people Ed & Marion Link (Wiki)
pg 4a Sonar traces
pg 11 cliping "Education theme at EG&G Center (group photo principles & wives)
pg 87c Charles River Basin map
pg 144 Silhouette System 1986 EG&G FY 506 spark module & FX198 lamp - 7302 film "Moments of Vision"
pg 150 Milk Drop Photo
Jun 1986 - Jan 1990
36
Loch Ness, Sonar, sonogram, (big) water drops
Rapatronic camera (Wiki) polarizing filters + Faraday cell = microsecond exposure times.
Highly recommended book: Nuclear Hostages, Bernard J. O'Keefe 1983 - O'Keefe has a clear way to explain the different types of atomic weapons. Written while the cold war was still going one, so has a bias.
O'Keefe was an early member of EG&G ( Edgerton, Germeshausen & Grier) and so was involved in the construction and testing of atomic weapons. [not in book but in above notebooks: It turns out the that strobe flash developed by Edgerton for W.W.II night photography uses the same capacitor banks and trigger circuitry as were part of the aerial flash and that company was taken over by the Manhattan Project to get the capacitors and maybe trigger device (Krytron) used on the Fat Man bomb.
Edgerton Germeshausen and Grier Inc (oldest first)
Harold E Edgerton (oldest first)
Germeshausen (oldest first)
Patents by Frank or Donald Massa
3949349 Dual electroacoustic transducers, Frank Massa, Donald P. Massa, Filed: Apr 13, 1972, Pub: Apr 6, 1976 - has the cone shape (nb30, pg92)
4107659 Intrusion alarm system with improved air turbulence compensation, Donald P. Massa, Massa Products, 1978-08-15, - applicable to outdoor intrusion alarms.
Bhangmeter (Wiki)
These were carried on the TRW Vela (Wiki) satellites, (Wiki: Controversial observations). EG&G made the DT-150 Light Intensity Detector used in the AN/ASH-4 Light & Time Recording Set (i.e. the Bhangmeter).
Shots ESS through MET and shot ZUCCHINI, The Final TEAPOT Tests, DNA 60113F (1955_DNA_6013F.pdf), 264 pgs -
1979 Vela incident (Wiki).
2025 June 23: WaPo: How Israel deceived the United States about its nuclear weapons program -
Archive.org: The Samson Option: Israel's Nuclear Arsenal & American Foreign Policy, Seymour Hersh, 366pgs, 2010 -
GWU: National Security Archive: The Vela Incident: South Atlantic Mystery Flash in September 1979 Raised Questions about Nuclear Test -
The Vela Event of 1979 (Or The Israeli Nuclear Test of 1979) -“The weight of the evidence that the Vela event was an Israeli nuclear test assisted by South Africa appears overwhelming,” Weiss said, citing the views of top intelligence and scientific officials as well as Carter’s published diary notes."
Operation Tumbler-Snapper WT-562, April-June 1952 (ADA304446_Bangmeter.pdf)
YouTube:Detecting Nuclear Detonations, 17:05 - Bhangmeter: a weapon's size can be determined by the distance between the two light peaks. 6:12 EG&G used the IP39 photocell in their bhangmeter, 8:20 DT-150/ASH-4 Egerton, Germeshausen & Grier, 8:37 Bomb Alarm Display System 210-A (Wiki) (1961 - 1967): Fresnel lens over photocell, WU Technical Review, Vol 17, No. 1, Jan 1963 (21-1_20220702/17-1.pdf) Bomb Alarm Display System 210-A, Clarence R. Deibert & William D. Buckingham, pg38; Sensor made up of three 1cm x 2cm Silicon Solar Cells mounted n a triangle to give 360 deg coverage.
3147380 Nuclear bomb explosion detecting device, William D Buckingham, Frank T Turner, Robert H Snider, Western Union Telegraph Co, 1964-09-01, -3 solar cells as sensors, includes Neon lamps to generate a very fast light pulse and tungsten filament lamps to generate the slower second test pulse.
Fig 1
Fig 2
Fig 3
Fig 4
Fig 5
Citations
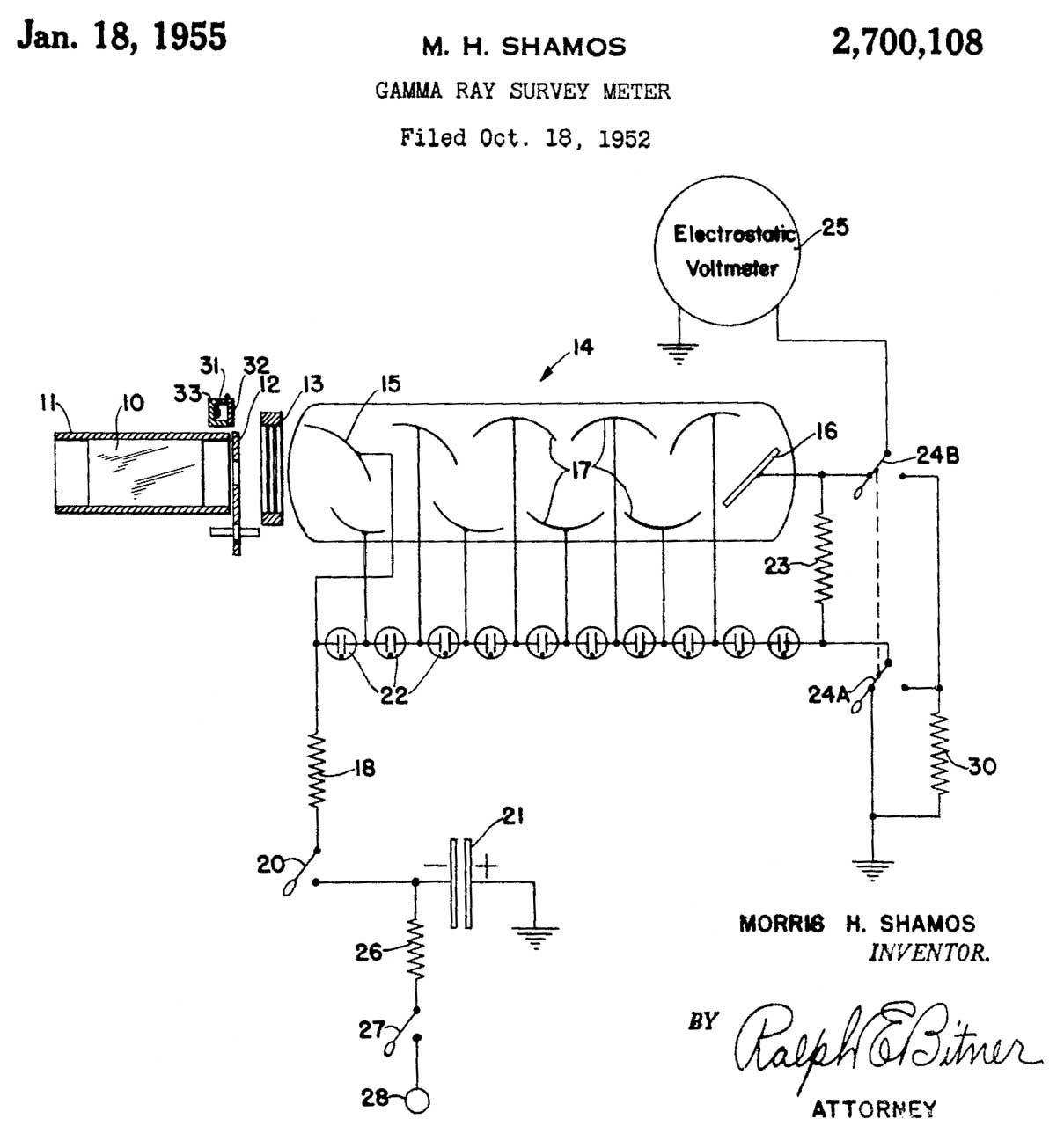
2700108 Gamma ray survey meter, Morris H Shamos, Chatham Electronics, 1955-01-18, - Dosimeter (Wiki) powered by a charged capacitor, Photomultiplier tube (Wiki). Instead of the typical crystal used for a Scintillation counter (Wiki) this uses stilbene (Wiki). Note this is an optical device.
2925498Atomic burst locators, Joseph D Loconti, John M Davies, Hunter Archibald Stuart, Harold W Coles, Mario R Altamura, Army, 1960-02-16, - a sphere with paint that changes when exposed to high temperature.
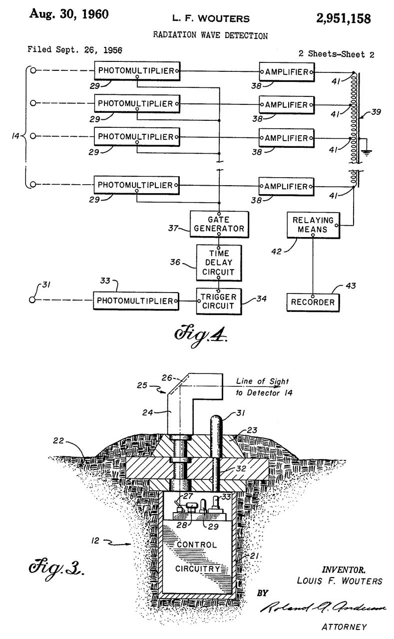
2951158 Radiation wave detection, Louis F Wouters, 1960-08-30, -
An omni-directional scintillation crystal (31) feeds a photomultiplier (33).
In addition many directional periscopes (24) illuminates a number of photo multipliers (29) whose outputs are combined by means of a delay line (39) where the tap locations depend on the relative position of the sensors (29).
2984746 Measuring apparatus, Karl C Speh, Walter E Landauer, Cutler Hammer, 1961-05-16, - , "...the radiation detector is exposed periodically to a local source of radioactivity, and means are provided to determine whether the monitor is functioning properly."
3078394 Timer, Melvin E Leverenz, Diamond Crystal Salt Co, 1963-02-19, - makes use of Neon lamps and phototube.
Cited By
3281811 Nuclear blast detector, Cotterman Robert William, Warren H Wright, ITT Industries, 1966-10-25, - "We have found that one reliable phenomenon occurring during a nuclear blast results from the thermal signal caused by the nuclear explosion. This thermal signal from the blast is characterized by two-peaks of energy in the ultra-violet, visible, and infrared spectrums. The first peak has a very fast rise-time signal, while the second peak has a slow rise-time signal. The first energy peak occurs simultaneously with a detonation of the nuclear blast. The second peak occurs an instant later. Dependent upon the size of the blast, the period between the two peaks can vary from a few hundred milliseconds to several seconds"
"The first thermal pulse contains only approximately 1% of the total thermal energy radiated by the blast. Due to this, reception of the first pulse cannot be absolutely depended upon. Thus, the detector must function if only the second thermal pulse is received. However, since the second thermal pulse reaches its peak much later than the initial pulse, the detector must also receive the initial pulse to obtain a quick response to the detonation of a nuclear blast."
"We have also found that another reliable phenomenon occurring during a nuclear blast results from a radiation of a single cycle of electromagnetic waveform (Wiki: EMP). This waveform is characterized by the polarity sense of its two half-cycles and by the time elapsing between the two half-cycles. Thus, the two-half waves might be construed as a binary coded signal and the detector logic may be designed to respond only when the correct binary code is received."
3467826 Detection of electromagnetic radiation from nuclear explosions, Robert W Cotterman, ITT Industries,1969-09-16, - EMP detector
3476938 Gun-flash detector, Gerald Jankowitz, Gerald Falbel, Barnes Engineering, 1969-11-04, - for airborne application
3479509 Method of determining the intensity of a nuclear-radiation burst, Gary L Grundy, Robert J Herickhoff, Sperry, 1969-11-18, - for testing transistors for EMP
3524984 Nuclear explosion detection systems, Reginald Allan FothergillGordon Graham HicksAlan John MacgovernKenneth George Norman, UK Atomic Energy Authority, 1970-08-18, - An EMP aerial (1), five matched Ferranti MS7B silicon photovoltaic cells (17) for the fast channel & ive matched Ferranti MS7B silicon photovoltaic cells (27) for the slow channel.
3718918 Nuclear explosion detection systems, R Fothergill, R BennettG Risley, W Weeks, UK Atomic Energy Authority,1973-02-27, - EMP antenna + 2 optical sensors
3813551 Fire detection apparatus, A Broadbent, P Frost, Talentum Developments, 1974-05-28, - IR sensor
3825754 Dual spectrum infrared fire detection system with high energy ammunition round discrimination, R Cinzori, G Stapleton, Raytheon, 1985-12-10, -"... discriminate against explosive fires in a fuel tank or other highly combustible material on the one hand and high energy exploding rounds of ammunition per se which do not subsequently cause a large scale fire."
3859519 Wide dynamic range omnidirectional optical sensor for detecting nuclear detonations, Richard C Weischedel, GE, 1975-01-07, - "An optical sensor including a photosensitive device and a linear network and a logging network connected in series with the photosensitive device and with a potential source so that the photosensitive device will operate in the voltaic mode under conditions of low light and will operate in the photo current mode under conditions of high ambient light to produce a wide dynamic range of sensing of light flashes."
3936822 Method and apparatus for detecting weapon fire, Kenneth A. Hirschberg, 1976-02-03, - Microphone & IR sensor for detecting small arms fire
3937951 All-sky photoelectric lightning detector apparatus, Edmund Philip Krider, Navy, 1976-02-10, - quadrature position sensing photo diodes and Fisheye lens - bearing & intensity outputs
3940607 Photo-electric lightning detector apparatus, Edmund Philip Krider, Navy,1976-02-24, - uses linear single axis, position-sensing photodiode to locate strike more accurately, like near a rocket.
3953137 Nuclear-burst strength detecting and measuring device, Jacques Albert Louis Georges Balut, Pierre Eugene Gerard K. Lemaire, Claude Michel Loisy, Etat, 1976-04-27, - 8 optical sensors with filters in parallel connection.
4101767 Discriminating fire sensor, John W. Lennington, Donald M. Szeles, Sensors Inc, 1978-07-18, - 3 channels: 0.76 um, 0.96 um & 4.4 um.
4156809 Data acquisition system, David T. Phillips, DOE, 1979-05-29, - sub ns time resolution by means of fiber optic time-stretching & unfolding
4219804 Sensor for electromagnetic waves caused by nuclear detonation, Richard C. Weischedel, GE, 1980-08-26, - EMP sensor that ignores lightening
4603255 Fire and explosion protection system, Richard V. Henry, David N. Ball, Robert L. Farquhar, Vincent M. Rowe, Peter L. Hutchins, HTL Ind, 1986-07-29, - 3 channels: 0.5 u, 0.9u & 4.4 u - looking for hydrocarbon fires while ignoring other stuff in armored tank.
Slapper detonator (Wiki)
4788913 Flying-plate detonator using a high-density high explosive, John R. Stroud, Donald L. Ornellas, DOE, 1988-12-06, -
5370053 Slapper detonator, Matthew R. Williams, Steven V. Werling, Undersea Sensor Systems, Magnavox Electronic Systems, 1994-12-06, -
5488908 Environmetally insensitive electric detonator system and method for demolition and blasting, Paul C. Gilpin, David Gladstone, Undersea Sensor Systems, Magnavox Electronic Systems,1996-02-06, -
DigitalPhotography101 Digital Photography 101: The Basics
Digital Photography 201 Stacking Images
Digital Photography 202: Close-Up, Macro & Micro
Digital Photography 203: Color Management
Digital Photography 204: Studio Flash
Digital Photography 205: Astrophotography
Digital Photography 206 Micro Photography
Nikon cameras & Related
Photoflash Photoflash Units
Photography
Strobotac, Sonar & Krytron
Sonobuoys - use hydrophones
CRT-1B Sonobuoy
Seeing in the Dark: Aerial Reconnaissance in WWII -
PRC68, Alphanumeric Index of Web pages, Contact, Products for Sale
Page Created Oct 2016