Faradic Instruments
© Brooke Clarke 2007 - 2025
Background
Michael Faraday discovered a number of the aspects relating to
electricity and magnetism, although Joseph Henry discovered how to
make strong electromagnets. One of the applications of
Faraday's work is called Faradic and relates to using AC electricity
in medicine to cure various problems. This was popular from
the late 1800s up to 1938 when the U.S. government determined it had
no power to cure anything and regulated the advertising that was
allowed.
Faraday collected his papers on Electrical and Magnetic Research
into three volumes for the Royal Society and wrote the preface to
volume one is 1839 and volume 3 in 1855. This series of papers
is printed in volume 45 of the Great Books of the Western World by
Mortimer Adler. It turns out these are in my garage.
In his first experiment in 1831 he is using bare 1/20" diameter
copper wire. Sounds like the wire Henry used. Insulated
by separating with twine between turns and using calico cloth
between layers.
There were a number of different ways electricity was applied to
humans for medical purposes, now known as quack medicine (Wiki), but
at the time was mainstream medicine. Luigi Calvani (Wiki) found
that a frogs legs would move if wires were connected in a specific
way. He named this "animal electricity" (Wiki: Galvanism)
because he thought the wires were just rerouting the electricity
generated by the dead frog legs. He was wrong, but ever since
there are people who believe that electricity is a "life
force". Frankenstein (Wiki) was
brought to life using the electricity from lightening.
- Galvanic DC Battery devices made use of Copper and Zinc metals
which would generate electricity and rejuvenate the wearer
- Faradic Instruments use a small number of No.
6 Dry Cells to power an Induction Coil (Wiki)
that generates a high voltage AC signal that can be applied to
various parts of the body using metal electrodes. Not too
different from the "muscle simulator" that is sold today.
- Ultraviolet lights were powered with the high voltage from an
induction coil.
- Diathermy machines were R.F. transmitters that would heat the
body (sort of a low power microwave oven).
Wiki: Pathological
science "..is the process by which "people are
tricked into false results ... by subjective effects, wishful
thinking or threshold interactions"
Stanford Encyclopedia
of Philosophy - Science
and Pseudo-Science - Karl Popper (Wiki) -
Falsifiability (Wiki)
& Predictability (Wiki) are
requirements of a valid scientific proposition.
Wiki: List
of topics characterized as pseudoscience -
Voltamp
Voltamp (
Wiki)must have
made quite a number of the Faradic Medical Instruments since they
show up a lot on eBay. Sears & Roebuck Co. and
Montgomery Wards Co. carried these or another brand in their
catalogs. The common configuration is a wooden box that
would hold 1, 2 or 3 No. 6 dry cells along with the induction coil
and some wire leads with applicators for the body like metal
cylinders, plates or sponges. The Voltamp product introduced
in 1901 is called a "Portable Electric Battery".
This company made model trains from 1903 to 1922 then sold that
product line to Boucher Mfg Co (
Wiki).
The small electric motor patents probably relate to the toy train
products?
There were a number of different models of the Voltamp Portable
Electric Battery where the models were numbered from No. 1.
No. 0 ?
I call it No. 0 since it clearly
predates the No. 1 below. It does not have the brass or
copper tube as part of the coil to regulate the secondary
voltage so predates the
620027
Induction Coil patent issued, Feb 21,1899 (filed Dec 7,
1898. It's more than just a breadboard but does not
include a box. The wiring method of using slots in the
bottom of the board is identical to the No. 1 below (see Fig 2
and Fig 4 above)
There is a post anchored to the base board to hold the armature
- spring - weight but in the No. 1 the post has been replaced by
a bracket on the end of the coil. That would allow testing
the coil prior to mounting it on the top board.
|
|
 |
Right
terminals are for battery
|
Left
terminals are for battery
VOLTAMP in lower right
|
This may have been a part of a
boxed unit. A recent eBay add for a "Unusual Early Wet
Battery Galvano-Faradic Quack Machine" has this descriptive
text:
A great, early, walnut case (7
3/4 X 8 1/4 X 6 inches wide closed), quack medical machine
made by the Galvano Faradic Mfg Co of New York. It originally
had a wet battery in the case, now missing, for its power. It
has its 2 hand electrodes but is missing the wires. Still, few
of these could have survived, the wet cell battery is easy to
spill and the acid would have eventually destroyed the
machine. There is a little minor staining on the bottom of the
case (from the acid) otherwise what is left is in great
condition.
This coil contains the Fuld (Voltamp) patented sliding sleeve
to control the strength of the output.
There is a board about this size that can be removed from the
box (along with the battery selector switch board of similar
size) to allow access to the wet battery.
No. 1
Fig 1
Voltamp output at top, battery on right
|
Fig 2
Bottom showing wiring and VOLTAMP at lower right
|

|

|
Fig 3
Voltamp No. 1 Lid Open
|
Fig 4
No. 1 made to hold No. 6 Dry
Cell
|

|
|
Fig 5
Voltamp No. 1 Set
|
|
The label mentions the following patents by date:
D29977
Design for a Current Regulator Case, , Manes E. Fuld, Jan 10,
1899,
D13/125 ; D8/DIG.2 - potentiometer for use with
medical equipment
620027
Induction Coil, Manes E. Fuld, Feb 21,1899,
336/75 ;
336/196; 336/213; 336/219
627917
Dry Cell, Manes E. Fuld, June 27, 1899,
429/134 ; 429/171;
429/65
and shows a hand written serial number of 5375.
Included with this unit was a copy of "Electro-Medical Guide,
formerly "Faradic Hints", ninth edition of 100,000. This 48
page booklet features the No. 6 "Majestic" on the rear
cover. copyright 1916.
The top board and all the accessory electrodes have sockets that
accept standard phone
Tip pins.
The wooden handled electrodes and the top board have tapered holes
and the metal plate has the socket formed by a stamping operation.
Testing with a 1.5 volt "F" cell it does not run, but with two
series cells ( 3 volts) it runs well. It may have been
designed to run on a Voltamp brand 3 volt battery? If you
know please
tell me.
10 May 2008 - When two series connected "D" cells are used and the
vibrator screw adjusted for loudest sound the frequency is around
800 Hz and the duty cycle around 80%. If the screw is backed
out the frequency goes down along with the duty cycle.
Around 300 Hz the duty cycle is near 50%. If at the 50%
setting a 1.5 Volt battery is connected the vibrator does not self
start, but if you flick the armature it will keep running.
No. 2
No. 3
No. 4
No. 5
No. 6 Voltamp Medical Battery No. 6 "Majestic"
The large metal cylinder is a
Voltamp brand 3 Volt dry cell battery.
Guess: the large shiny cylinder is a battery similar to the No.
6 except it has a rectangular metal post in the top center with
a screw for making electrical connection. You can see the
screw and a slotted metal contact in the photo below.
No. 7
Except for the "No. 7" on the label, this looks identical to the
No. 1.
If you know the difference please
tell
me.
No. 8
No. 9
No. 10
No. 11
No. 12
Quackery Still Going On
It's my understanding that the FDA
allows drugs that are harmless and medical devices that are
harmless (must meet certain rules) to be sold Over The Counter
(OTC) without a prescription. For example someone can sell a
bottle of water as
homeopathic medicine
as long as they do not make any claims that it will cure a
disease. So if you look at the label it will not make any
claims, but the store clerk or a radio show will say such and such
is good for some condition.
Federal Food, Drug, and Cosmetic Act of 1938 (
Wiki)
is the basis of what the FDA does. In a similar manner
the Wheeler–Lea Act of 1938 (
Wiki) is
about how those products are advertized and is regulated by the
Federal Trade Commission (Wiki:
FTC).
The FTC got started with the The Federal Trade Commission Act of
1914 (
Wiki).
These laws in large part were passed after the book
100,000,000 Guinea Pigs
(
Wiki)
described the then current state of medicines.
In a like manner there are a number of medical devices sold where
the advertising and manuals will have statements saying they are
not medical cures, the people promoting them make those claims.
Some years ago the German government spent something like
$500,000 to investigate dowsing with the
result that it didn't work. My thought was what a waste of
their taxpayers money on something that's well know to not work
based on scientific testing. But the U.S. tops them with
the NCCAM which has spent about $3,000,000,000 (that's three
Billion dollars) from 1999 to 2009 and does not have a single
positive test result. See the paper: MEASURING
MYTHOLOGY: Startling Concepts in NCCAM Grants - In many
cases after spending millions of dollars on a single study there
is no final paper with a conclusion. This was put in place
by
See my Science
paragraph on the Diet & Nutrition web page.
It turns out that a large number of the problems facing not
just the U.S. but the world are the direct result of the
unintended consequences (Wiki)
of laws that have been passed. This is an example of
that. This law was the result of the efforts of Senator
Tom Harkin and Orin Hatch.
Tom Harkin Tips His Hand - Harkin gets a lot
of his
campaign
contributions from Herbalife employees.
Tom Harkin, NCCAM, health
care reform, and a cancer treatment that is worse than useless
Utah Senator Orrin Hatch: A pit bull in
defense of the supplement industry
Support
Is Mutual for Senator and Utah Industry - NYT - In Utah are:
Xango, 4 Life Research, Neways which makes Youthinol " He
was the chief author of a federal law enacted 17 years ago that
allows companies to make general health claims about their
products, but exempts them from federal reviews of their safety or
effectiveness before they go to market.... His son Scott Hatch, is
a longtime industry lobbyist in Washington, as are at least five
of the senator’s former aides. Mr. Hatch’s grandson and son-in-law
increase revenue at their chiropractic clinic near here by selling
herbal and nutritional treatments, including $35 “thyroid
dysfunction” injections and a weight-loss product, “Slim and Sassy
Metabolic Blend.” And Mr. Hatch’s former law partner owns
Pharmics, a small nutritional supplement company in Salt Lake
City."
Last Week
Tonight with John Oliver: Dr. Oz and Nutritional Supplements
-
Bullshit Detection
October 2016 Update - this paper won the 2016 Ig Nobel (Wiki)
peace prize. YouTube Video of
the event.
The paper On the reception and detection of pseudo-profound
bullshit (in Judgment
and Decision Making, Vol. 10, No. 6, November 2015, pp.
549–563) by Gordon Pennycook James Allan Cheyne†
Nathaniel Barr‡ Derek J. Koehler†, Jonathan A. Fugelsang†
has caused a lot of comment and discussion. The paper
used a couple of on line bullshit generators:
New Age Bullshit
Generator - click the button at the top of the page labeled
Reionize Electrons. You get a whole page of bullshit.
The enigmatic wisdom of
Deepak Chopra - click Receive More Wisdom for a new saying.
Some comments:
I
Don’t Know What You Mean Posted on Dec. 11, 2015 by
Daniel Loxton
Detecting BS Dec
03 2015 Published
by
Steven Novella
on the
NeuroLogica
Blog - Steven is also part of
Science-Based
Medicine -
Skeptic magazine:
The
Conceptual Penis as a Social Construct: A Sokal-Style Hoax on
Gender Studies, Boghossian & Lindsay, 2017 May 20 -
paper accepted and published in peer reviewed journal. (
Archived
copy of paper) The authors made use of the
Postmodern
Generator - every time the page is opened a new scientific
paper is shown complete with fake references.
In 1966 Alan Sokal (
Wiki,
Sokal Affair)
wrote a fake paper and it was accepted and published as a real
article.
Testing Claims
The Observer -
The 10
Commandments of Helping Students Distinguish Science from
Pseudoscience in Psychology
By Scott O. Lilienfeld
The Baloney Detection Kit -
Google
-
Carl
Sagan -
Michael
Shermer (YouTube,
TED:
The
pattern behind self-deception,
TED:
Why people believe weird things) -
Quack Ideas
It's amazing how many people believe in these ideas as if they
were factual. The local radio station has programs based on
some of them and when there are guests the discussions make for
interesting listening, i.e. they are talking nonsense but do it as
if it were real. The problem is that if they make any
decisions based on false ideas then they're going to be
disappointed and/or deluded.
2012 millenarianism (
Wiki)
- December, 2012 marks the ending of the current Long Count
Calendar i.e.the end of this World
Acupressure (
Wiki)
-
like Acupuncture except
pressure replaces the needles
Acupuncture (
Wiki) - also
see
Science on my Diet
& Nutrition web page.
Age regression in therapy (
Wiki)
-
the patient returns to an
earlier stage of life in order to explore a memory or to get in
touch with some difficult-to-access aspect of their personality
Albert Abrams (
Wiki)
inventing machines which he
claimed could diagnose and cure almost any disease ( Dynomizer,
Spondylotherapy and ERA,
Spondylotherapy).
In the 1920s, i.e. before the 1936 FDA ruling that ended most
quack devices.
6684108
Therapeutic and diagnostic apparatus and method, Surbeck et
al, Jan 27, 2004 - has a lot of praise for Albert and
Radioscope plans
calls:
2545087 Electrical Therapeutic Device,
(Electronic Medical Foundation, SF)
Allopathic medicine (
Wiki)
An old term ... now referred to as
heroic medicine - means all medicine that's not based on
homeopathy
Alternative medicine (
Wiki)
-
any healing practice "that
does not fall within the realm of conventional medicine
Aroma therapy (
Wiki) -
NCCAM
uses volatile plant
materials, known as essential oils,
and similar aromatic compounds from plants, for the purpose of
improving a person's mood, cognitive function or health
Ancient astronauts (
Wiki)
-
that intelligent extraterrestrial
beings have visited Earth and that this contact is linked to the
origins or development of human cultures, technologies, and/or
religions.
Anthroposophical medicine (
Wiki)
- Rudolf Steiner
therapies are intended to
enhance a patient's capacities to heal
Antineoplastons (Wiki:
Burzynski Clinic)
" ...offering
unproven
cancer treatment."
Aromatherapy (
Wiki)
-
a form of alternative medicine
that uses volatile plant materials, known as
essential oils, and other aromatic
compounds for the purpose of altering a person's mood,
cognitive function or health. The
effectiveness of aromatherapy is yet to be scientifically proven
Aromatherapy:
Making Dollars out of Scents
Astral
Body (
Wiki)
a
subtle body posited by many religious philosophers,
intermediate between the intelligent soul and the physical body,
composed of a subtle material.
Astrology (
Wiki) -
belief which holds that the
relative positions of celestial bodies and related details can
provide information about personality, human affairs, and other
terrestrial matters
Planetary
Tuning Fork
Frequencies
Planet
|
Hz
|
Earth Day
|
194.18
|
Earth Year
|
136.10
|
Earth Sidereal
|
194.71
|
Platonic Year
|
172.06
|
Synod Moon
|
210.42
|
Lunar Culmination
|
187.61
|
Moon Sidereal
|
227.43
|
Sun
|
126.22
|
Mercury
|
141.27
|
Venus
|
221.23
|
March
|
144.72
|
Jupiter
|
183.58
|
Saturn
|
147.85
|
Uranus
|
207.36
|
Neptune
|
211.44
|
Pluto
|
140.25
|
Attachment therapy (
Wiki)
-
children's problems are
ascribed to an inability to attach to their new parents because
of suppressed rage due to past maltreatment
and abandonment
Audio-Homoepathy (
EEVblog)
- the false belief that factors way beyond human hearing are
important enough to spend orders of magnitude more for audio
equipment.
Aura (paranormal) (
Wiki)
-
a field of subtle, luminous
radiation supposedly surrounding a person or object that some
people are claimed to be capable of observing by means of their
third eye
Ayurvedic (
Wiki)
According to a 1990 study on ayurvedic medicines in India, 41
percent of the products tested contained arsenic, and 64 percent
contained lead and mercury.
A
Few Thoughts on Ayurvedic Mumbo-Jumbo
Bales Scientific Infrared Scanner & Bales Scientific’s
Photonic Stimulator -
Bates method for better eyesight (
Wiki) -
centered around
visualization and movement to remove "strain" that caused
problems
Bendini Machine (
Wiki)
This device consists of a
"motor" that's powered from a battery and charges another
battery. But after watching a large number of
YouTube
videos have never seen anyone measure
the efficiency. This
is true of all the "Over Unity" machine YouTube videos. If
you know of one where they do measure efficiency please
let me know.
But, the Bedini machines are
great kinetic sculptures.
EEVblog #708 - Free Energy
Overunity BULLSHIT!
Bermuda Triangle (
Wiki) -
a region in the western part of the North Atlantic Ocean in which
a number of aircraft and surface vessels are alleged to have
disappeared in mysterious circumstances
Biorhythms (
Wiki) -
a hypothetical cycle in
physiological, emotional, or intellectual well-being or prowess
Bloodletting (
Wiki) -
For about 2000 years, ending about
the time that it killed George Washington, it was a common
medical procedure. They did not know about the circulation
of blood but instead thought it was just in different parts of
the body and had gone bad, hence the need to remove it.
The book Trick or Treatment has
quite a discussion of bloodletting.
Bob (Robert) Beck Protocol (
Wiki)
This is
pseudo science. PCR (
Wiki)
is a process to get more DNA so that an analysis can be done, it's
not a test in and of itself. It requires a bio lab with
extreme cleanliness to
prevent the
amplification of unwanted DNA. It is not a "test" that you
order. The way Bob uses technical terms demonstrates that he
doesn't know what they mean.
To learn
why the flash capacitor driving a home wound coil will not develop
anywhere near the claimed current/effect see Chapter 1
"Electromagnetism by Charles M. Epstiein in the
book
The Oxford Handbook of Transcranial Stimulation ISBN
978-0-19-856892-6, 2007 I looked into making a Transcranial
Stimulator, but the voltages and currents
necessary for that
application are not something I'd want anywhere near my
head.
The
system described in Chapter 2 uses a 5 uH coil, 200 uF cap, R=50
milli Ohms and V=2800.
Who
issued the "
D.Sc." after his name?
CAM (Complementary and Alternative Medicine) (
Wiki)
"...is any healing practice "that
does not fall within the realm of conventional
medicine":
Acupuncture
· Anthroposophic medicine · Ayurveda
· Chiropractic
· Herbalism
· Homeopathy
· Naturopathy
· Siddha medicine
· Traditional medicine
(Chinese
·
Mongolian
·
Tibetan)
· Unani;
Whole medical systems
·
Mind-body interventions
·
Biologically based therapies
· Manipulative therapy
· Energy therapies
Channeling aka Mediumship (
Wiki) -
...is the claimed ability of
a person (the medium) to experience contact with spirits of the
dead, angels, demons or other immaterial entities
Characterology (
Wiki) -
character reading combining
revised physiognomy, reconstructed phrenology and amplified
pathognomy, with ethnology, sociology and anthropology
Chakra (
Wiki) -
Seven major chakras or
energy centers (also understood as wheels of light) are
generally believed to exist, located within the subtle body
See my
Singing Bowl web
page
Tuning Fork Frequencies
associated:
Frequency
|
Name
|
| 194.18 |
Root
|
| 210.42 |
Sacral |
| 136.10 |
Heart |
| 141.27 |
Throat |
| 126.22 |
Solar Plexus |
| 221.23 |
3rd Eye |
| 172.06 |
Crown |
Chelation therapy (
Wiki)
Although this is a valid medical
method of removing heavy metals, when used in alternative
medicine for removing calcium or toxins it's a bogus idea.
Chiropractic (
Wiki) - B.
J. Palmer
diagnosis, treatment and
prevention of mechanical disorders of the
musculoskeletal system, especially
the spine, under the hypothesis that these disorders affect
general health via the nervous system
. No
real evidence has ever been presented showing that a given
chiropractic treatment alters the position of any vertebrae.
Trick
or Treatment: The Undeniable Facts about Alternative
Medicine (2009) by Simon Singh - chapter on
chiropractic scientific testing
Why
we sued Simon Singh (BC: and lost): the British
Chiropractic Association speaks -
Chromotherapy (Color therapy) (
Wiki) -
a therapist trained in
chromotherapy can use color and light to balance energy wherever
a person's body be lacking, be it physical, emotional,
spiritual, or mental.
The name Darius Dinshah appears in relation to this topic, but
he has no Wiki page.
Clairvoyance (
Wiki)
the ability to gain information
about an object, person, location or physical event through
means other than the known human senses
See the
movie Suspect Zero (IMDB)
Colloidal Silver (
Wiki)
-
Colon cleansing (
Wiki) -
colonic irrigation
intended to remove fecal
waste and unidentified toxins from the colon and intestinal
tract
Color Light Therapy - see Chromotherapy above.
Copper healing (
Wiki) -
treatment of adverse health
and beauty conditions through continued exposure to
copper
Craniosacral therapy (
Wiki)
-
session involves the
therapist placing their hands on the patient, which they say
allows them to tune into what they call the craniosacral system
Creation science (
Wiki) -
movement within creationism
which attempts to provide support for the religious Genesis
account of creation, and disprove accepted scientific facts
Idiot America by
Charles P. Pierce has some interesting information on this
topic.
Cryptobotany (
Wiki)
-
study of various exotic
plants which are not believed to exist by the scientific
community, but which exist in myth, literature or
unsubstantiated reports
Cryptomechanics (
Wiki) -
search for machines which
are considered to be legendary
Crystal Ball (
Wiki)
as an aid clairvoyance
Crystal healing (
Wiki) -
employs stones and crystals
as healing tools
Cupping, Fire (
Wiki)
-
placing cups containing reduced
air pressure (suction) on the skin. It is known in local
languages as badkesh, bahnkes, bekam, buhang, bentusa, kuyukaku,
gak hoi, hijama, and many other names.
Deepak Chopra (
Wiki)
In 1998,
Chopra was awarded the satirical
Ig Nobel Prize in physics for "his unique
interpretation of quantum physics as it applies to life, liberty,
and the pursuit of economic happiness"
Detoxification (Wiki:
Detox,
Ritual purification,
OCD)
Body
cleansing and detoxification have been referred to as an elaborate
hoax
used by
con artists to cure
nonexistent illnesses.
"Detoxification"
with Pills and Fasting"
The
Detox Scam: How to spot it, and how to avoid it
Detoxification foot pads (
Wiki)
- allegedly pull toxins from the
body through the bottom of the feet. (there is no mechanism to
get rid of toxins through the skin.)
Detoxification foot wash (Wiki) - same idea as the foot pads -
see ad <- if this
link is broken they have taken down the ad
Dianetics (
Wiki)
-
a set of ideas and practices
regarding the metaphysical relationship between the mind and
body that were developed by science fiction author L. Ron
Hubbard
Diapulse (aka Magnatherm, )- operate at about 27 MHz
Diathermy (
Wiki)
- (
FDA)
These RF generators operated at
about 27 MHz (one of the ISM bands (
Wiki)).
They were banned by the FDA for medical cures.
FDA: "It is the opinion of FDA and the consensus of experts that
pulsing the output of r.f. diathermy (as opposed to continuous
wave) produces no extra beneficial therapeutic effects. Any
physiological responses produced by pulsed r.f. diathermy are
attributable to heat produced by the average power output. (see:
Diapluse)
Dirty Electricity (no Wiki)
Claims that signals on the power
lines in the frequency range up to 100 kHz causes all kinds of
problems. No scientific studies are provided, but you can
buy: a Graham-Stetzer filter, Graham-Stetzer meter or book about
it. Note there is no Wiki for Graham-Stetzer, i.e. there's
no such a thing. The filter just plugs into an electrical
outlet, it's not of the type with an input and output, so will
not even do what's claimed.
Discovery Institute (
Wiki)
...an explicitly Christian
conservative organization and point to the institute's own
publications and the statements of its members that endorse a
religious ideology...
"Though the Discovery
Institute describes itself as a think tank 'specializing in
national and international affairs,' the group's real purpose is
to undercut
church-state separation and turn public schools into religious
indoctrination centers."
Divination (
Wiki)
-
the attempt to gain insight into a
question or situation by way of a standardized process or
ritual.
Donnelly, Ignatius L. (
Wiki)
-
wrote Atlantis: The Antediluvian
World (
Wiki)
and started pseudo science
Dowsing -
Pendula for Divination (
Wiki) - a
practice that attempts to locate hidden water wells, buried
metals or ores, without the use of scientific apparatus
Dr. Oz (
Wiki)
The Great and Powerful Oz versus science and research
ethics
E-Meter (
Wiki)
- Mathison Electropsychometer
Used by Scientology
2799269
Electropsychometer or Bioelectric Instrument, Volney Mathison,
Jul 16 1957, 600/547- Vacuum tubes
2684670
Electropsychometer or Bioelectric Instrument, Volney Mathison,
Jul 27 1954, 600/547 - Vacuum tubes
2810383
Electropsychometer or Bioelectric Instrument, Volney Mathison,
Oct 22 1957, 600/547- Vacuum tubes
Ear candling (
Wiki)
-
improve general health and
well-being by lighting one end of a hollow candle and placing
the other end in the ear canal.
Electric Band (Wiki)
636881
Electric Band, J.M. Wolkosky, Nov 14 1899, 607/149 - made from
copper and zinc. "beneficial results have been derived, and
cases of neuralgia in all it's forms, nervous prostration,
hysteria, nervous exhaustion, nervous headache, lumbage,
sciatica, rheumatic fever and muscular rheumatism have been
cured by the use of..."
Electrohomeopathy (
Wiki)
-
the use of electrical
devices in conjunction with homeopathy
Electronic voice phenomenon (
Wiki)
-
electronically captured
sounds that resemble speech, but are not the result of
intentional voice recordings
Electrodiagnostic (
Wiki)
Quack
"Electrodiagnostic" Devices
Electromagnetic Fields (EMFs) (
Wiki)
Some people fear EMFs more
than they should. See my web page
Measuring EMFs.
Electromagnetic Hypersensitivity
(EHS) (
Wiki)
(
Skeptic
magazine) -
people claim to experience
medical symptoms that they believe are caused by exposure to
electromagnetic fields.
See:
Measuring
EMFs, DT-1130 Electromagnetic Radiation Detector
Electrical muscle stimulation (EMS) (
Wiki)
-
is the elicitation of muscle
contraction using electric impulses. The
U.S. Food and Drug Administration
(FDA) certifies and releases EMS devices into two broad
categories:
over-the
counter devices (OTC), and prescription devices. OTC
devices are marketable only for muscle toning; prescription
devices can only be purchased with a medical prescription for
therapy (also see
TENS)
Energy Medicine (
Wiki) ,
aka energy therapy, energy healing, or spiritual healing
a healer can channel healing energy into the
person seeking help by different methods: hands-on,
hands-off,
and distant
(or absent) where the patient and healer are in different
locations
Erich Von Däniken (
Wiki)
-
author of Chariots of
the Gods?
Eugenics (
Wiki)
-
discouraging reproduction by
persons having
genetic defects a core tenet of some of
the policies behind
Adolf Hitler's
Nazi regime
Extra-sensory perception ESP (
Wiki)
-
involves reception of
information not gained through the recognized senses and not
inferred from previous experience
Extraterrestrial hypothesis (
Wiki)
-
that some (UFOs are best
explained as being extraterrestrial life or space aliens from other planets visiting Earth
Faith (
Wiki)
In the book
A Manual for Creating Atheists
by
Peter Boghossian, 2013 He makes
the case that faith is a poor
Epistemology
(
Wiki).
Since faith is the poorest way to know what's
true it results in those who employ it making poor decisions.
On the other end of the spectrum of ways to
know what's true is the scientific method (
Wiki).
Starting after W.W.II the vast majority of
scientists in the U.S. believed that a "low fat" diet was healthy.
That misconception lasted for about 50 years,
killing millions of people.
See my
Diet and
Nutrition web page for more about that. Also you can
find out which U.S. Presidents were killed by doctors.
While looking at books on diet and nutrition I
came across books based on the Bible and other woo-woo ideas like
on this web page so am adding more entries here.
Faith healing (
Wiki) -
religious belief ("faith")
can bring about healing
Faradic - Defined as "Produced by or associated with
electrical induction."
this web
page started because of the very popular Faradic devices which
disappeared when the FTC & FDA required proof that medical
treatments worked in order to
advertize them. Prior to that many main
stream "scientists" believed in these devices and millions of
them were sold.
Feng Shui (
Wiki)
-
Two types:
1) Traditional - based on compass and common sense
2) modern (Tantric, black sect (
Wiki)) based
on front door direction - no basis, see
Traditional
Chinese Medicine
Fortune-telling (
Wiki) -
the practice of predicting
the future, usually of an individual, through mystical or
supernatural means for money
FD-47 Fuel Doctor (
official
web page) - Offered in the Heartland America Oct 2010 flyer
Was: $79.99 Now only:
$49.99. Plugs into cigarette lighter and "stabilizes" you
electrical system to improve gas mileage. "approved by Certified
EPA Test Facility, Installs in seconds, Patent Pending (no
pending patent with phrase "fuel doctor").
Galenic medicine (Wiki:
Galen,
Humorism,
Ayurveda,
Four temperaments)
A pre
dark age medical belief that we know today is not true.
Bloodletting (see
above) killed U.S.
president Washington and was accepted in the 18
th
century.
Geomancy (
Wiki)
-
a method of divination that
interprets markings on the ground or the patterns formed by
tossed handfuls of soil, rocks,
or sand
Georges Lakhovsky Multiple Wave Oscillator (
Wiki)
author of a book "The Secret of
Life: Electricity, Radiation and Your Body" (French) in which he
claimed and attempted to demonstrate that good or bad health was
determined by the relative health of these cellular
oscillations, and bacteria, cancers, and other pathogens
corrupted them, causing interference with these oscillations
1962565
Apparatus with Circuits Oscillating under Multiple Wave Lengths,
Georges Lakhovsky,Jun 12 1934
343/856 ; 333/220;
343/700R; 343/865; 343/890; 343/896; 343/899 - this is prior to
the 1936 FDA ruling on quack medical devices.
2351055
Tube for Producing Multiple Wave Lengths, G. Lakhovsky, Jun 13
1944,
315/53 ; 313/256; 313/301; 313/567; 315/34;
315/40; 315/54; 315/57; 315/58; 336/105; 336/170; 336/174;
336/182; 336/208; 336/92; 343/701; 343/872; 343/895
2656839
Electrotherapeutic Oscillator, Clarence B. Howard, Oct 27
1953,
331/60 ; 331/96; 336/170; 336/186; 336/196;
343/720; 343/744; 343/745; 343/895; 343/899; 600/13; 607/101
6217604
Method for treating diseased states, Larry Azure, James
David Girard, Apr 17, 2001,
607/88 ; 600/14; 607/1 -
Gerson Therapy (
Wiki) -
an alternative dietary therapy
which claimed it could cure cancer and most chronic,
degenerative diseases
Ghost hunting (
Wiki) -
the process of investigating
locations said to be haunted by ghosts
Ginkgo (
Wiki)
-
NCCAM
"When taken following the
manufacturer's instructions, ginkgo provides no measurable
benefit in memory or related cognitive function to adults with
healthy cognitive function."
http://nccam.nih.gov/health/ginkgo
Graphology (
Wiki)
-
the study and analysis of handwriting especially in relation
to human psychology
Graston Technique (
Wiki)
... is a modification of
traditional hands-on soft tissue mobilization that uses
specifically designed instruments to allow the therapist to
introduce a controlled amount of microtrauma into an area of
excessive scar and/or soft tissue fibrosis, hoping that this
will invoke an inflammatory response that will augment the
healing process.
The Graston Technique – Inducing Microtrauma
with Instruments
HAARP (
Wiki,
Official web page)
High Frequency Active Auroral
Research Program - a basis of many conspiracy theories (
Wiki)
Healing Water (Subtle Energy) (
Wiki)
Total BS.
Herbalism (
Wiki)
-
NNCAM
Heroic Medicine (
Wiki)
"During the "Age of Heroic
Medicine" (1780–1850),
[3]
educated professional physicians aggressively practiced "heroic
medicine," including
bloodletting
(venesection
),
intestinal purging (calomel), vomiting (tartar
emetic), profuse sweating (
diaphoretics) and blistering,
stressing already weakened bodies
Hieronymus machine (
Wiki)
-
machines which allegedly
worked by analogy or symbolism, being directed by psi or
ESP powers. patent
2482773
Homeopathy (
Wiki) -
treats patients with heavily
diluted preparations which are thought to cause effects similar
to the symptoms presented
Note that Homeopathy was developed in 1796 long before
Avogadro's number (
Wiki)
was known as of 1865.
1995 CPG
Sec. 400.400 Conditions Under Which Homeopathic Drugs May
be Marketed - pseudoscience officially allowed
by the FDA starting in 1938 (
Wiki)
where they were grandfathered. The UK and Germany are in
the process of taking homeopathic "cures" off their insurance
coverage. See
Quackery
Still Going On
Hongcheng Magic Liquid (
Wiki)
-
could turn regular water
into a fuel as flammable as petrol by simply dissolving a few
drops of his liquid
Horoscope (
Wiki)
-
In astrology, a horoscope
is a chart or diagram representing the positions of the Sun,
Moon, planets, the astrological
aspects, and sensitive angles at the time of an event,
such as the moment of a person's birth.
Human enhancement (
Wiki)
-
any attempt to temporarily or
permanently overcome the current limitations of the human body
through natural or artificial means
Humorism (
Wiki)
"an excess or deficiency of any of four
distinct bodily fluids in a person - known as humors or humours -
directly influences their temperament and health"
Naturopathy
Embraces the Four Humors -
Textbook of Natural Medicine
Chapter 49 "Unani Medicine” (
Wiki)
Hutchison effect (
Wiki)
-
Hutchison claims to have
discovered a number of unusual phenomena, while trying to
duplicate experiments done by Nikola Tesla.
Hypnosis (
Wiki)
- Hypnotherapy
Hypnosis is a mental state (state
theory) or set of attitudes and beliefs (non-state theory)
usually induced by a procedure known as a hypnotic induction,
which is commonly composed of a long series of preliminary
instructions and suggestions. Many of the claims are bunk.
I Ching (Book of
Changes) (
Wiki)
-
a divination system comparable to
Western geomancy or the West African Ifá system
Innate intelligence (
Wiki)
-
a
chiropractic term to describe the
organizing properties of living things.
Institute of Noetic
Sciences (
Wiki)
-
bibliography on the physical and
psychological effects of meditation, a spontaneous remission
bibliography, and studies on the efficacy of compassionate
intention on healing in AIDS patients. The institute has also
conducted a number of parapsychological studies into
extra-sensory perception, lucid dreaming, and presentiment
Intelligent design (
Wiki)
-
Proposed by
William Paley in the early 1800s.
Paley inspired Darwin and Richard Dawkins to write books
explaining how he got it all wrong. See my
Atheist
web page.
Ionized bracelet (
Wiki) -
a type of metal jewelry purported
to affect the
chi of the wearer
Iridology (
Wiki)
-
an alternative medicine technique
whose proponents believe that patterns, colors, and other
characteristics of the iris can be examined to determine
information about a patient's systemic health.
James Randi (
Wiki)
-
Japhetic theory (
Wiki) -
a term used to describe a
linguistic theory developed by the Soviet linguist Nikolay
Yakovlevich Marr (1864–1934). In linguistics it can be compared
to Lysenkoism in biology: a theory that was promoted and
supported for ideological rather than scientific reasons,
because it was thought to represent "proletarian science" as
opposed to "bourgeois science."
Jenny McCarthy (
Wiki) -
claims that vaccines cause autism
and that chelation therapy is effective against autism. A
very destructive person.
Junk Science & Pseudoscience
Skeptics
Dictionary - J -
Junk
Science & Pseudoscience alphabetical list of topics
Kangen Water
Water that's treated (using a very
expensive machine) that's supposed to have curative
properties. There is a factory web page with certificates,
but none of them has to do with technical subjects, instead they
are things like a trademark, etc. There is nothing on the
FDA web page for either Kangen or Enagic
Keely, J.E.W. (
Wiki)
Claimed
to have invented a fuel less motor, but was using a hidden
compressed air power source
Klee Irwin (
Wiki)
-
claims herbal and nutrient based
solutions can help with prostate health, menopause, sexual
dysfunction, disease prevention, heart health, joint pain,
digestive health and many other conditions.
Kinesiology (
Wiki)
-
While there are valid needs to
study human movement, many of the practioners are making
unverified claims.
Kirlian Photography (
Wiki)
-
The Kirlian technique is contact
photography, in which the subject is in direct contact with a
film placed upon a metal plate charged with high voltage, high
frequency electricity.
Kronos: A Journal of Interdisciplinary Synthesis (
Wiki)
published articles on a wide range
of subjects as diverse as ancient history, catastrophism and
mythology.
Laundry ball (
Wiki)
-
a product that is promoted as an
alternative to cleaning garments with laundry detergent, and are
also known as laundry detergent alternatives. Some products in
this category have been sold by participants in multilevel marketing programs
Laying on of hands (
Wiki) -
practice is used as both a
symbolic and formal method of invoking the Holy Spirit during
baptisms, healing services, blessings, and ordination of
priests, ministers, elders, deacons, and other church officers,
along with a variety of other church sacraments and holy
ceremonies as well as for medical use.
also see Therapeutic touch
Leakey Gut (
Wiki)
"
Leaky
gut syndrome is a medically unrecognised condition which
some
alternative health
practitioners claim is the cause of a wide range of serious
long-term conditions,
including
diabetes,
lupus, and
multiple sclerosis."
Leuchter report (
Wiki) -
For the defense in the trial of
Holocaust denier Ernst Zündel, Leuchter compiled the report in
1988
Levitation (
Wiki) -
Although there are a number of
valid scientific types of levitation, there are also "spiritual"
levitation frauds.
Lipid therapy (
Wiki) -
a controversial medical technique
that entails the injection and expulsion of fats and lipids,
which proponents claim can improve cognitive and memory function
Lunaception (
Wiki)
-
a practice that purports to enable
a woman to know ahead of time when she will be fertile each
month, based on practices found in many non-urban cultures
Lysenkoism (
Wiki)
-
used colloquially to describe the
manipulation or distortion of the scientific process as a way to
reach a predetermined conclusion as dictated by an ideological
bias, often related to social or political objectives.
Magnet therapy (
Wiki) -
Magnetic treatment - water (
Wiki),
gasoline, etc-
a proposed method of reducing the
effects of hard water, as an alternative to water softening, or
improving gas mileage, etc.
Maharishi Vedic (
Wiki)
-
an
alternative medicine whose
purpose is to provide a complementary system to modern,
western medicine,
and that aims to restore balance in the physiology, eliminate
toxins and impurities, and awaken the body's natural healing
mechanisms
Manatee of Helena (
Wiki)
-
a cryptid believed to have once
inhabited the coast of St. Helena
Marcello Truzzi (
Wiki) -
credited with originating the
oft-used phrase "Extraordinary claims require extraordinary
proof."
Mayanism (
Wiki)
-
non-codified eclectic collection
of New Age beliefs, influenced in part by Pre-Columbian Maya mythology - 21
Dec 2012
Melanin theory (
Wiki) -
posits the inherent superiority of
black people and the essential inhumanity and inferiority of
white people
Mental Telepathy (
Wiki)
"... is the induction of mental
states from one mind to another . . .has never been demonstrated
to a greater degree than pure chance under controlled
experimental conditions."
Meridians (Chinese medicine) (
Wiki)
-
According to these practices,
there are channels along which the energy or
qi of
the psychophysical system is considered to flow.
Miasma theory (
Wiki) -
rotting organic matter emitted "bad air" that caused
sickness. Also see
COVID-19\Water
Filter.
Mind over Medicine: Scientific Proof That You Can Heal Yourself by
Lissa Rankin, M.D.
No Wiki page -
Is there scientific proof we can
heal ourselves? Lissa Rankin, MD at TEDxAmericanRiveria2012
- She is basing this on the Placebo Effect (
Wiki).
She also cites Institute of
Noetic Sciences (
see
above) as a scientific proof.
Names that appear on the
book, none of which seem to have scientific credentials:
Kris Carr author of Crazy Sexy Kitchen
Christiane Northrup M.D. author of Women's Bodies...No Wiki
Listing -From her web page: Diplomate, American Board of
Holistic Medicine, 2005
Martha Beck Ph.D. author of Finding Your Way...Wiki -
SARK founder of planetSARK.com
-Wiki
Bernie Siegel, M.D. author of Love, Medicine & Miracles -Wiki -
"Siegel's theories concerning the purported benefits of
psychosocial support therapy remain unproven."
Brené Brown, Ph.D. author of Daring
Greatly:... Wiki
Chris Guillebeau author of the $100 Startup Wiki
Regena Thomashauer author of Mama Gena's School of Womanly
Arts Wiki
Larry Dossey, M.D. author of Reinventing Medicine, Healing
Words, and One Mind - See Prayer below
for info on Dossey
Anita Moorjani author of Dying to be Me - appears on the Wiki
page for Near Death Experience
Johathan Fields author of Uncertainty, founder of the Good Life
Project - no Wiki,
Danielle LaPorte author of The Fire Starter Sessions - holistic
is the first word on her about me page.
Nicole Daedone founder of One Taste (Wiki)
Mirzakarim Norbekov (
Wiki)
-
belief that patients should take
an active role in curing their illnesses
Morphogenesis (Wiki:
Morphogenesis,
Morphogenesis
Field)
An explanation for what
controls the form of growth that was mistaken. We now know
DNA (
Wiki) does
this.
Motionless electromagnetic generator (MEG) (
Wiki)
aka Scalar Waves -
"...a proposed device which is
most notable for claims of
over-unity
operation, a feat which would violate the
first law of
thermodynamics. Allegedly, the device can eventually
sustain its operation in addition to powering a load without
application of external electrical power, by extraction of
vacuum energy from the immediate
environment."
Patent
6362718
Motionless electromagnetic generator, Thomas E. Bearden, Stephen
L. Patrick, James C. Hayes, James L. Kenny, and Kenneth D. Moore
Multi Level Marketing ((
Wiki)
-
compensating promoters of company
products not only for sales they personally generate, but also
for the sales of other promoters they introduce to the company,
creating a downline of distributors and a hierarchy of multiple
levels of compensation in the form of a pyramid.
Multiple Chemical Sensitivity (
Wiki,
Skeptic
magazine)
"MCS is
not recognized as an organic, chemical-caused illness by the World
Health Organization, American Medical Association, or any of
several other professional medical organizations."
Multiple Wave Oscillator - see
Royal Rife
MonaVie (
Wiki)
-
I've seen a lot of pickup trucks
with signs on them for this expensive fruit juice and just based
on that guessed it's a MLM (
Wiki).
Mucoid plaque (
Wiki) -
a term used by some alternative
medicine advocates to describe a combination of allegedly
harmful mucus-like material and food residue that they say coats
the gastrointestinal tract of
most people
Nambudripad Allergy Elimination Technique (
Wiki)
-
NAET draws on ideas from
acupuncture, applied kinesiology, and allergy medicine.
Naturopathy (
Wiki)
focuses on natural remedies and
the body's
vital ability to heal and maintain
itself.
It turns out that some states (
Wiki),
like California, have state licensed Naturopaths (
Wiki,
Official web page).
Part of this is their ability to prescribe lab tests, medicine
and do minor surgery all without doing a residency!
Near Death Experience (
Wiki)
I believe in all cases there
was brain activity, otherwise how could anything be
reported. Clinical death depends on the heart stopping, not
the brain.
Neuralgia-inducing cavitational osteonecrosis (NICO) (
Wiki) -
the practice of recommending the
extraction of endodontically treated teeth for the prevention of
NICO, or any other disease, is unethical and should be reported
immediately to the appropriate state board of dentistry.
New Age spirituality (
Wiki)
-
includes aspects of Occultism, astrology, esotericism,
metaphysics, alternative medicine, music, collectivism,
sustainability, and nature.
Newman, Joseph (
Wiki)
-
He has a web page selling
all matter of "information" on how to build a perpetual motion
machine or free energy machine.
I phoned Mr. Newman on 18 Sep 2013 and
asked if he would post a YouTube showing measurements of
the efficiency.
He said I was stupid and twice said don't waste my
time.
To me this says he knows what he's doing is false,
i.e. he is not deluded.
Comment by Brooke on Newman's Youtube page:
Joseph Newman's Perpetual
Motion Proved
http://www.youtube.com/watch?v=5EL_bLOK8_A
Current for Series Batteries
Yes, the current in a series connected battery is the same
for all cells, that is only half of story.
That's to say what's important is how much power is
delivered to the motor and that's the product of the
current and voltage under load (i.e. it's not correct to
measure voltage when the load is not present.
Talking about how much current a motor uses has no meaning
when efficiency (over unity or perpetual motion) is the
topic under discussion.
Small Motor Water Pump
Efficiency means work out in relation to the input.
In this case it means how much water you can pump (where
the head height or pressure is taken into account) and how
many amp hours of power are input. Not at all what
is shown.
Battery State of Charge
The open circuit voltage of a lead acid battery has only a
minor relationship with it's state of charge. A much
better SOC test would be to place a resistive load on the
battery then measure it's voltage under load. Google
for TS-183B/U
Battery Tester.
Motor Weight & Power Consumption
There's no reason to suppose that the weight of a motor
determines how much current it draws. That's only
valid for a family of motors all designed the same.
The Newman motor is a high voltage low current
design. I predict that the motor is very inefficient
if you look at mechanical power out vs. electrical power
input. But that's not what NBS tested, rather they
looked at electrical power output vs. electrical power
input.
Patent Refused because it failed test.
When NBS tested the motor in June 1986, Google NBSIR 86-3405
Report of Tests on Joseph Newman's Device, it showed
an efficiency between 27% and 77%, nowhere near over 100%.
Efficiency (Over Unity) not measured
In none of the videos I've seen on YouTube has the
efficiency been measured. This is also true of all
the Bedini motor YouTube videos. I mention this
because in both cases the "motor" efficiency is never
measured (at least I haven't seen it done, if you
can provide a link please let me know).
Have Fun,
Brooke Clarke (easy to find using Google)
|
Nucleonic energy (
Wiki) -
is energy obtained from the
angular momentum of the nucleons (protons and neutrons) within
an atomic nucleus. Whereas gravity dictates that the spin axes
of nucleons are oriented towards the center of Earth, nucleonic
energy allows for the axes to be reversed, or directed in any
desired direction, in order to produce all forms of motion. This
allows the Magnus effect to take effect on the nucleon, and
presumedly cause levitation.
Numerology (
Wiki)
-
any of many systems, traditions or
beliefs in a mystical or esoteric relationship between numbers
and physical objects or living things
Neurocalometer (see
Chiropractic) -
A thermocouple temperature sensor
which sold for more than the price of a house
Oberon (device) (Wiki) -
Claims to diagnose organs by using
headphones and electrodes
Occultism (
Wiki)
can involve such subjects as magic
(alternatively spelled and defined as magick), alchemy,
extra-sensory perception, astrology, spiritualism, lithomancy,
and numerology
Orgone energy (
Wiki) -
a massless, omnipresent substance,
similar to
luminiferous aether, but more
closely associated with vital, living energy than inert matter
Orthomolecular medicine (
Wiki)
-
a form of complementary and
alternative medicine that seeks to prevent or treat diseases,
with a goal of attaining optimal health, using nutrients
prescribed as dietary supplements or derived from diets
Oscillococcinum (
Wiki) -
a homeopathic alternative medicine
marketed to relieve influenza-like symptoms
Ouija
Board (Wiki) -
a flat board marked with letters,
numbers, and other symbols, supposedly used to communicate with
any spirits
Ousiograph (
Wiki)
-
a fictitious device purported to
detect messages that are sent directly to one's brain to "direct
them" and possibly control their behavior for an undetermined
purpose
Over Unity (
Wiki)
aka Perpetual motion -
a machine that produces more
energy than it consumes, i.e. a free energy device
Paranormal (
Wiki)
-
a general term that designates
experiences that lie outside "the range of normal experience or
scientific explanation" or that indicates phenomena that are
understood to be outside of science's current ability to explain
or measure
Past Life -
Patrick Flanagan (
Wiki) -
has promoted piramid power, the
Neurophone an electronic nervous system excitation device that
transmits sound through the skin directly to the brain
Perpetual motion (
Wiki -
History
of Perpetual Motion Machines) -
a machine that can run without
external power input (at or over unity)
Phrenology (
Wiki)
-
a hypothesis stating that the
personality traits of a person can be derived from the shape of
the skull.
Physiognomy (
Wiki)
-
the assessment of a person's
character or personality from their outer appearance, especially
the face
Physioscan (
Wiki)
-
system makes use of
electromagnetic radiation to provide a rapid analysis of the
energy in the body's organs and tissues
Placebo (
Wiki)
-
YouTube _
Steven Novella - Placebo medicine
the point he's making is the there's no physical
(clinical) improvement, it's just that the subject feels better.
So,
claiming your "cure" works as well as a placebo means your "cure"
does not work at all.
Pyramid Power (
Wiki) -
alleged supernatural or paranormal
properties of the ancient Egyptian pyramids and objects of
similar shape
Poltergeist (
Wiki)
-
denotes an ostensibly paranormal
phenomenon attributed to the presence of an invisible entity
that manifests itself by creating noise or moving objects
Polygraph (lie detector) (
Wiki) -
an instrument that measures and
records several physiological indices such as blood pressure,
pulse, respiration, breathing rhythms/ratios, and skin
conductivity while the subject is asked and answers a series of
questions, in the belief that deceptive answers will produce
physiological responses that can be differentiated from those
associated with non-deceptive answers.
Ponzi scheme (
Wiki)
-
a fraudulent investment operation
that pays returns to separate investors from their own money or
money paid by subsequent investors, rather than from any actual
profit earned. For example see Social Security System (
Wiki)
where the benefits are from subsequent employees.
(2016) It turns out that according to
Modern
Monetary Theory the government can just write the benefit
checks without collecting any money.
Power therapies (
Wiki) -
a term coined by professor Charles
Figley, Florida State University Traumatology Institute, to
group several novel treatments of post traumatic stress. Figley
aimed to identify the "active ingredients" of these therapies —
EMDR, TFT, EFT, VK/D,
and TIR.
Prayer (
Wiki) -
a form of religious practice that
seeks to activate a volitional connection to some greater power
in the universe through deliberate practice
As evidence for the efficacy of prayer (
Wiki)
I was referred to the book: "Healing Words The Power of Prayer
and the Practice of Medicine by
Larry Dossey.
Here are a number of scientific studies of how well prayer words
and all of the them say it does not work.
Lancet - "Music, imagery,
touch (MIT) and prayer as adjuncts to international cardiac
care: the Monitoring and Actualization of Noetic Trainings
(MANTRA) II randomized study" - "Neither masked prayer nor MIT
therapy significantly improved clinical outcome after elective
characterization or per-cutaneous coronary intervention."
M
ayo Clinic
Proceedings -
Intercessory
prayer and
cardiovascular disease progression in a coronary care unit
population: a randomized controlled trial.
"As delivered in this study, intercessory prayer had no
significant effect on medical outcomes after hospitalization
in a coronary care unit."
Use of
Complementary and Alternative Medical Therapies by Patients
Referred to a Fibromyalgia Treatment Program at a Tertiary
Care Center
Archives of Internal
Medicine - The Effects of Prayer: Scientific
Study, 2002;
162: 1420
American Heart
Journal - Study of the Therapeutic Effects of Intercessory
Prayer (STEP) in cardiac bypass patients: A multicenter
randomized trial of uncertainty and certainty of receiving
intercessory prayer, April 2006 (Vol. 151, Issue 4, Pages
934-942) -
Intercessory
prayer for the alleviation of ill health. Cochrane Database Syst Rev. 2009 Apr
15;(2):CD000368. doi: 10.1002/14651858.CD000368.pub3.
AUTHORS' CONCLUSIONS: These findings are
equivocal and, although some of the results of individual
studies suggest a positive effect of intercessory prayer,the
majority do not and the evidence does not support a
recommendation either in favor or against the use of
intercessory prayer. We are not convinced that further trials
of this intervention should be undertaken and would prefer to
see any resources available for such a trial used to
investigate other questions in health care.
Precognition (
Wiki)
is a
type of extrasensory perception that would involve the acquisition
or effect of future information that cannot be deduced from
presently available and normally acquired sense-based
information or laws of
physics
and/or nature.
Primal therapy (
Wiki) -
a trauma-based psychotherapy
created by Arthur Janov, who argues that neurosis is caused by
the repressed pain of childhood trauma
Pseudoscience (
Wiki) -
a methodology, belief, or practice
that is claimed to be scientific,
or that is made to appear to be scientific, but which does not
adhere to an appropriate scientific methodology, lacks
supporting evidence or plausibility, or otherwise lacks
scientific status
PSYCH-K (
Wiki)
-
stands for Psychological
Kinesiology. It is a self-help tool developed by Robert M.
Williams in 1988 with the goal of changing beliefs in the
subconscious mind
Psychic surgery (
Wiki) -
a procedure typically involving
the supposed creation of an incision using only the bare hands,
the supposed removal of pathological matter, and the seemingly
spontaneous healing of the incision.
Psychoanalysis (
Wiki) -
a body of ideas developed by
Austrian physician Sigmund Freud and continued by others. It is
primarily devoted to the study of human psychological
functioning and behavior, although it can also be applied to
societies.
Karl Popper (
Wiki)
points out that it has no predictive value, but can claim after
something happened why it happened.
Psychokinesis (PK) (
Wiki)
"...refers to the direct influence
of mind on a physical system that cannot be entirely accounted
for by the mediation of any known physical
energy. Most scientists believe that the
existence of psychokinesis has not been convincingly
demonstrated"
psyco (psico?) medical diagnosis (Wiki) -
a machine that uses the resonant
frequencies of the organs to diagnose whatever ails you
Qi (Ch'i) (
Wiki) -
an active principle forming part
of any living thing
Qigong (
Wiki)
The main arguments from the view
of skeptics against the correlation between qigong practices and
health-related results are:
- The existence of qi, or any form of vitalism, has not been independently
verified in a experimental setting. Such a concept is not
recognized in the biological sciences.[85]
- Demonstrations in martial arts such as breaking hard objects
with strikes can be fully explained using physics, without
reference to the concept of qi.[86][87]
- Reported claims of supernatural abilities appear to be
tricks more suited to magic shows than to any genuine
scientific discipline.[7][88][89][90][91][92]
- Personal benefits for some qigong masters might have
provided them with an incentive to exaggerate their claims
Be
Wary of Acupuncture, Qigong, and "Chinese Medicine"
Quantum mysticism (
Wiki)
-
a set of metaphysical ideas and
associated practices that supposes a consciousness,
intelligence, or otherwise mystical component to the experience
of existence or reality at the quantum scale
Psychokinesis (PK, TK) (
Wiki) -
a term coined by publisher Henry
Holt
to refer to the direct influence of mind on a physical system
that cannot be entirely accounted for by the mediation of any
known physical energy
Radionics (
Wiki)
-
the use of blood, hair, a
signature, or other substances unique to the person as a focus
to supposedly heal a patient from afar
Red Mercury (
Wiki) -
"Red mercury is a discredited substance, most likely
a hoax perpetrated by con artists who sought
to take advantage of gullible buyers on the black
market for arms."
Reincarnation (
Wiki) -
believed to occur when the
soul
or
spirit,
after the
death of the
body,
comes back to Earth in a newborn body
Religion
Reiki (
Wiki)
Reiki
Is Nonsense
Remote Viewing (RV) (
Wiki)
"... is the practice of seeking
impressions about a distant or unseen target using paranormal
means . . . constitutes pseudoscience" movie:
Suspect Zero
Rex Gilroy (
Wiki)
-
His work has focused on yowie reports, 'out of place'
animals, UFOs, and propositions regarding a 'lost' Australian
civilization
Royal Rife Frequency Healing (
Wiki) - aka
Resonant therapy
known for his belief that he could
observe and render inert a number of viruses which he thought
were causal factors in several diseases, most notably cancer
Ruggero Santilli (
Wiki) -
a large amount of his work has
dealt with his so-called hadronic mechanics, a novel
fundamental theory of the universe which is not generally
accepted by the physics community
Séances (
Wiki)
-
an attempt to communicate with
spirits
Scalar field theories (
Wiki)
-
although this is a valid field
theory, the term is often used in conjunction with over unity
and other quack machines
Shamanism (
Wiki)
-
a range of beliefs and practices
regarding communication with the
spiritual world
Scientology (
Wiki) -
Religion based on science fiction
Solfeggio Frequencies (no Wiki)
Based on "Healing Codes for the Biological Apocalypse"
& makes use of "Pythagorean skein numbers" (i.e. nonsense)
UT – 396 Hz –
Liberating Guilt and Fear
RE – 417 Hz – Undoing Situations and Facilitating Change
MI – 528 Hz – Transformation and Miracles (DNA Repair)
FA – 639 Hz – Connecting/Relationships
SOL – 741 Hz – Awakening Intuition
LA – 852 Hz – Returning to Spiritual Order
Spirits (Wiki)
-
similar to the
soul taken to be
the seat of the mental, intellectual and emotional powers
Stargate Device (
Wiki)
is a portal
device within the Stargate fictional universe that
allows practical, rapid travel between two distant locations.
The devices first appear in the 1994 Roland Emmerich film Stargate,
and thereafter in the television
series Stargate SG-1 and its spin-offs.
Works by means of an unstable vortex energy field.
Subluxation aka Vertebral subluxation (
Wiki)
-
a term that is commonly used by
chiropractors to describe signs and symptoms of the spinal
column.
Tarot (
Wiki)
Tarot Cards (
Wiki)
Occult and fortune telling are
just a couple of the applications of the cards.
Telekinesis (TK)
Templeton Foundation (
Wiki)
...recipients of large
grants from the Templeton Foundation sometimes write what the
Foundation wants rather than what they believe.
Therapeutic touch (
Wiki)
-
Practitioners of therapeutic touch
claim that by placing their hands on, or near, a patient, they
are able to detect and manipulate the patient's putative energy field. also
see Laying on of hands
Third Eye (
Wiki)
-
a spiritual concept associated
with the ajna chakra
Thrive the movie (
IMDB)
plain old fashioned pseudo
science.
"It really doesn't take any
more than a passing familiarity with High School level physics
to understand that the theories being peddled here are insane"
Timewave zero (
Wiki)
-
a numerological formula that
purports to calculate the ebb and flow of "novelty", defined as
increase in the universe's interconnectedness, or organised
complexity,[57]
over time
Traditional Chinese
Medicine (TCM) (
Wiki)
-
Transcutaneous electrical nerve stimulation
(TENS) (
Wiki)
-
. . . is the use of electric
current produced by a device to stimulate the nerves for
therapeutic purposes. (also see
EMS)
Transhumanism (
Wiki) -
often used as a synonym for "human
enhancement".
Ufology (
Wiki)
-
does not represent an academic
field of research and is widely described as a pseudoscience
Urine therapy (
Wiki) -
In alternative medicine, the term
urine therapy (also urotherapy, urinotherapy
or uropathy) refers to various applications of human
urine for medicinal or cosmetic purposes, including drinking of
one's own urine and massaging one's skin with one's own urine
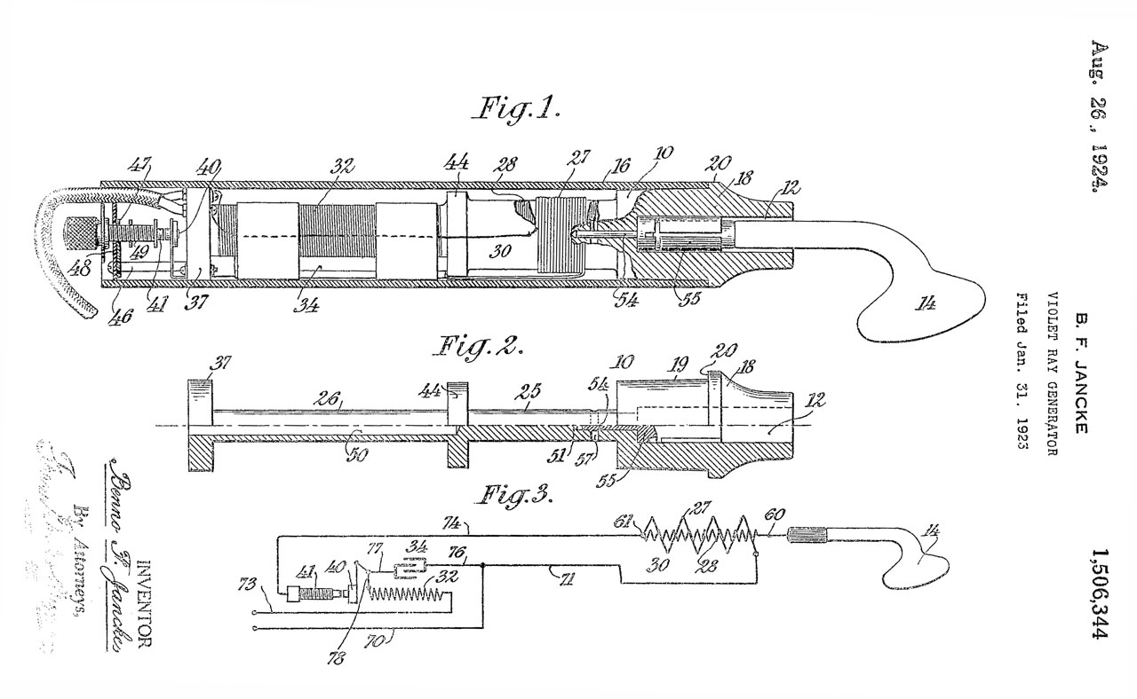
Violet wand Violet Ray (
Wiki)
See Below
A violet ray is a supposed medical
device claimed to be useful in
electrotherapy
1524876
HOLDER FOR TERMINALS OF VIOLET-RAT APPARATUS
Vitalism (
Wiki)
-
Vortex Energy - see Stargate Device, one of the pseudo science
words used in areas like zero point energy
Water-fuelled cars (
Wiki)
-
an automobile that supposedly
derives its energy directly from water
William C. Rader (
Wiki) -
has refused independent
examination and testing of his product by legitimate stem cell
researchers
Zero-Point Energy (
Wiki)
(aka: Over Unity (
Wiki),
Perpetual motion (
Wiki))
-
hypothetical machines that
operate or produce useful work indefinitely and, more generally,
hypothetical machines that produce more work or energy than they
consume, whether they might operate indefinitely or not.
Hoax Ideas
Dihydrogen monoxide (
Wiki)
-
DHMO.org -
Facts -
Environmental Impact
-
Friends of
Hydrogen Hydroxide -
has many very dangerous properties
including death. Many petitions are out to outlaw this
chemical.
Intelligent falling (
Wiki)
-
a pseudo scientific supernatural
explanation of the effects of gravity
Turboencabulator (
Wiki) (
my Truboencabulator page) -
a fictional machine
Patents by Manes E. Fuld (Voltamp Co.)
It appears that Manes E. Fuld came up with a number of novel
inventions. Don't know if he was the first to use a deep
draw process in general, but probably in relation to making
battery cans.
Medical
620027
Induction Coil, Manes E. Fuld, Feb 21,1899,
336/75 ;
336/196; 336/213; 336/219 - "medical coil" includes brass or
copper tube used to regulate the secondary voltage.
677652
Portable Electric Battery, Manes E. Fuld, July 2, 1901,
607/65
; 307/132R
D29977 Design
for a Current-Regulator Case, , Manes E. Fuld, Jan 10, 1899,
D13/125
; D8/DIG.2 - for use with medical equipment.
612326
Electric Battery, , Manes E. Fuld, Oct 11, 1898,
429/99 -
packaging No. 6 batteries
627917 Dry
Cell, Manes E. Fuld, Jun 27 1899, 429/134; 429/65; 429/171 -
terninals labeled Z and ?C? (not + and -)
Small Electric Motors (Sold to a
guy named Lionel)
837213
Electric Motor, Manes E. Fuld, Nov 27, 1906,
310/244 ;
310/46 - very similar in feel to the Toy
Motor
Kit.
840451 Commutator, Manes E. Fuld, Jan 1, 1907,
310/235 ;
29/597
Battery
612326 Electric Battery, M.E. Fuld, Oct 11, 1898,
429/99
- holding a number of dry cells for easy replacement
627917 Dry Cell, Manes E. Fuld, June 27, 1899,
429/134 ;
429/171; 429/65 - an alternate way of making a No. 6 dry cell
706340 Battery, WILLIAM L. PANIKOFF, Aug 5, 1902,
429/68 ;
429/113; 429/150
1439956 Battery Cell, Manes E. Fuld, Dec 26, 1922,
429/171
- Method of forming the Zinc for a No. 6 dry cell using a deep
draw process. Prior methods were using sheet metal and
soldering the seam or a thin wall casting which at that time was
not reliable.
627408 Packing Case for Electric Cells, Manes E. Fuld, Jun 20,
1899,
429/96 ; 324/158.1 - easy to replace each cell
960222 Electric Battery Cell, Manes E. Fuld, - replaces No. 6 dry
cell screw thread and thumbnuts with bolts to allow use for
mounting to board
Headlight
852265 Headlight, Manes E. Fuld, April 39, 1907,
362/308
- for use by doctors. Light with lens at center of forehead
and light not in doctor's eyes.
479266
Game Apparatus, Filed: 1892, Pub: July 19, 1892, William Fuld (a
different guy) - Ouija Board (Wiki)
General Patents
Class Numbers
5 Beds
43 FISHING, TRAPPING, AND VERMIN DESTROYING
54 HARNESS FOR WORKING ANIMAL
213 RAILWAY DRAFT APPLIANCES
310 ELECTRICAL GENERATOR OR MOTOR STRUCTURE
361 ELECTRICITY: ELECTRICAL SYSTEMS AND DEVICES
429 CHEMISTRY: ELECTRICAL CURRENT PRODUCING APPARATUS, PRODUCT,
AND PROCESS
607 SURGERY: LIGHT, THERMAL, AND ELECTRICAL APPLICATION
Induction (Ruhmkorff)
Coils
Wiki:
Heinrich Daniel Ruhmkorff
23272 Improved electro-magnetic medical
apparatus, Heinrich
Soltmann, Mar 15, 1859,
607/65 ;
338/83; 361/268
76654
Induction Coil Apparatus and Circuit Breakers, Charles Grafton
Page (
Wiki,
Hall of
Fame), Apr 14, 1868 - sold to Western Union for $25,000 in
52054 The induction-coil, instead
of being made movable upon the magnet
717203
Induction Coil or Like Instrument,
Otto
H. Huebel,
Manhattan
Electrical Supply Co, (Mesco) 1902-12-30, -
72616 This compound coil is made
like any ordinary induction-coil
74905 The inner end of the
induction-coil are surrounded by the prime coil
76654 Improvement in Induction Coil
Apparatus and Circuit Breakers, Charles Grafton Page, Oct 10,
1871,
361/268 ; 335/91; 336/150; 336/234; 336/65
The induction-coil consists of a metallic
conductor, copper is generally preferred
RE4588 Improvement in Induction Coil Apparatus
and Circuit Breakers, Priscilla Webster Page (WU Telegraph Co),
78495 Energizing the primary wire
of the induction-coil, the iron core becomes magnetized
90626 Making use of an
induction-coil
99414
ELECTRO-MAGNETIC MACHINES FOR MEDICAL PURPOSES
115518
ELECTRO-MAGNETIC MACHINES 607/115
116110
ELECTRO-MAGNETIC MEDICAL APPARATUS 607/115
116695
ELECTRO-MEDICAL APPARATUS 607/115
125078
ELECTRO-MAGNETIC APPARATUS 607/115
129752
ELECTRO-MAGNETIC APPARATUS 607/115
171934
ELECTRO-MEDICAL APPARATUS 607/115
175111
MAGNETIC MACHINES 607/115
246037
COMBINATION-BATTERY 607/115
263700 Electro-Medical Induction Coil
297924 Apparatus for the Production and Utilization of Secondary
Electric Currents
320547 Medical Battery, Otto Fleming, Jun 23, 1885,
429/68
; 429/150; 429/97; 607/65; 607/66
326270 Induction Coil
330531 Medical Induction Coil
332559 Induction Coil
342553 Induction Coil
352084
Medical Induction Coil, Luis Drescher, 1886-11-02,
350130 Induction Coil
352105 Induction Coil
363304 Pocket Battery
213/101
372168 Coin Operated Induction Coil
372441 Coin Operated Induction Coil
373088 Therapeutic Battery
54/51
374495 Coin Operated Induction Coil
385927 Coin Operated Induction Coil
395932 Medical Battery
43/18.1R
399591 Coin Operated Induction Coil
414266 Induction Coil
414626 Induction Coil
415345 Electro-Medical Battery
152/33 ; 152/1; 152/96;
301/104; 301/105.1; 301/108.5; 301/67; 301/95.107
416762 Induction Coil
419731 Portable Faradic Battery
429/164
429447 Medical Battery
192/73
432050 Induction Coil or Transformer
446730 Induction Coil
456746 Medical Induction Coil
463945 Therapeutic Electric Battery
5/617
464677 Electrical Transformer
524636 Induction Coil
535917 Induction Coil
RE10949 Coin Operated Induction Coil
548126 Electrical illumination
575772 Roengton Ray Tube
586622 Induction Coil
605174 Induction Coil
617067 Helix for Electrical Device
620027 Induction Coil
647687 Electrotherapeudic Device
607/1 ; 422/186.15
669968
Induction-coil,
Leonidas
G Woolley, 1901-03-12,
607/65 361/232 200/85R 361/268 -
Electrotherapeutic Apparatus
684326 Induction Coil for Medical Apparatus
733343 UV Rays
733948 Magneto Electric Machine
734197 a split-coil improvement
(1903)
750039
751411 System of Lighting by Gas or Vapor Electric Lamps
763510 Magneto Electric Generator
796114
ELECTROTHERAPEUTIC
APPARATUS
796851 RE12805 Ruhmkorff Coil
335/197
reissue changed to
361/268 ; 200/250
803180
MEANS
FOR PRODUCING HIGH POTENTIAL ELECTRICAL DISCHARGES
802373 Magneto Dynamo Electric Machine
861783 Interrupter for Electric Circuits
863955
889542
Electromedical Battery, E.T. Otto (Otto Mfg Co), Jun 2, 1908,
607/144; 312/290; 429/163
956168 System of Lighting by Gas or Vapor Electric Lamps
959166 Magneto Electric Generator
1003634 Induction Coil
1029388
Electromagnetic Apparatus, J. McIntyre, Jun 11 1912, 335/235;
335/266
1092417 Induction coil comprising a
soft iron core (Mar 5, 1913)
1307093 Electric Inductance Apparatus
1118004
1125913
Electric Machine, John B. Roche, Jan 19 1915 -
1305725
Electric Massage Machine, C.W. Kent, Jun 3, 1919, 601/20; 336/117
- looks like flashlight with roller, one "D" cell.
1547180 Electric Lamp
1723261 Coil and Method of Winding Same
1482891 Faradic medical apparatus, Ghegan
John Joseph, Feb 5, 1924, 361/268,
336/90, 607/65
Generators
There are at least three variations of these hand crank horeshoe
magnet machines: the Davis & Kidder, The Burnap & Bradshaw
and the Marshall.
11415
Magnetoelectric Machine, Ari Davis, Aug 1 1854, 310/71 -
23214
Magneto-electric Machine, Burnap & Bradshaw, Mar 8 1859,
310/75A - contains a wind up spring and speed regulator
25023
Electric Machine, Moses Marshall, Aug 9 1859, 310/70R - Includes
provision for different waveforms +, -, +/-
Moses Marshall Electric
Machine

|

|
Lever at left has two
purposes:
1) control the strength of the horseshoe magnet hence the
output
2) when fully pushed in acts as a keeper to preserve the
magnet

|
Keeper shown fully to the
left, i.em maximum output.
The small knob marked "A" is the subject of the patent.
It controls one of the three commutators and hence the
output voltage waveform type.

|
Other generators
321278
Exercising Machine, G.P. Clarke & G. Harsin, June 30, 1885, -
the exercising motion generates electricity that's fed back to the
hands of the person.
446661
Magneto-Electric Machine, George P. Clarke, Feb 17, 1891, - spring
powered
155376
Magneto-Electric Machines, O. Heikel, Sep 29 1874,
310/75B
;
310/154.49;
310/191;
310/70R
- horseshoe magnet with 4 pole armature
180082
Magneto-Electric Machines, Eward Weston, Jul 18, 1876, 310/46 -
generator - electromagnetic filed coils & 6 poles
RE8141
Magneto-Electric Machines, Eward Weston, Mar 26 1878, 310/46 -
189997 Magneto-Electric Machines,C.F. Brush, Apr 24 1877,
310/40R
310/268 310/46 -wire wound in grooves in iron
Also see Spark Museum:
Magneto-Electric
Therapy Machines & Other "Quack" Medical Devices -
Violet Ray
YouTube: Why
Did The Supreme Court Make Scams Legal?, 14:54 - "I AM"
Activity (Wiki)
- United States v. Ballard (Wiki)
-
647687
Electrotherapeutic (chair)
684326
Vacuum Electrode for Therapeutic Purposes, R.H. Wapper, Oct 8 1901
-
763183
Ultra-violet-ray Electrode,
313/307 ; 313/112; 313/245
771700
Vacuum Tube, H. Boehm & F.H. Wappler (Wappler & American
X-Light Mfg Co) Oct 4 9004 -
789040
Electrotherapeutic Apparatus - Whilmhurst machine powers the glass
violet devices
796114
Electrotherapeutic Apparatus,
601/11 ; 15/246.3; 15/257.1;
601/16; 607/90; 607/94
1303273
Electrotherapeutic Device - similar to a dental X-ray cachine
1317278
Electrotherapeutic Apparatus, - similar to the classis design, but
two side by side cylinders
1338812
Electrotherapeutic Apparatus, W.L. Carlson & E.C. Hanson, May
4 1920 -
1345537
Electrotherapeutic Apparatus - HV supply in wooden box
1390429
Electride, J Stanley,
1435055
Electrotherapeutic Apparatus - case with different electrodes, but
not single cylinder hand held HV supply

|
|
| 1537012
Coil support for High Voltage Devices, B.F. Jancke (no
assigned), May 5, 1925, 607/150;
242/125.2; 336/66; 336/90; 336/107; 336/192 |
1506344
Violet Ray Generator, B.F. Jancke (Eastern Laboratories,
Inc), Aug 26 1924
As received the line cord has disintegrated and needs to
be replaced. The outside of the glass has a coating that's
turned brown and needs cleaning. The metal part is a
direct electrode, not an extension.

|
After cutting line cord and
pulling the sleeve off.

|
The resistance across the
line input (buzzer adj screwed down to close contacts)
77 Ohms.
Reisistance from common line input to HV output is 82
Ohms.
My guess is that the primary (10 Turns you can see) is
heave wire and that the secondary is very fine wire ( 36
AWG was common then). 414.8 Ohms per 1,000 feet or
about 200 feet.
The secondary coil rund the full length between the wood
disk on the right and up an dunder the wood on the left on
a 1" former. If a single layer that would be 755
turns. Bare 36 AWG is 0.005" diameter so 755 turns
would be about 4 inches.
|

|
It's 3-3/4" between the two
wood disks and the secondary wire may be larger than 36
AWG.
|
1524876
Holder for Terminals of Violet Ray Apparatus, T. Mueller, et al
(Master Electric Co), Feb 3 1925 - the classic single cylinder
hand held HV supply
1624951
High-Tension Circuits, H.B. Holthouse,
1728080
Electrotherapeutic Apparauts - brush electrode
1845376
Generator of Ultra Violet Rays, H.W. Weld Feb 16 1932 - looks like
regular filament light bulb w/special glass formula
2000204
Vibratory Current Interrupter (for violet ray apparatus), W.A.
Whipple - cord end of cylinder
2286110
Diathermy Apparatus (includes violet rays),
2323529
Apparatus for Violet Ray Treatment, C.G. Filzer,Aug 24 1943
2327346
Therapeutic Lamp, Frank Furedy (Sun Kraft Inc),
2348617
Ultraviolet Ray Generator, Frank Furedy (Sun Kraft Inc), May 9
1944 - parabolic trough reflector
2383421
Ultraviolet Ray Applicator, M.I. Schultz, Aug 21 1945 -
2397757
Hairbrush, H. Schwedersky, Apr 2 1946 - w/UV light
2439787
Ultraviolet Ray Generator, C.E. Atkins (Sun Kraft Inc), Apr 20
1948
2460707
Electrotherapeutic Apparauts, Thomas H. Moray, Feb 1 1949 -
2590601
Apparatus for Violet Ray Treatment, C.G. Filzer, Mar 25 1952,
2666436
Ultraviolet Ray Applicator, A.F. Pesce, Jan 19 1954
Chloride of Silver Dry Cell Battery Company
Dec 3 1887 (2)
May 7 1889
May 14 1889
Jun 11 1889 ?
405196
Galvanic Battery, Jhon A. Barrett,
429/94;
429/119
-
Jly 30 1889
Nov 5 1889 (2)
Feb 18 1890
421801
Electric Battery, Charles Williams & Gustav A. Leibig,
429/175;
429/185
- batter seal
Sep 30 1890
437469
Galvanic Battery, Gustav A. Leibig & Charles Williams, 429/164
- high current chloride-of-Silver cell
Apr 21 1891
450840
Galvanic Battery, Charles Williams,
429/160;
429/168
-
Jan 19 1892
467338
Rheostat,
338/140;
338/190
-
May 24 1892
475528
Rheostat,
428/457;
106/287.26;
106/287.35;
252/503;
427/103;
427/205
-
May 24 1892
475529
Rheostat,
338/126;
338/140;
338/157;
338/202;
338/308
-
Jly 26 1892
479541
Sealed Battery-Cell or Similar Articles,
429/174
- sealed glass test tube
Dec 20 1892
488299
Induction Apparatus,
361/268;
307/17;
307/106;
307/132.00R;
335/266;
607/65
- Faradic type machine with three coils 120 degrees apart
Jun 18 1895
541136
Rheostat or other Circuit-Controller,
338/140;
338/170;
338/190;
338/202
-
Feb 18 1896
554759
Electric Battery, Charles Williams,
429/99;
429/123
- battery of replaceable cells
Feb 18 1896
554760
Electric Battery, Charles Williams,
429/100
-
Feb 18 1896
554761
Electric Battery and Method of Sealing Battery-Cells,
429/99;
429/174
-
Dec 1 1896
572285
Battery-Cell,
429/185;
429/184
- perfect seal
Oct 11 1898
Jan 10 1899
Feb 21 1899
Jun 27 1899
Jly 2 1901
Miscellaneous
1272469
Electrotherapeutic instrument, Tiodolf Lidberg, 1918-07-16, -
internal body probe - heater & thermostat
1279111
Dilator,
John G
Homan,
Electrothermal
Co., Sep 17, 1918, 606/197; 219/227; 219/238; 219/523;
607/113 - heater inserted into body cavity cures everything. see
2777445 below.
HG Fischer and Co
1634627
Spark gap,
Howard
H Osborn,
HG
Fischer and Co, 1927-07-05, - part of electro-therapeutic
equipment
2071561
High frequency apparatus,
Peter
P Musket,
Donald
E Richardson,
HG
Fischer and Co, 1937-02-23, - Diathermy machine
Intra-Therm, Des Moines, Iowa
1888408
High frequency oscillatory circuit for therapeutic purposes,
Paul C
Rawls, T
echnical
Equipment Co, 1932-11-22, - twin triodes in push-pull
1945867
High frequency oscillatory apparatus for electrotherapeutic and
sterilization purposes,
Paul C
Rawls,
echnical
Equipment Co, 1934-02-06, -
College of Electronic Medicine, San Francisco - also made the
Short Wave Oscillocast Diathermy machine.
2438605
Electrical therapeutic device,
Fred J
Hart,
College
of Electronic Medicine, SF, 1948-03-30, - AC magnetic field,
bullet shaped, with motor
2503668
Electrical therapeutic device,
Fred J
Hart, 1950-04-11, - HF, low power, with motor
2522269
Electrical therapeutic device,
Fred J
Hart, 1950-09-12, - AC magnetic field, no motor
2545087
Electrical therapeutic device,
Fred
J Hart,
Electronic
Medical Foundation, 1951-03-13 - adjustable HF (Diathermy
Wiki) low
power, with motor
2667866
Electropad,
Fred
J Hart,
Electronic
Medical Foundation, 1954-02-02, - electric heating pad
2777445
Electrical therapeutical device for internal application,
Fred
J Hart,
Electronic
Medical Foundation, SF, 957-01-15 - probe with heater and
thermal switch.
Pocket Battery No. 1
YouTube: Personal Collection Grab Bag #3, 19:26 -
Hawaii Overprint Bill, Tea Brick, Viewmaster
@
9:19
Pocket Battery No. 1 - smaller than normal Faradic machines.
@
15:14
Wallace
& Tiernan Water Quality Comparator
221291
Elecro-Magnetic Machine, Luis Drescher, 1889-11-04, -
379598
Plug for making electrical connections, Gustav Otto, 1888-03-20, -
a sheet metal form of the headphone
tip plug.
Dr Jerome Kidders Celebrated
Electro-Magnetic Machine
This was on eBay with a number of patent dates visible.
Dr. Jerome Kidder inventor
| Dates |
Patent
|
| Sep 18, 1860 |
30068
Electro-magnetic apparatus, J. Kidder, - relates to how
the inner coil with big wire is connected to the outer
fine wire coil. |
| Mar 15, 1864 |
41927
Magneto-Electric Machine, J. Kidder - complex switching
& core that can be pulled in or out. |
| Jan 16, 1866 |
52054
Induction Coil, J. Kidder, - fine wire wound at the center
of cylinderical electromagnet, uses hollow metal tube to
control output. |
| Sep 18, 1866 |
58105
Electro-magnetic apparatus, J. Kidder, - two side by side
coils |
| Aug 10, 1869 |
93625
Electromagnetic Machine, J. Kidder, 361/268;
336/107; 335/270; 336/182 - looks like the eBay
item. more energy efficient for longer battery life (an
eBay ad shows a 115 VAC line cord?)
|
| Jan 4, 1876 |
RE6840 Electromagnetic Machine, J. Kidder 361/268 336/67
335/252 336/225 - based on 93625 |
---------------------------
J. Kidder also has many related
patents.
175111
Magnetic Machine, J. Kidder, March 31, 1876 - coil is hinged and
the hinge acts as on/off switch.
182203
Electrical Apparatus, J. Kidder, Sept 12, 1876 - a series of
batteries to connect directly to human body
258857
Galvanic Battery, J. Kidder (Dec.d), May 30, 1882 - similar to
182203
269794
Electro Medical Coil, J. Kidder (Dec.d), Dec 26, 1882 -
Interesting Faradic Instrument
7 Oct 2007 - eBay.UK has a "THE
TONISATOR - CLOCKWORK ELECTRIC SHOCK QUACK MACHINE" offered by
lectrolove.
which is a currently made Faradic Quack medical instrument.
Things observed from the photos:
- on the back of the panel there are a couple of TO-3 cased
transistors -maybe bushings?
- on the back of the panel the wiring has plastic insulation -
lacquered?
- on the back of the panel the universal joint is from a
modern catalog of small parts - still making it?
- on the front of the box the latches are modern stamped metal
& the latches and handle have matching "antique" finish -
when introduced?
- on the top of the panel the electromagnet wire has modern
insulation when enamal introduced? (there's also a
broken part)
Bedini Motor (Wiki)
A decade or more ago (now 2024) there were many YouTube
videos on the Bedini motor. When I asked him for
mechanical power output I was brushed off. Note the use of
"motor" is not applicable if the shaft does not produce any
power. The mechanical rotation is just a switch. The
waveform associated with switching inductors is very nonlinear and
so it's very difficult to make measurements of electrical voltage,
current, power &Etc using a "meter". An oscilloscope can
make measurements but it would need to be connected to a computer
to get meaningful information.
YouTube: Electric
Motor Secrets, 2:26:32 - starts off being reasonable,
but then forgets things like measuring power and goes into tinfoil
hat territory.
Some of the patents mentioned (but with the audio out of sync with
the video by a few minutes making it near impossible to follow):
312178
Electromagnetic Toy Swing, Murry Bacon, 1885-02-10 - inefficient
(see Electromagnetic
Toy Engine)
1347002
Electric impulsion-motor, Baule
Marie Emile Alfred, 1920-07-20, - Radial 3 solenoid engine
with crankshaft
3783550
Novelty Electric Motor by Roger Wayne Andrews, Jan 8,
1974, 446/484 - See Joule
Thief\Novelty Electric Motor
4024421
Magnetically operable engine or power plant, Benjiman
R. Teal, 1977-05-17, - 2 solenoids at right angles.
4093880
Magnetically operable engine, Benjiman
R. Teal, 1978-06-06, - Radial 4 solenoid engine with
crankshaft
6545444
Device and method for utilizing a monopole motor to create back
EMF to charge batteries, John
C. Bedini, Bedini
Tech Inc, 2003-04-08, -
As far as I can tell this is a scam.
10059472
Circular mass accelerator, Jonathan
Yaney, Spinlaunch
Inc, 018-08-28, -
The patent, and the YouTube videos, show the projectile (105) as a
rocket shape with tail fins.
When the projectile is released it will have two types of motion,
the one mentioned in the patent at a velocity that depends on the
length and RPM of the throwing arm and in addition the projectile
will be spinning head over heals at the RPM of the throwing
arm. If the projectile was a sphere the spin would be a
minor problem. But for a projectile that's supposed to
travel head first, fins last, it's a huge problem. There are
ways to stop the spin but so far Spinlaunch has not done any of
them. For example instead of having the projectile fixed at
the end of the throw arm, it could be mounted on a spin axis that
would be parallel to the central axis of the throw arm and spun in
the opposite direction so that the projectile always points in the
direction desired at launch.
Links
Wiki: List
of topics characterized as pseudoscience -
Beall’s List of
open-access publishers - If you read an article that
cites an article in any of these publications, don't give that
article any weight There's no peer review, solicit authors who
are not qualified, and/or charge big publication fees. See:
Scam
Science Journals and “The Simpsons”
Science: Who's
Afraid of Peer Review? by
John Bohannon - Table
where the good publications rejected the fake sting article,
accepted or review indicates a problem
Logical
Fallacies
The Skeptic's Dictionary
Randi.org
YouTube: Bill Nye the Science Guy
Spark Museum - Induction Coils -
Quack Medical
Apparatus - Magneto-Electric
Therapy Machines & Other "Quack" Medical Devices
Bob Grove's - Dr. Bob's Medical
Quackery -
Quack Watch -
The quackometer -
Last Week
Tonight with John Oliver: Scientific Studies - May 8,
2016 - a good overview of scientific reports in the media
Back to Brooke's Products for Sale,
Time & Frequency, Personal Home, PRC68
Home personal home, page
page created Sep 12 2007