In addition to the 40mm grenade launchers (Wiki) listed below there are the spigot-type STANAG type 22mm rifle grenades (Wiki). These are not 40mm, but rather just a different type of grenade. Most modern military rifles have a flash hider that's made to work with these rifle grenades (Wiki). There are three types: those that require a blank cartridge, those with a hole all the way through so a regular round can be used, and those that trap a bullet.
YouTube:How Grenade Launchers Evolved, 11:25 - the fuze for the M9 is just behind the larger diameter head, not in the tail, otherwise a good overview.
Very Pistol (Wiki)
Named after Edward Wilson Very (Wiki) there are two spellings Wiki shows Verey, the patent shows Very. His cartridge looks similar to a shotgun except there's a couple of pyrotechnic balls that ignite as soon as the cartridge is fired and so, like a tracer round, there's light from the muzzle until burnout after reaching maximum altitude. He patented the signal cartridge (not a pistol) which came to be called the Very Light.
Also see the AN-M8 Pyrotechnic Flare Pistol and Flares on the Radar Warning Receivers web page.
Signal Cartridges were intended to be used like Signal Flags (Wiki) or Morse Code (Wiki) and Aldis lights 1867 (Wiki), that's to send a message.
In 1846 Henry J Rogers (short bio at: Famous Americans -Mr. Rogers published (visual signaling codes for daytime use?).
In 1859 the Coston colored fires were being used.
- "Telegraph Dictionary and Seaman's Signal-Book" (Baltimore, 1845);
- "American Semaphoric Signal Book " (1847) ;
- " American Code of Marine Signals " (1854); and,
- with Walter P. Larkins. edited "Rogers's Commercial Code of Signals for all Nations" (1859).
An example is in Season 7, Episode 1, Murdoch Ahoy, of the Murdoch Mystery series near the end as a ship is going down. You see two red balls of light arching up and then down.
The Telegraph - Weapons invented in the heat of the conflict - Flare Pistol - Geophone - they got the flare pistol wrong, it was not invented for illumination or attention getting but instead for sending signals using 1 to 3 red or white shooting stars.
12528 Breech-loading fire-arm, Eollin White, Mar 13, 1855, oldest patent in class 42/28 - falling block
15496 breech-loading fire-arm, Gilbebt Smith, Aug 5, 1856, oldent patent in class 42/8 - hinged barrel
23536 System of Pyrotechnic Night Signals, B.F. Coston, Apr 5, 1859, 102/345; 102/360; 200/81.5 - boxes with red, white & blue fires.
The prior patents set the stage for the Very patent below.
190263 Signal-Cartridge, E. W. Very, May 1, 1877, 102/346 - oldest patent in this class, 300 feet up 8 seconds burn time (starts burning in barrel) -
oldest in class 102/346 AMMUNITION AND EXPLOSIVES\PYROTECHNICS\Gun-type cartridge
RE8167 Signal Cartridge, E.W. Very, April 9, 1878, 102/346; 102/342 (reissue of 190263)
191843 pyrotechnic signal-cartridges, Jacob J. Detwillee, Jun 12, 1877, 102/346
197339 Signal-cartridge, Henry H. Coston, Nov 20, 1877, 102/346; 102/360 - "Colston telegraphic night signals" successive colors
202126 breech-loading fire-arms, Chaeles W. Sneldee, Apr 9, 1878, 42/28 - falling block rifle
216552 pyrotechnic signal cartridges, Adam H. Bogardus, Jun 17, 1879, 102/346 - sub munition with balls inside
508152 Pyrotechnic projectile, Stauth & Wiebach, Nov 7, 1893, 102/335; 124/21; 42/54 - muzzle loaded into rifle
1306407 Flare-Light Shell, Samuel Cleland Davidson, Jun 10, 1919, 102/342, 102/346 - to light up an area for a minute or more, lands on it's base still burning
2097023 Firearm, Driggs Jr Louis L, Faber Henry B, Oct 26, 1937, 42/40, 102/340, 42/1.15 - removable barrel (part of flare) pistol.
2351268 Signal pistol, Molins Machine Co Ltd, Patrick Jackson Donald Richard, Jun 13, 1944, 42/41, 42/1.15, 42/71.2, 42/44, 42/70.8 - connects to aircraft port
2360168 Flare pistol, Glen R Severance, Frederick K Comiskey, Hilten E Jones, Eureka Vacuum Cleaner Co, Oct 10, 1944, 42/46, 42/1.15 - AN-M8 shoots British AND American flares.
3168788 Signal Pistol, Feb 9, 1965, 42/1.15, 42/69.1, 42/41 - cheap to make uses pins & coil springs rather than conventional shaped trigger, sear, &Etc.
6257146 Noise making projectile, Christopher P. Stonebraker, Stoneco, Inc., Jul 10, 2001, 102/346, 102/360, 102/502, 102/513, 102/503, 102/501 - whistles then explodes to scare game
AN-M8 Flare Pistol
Can fire both flanged "American" shells as well as grooved "British" shells.
2347645
Flare pistol, John M Sherrer, Glen R Severance, Ephraim S Huntington, Eureka Vacuum Cleaner Co, May 2, 1944, 42/69.1, 42/44
2360168 Flare pistol, Glen R Severance, Frederick K Comiskey, Hilten E Jones, Eureka Vacuum Cleaner Co, Oct 10, 1944, 42/46, 42/1.15
2363203 Flare pistol, John M Sherrer, Glen R Severance, Ephraim S Huntington, Eureka Vacuum Cleaner Co, Nov 21, 1944, 42/69.1
Flare (Very) Pistol references
Lieutenant Very's Pistol by F.H. Baer
German Flare Pistols and Signal Ammunition by
M-320 Grenade Launcher Module (GLM)

XM-25 Counter Defilade Target Engagement System (CDTE)
XM307Advanced Crew Served Weapon
M79 Rifle Stock shoulder fired single shot

[pg 132] "The launcher length of barrer, fourteen inches, evolved as the length to make it unlikely that the gunner would accidentally get his fingers in front of the muzzle on firing. The barrel length required for interior ballistics was only a few inches, as the pressure dropped quite rapidly. Peak pressure on the low side is only three thousand pounds per square inch, compared to thirty thousand pounds per square inch in the high pressure chamber."
| Bore Brush (missing Thong
FSN: 1010-474-5465 FSN: 1010-474-5466 ![]() |
Tool: 2 screwdrivers, firing
pin spanner, brush FSN: 4933-736-8575 DAAAF03-73-C-1381 ![]() |
| Fiberglass
Stock FSN: 1010-951-4531 Stock Assembly, Plastic, Launcher, Grenade, M79. 1 each DAAA09-74-C-7113 ![]() Mounting screw is 5/16"-18 |
|
Got this after seeing the H4855U radio that looks real in almost all aspects. And this appears just like I would imagine a real M79 looks. Parts may even interchange.King Arms M79 Airsoft
| Air Soft M79 40 mm gernade
launcher. |
![]() |
![]() Tip is the inlet valve to pressurize the round. |
![]() |
![]() Stock mounting screw is 8mm-1.25mm (not interchangeable with real M79 stock) |
SARCO REP42-NO HG M79
This paint ball replica is made by SARCO and uses a number of factory parts. Which?
Fig 1
Fig 2
Fig 3
Fig 4 "NOSHOC" i.e. No Shock
1418532 Recoil pad, James R Caldwell, Seamless Rubber Co, 1922-06-06, 42/74 -
Fig 5 The M79 barrel has 6 groove, 1/48 right hand twist
This barrel appears to have zero twist,
maybe a concession to the ATF to prevent real use.
The twist is part of the safe and arm system.
China Lake Pump 40mm
YouTube: Forgotten Weapons:
China Lake 40mm Pump Action Grenade Launcher - Airtronic's Modernized 40mm China Lake Grenade Launcher -
3435549 Pump type tubular magazine repeating firearm, Alfred F Kermode, 1969-04-01 , -40mm China Lake Pump, patterned after the Remington 870 pump 12 Ga shotgun (Wiki).
Remington 870 History - offered in gauges: 12, 16, 20, 28, .410 and many variations in each gauge. (28 July 2020 Remington (Wiki) filed for chapter 11 bankruptcy).
2635378 Magazine plug for firearms, George E Pinckney, Philip R Haskell, Remington Arms, 1953-04-21, -
2645873 Slide-actuated firearm with tilting locking block, Lexie R Crittendon, Philip R Haskell, Remington Arms, 1953-07-21, - Remington 870
2751702 Cartridge feeding in a tubular magazine firearm, Lexie Roy Crittendon, Ellis William Hailston, Remington Arms, 1956-06-26, -
2824400 Rockable breech bolt locking block, Lexie Roy Crittendon, Ellis William Hailston, Remington Arms, 1958-02-25
M203 Fits under M16 barrel, single shot
A derivative of the Colt XM-148 (Wiki).

![]() |
![]() |
M320 Grenade Launcher (Wiki)
See YouTube Ref 25.
Design based on the H&K AG-C/EGLM, which in turn is based on the H&K AG36.
Mk19 Pedestal mounted automatic (Wiki)
40x53mm cartridge.

TM 9-1010-230-10 MACHINE GUN, 40-MM, MK19, MOD 3
TM 9-1010-230-23&P MACHINE GUN, 40-MM, MK19 MOD 3
2379784 Gun, Brand Samuel, IBM, App: 1943-02-06, Pub: 1945-07-03, 124/6; 102/274; 124/78; 124/51.1 -
Instead of belf fed, it's a revolver where the cylinder has three rings of rounds. Not at all practical in my opinion.
3431820 Grenade launcher, George M Chinn, William P Schnatter, Henry F Watson, Dept of Navy, 1969-03-11, -
3563132 Walter R Cashen, George M Chinn, William P Schnatter, Dept of Navy, 1971-02-16, -
M32 Multiple Grenade Launcher (MGL) "Six Pack Attack"
Wiki - Milkor - MGL Mk 1L (L for Long chamber, i.e. high pressure) - MEI - ammo - Helhound (400m) - Mercury (800m) - Huntir (camera)
YouTube: Forgotten Weapons: Milkor M32 and M32A1 40mm Grenade Launchers -
The M2A1 sight in the photo below appears to me to be pointed at a steeper angle than the barrel centerline. (Maybe an artifact from a wide angle lens?)
I would think it would be pointing down.
Maybe it's parallel to the barrel centerline and it can be tilted down judging from the angle scale.

The radio at the lower left looks like the Bowman. LEMO connector in front with cable to headset and stubby antenna in background
In this photo you can see the use of the rail mounting system on four sides of the forearm.
Picatinny rail (Wiki) = MIL-STD-1913 = STANAG 2324
Although first used just for mounting scopes it's now used as a general purpose mounting system.
2151521 Gas Gun, Charles J. Manville, App: 1935-10-05, Pub: 1939-03-21, -
D100350 Gas Gun, Charles J. Manville, July 7, 1936, - Design
12 Ga revolver that only shoots gas rounds. Pins (53) in each chamber prevent loading 12 Ga shot shells. Only gas round with longitudinal grove (107) can be loaded.
2101148 Machine projector, Charles J Manville, 1937-12-07, -
D98775 Gas Projecting Apparatus, Charles J Manville, March 3, 1936, -
Manville Gun (Wiki) - 12 Ga, 26.5mm & 37mm versions.
FromMilkor M32 and M32A1 40mm Grenade Launchers - "The history of this weapon goes back to South Africa, where designer Andries Piek was inspired to create it after building the 37mm "Stopper" for the South African police and then seeing a Manville 25mm gas launcher in the movie "Dogs of War"
Spring wound drum magazine.
Forgotten Weapons:Manville Gas Gun -
2172800 Shell, Charles J Manville,1939-09-12, -
ZA200904650, Firearm, Andries Christoffel Piek, Milkor, 2010-04-28, - multiple non-lethal loads
20100282058 Unmanned Air Vehicle Weapon Adapter, Kent C. Nelson, Kenneth Nash, Dennis C. Philpot, Northrop Grumman, 2012-10-30, - mounts M32 to unmentioned UAV.
M26 Modular Accessory Shotgun System MASS (Wiki)
This is an 12 gauge shotgun that mounts like the M203. Replacing the M500 (Wiki) shotgun.
Because it's length is too short to qualify as a shotgun I doubt it can be sold in a civilian version.
Although it might be classified as a shotgun pistol.
Helicopter
3608426 Down-fire armament pod for helicopters, Lester L Jackson Jr, Martin Marietta, 1971-09-28, -
There's a question about what ammo fits what. The M79 and related military 40mm grenades are the NATO standard 40x46 (Wiki).
Also see U.S. 40mm Grenades: Wiki; Gary's 40mm Low-Velocity Grenades (M550 Fuze)
For example the practice ammo for the Mk19 & M79 shown below does not fit the AN-M8 flare pistol. I have a Webly & Scott 1.5" (40mm) flare pistol on the way to help resolve this.
The AN/M8 Flare Pistol will not chamber 40mm grenade rounds.
GB520929A Improvements connected with the use of signal pistols on air-craft and other rapidly moving vehicles, HORACE WILL SMALLWOOD, Webley and Scott Ltd, May 7, 1940
GB520930 Improvements in and relating to signal pistols and to mountings or supports therefor on rapidly moving vehicles, SMALLWOOD, H. W. Webley and Scott Ltd, May 7, 1940
GB520931A Improvements in signal pistols, HORACE WILL SMALLWOOD, Webley and Scott Ltd, May 7, 1940The low pressure 40x46mm rounds that fit the M79 and China Lake are shorter than the high pressure rounds used in the machine gun.
Photos
M385 High pressure round
| 40 mm practice rounds 1969 M385 These rounds do not use the .38 blank but might be using an aluminum 12 ga short blank or just a pistol/rifle primer? These are for the Mk 19, not the M79/M203. See: Amron- 40mm Cases & Bodies & Grassi below The M118/M195 case appears to use the .38 blank. ![]() |
Case marked: CTG 40MM RACM?? AMM LOT MA-355-44 Case Cartridge M169 RNO-3-29-69 ![]() |
Solid aluminum projectile marked: CTG 40 MM PRACTICE M385 Note different colors of center and outer case around primer. ![]() |
| Empty M169 case You can see the huge hole where a plug (12 gauge?) with primer fits. Photo from Island Ordnance ![]() |
Case Cartridge Practice M212
November 2017 from eBay seller: coolkollectables
body outside dia: 41.25mm
Fig 1 used rounds![]() |
Fig 2 hollow nose cones.![]() |
Fig 3 using .357 Mag to substitute for a .38 blank to show size. ![]() |
Fig 4![]() |
Fig 5 SARCO
M79038 Bandolier w/6 Dummy rounds![]() |
Ping Pong Ball Adapter for
Webley & Scott No. 3 Mk I Flare gun.
While traveling in Canada many decades ago picked up a ships port or starboard kerosene lantern and a flare pistol from a maritime surplus store. The flare pistol was old pitted metal with handmade wooden grips. The flare was a standard 40mm size? For fun a friend made an adapter to allow shooting a ping pong ball by making the bore of the adapter 1.48" I.D. (37.6mm) (Wiki: Ping Pong ball 38mm then 40mm) Propulsion by means of a small rifle/pistol primer (external web page with dimensions) (no powder) with a pocket diameter near 0.175" I.D. The main body diameter is about 39.8mm, but at the time I didn't know about 40mm grenades and so just made the OD to fit the flare gun.
If the ping pong ball is used by itself the primer may blow a hole into it, so a few disks of cardboard are needed as packing/wadding below the ping pong ball. It will shoot the ball over the top of power lines never to be seen again.
YouTube: Webley & Scott No. 3 Mk I Flare Pistol Firing Ping Pong Ball -
YouTube: 'Gibson Girl' Survival Radio - NOW WITH ACCESSORIES!, 16:01 - @10:10 The UK T-1333 used the Webley & Scott No. 3 Mk 1 Flare Pistol to launch a rocket to loft the kite.
![]() |
![]() |
![]() |
40mm (37mm?) antenna cartridge
This was a Vietnam era round probably used by the special forces in conjunction with the GRC-109 to put a wire antenna up in the tree canopy.
![]() |
40mm Collection
M406
Wiki: M79\Ammo\Explosive
Fig 1 M406
Fig2
Fig 3 HE + Shell, Fuze, Ogive
Fig 4 Ogive
Fig 5 HE + Shell
Fig 6 Fuze 3326132?
Fig 7 Fuze
Fig 8 Ogive
Fig 9 .38 Blank?
M576 Buckshot
Wiki: M79\Ammo\Close Range, M576
Fig 1
Fig 2
XM651E1 CS
Wiki: M79\Ammo\Non-lethal, M651 CS
Fig 1
Fig 2
XM585 White Star Cluster
Fig 1
40mm ammo Manuals
AMMUNITION FOR GUNS AMMUNITION FOR GUNS AMMUNITION FOR GUNS AMMUNITION FOR GUNS AMMUNITION FOR GUNS
TM 9-1300-251-20&P ARTILLERY AMMUNITION FOR GUNS, E LAUNCHERS
TM 9-1300-251-34&P ARTILLERY AMMUNITION FOR GUNS, HOWITZERS,MORTARS, RECOILLESS RIFLES AND 40MM GRENADE LAUNCHERS
SB 742-1310-94-50 Cartridge, 40-mm: Riot Control, CS, M674 & Red Smoke, RS, M675
SB 742-1310-94-51 CARTRIDGE, 40-MM: TACTICAL CS, M651
SB 742-1310-94-52 CARTRIDGE, 40-MM, RED SMOKE,GROUND MARKER, M713, CARTRIDGE, 40-MM, GREEN SMOKE,GROUND MARKER, M715, CARTRIDGE, 40-MM, YELLOW SMOKE,GROUND MARKER, M716
TB 9-1300-279-12 UNIT LEVEL MAINTENANCE INFORMATION ON CARTRIDGE, 40MM: DUMMY, M922A1
TB 9-1310-253-12 CARTRIDGE 40MM: NON-LETHAL, XM1006 (40MM SPONGE GRENADE-MODIFIED GOVERNMENT VERSION) FOR 40MM M203 GRENADE LAUNCHER
TB 9-1310-257-10 OPERATOR INFORMATION FOR CARTRIDGE, 40MM: MULTIPURPOSE, XM1060 FOR 40MM M203 GRENADE LAUNCHER
TM 43-0001-28 ARMY AMMUNITION DATA SHEETS ARTILLERY AMMUNITION GUN, HOWITZERS, MORTARS, RECOILLESS RIFLES, GRENADE LAUNCHERS, AND ARTILLERY FUZES
Grassi
Baselining of the 40mm Family of Ammunition, James Grassi, 30 March 2006 -
page 11 illustration of 3 cases:
Establishment of Production Line for Manufacture of 40mm M169 Cartridge Case, Andrew Vargo, Amron Corp.
MIL-C-63062 40 mm cartridge case M169, Cup Closing
MIL-C-63063 (PA), 29 March 1976 plug for M169, dwg: 8886332, MIL-DTL-0060982C
MIL-C-48070 M169 40mm case inert metal parts May 1970
Pike Laser Guided Missile (Wiki)
As of 26 Aug 2022 no longer on the Raytheon web page. Unknown status.
MJU-32A/B Infrared Decoy pyrotechnic Flare
Moved to the Radar Warning Receivers web page, Chaff & Flare section - MJU-32.
Nammo 40mm Airburst
Nammo - 40mm Products - Multiple choice grenades: You decide the functionality
YouTube: Nammo Media: 40 mm Airburst Product Demonstration, 9:23 -
Ammo Patents
1178092 Grenade and other like apparatus, William Mills, 1916-04-04, - Wiki: Mills bomb,
1223600 Grenade and the like, William Mills, 1917-04-24, - clockwork time delay
1257126 Explosive projectile, Eugene Schneider, 1918-02-19, -
1321455
1321455 Percussion Fuse, David Kennedy, Nov 11, 1919, - "all-ways" Stokes shell (Wiki: Stokes mortar, Mortar)
H: domed cover plate Ogive (Wiki)
3146714 Delay fuze for rotating munition, Patrick H Moore, Honeywell, App: 1963-06-20, Pub: 1964-09-01
3157125 Rotor safety lock for munition fuze, Arthur M Lohmann, Honeywell, App: 1963-07-01, Pub: 1964-11-17, -
3279114 Grenade launcher, Karl R Lewis, Robert E Roy, Colts, 1966-10-18, -
XM-148 (Wiki)
Photo from Wiki:
Forgotten Weapons:
XM-148: Colt's Vietnam Grenade Launcher - CGL-4
M203 Underbarrel Grenade Launcher -
Ford and AAI also made prototypes.
3304866 Centrifugally armed fuze, Richard C Johnson, Honeywell, App: 1965-04-16, Pub: 1967-02-21, -
3318033 Grenade launching arrangement, Irwin R Barr, AAI, App: 1965-09-29, Pub: 1967-05-09, -
Using a riot shotgun to fire large diameter gas grenades.
3326132
3326132 Delay fuze for spinning projectiles, Elvin W Tlam, Honeywell, App: 1965-06-16, Pub: 1967-06-20, -
"Successfully operated models of this fuze have been built in a package that measures 1/2 inch in diameter by 3/4 inch in length."
3346983 Automatic cartridge ejector device, Julius E Brooks, Olin Corp, 1967-10-17
Pistol
4 Barrels
12 Ga
Similar to theYouTube: Forgotten Weapons: Winchester's Liberator Shotguns -
3425354 Centrifugally armed fuze, Donovan Carlson, Honeywell, App: 1967-10-30, Pub: 1969-02-04, - "... arming and time delay mechanism for spin operated fuzes"
3429262 Multi-pellet cartridge, William L Kincheloe, Robert B Benton, FMC, App: 1966-10-24, Vietnam, Pub: 1969-02-25, - 18 each 22 rounds.
3507067 Grenade launcher having a rotatable forwardly sliding barrel and removable firing mechanism, Henry A Into, Colt Ind, App: 1967-12-14, Pub: 1970-04-21, -
3604137 Sighting system for a firearm-carried grenade launcher, Stanley D Silsby, Army, 1971-09-14 - for use with M203
3687078 Ammunition round, Walter A Gadomski, Bennedetto A Marziano, Army, App: 1970-03-31, Pub: 1972-08-29, - Hi-Low pressure interior ballistics system
22: High pressure up to 20,000PSI
23: Low pressure up to 2,000 PSI
3721195 Liquid revolution counter for fuze arming, W Egli, A Severson, Honeywell, App: 1971-06-01, Pub: 1973-03-20, - safe & arm based on the number of revolutions.
3738271 Grenade round with means giving forward momentum to the fired case, Costa N La, AAI Corp, App:1970-12-18, Pub: 1973-06-12, -
This uses a telescopically rolled tubular actuator. These were developed by AAI for actuating mechanical devices as an alternate to using compressed air or hydraulics.
3106131 Cartridge actuated device
Typically for one off applications like separating two assemblies. They tend to be silent in action.
The rolled tubular actuator has been incorporated in small arms rounds as a way to get a really silent projectile.
This device also includes it's own barrel.
3776136 Ammunition arrangement, M Dix, Costa N La, AAI Corp, App: 1971-12-30, Pub: 1973-12-04, -
Prior art High-Low is cited:
3687078 Ammunition Round (above)
3802345 Multiple projectile sabot assembly for use in rifled barrel, Costa N La, AAI Corp, App:1962-05-02, Pub: 1974-04-09, -
maybe Flechette (Wiki) round for M79?
3894492 Deterrent ammunition, Irwin R Barr, Paul L Brown, Jr Robert W Schneppe, AAI Corp, App:1973-07-12, Pub: 1975-07-15, -
Rubber round with marking powder.
3902400 Pyrotechnic band release device, William L Kincheloe, Vincent S Bobkowski, Army, 1975-09-02, - to release the outer case holding many Cluster Bombs (Wiki)
3922967
3922967 Closed-breech-gun-fired rocket-assisted projectile, William J Mertens, Avco, 1975-12-02, -
Cittions:
2884859 Rocket projectile, James M Alexander, Oris T Homan, 1959-05-05, - Rocket assist artillery projectiles 57 - 280mm
3105440 Fuse, Denoix Paul Emile, Energa, 1963-10-01, - nose fuze for shaped charge
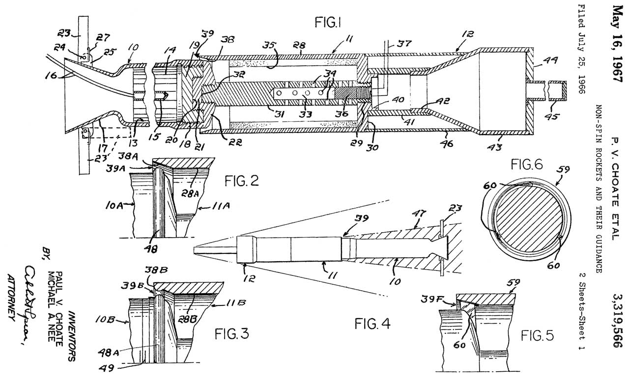
3326128 Rockets and combinations of rockets and cases, Paul V Choate, Norris Ind, 1967-06-20, - "Rockets capable of being fired from a portable shoulder supported launcher..." Ref 3122059 see LAW rocket below
Norris Cylinder, LA, CA -
3424086 Missile with firing cartridge, Chandley W Lambert, 1969-01-28, - why?
3446147 Casing for the sabot of a projectile,
3623432 Hollow charge projectiles, Gerhard P L Schminke, Rheinmetall Air Defence AG, 1971-11-30, -
3750979 Rocket assisted projectile, J Nelms, W Nelms, 1973-08-07, -
4041868 Thin walled steel cartridge case, Roy E. Rayle, Robert J. Brey, Wilbur John Woodruff, Amron Corp, App: 1973-03-16, Pub: 1977-08-16, - 7.62?
4092927 Delay arming mechanism for fuzes, Roy E. Rayle, Avco Corp, App: 1968-11-14, Pub: 1978-06-06, - works with both spin and non spinning (fins) rounds.
I doubt this was put into production because the small hole in the nose would be easily plugged.
prior art fuzes for spinning shells:
3264995 Mechanical fuze operable on grazing impact, Terry L Libby, Webb George, Avco Corp, App:1964-05-11, Pub: 1966-08-09, - contact detonation fuze for spinning round includes safe and arm that depends on spinning round.
3366059 Fuze for spin stabilized projectiles, Martin L Myers, John V Murphy, Avco Corp, App: 1967-01-09, Pub: 1968-01-30, -
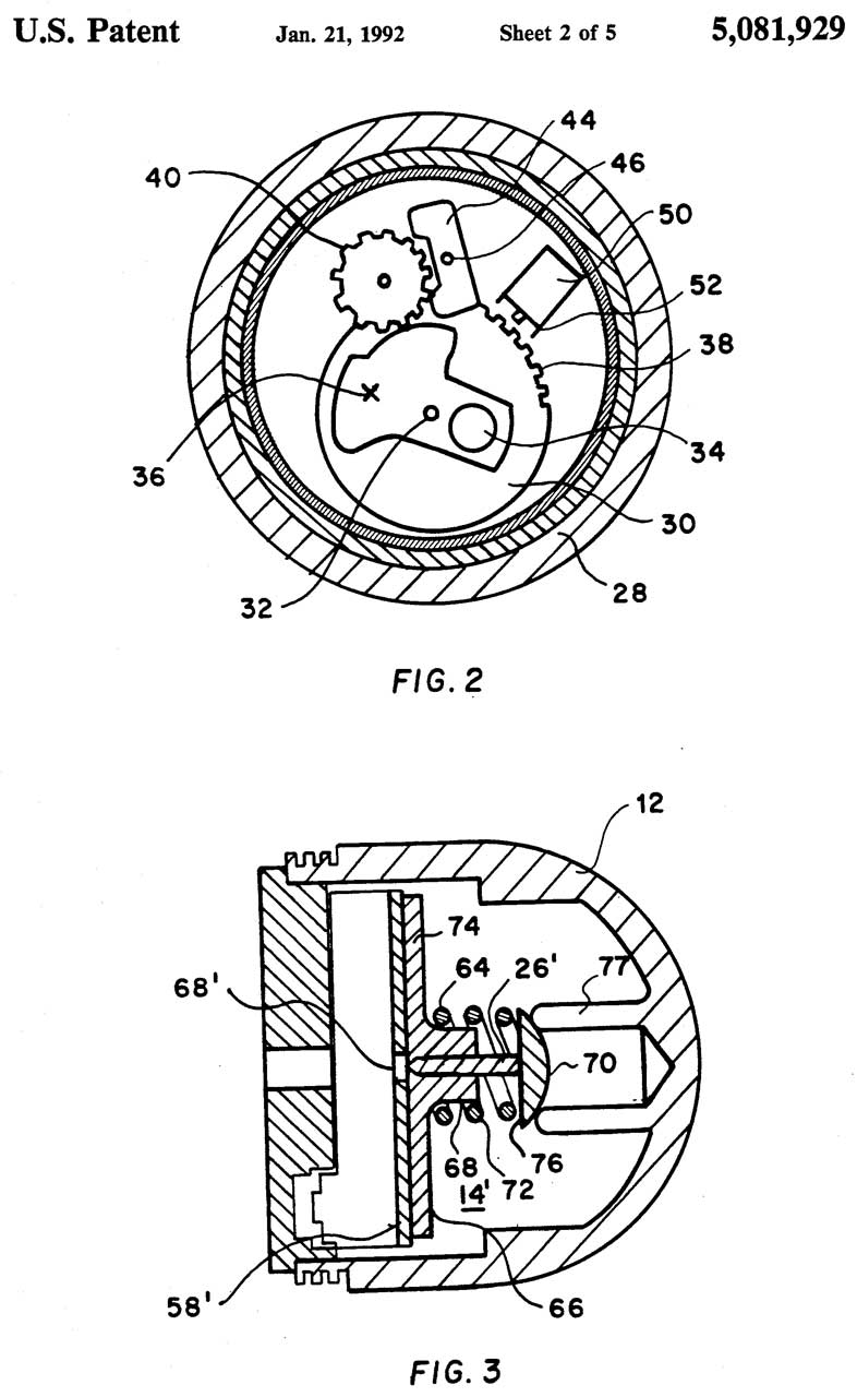
5081929 M550 Fuze
5081929 Projectile having a movable interior fuze, Jan 21, 1992, 102/273, 102/246, 102/248, 102/255
Citations:
1321455 see above
1462173 Percussion Fuse, Haas Rudolf, Techno service Corp, 1923-07-17, -
1545866 Instantaneous impact fuse for high-explosive shells, Pieter Daniel Van Essen, Bethlehem Steel Corp, 1925-07-14, -
1749720 Impact ignition device, Scaglia Gregorio, Soc It Ernesto, 1930-03-04, -
3105440 Fuse, Denoix Paul Emile, Energa, 1963-10-01, - nose fuze for shaped charge
Cited by:
3922967 Closed-breech-gun-fired rocket-assisted projectile see above
20070028792 Impact part of a projectile, Josef Bissig, Saab Bofors, 2007-02-08, - works at oblique angles on ceramic plates
11255643 System for countering an unmanned aerial vehicle (UAV), Wen Jun Edwin Ang, Yong Peng TAN, Juan Kiat Quek, Ce Yu POO, Yuen Hoong Benedict Woo, Cheng Hok AW, Advanced Material Engineering, 2022-02-22, - Counter-UAV
Rifle Grenades (Wiki) are based on the idea of using a rifle to launch a grenade (Wiki) using either a blank cartridge (Wiki) or live round.
Note that the term "Aerial hand-grenade" or "Aerial mortar" was an early term for what we now call bombs.
Using rifle grenades on guns with wood stocks often leads to breaking the stock.
The SIG stgw57 was designed specifically to work well with rifle grenades hence the strange appearance of the stock. Here's a YouTube that explains how rifle grenades fit into the overall picture:
YouTube search for Rifle Grenade.
Why Rifle Grenades? - German Rifle Grenades in WW2, 14:41 - seems overly complex
How a Mother Invented Duct Tape to Save Her Kids' Lives, 12:15 - improved tape for wrapping the rifle grenade blanks so the package could be quickly opened.
M1 Garand Rifle Grenades - How, Why, What?, 16:42 - @3:02: a spring loaded valve in the gas system 1943? patent drawings. A blank will fire a rifle grenade about 50 yards, you need a grenade cartridge to get to 200+ yards. Old gas valve looks like (-) and the grenade version looks like (+).
2416287 Grenade launcher, Charles H Coates, Ray S Miller, App: 1944-01-11, -
2587611 Grenade launcher valve, John C Garand, Sec of War, App: 1946-08-14, - for the .30 M1 U.S. Rifle.
2783685 Regulating plug for gas operated firearm, Samuel G Green, App: 1951-03-02
U.S. Rifle Grenades of WWII, 8:57 - SMLE Rifle Grenade Launcher, 12:02 -
US Rifle Grenades
Rifle
Grenade
Description
Wt
grams
(lbs)
Dia
mm
(In)
Len
mm
(In)
Velocity
fps
Note 1
M9
Shaped Charge
Anti-Tank
590
(1.3)
50
(1.96)
284
(11.2)
M10
60
(2.36)
254
(10)
M11
M11A2
Practice
180 M11A3
Practice
145
M13
M28
Shaped Charge
Anti-Tank
M29
Practice M28
M31
Shaped Charge
Anti-Tank
Practice
Note 1: Information on Rifle Grenade velocity from Ed at Inert-Ord.Net:
Had to go to Cartridges of the World , 6th Edition:
Cartridge, Cal .30, Rifle Grenade, M3, (40gr Black Powder): M11A2 Practice, 180 ±15fps @ 5.5 ft
Cartridge, Cal .30, Carbine, Rifle Grenade, M6, (21gr IMR 4809 & Black Powder): M11A3 Practice, 145 ±15fps @5 ft
BC: Note that the M6 (first generation) Bazooka rockets travels at 265 fps, much faster, cutting the Time Of Flight way down, thus increasing hit probability.
The NATO standard for a rifle grenade launcher is a 22mm diameter.
FM 23-30 Hand and Rifle Grenades: Rocket, AT, HE, 2.36-Inch, 14 February 1944
Ch 1 Hand Grenades
Ch 2 Rifle Grenades - M9: Ogive (noise) sheet metal, Body - casting, Stabilizer Tube -sheet metal, Fin- sheet metal
Ch 3 Rocket Launcher (Wiki: Bazooka) -M1A1 & M9 launchers, M6A1 & M6A3 HE rockets. The M6A3 has the look and feel of the M9 rifle grenade. see: U.S. 2.36" (60mm) H.E.A.T. Rocket -
M9 Rifle Grenade
Dr. L. J. PaddisonDr. L. J. Paddison one of the scientists who developed the proximity fuse, displays an army rifle grenade with which man-made meteorites were shot from a German V-2 rocket at the White Sands, N. M. proving grounds. (AP WIREPHOTO.)
Dec 19, 1946
Added this paragraph after seeing a photo on eBay of Dr. L. J. Paddison with the eBay title: 1946 press photo of Dr. L. J. Paddison, and the news clip.
Since I have the same model rifle grenade shown in the photo it caught my eye. I did not find his name on the China Lake Patents web page where there's a lot of proximity fuze patents listed. The Wiki page for rifle grenades shows it with the caption: "An M7 grenade launcher with M9 rifle grenade fitted on the end of an M1 Garand rifle."
The SIG stgw57 was designed expressly to launch grenades. Prior rifles would break after launching a few, so this was quite an engineering feat to get it to hold up.
There are spigot or rod rifle grenades where the rod goes down the barrel. These must be made to match not only the bore diameter of the rifle but also the amount of powder in the cartridge.
There are also cup type rifle grenades. This design is much more flexible than the Spigot type and that's probably why it's been the standard for many decades. Modern military rifles typically have flash hiders that also act as grenade launchers. See: FN-FAL, Tavor SAR, Steyr AUG, SIG stgw57, Heckler & Koch G3, and many many others.
The Launched Grapnel Hook is very similar to a rifle grenade in many respects. It has a similar weight and shape. Fits the flash hider/grenade launcher on modern rifles and works with live rounds by using a bullet trap.
The Retriev-R-Trainer is a similar device in that it throws a soft object some distance using the power from a blank cartridge.
1094340 Rifle shell or grenade with percussion-fusee, Richard Machenbach, SPRENGSTOFF A G CARBONIT, 1914-04-21, 102/225; 102/483; 102/488 - Spigot type, fan on threads provides arming delay
1290981 Apparatus for shooting hand-grenades, Karl Hagen, 1919-01-14, 42/105 - a cup type which holds what may have been an aerial hand-grenade or bomb common at the time? the center of mass of the cup, which gets thrown along with the grenade is not at all in line with the gun bore so there's going to be a lot of problems.
1301907 Projectile, James Brooks Close, 1919-04-29, 102/253; 42/105; 102/483; 102/501 - Spigot rod has grooves to set range.
1316269 Rifle-grenade, D.L. Britten, 1919-09-16, 102/483; 42/105- cup type for M1903 Springfield Rifle (Wiki) centerline symmetrical design, specialized grenade.
1375463 Rifle-grenade, John V Mcadam, 1921-04-19, 102/484; 42/105 - bullet passes through short barrel inside grenade (not bullet trap).
1376119 Rifle-grenade, Creedy C Sheppard, United States Ordnance Co, 1921-04-26, 102/484; 42/105 - Spigot type
1534011 Percussion fuse, Charles P Watson, 1925-04-14, 102/234; 102/483; 102/487 - early shaped charge, but not called that
1534012 Percussion fuse, Charles P Watson, 1925-04-14, 102/234 -
M31 Practice Rifle Grenade (Wiki)
SARCO
Fig 1
M9, M10 Rifle Grenades (Wiki) & Bazooka (Wiki)
Matching publication dates some held by all years of W.W.II so probably Secret or higher classification
33089 Shell (hand-grenade), William F. Ketchum, 1861-08-20, 244/3.3; 102/385; 168/28 -
Ketchum Grenade (Wiki)
Cast iron case. Made in sizes between 1 and 5 pounds. Probably overall weight, so explosive power considerably less.
Because a right angle hit was required to detonate, they could be caught in blankets and thrown back.
This may have been an impetus to use a time fuse instead.
Has the look and feel of the Cap Bomb.
Early miners worked with liquid Nitroglycerin (Wiki).
I expect this device was about as safe for those handling it.
1178092 Grenade and other like apparatus, William Mills, 1916-04-04, -
Mills Bomb (Wiki)
1223598 Grenade and the like, William Mills, 1917-04-24, 102/261; 102/483; 102/487 -
Note <p> is a threaded socket for a throwing handle or rifle bore bar. Not for filling.
1126871 Grenade, Leon Roland, 1915-02-02, -
1483146 Firearm, Wiley Samuel, 1924-02-12, - "...the gases generated on firing one projectile there from are utilized to project simultaneously therewith a different caliber projectile." such as a grenade
1900790 Grenade, Brandt Edgar William, 1933-03-07, -
works with ball ammo. cited by 43 patents.
2069293 Holder for cartridges, Wiley Samuel, 1937-02-02, - flare launcher where flare and launcher centerline is common, i.e. not like a pistol.
He has many patents related to flares
2203640 Hand grenade, Hines John, Segal Louis, Charles M. Palmer, 1940-06-04, 102/261; 102/488 - pineapple grenade (Wiki)
also see the Hines Key System sold by Segal Lock & Hardware Co.2335299 Grenade launcher, Wiley T Moore, App: 1941-11-21, Pub:1943-11-30, -
Spigot
2339285 Grenade launcher, Wiley T Moore, US Army, 1944-01-18, 42/105 -
M7 adapter (Wiki) for M1 Grand (Wiki)?
2353971 Portable grenade gun, Cleve F Shaffer, Herman J Fanger, Gruenhagen Henry, 1944-07-18, 42/51; 42/73; 89/1.3; 42/74 -
similar to the Retriev-R-Trainer
Maybe the Navy Pyrotechnic Projector?
Contract N288s11320, Date of Packing, June, 1943
Distress Signal.
2383053 Mounting device for projectiles, Herman J Fanger, Gruenhagen Henry, Cleve F Shaffer, 1945-08-21, -
A holder for a conventional hand grenade so it can be fired from a rifle.
2412636 Grenade Fuse, Short Frank, App: 1943-02-18, Pub: 1946-12-17, 102/487; 102/269 - pineapple grenade (Wiki)
2412695 Projectile, Rost Helge Fabian, Claesson Per Harry Elias, Svensson Rolf Albin, App: 1942-09-16 (all of W.W.II) Pub: 1946-12-17, 102/397; 102/251 - "... devices for igniting bursting charges of projectiles, for example rifle grenades, grenades for trench mortars (Wiki) and guns, aerial bombs ..." 2413680 Ogive mounting means for projectiles, George W Blackinton, John J Calhoun, Budd Co, Filed: 1942-11-21 (W.W.II) Pub: 1947-01-07, - 2423993 Grenade adapter, Panter Carl, Joseph H Borden, Paul L Christensen, Walker W Holler, App: 1945-02-08, Pub: 1947-07-15, 102/483 - cage to hold Pineapple grenade.
Projection adapter M1 used with fragmentation grenade Mk II. FM 23-30 pg 69
See patent 2412636 above for the grenade itself.
2427989 Projectile, George W Blackinton, John J Calhoun, App:1942-08-19 (all of W.W.II) Pub: 1947-09-23, 102/483; 102/476 - has the key elements of the M9 rifle grenade.
A shaped charge (Wiki) works by very high pressure reforming the copper (or other ductile metal) into a narrow stream of metal. Note the metal is not melted so for proper operation it needs to be ductile (Wiki: Ductility, Talk: Ductility) like copper. This has to do with the ability of the metal to be formed into a wire.
M9 anti-tank early W.W.II ?or? M11 practice version of M9
A shaped charge rifle grenade may have been intended to take out tanks. BUT . . .
it's almost impossible to hit a moving tank using a high angle of fire device like a rifle grenade or mortar.
By coupling the shaped charge to a rocket motor which will be fired near horizontal the time of flight is now short enough to have a good change of hitting the target.
2441388 Projectile, George W Blackinton, John J Calhoun, App:1942-08-19 (all of W.W.II) Pub: 1948-05-11, 102/476; 411/967; 244/3.24 - has the key elements of the M9 rifle grenade. Note fuze location at rear of shaped charge, not at tip of nose.
M9 or M10?
2466726 Projectile, Wiley T Moore, Joseph H Church, Wilfred E Thibodeau, US Army, App: 1941-03-28, (Delay all of W.W.II) Pub:1949-04-12, -
2490101 Rocket type weapon, Robert B Staver, 1949-12-06, - "...the launcher tube for a rocket projectile is utilized as the motor chamber thereof."
2499379 Grenade thrower, Garrett Emil, 1950-03-07, - cartridge in handle sends gas both forward and backward, for a recoilless action
2772635 Rifle grenade, Brandt Edgar William, Belge de MecAnique, 1956-12-04, - shaped charge, base fuze
2778137 Grenade launcher, Brandt Edgar William, Belge de MecAnique, 1957-01-22, - adapter for rifle
2892407 Shaped cavity explosive charge, Norman A Macleod, 1959-06-30, -
3007271 Device for throwing grenades by means of firearms, Brandt Edgar William, 1961-11-07, -slides over rifle that has standard grenade launcher even if it is also a flash hider or muzzle brake.
3425349 Rifle grenade fuze, Romald E Bowles, Army, App: 1957-08-21, Korean war, Pub: 1969-02-04, -
5239911 Multiple-round grenade launcher, Pierre A. Ostor, 1993-08-31, - Cites 13, Cited by 13
The development started with the 60mm diameter M10 Rifle Grenade (Wiki). The M9 Rifle Grenade was 50mm diameter. Note both the M9 and M10 were shaped charge devices. As a rifle grenade the time of flight was too long to hit a moving tank. So, a rocket motor was added and a launch tube developed. The Bazooka fired at an almost flat trajectory so the time of flight was much shorter than the high angle of fire of the rifle grenade. They could not use a more powerful rifle to launch the grenade because the existing rifle grenades were breaking the stocks of the rifles. The SIG stgw57 was designed strong to it could launch heavy rifle grenades.
The Bazooka (Wiki) is a W.W.I time frame weapon. A rocket propelled grenade in today's parlance. Idea from Robert Goddard (Wiki). A key concept was the shaped charge (Wiki).
The M-9 Bazooka Blew Things Up Real Good by Paul Huard -
It turned out that the blast from the 2.36" bazooka was not strong enough to attack German tanks and so the 3.5" bazooka was introduced. Note both of these are rear loading which means it takes two people to fire the bazooka and the diameter of the explosive is limited to the bore diameter.
The RPG family of Rocket Propelled Grenades, including the RPG-7, have a 40mm tube bore, but are front loading. That means only one person is needed to load and fire it and the diameter of the shaped charge can be much larger than the bore. The rocket I have is 86mm (3.4") diameter, i.e.about the same size as the U.S. 3.5" bazooka, but a much shorter and lighter weight launcher.
A problem with front loading is that a way to keep the rocket exhaust from blasting the soldier in the face. The PRG-7 does this by using a small explosive gas generator to push the rocket out of the tube and after a time delay the rocket ignites about 7 meters in front of the tube. It also has the rocket nozzles at the front of the rocket engine and they are angled out at about 45 degrees.
Variations
Launcher
2.36"
Rockets
YouTube:
Forgotten Weapons:
M1
M6 HEAT
M7 Practice
M1A1
M6A1 HEAT
M7A1 Practice
M9
M6A3 Heat
M7A3 Practice
M10 Smoke
M9A1
The M9A1 Bazooka: Now With Optics and Quick Takedown M18
M20
3.5"
M28A2 HEAT
T127E3/M30 WP
M20A1
3.5"
M20A1B1 Super Bazooka - It's a Super Bazooka. Need I Say More?, 15:39. M20B1
3.5"
M25
3.5"
SARCO M1A1 Replica SKU MISC502
Ordered 23 Feb 2021. Arrived 10 March 2021. I don't like white plastic peanut packing!!!!!!!!!!!!!
This was preceded by the M1 Bazooka.
Manual TM 9-924 2.36-Inch A.T. Rocket Launcher M1A1, 27 Sep 1943
It was followed by the M9 (Wiki: M9).
Data:
Length of launcher (approx.): 54.5 in
Weight of lancher (approx.): 13.26 lb
Internal diameter: 2.37 in
Length of rocket: 21.6 in
Weight of rocket: 3.5 lb
Muzzle velocity: 265 ft per sec
Propellant burn time 0.02 to 0.03 sec
Battery, 2 active + 2 sapre: BA-42 or "C" cell
Electrical system negative ground. Only wire for hot side. Latch makes ground connection to rocket tail fin.
The M18 (Wiki) aluminum version of the M9 was experimental only.
The M20 3.5" came next.
Fig 1
Fig 2
Fig 3 No piano wire wrap on rear of tube, no insulating sleeve below contacts and supporting band, no shunt strap on latch handle,
metal tube instead of contact spring.
![]()
Fig 4 Light bulb wired in parallel with rocket so lights when trigger is pulled.
Fig 5 Shown upside down
100 yd at bottom of this photo, 200 or 300 yard at top of this photo
flash deflector not part of this replica
Fig 6 Round access plate for electrical circuit and spare lamp. Hinged battery cover.
Fig 7 The latch will work with the M7A1 rocket because the rocket tail fins have "V" shaped notch which will allow it to pull free of the latch.
Fig 8 The latch will not work with the M7A3 rocket. The latch finger needs to be modified to have a 45 degree slope.
---or...
The replica M7A3 rocket is missing a "V" groove for the latch? Let me know.
2.36" Manuals
TM 9-294 (TM9-294.pdf) 27 September 1943, 28 pgs - 2.36-Inch A.T. Rocket Launcher M1A1. Uses M6A1 (M6A3) Yellow HEAT & Blue M7A1 (M7A3) practice.
TM 9-294 1 March 1946 (1946TM9-294.pdf), 71 pgs - 2.36-Inch, Rocket Launchers, M9, M9A1 and M18 [Declassified Jun 21 1956]
M-9A1 Sight
Optical reflector sight replaced the iron sights beginning in September 1944. (Wiki).
Need to find out more about the optics.
Reticule
To make the photos of the reticle the sight was held against a cell phone camera so Fig 5 and Fig 6 have the same camera to sight geometry.
From Fig 5 the center dot spans 5" (wheel center) at a distance of 34 feet.
The included half angle of the center dot is 0.3510726 degrees = 0.00612737278 radians = 6 milli radians (Wiki), or about 12 mils for the full angle.
But . . . the mils numbers seem too high?
From Fig 6 measurements on the reticule.
The Lead Miles per hour column comes from TM 9-924 March 1, 1946.
Feature
Size
mils
note 1
Lead MPH
From TM 9-294
Sec. XVII
OD Center dot
0.515
12
ID Circle 1
4.695
110
10
ID Circle 2
9.738
230
20
ID Circle 3
14.869
350
30
ID Circle 4
20.132
460
40
Bar OA len
11.081
260
Note 1: I was thinking that the circles were a range finding by means of stadia, like in modern telescopic sights, but that's not the case here. They are for leading moving tanks.
Fig 1 Reticle (Wiki) seen from eye side.
Fig 2 Front of optic looks like convex mirror
Fig 3 Marked: "2.36 IN" so for the M9A1
From Wiki: Bazooka\M9A1: "An optical reflector sight replaced the iron sights beginning in September 1944" (Ref 2)
Fig 4 Shown folded for storage.
Big screw: Windage (Wiki) adjustment (no change when folding for storage)
Spring finger: Elevation adjustment
Fig 5 center ring = 5" from 34' Vehicle=Ranger
Fig 6 to measure reticule
The following three Images courtesy of International Military Antiques, Inc ima-usa.com which sold an M9A1 Bazooka and retained very high quality photos.
Bazooka Sight Patent
Fig 7
Fig 8
Fig 9: 0 to 600 yards.
I'm pretty sure these sequentially numbered (published the same day) patents are for the "Optical reflector sight".
2420252 Optical interference sight for guns, cameras, or the like, Edwin H Land (Wiki), Polaroid Corp, 1947-05-06, - "It is a principal object of the present invention to provide a sight in which the rigidity of the standard sight is dispensed with and in which slight movements of the eye of an observer with respect to the firearm or other device with which the sight is associated do not impair the operation of the sight itself."
Fig 5 has a lot of similarities to the 2.36 In Bazooka sight.
2420253 Optical interference sight for guns, cameras, or the like, including polarizers and a biaxial birefringent element, Edwin H Land, Polaroid Corp, 1947-05-06, - SARCO M20B1 Parts Kit (SARCO: RL023)
This appears to be a de-milled M20 sold as a kit.
Movies: Saving Private Ryan (IMDB), Band of Brothers (IMDB).
The Wiki Bazooka web page for the M20
Rocket Launcher, M20 "Super Bazooka"
- Larger 3.5 in (88.9 mm) caliber warhead (Panzerschreck was 88 mm caliber)
- Could penetrate up to 11 inches (280 mm) of armor
- Extended range by about 150 m
- Originally a larger version of the M9A1, designated M20 in late 1944.
- Entered active service just before the start of the Korean War.
Rocket Launcher, M20A1 "Super Bazooka"
- Product improved variant with improved connector latch assembly, entering production in 1952
- Improved version of the M20
Rocket Launcher, M20B1 "Super Bazooka"
- Lightweight version with barrels made of cast aluminum, other components simplified
- Used as a supplement to the M20
Rocket Launcher, M20A1B1 "Super Bazooka"
- M20B1 upgraded with M20A1 improvements
Impulse Generator
See Fig 13 to Fig 17 below.
The 2.36" Bazooka used a couple of "C" batteries for the power source to ignite the rocket. W.W.II vintage Carbon-Zinc batteries were far worse than today's Alkaline batteries, that's to say the W.W. II batteries were not at all reliable, especially if stored in a hot environment. So the batteries were replaced with what amounts to a blasting machine starting with the M9 version starting around October 1943. The only mention of the magneto trigger is in relation to the M9 (Wiki).
The Magnavox patents 2376557, 2400262, 2426322 have application dates as early as January 1944. The key idea is that the armature reverses the polarity of the magnetic circuit. Most blasting machines just turn the magnetic circuit on and off. By reversing the polarity the output is doubled. This is very similar to an electrical "H-Bridge" (Wiki) which allows doubling the drive voltage to a load. These are typically used in battery powered applications.
SARCO M20B1 Bazooka Photos
Fig 1 The four parts in random order.
Fig 2 Front two tubes
Fig 3 Rear two tubes
Fig 4 Both Front & Rear tubes - front view
Fig 5 Both Front & Rear tubes - left view
Fig 6 Both Front & Rear tubes - right view
Fig 7 Both Front & Rear tubes - rear view
Fig 8 Joint showing pinch lever
Fig 9 Joint faces
Fig 10 Shown in Latched together carrying position
Fig 11 Shown in Latched together position
Fig 12 Shown in Latched relative positions
Fig 13 Trigger drives an Impulse generator.
patents: 2376557, 2400262, 2426322
Fig 14 Impulse generator
There are two permanent bar magnets, one at the top and another at the bottom. The armature is strongly held in the position shown. It takes a lot of force to break it free, and then the armature snaps counter clockwise and in doing so generates a high voltage impulse.
Fig 15 switched to FIRE, was at safe.
That and misalignment of trigger group causes stiff trigger pull.
Fig 16
Fig 17 Impulse Generator made by Struthers Dunn Inc. who holds many patents for devices that involve electromagnets. But no patents for this since Magnavox holds those.
YouTube: Forgotten Weapons: M20A1B1 Super Bazooka - It's a Super Bazooka. Need I Say More?, 15:39.
M20 Manuals
TM 9-1055-201-12
Operator and Organizational Maintenance Manual,
including Repair Parts and Special Tool Lists,
Launcher, Rocket 3.5-Inch M20A1 W/E (NSN: 1055-840-1841)
Launcher Rocket, 3.5-Inch M20A1 B1 W/E (NSN: 1055-840-1842)
Oct 1968, 86 pgs
TM 9-1055-201-35
Direct Support,
General Support and Depot Maintenance Manual Including Repair Parts and Special Tools List,
Launcher, Rocket 3.5-Inch M20A1 W/E (NSN: 1055-840-1841)
Launcher Rocket, 3.5-Inch M20A1 B1 W/E (NSN: 1055-840-1842)
December 1968, 49 pgs
FM 23-32
3.5-Inch Rocket Launcher "Super Bazooka"
M20 Sight
SARCO Item Number MCAN025.
While there are some similarities with the 2.36" sight for the M-9A1 Bazooka there are also a number of differences.
It turns out this is a New In Box (NIB) item and the packaging was full mil spec.
Fig 1
Fig 2
Fig 3
Fig 4
Fig 5
Fig 6
Fig 7
Fig 8
Fig 9
Rocket Stability
A ballistic missile (Wiki) is technically anything moving through the air, without propulsion and effected by gravity and wind resistance. This would include a rock thrown by hand, a cannon ball, bullet or arrow. The stability of these objects depends on factors such as the center of mass, the center of pressure, spin rate, uniformity of the material used, &Etc. An arrow is stable because the center of pressure is far behind the center of mass. If an arrow was fired tail first it would be very unstable.
Early rockets, like the Congreve (Wiki) and some fireworks rockets use a simple stick that's about 5 times the rocket length. This acts like the tail on an arrow to keep the rocket pointed tangent to it's flight path.
A key aspect of rocket stability has to do with how it's guided while the rocket engine is burning. In the simplest case the rocket has mechanical guidance such as being in a tube or on a rail during all the time the engine is burning. In this case the rocket becomes a ballistic missile as soon as it clears the launcher. The Bazooka rocket is burned out by the time it leaves the barrel. Many model rockets keep burning after leaving the launcher, so they need tail fins that work. The pop bottle rockets that use water and compressed air can be unstable because the center of mass is near the rear, behind the center of pressure and the water is still leaving the nozzle after the rocket is clear of the launch rail. Adding big washers on the bottom (front) of the pop bottle will move the center of mass forward making for more stability, but adding weight lowers the maximum elevation.
Note videos of early rocket launches show the rocket lifting off the pad then rotating so that the nose ends up pointing at the ground. The tail fins do nothing at zero speed. The answer is to use a gyroscope to sense any tilt and then change the direction of the exhaust nozzle (Wiki: Thrust Vectoring).
In a more complex case the rocket engine continues to burn after it leaves the launcher. This presents a problem since the thrust vector may not go through the center of mass of the rocket. When that happens the thrust will push the tail end of the rocket sideways and it becomes unstable. There are many videos of rockets doing this from the early 1950s when they were being developed. Rockets, like the V-2 (Wiki), which have no guidance as part of the launcher are like this. Some type of active stability system that can align the thrust vector so it passes through the center of mass is needed. Note that tail fins will NOT work when the rocket speed is zero or very slow (See Ref 23 below).
PS The first flight of the Space-X Starship rocket (Wiki) used 33 rocket engines (Wiki) and at launch a number of the engines were damaged when chunks of concrete were dislodged and flew up into the engines. It turns out the the pattern of dead engines was not symmetrical and the thrust vectoring could not get the thrust vector to pass through the center of mass causing the rocket to do a head over heals and so the self destruct was triggered.
Another example of a rocket burning after leaving the launch tube is the GyroJet. There are no fins on the bullet shaped rocket. It keeps burning after leaving the barrel so any imperfection in the nozzles or asymmetry in the fuel load or casing will cause it to go off course. Also the maximum kinetic energy is developed at the point when the rocket burns out, i.e. maximum velocity, which happens many tens of feet in front of the muzzle. At ranges closer than that the energy may be so low as to not be harmful.
If tail fins are used for stability it matters what the shape of the rocket body is just in front of the fins and they only work at some minimum speed (see Ref 23 below). If the body is as large in diameter as the tail fins then the air flowing on the fins may be turbulent leading to some instability. It's better if the body diameter just prior to the fins is small compared to the fin diameter.
The RPG-7 uses an explosion to get the rocket body out of the launch tube without putting fire in the face of the shooter and get it going fast enough for fins to work for stabilization. The rocket motor starts some distance from the shooter and accelerates it making the tail fins more effective. PS They are more like sticks than fins so work mainly by drag.
Note that a spin stabilized projectile (think bullet) fired at an elevation angle of 45 degrees will be traveling sideways when it reaches the target because of the gyroscopic action. Even at smaller elevation angles the gyroscopic action will cause problems.
In Ref 23 LabRat Scientific demonstrates the swing method of testing for the stability of a fin stabilized rocket. But on the Wiki page for the Aerobee they mention: "As with its progenitor, the WAC Corporal, the Aerobee required a tall launch tower to provide the necessary stability until the relatively slowly accelerating rocket gained enough speed for its fins to be effective in controlling attitude." So it seems the stability is dependent on the speed. It's clear that at zero speed the fins do nothing. How to determine the minimum speed for stability?
Rockets launched from aircraft are already moving fast enough for airfoils to be functional and so are easier to deal with than rockets that are launched from slower vehicles or from the ground where airfoils are not functional.LabRat Scientific answered:
You are correct, the WAC Corporal needed the solid rocket booster to get it moving and the tower was needed to allow it to accelerate.
Nose and fin lift depend of the flow velocity: Lift = 1/2 x Air Density x (Vel)2 x Cl x Area.
To determine the speed needed for stability you need to calculate the nose and fin lift at various speeds and calculate the moments (Moment = Force x Distance) for each. The Distance is the distance from the center of pressure of the fin and nose to the center of gravity of the rocket. As you increase the velocity the fin lift will tend to grow more than the nose lift and the Center of Pressure (CP) - sum of the moments - will move aft. To do this you need to know the Lift Coefficient (Wiki: CL) of the nose and fins. You can get CL values from the internet. Sorry I can't give a better lesson, but its a little hard in this comment section.
Rocket Launchers (Tube v. Rail)
A general comment on rocket launchers from QuoraAndrey Yanovski:
Why weren't the Germans able to produce an equally successful rocket artillery like the Russian BM-13 (Wiki) Katyusha in WWII?
"To launch a rocket from a rail takes a very much more powerful propellant force than from a tube. In a tube launch the exhaust gases are creating pressure that is pushing the rocket out of the barrel in addition to the reactive force of the jet stream. When launched from an open rail, however, the propulsion only comes from the jet - all the exhaust gasses obviously dissipate in the air and do not create any pressure in a barrel."
List of U.S. Army rocket launchers (Wiki).
There is also the issue of stability, i.e. fins only add stability if the wind speed is high enough.
Bazooka Rockets
Rocket
model
dia
inch
Type
Launcher
M6A1
2.36
HEAT
M9 Bazooka
M6A3
2.36 HEAT
M7
"
practice
" M10
"
smoke
" M27
"
gas
" T12*
"
HEAT
"
T23*
"
practice
M28
3.5
HEAT
M20 Bazooka
M29
"
practice
"
M30
smoke
"
* 6 Forward Folding Fins See: China Lake Patents, Reference Ref 8, Chapter 2
There are a number of patents by China Lake for the Sidewinder missile and other rockets.
M29A2 3.5-In Practice Rocket
Weight: 8.5 lbs - without the tail fins and without the rocket fuel, without the fuze mechanism.
Components
War head (light blue) 3.5" dia.
marked:
ROCKET PRAC 3.5-In M292A2
(A)-11-1G 12/54
Temp Lem -20 degF to +120 deg F
(?)1-53 )SM 1-1 11 10-54
Fuze (dark blue) 2" dia
marked:
FUZE.ROCKET.DUMMY M405
Rocket (rusted steel) 2" dia.
no markings.
Note whenever the rocket is in a tail down orientation, rust falls out of it.
Tail Fins
were missing. They are the ring type similar to the 2.36" M6A3.
This is a real rocket that has been deactivated.
Fig 1
Fig 2 installed in rear section of M20 Bazooka
M6A3 Rocket Replica
Sarco MISC447 M6A3 High Expolsive Rocket (inert) - replica Bazooka rocket
Fig 1 Real M6A1 Bazooka rocket shown above replica M6A3.
Fig 2
Fig 3
Service of Supply - YouTube -
Homemade rifle grenades on AK 47 -
Rocket Patents
Leslie A Skinner (Wiki) worked on both the Bazooka (Wiki) and the M8 rocket (Wiki).
Both the Bazooka and M8 are launched from a tube.
The M8 was modified to work as an aircraft rocket by adding fins. It was mounted to a "zero length" rail, i.e. just a couple of studs. See Ref 3.
The 3.5" Forward Firing Aircraft Rocket (Wiki) was initially (1942) launched from a 92" long rail. In 1945 a zero length launcher was introduced.
The 1944 High Velocity Aircraft Rocket (Wiki: HVAR) is launched without a tube.
The Zuni (Wiki) rocket was developed by China Lake in the 1950s. The Zuni was the basis of the Sidewinder missile (Wiki) which was designed to shoot down high altitude bombers.
The Folding-Fin Aerial Rocket (Wiki: FFAR) aka: "Mighty Mouse". was also designed to be an air-to-air missile for shooting down bombers. The 1951 article in Popular Science says they are equipped with proximity fuzes. 2-3/4" diameter by 4' long. Shot from a tube launcher, hence the folding fins. Developed in the late 1940s it was abandoned in the late 1950s because it had very poor accuracy. It was then used as an air-to-ground weapon on helicopters since accuracy was not that important.
So the below patents may be for any of them except where it's obvious.
53933 Rocket, Willam Hale, 1866-04-10, - spin stabilized replaces the long stick of the Congreve rocket (Wiki).
1102653 Rocket apparatus, Robert H Goddard (Wiki), 1914-07-07, 102/350; 60/225; 60/915; 74/5.22; 89/1.1; 89/1.808 -
Solid fuel
Two stage with camera
1901852 Rocket, Hermann Stolfa, Rudolf Zwerina, 1933-03-14, 60/225; 60/250; 60/253; 102/347; 60/770 -
"...the charge is compressed into a grain which fits closely against the wall of the comibustion chamber and has a central longitudinal passage or core ."
45 patents cite this one.
"...the correct relation between the diameter of the exhaust orifice and the diameter of the combustion surface...
shaping the charge that the burning surface forming the conical or tapering bore will be the maximum surface attainable with the smallest practicable diameter and shortest length of bore... increasing, during the latter stages of the combustion process, the burning surface to an extent unobtainable from the known types of rockets"
Shaping the burning surface of grain gives more specific impulse (Wiki).
1994490 Rocket projectile, Leslie A Skinner, 1935-03-19, - has the look and feel of a mortar shell, no nozzle
cited in 2457839 as intended to be projected initially from a gun tube by a propelling charge as discussed in this patent. So more like a mortar. This patent is cited in many of the Boozka patents. Also see 2721518 below.
2043268 Rocket, Leslie A Skinner, 1936-06-09, - just the motor itself
The warhead is shown but not the fins.
2206057 Rocket projectile, Leslie A Skinner, 1940-07-02, - "...has nozzle, a solid charge of propellant is employed which completely fills the combustion chamber,..."
2376557 Impulse generator, Ralph H Severance, Magnavox, App: 1944-01-21, Pub: 1945-05-22, -
This is for the bazooka. See M20 Fig 13 & 14 above.
2393604 Bomb stabilizer, William F Berger, App: 1943-02-10 (W.W.II) Pub: 1946-01-29, -
Fins that are directly behind a blunt cylinder are in turbulent air flow and do not work well.
By tapering the tail end of the bomb housing, as shown in this patent, the air flow over the fins is more laminar and the fins work better.
2400262 Electric impulse generator, Quinnell La Vern Edward, Magnavox, App: 1943-06-24, Pub: 1946-05-14, -
Because of the pair of Fahnestock clips for attaching external wires this may be a blasting machine.
The mechanism appears to be the same as in the M20 Bazooka.
2407093 Method and apparatus for cutting or punching sheet material, Henry H Mohaupt, Geston et D'exploitation de Brevets, Filed: 1942-05-21, Pub: 1946-09-03, -shaped charge
Mohaupt invented a lot of explosive related devices used in oil wells to fracture the surrounding rock to let the oil seep out.
2426322 Electric impulse generator, Edwin S Pridham, Magnavox, App: 1943-06-30, Pub: 1947-08-26, -
Has knurled adjustment screw (31) so that electrical circuit is opened/closed at the proper time to increase the power output.
This is similar to the switching used in blasting machines.
Actuator (30) would be the trigger on a bazooka.
2427217 Rocket fin assembly, Harry J Lebherz, Leslie A Skinner, App: 1943-09-23 (W.W.II) Pub: 1947-09-09, -
M8 rocket, see China Lake Ref 8, chapter 4
Maybe for the FFAR since fins deploy at right angles to centerline, like on the RPG-7.
Spider (10) that holds the 6 fins is sheet metal rather than prior art casting.
Retainer Ring (30) holds the fins in place. The hole in the center of the retainer ring is small enough so that the rocket motor will blow it off.
A dimple (29) was supposed to hold the fin in the open position, but this did not happen.
See the improved fin patent 2465401 below with rocket gas opening of the fins.
2429021 Barrage rocket projector, Albert S Gould, Frederick C Lindvall, Navy, App: 1945-03-15, Pub: 1947-10-14, - Jeep mount. Navy 4.5" Beach Barrage Rocket (Wiki) "Mousetrap" (Wiki)
2532643 Rocket launcher, Lorenzo A Richards, Frederick C Lindvall, Sec of Navy, App: 1945-08-13, Pub: 1950-12-05, - modular to allow an number of troughs
2550072 Rocket launcher, Frederick C Lindvall, Sec of Navy, App: 1944-12-29, Pub: 1951-04-24, - single trough tripod mounted
2568455 Rocket launcher, Frederick C Lindvall, Paul E Lloyd, Sec of Navy, App: 1945-03-28, Pub: 1951-09-18, - three troughs
2430896 Rocket stabilizing fins, Edward G Uhl, Leslie A Skinner, Sec of War, App: 1944-01-08, (W.W.II), Pub: 1947-11-18, - these fins fold to the front.
Maybe for T12 & T23 2.36" Bazooka rockets, see China Lake Ref 8, chapter 2
Air pressure on end tabs (8) hold the fins out during flight.
Retainer ring is part of the cast/machined nozzle (2).
Bazooka rocket with folding fins
Had problem with fins opening and then breaking the pivot wire (12).
Not clear what keeps fins in the closed position.
This looks very much like the fins on the M8 Rocket (Wiki: M8 Photo Gallery)
The M8 was developed in 1941
2440271 Rocket projectile, Clarence N Hickman (Wiki), Sec of War, Filed: 1944-06-26, Pub: 1948-04-27, -
Maybe M8 or M9 artillery rocket, see China Lake Ref 8, General photo & Chapter 4
"Development of warfare has made increased and insistent demand for use at the immediate front line of combat encounter of larger caliber and heavier projectiles than can be fired from prior weapons with which the individual foot soldier can be armed, or which may be fired from light structure mobile material.
Satisfaction of this demand by increased use of artillery is prohibited by its initial impedance and unsuitability for advance by portage, and by the mass of Carriage, barrel and mechanism being too great for light weight highly mobile equipment.
To a Certain extent rifle grenades have effected a small advance in this direction, but stopping far short of requirements, and the Stokes mortar (Wiki) has also been of some benefit, though lacking because of its unsuitability for direct fire, its immobility, and dependence on an earth foundation to absorb recoil.
The field equipment now required by armies must be light, fast, and extremely mobile and in present military tactics speed and mobility is of ever increasing importance such as to sub ordinate factors of economy previously thought to be dominating, and which were thought to exclude consideration of rocket propulsion for projectiles.
It is therefore an important object of this invention to present a practical construction of a high explosive rocket projectile in which full advantage is taken of the effectiveness for propulsion of available explosives in proportion to the Weight and bulk, with a minimum sacrifice of energy in moving the effective or destructive elements of the projectile.
Hickman (Wiki) patents
2362484 Pressure gauge, Clarence N Hickman, Sec of War, Filed: 1943-05-10, Pub: 1944-11-14, - See NBS: No. 185, Experiments on Copper Crusher Cylinders.pdf
Uses copper sphere to provide a more linear response.
2434652 Igniter, Clarence N Hickman, Sec of War, Filed: 1944-03-01, Pub: 1948-01-20, - for rocket. propellant looks like stacked washers. "One of the important features of the wafer stack arrangement of rocket propellant is that the burning time may be controlled by varying the web thickness of the disks. In this manner an extremely short burning time of the propellant charge may be realized, which is an essential safety requirement when firing a rocket projectile from a shoulder launcher."
2464179 Smokeless powder tester, Clarence N Hickman, Arthur J Dempster, Sec of Navy, Filed: 1943-09-02, Pub: 1949-03-08, -
2574479 Propellant having an opacifier (Wiki) for preventing self-ignition by radiant energy radiations, Clarence N Hickman, Sec of War, Filed:1943-01-30, Pub: 1951-11-13, -"It, therefore, becomes another object of this invention to provide a rocket propellant in the form of a powder grain having a substantially constant burning surface throughout the burning time."
2459163 Thermal igniter, Clarence N Hickman, Sec of War, Filed:1944-06-01, Pub:1949-01-18, - used to ignite a flare on top of a rocket.
2503269 Rocket propelled illuminating flare, Clarence N Hickman, Sec of War, Filed: 1944-06-01, Pub:1950-04-11, - includes parachute
2440305 Rocket projectile, Leslie A Skinner, Sec of War, App: 1942-01-20, (W.W. II) Pub: 1948-04-27, nozzle & arrangement of solid fuel cores, to be used in a manner similar to artillery.
This looks like the M8 rocket (Wiki)?? These were fired from tube launchers so the tail fins needed to fold up.
2442386 Safety for a firearm hammer mechanism, Edward G Uhl, Sec of War, App: 1943-11-15, W.W.II, Pub: 1948-06-01, -
This is for the "all mechanical" design Bazooka that was not put into production. It eliminated the need for a battery.
2444957 Flash reducer, Leslie A Skinner, Sec of War, App: 1944-09-27 (W.W.II), Pub: 1948-07-13 - to reduce the signature of the rocket exhaust as it comes out of launcher tube.
maybe M8 , M9, see China Lake Ref 8, General photo & Chapt. 4
2446537 Thrust gauge, Clarence N Hickman, Sec of War, Filed:1944-11-16, Pub: 1948-08-10, -
2446560 Rocket charge suspension arrangement, Leslie A Skinner, App: 1941-09-19, (W.W. II) Pub: 1948-08-10, - nozzle & arrangement of solid fuel cores
2447200 Exhaust nozzle for rocket motors, Fred S Miller, Aerojet Rocketdyne, App: 1943-09-03, Pub: 1948-08-17, - - JATO (Wiki) -
Instead of using Venturi to describe the nozzle it's called a de Laval nozzle (Wiki). Supersonic flow at throat.
This idea can be used to make a supersonic wind tunnel, see: 2515069 Wind Tunnel
2478958 Pressure release, Francis E Wheeler, Zola Colman, Aerojet Rocketdyne, App: 1944-03-28, Pub: 1949-08-16, - see pressure curve for cracked or flame between grain and wall at 2563265
2561670 Ignitor, Fred S Miller, Zola Colman, Aerojet Rocketdyne, App: 1945-07-30, Pub: 1951-07-24, -
2451522 Rocket projector, Edward G Uhl, Leslie A Skinner, App: 1942-12-02, Pub: 1948-10-19, - Bazooka? with multi round magazine, requires mounting, not to be carried by soldier.
2457839 Rocket, Leslie A Skinner, Sec of War, App: 1941-09-08, (W.W.II) Pub: 1949-01-04, -
"It is therefore the object of this invention to provide a pressure block for positively protecting the driving charge from the influence of the pressure generated by the charge in the gun tube.
It is a further object of the invention to furnish the means by which ignition of the driving charge can be accomplished through the medium of the pressure block."
This is a rocket fried from a gun where the charge in the gun pushes the rocket out and lights the rocket engine. A Bazooka has an open tube so this is not applicable to the Bazooka.
2458475 Rocket device, Charles C Lauritsen, McMorris John, Sec of Navy, App: 1943-04-02, Pub: 1949-01-04, -
7.2" Demolition or "Mousetrap" ASW Rocket (Wiki) see China Lake Ref 8, chapter 5
This is a retro-rocket that's fired from a plane and the payload is a "float light" that ends up on the ocean.
Maybe to mark a MAD (Wiki) hit that's probably a submarine. No need for a retro rocket since MAD flights were very close to the water.
Prior art float lights where shaped like small bombs and would travel forward below the plane and so would hit the water long after they were released.
For the rocket see 2464181 Rocket device below.
2458476 Rocket Launcher, Charles C Lauritsen, McMorris John, Sec of Navy, App: 1943-04-02, Pub: 1949-01-04, -for use inside aircraft
2460289 Rocket projectile, Clarence N Hickman, 1949-02-01, -
2461574 Firing mechanism, Leslie A Skinner, Julius A Folse, App: 1944-01-31, (W.W.II), Pub: 1949-02-15, -
This looks like an all mechanical firing mechanism for the Bazooka. It would eliminate the need for a battery. I don't think it was ever produced?
2462135 Rocket primer, Leslie A Skinner, App: 1944-04-06 (W.W. II), Pub: 1949-02-22, -
Electrical primer
2464181 Rocket device, Charles C Lauritsen, Sec of Navy, App: 1943-04-02, Pub: 1949-03-08, -
Improvement on 2206057 (solid block of propellant) & 1901852 (central hole in propellant). In this case of OD of the propellent is smaller than the ID of the case so it burns both on the OD and ID.
7.2" Demolition or "Mousetrap" ASW Rocket (Wiki) (similar to hedge hog) see China Lake Ref 8, chapter 5
"...a standard 2.25-inch (57 mm) rocket motor..."
Mousetrap (Wiki) M10 (4 rail) & M22 (8 rail) launchers.
Use with flares is mentioned in the patent.
The Skinner patent 2206057 fills the combustion chamber completely with propellant.
In the Stolfa patent 1901852 shapes the burn surface at the center of the cylinder.
This is a single grain that burns on both the OD and ID. Also it gets ignited at the front end, unlike all the Bazooka rockets that are lit at the rear end.
This appears to be a much simpler engine. But it may have a much longer burn time for a different application?
2495216 Method of manufacturing propellants, Paul A Longwell, Alvin D Ayers, Bruce H Sage, Sec of Navy, App: 1944-08-07, Pub: 1950-01-24, - double base propellant. Improvement on solvent & hot rolling processes. Makes "Hercules Bullseye" aka: “Army Specification PXS 633, Revision 5' plus improvements.
2628561 Propellant powder grain for rocket motors, Bruce H Sage, William N Lacey, Sec of Navy, App: 1943-03-17, Pub: 1953-02-17, - as shown in 2464181.
2685837 Igniter, Bruce H Sage, McMorris John, Glen W Miller, Navy, App: 1943-04-02, Pub: 1954-08-10, -
for use with this and 2458475 Rocket device (retro-rocket for "float light".
2035185 Aircraft float light or smoke bomb, Harry J Nichols, 1936-03-24, -
2114213 Self-extensible float light, Herbert C Clauser, 1938-04-12, -
2119697 Float light, Robert J Anderson, Victory Fireworks, 1938-06-07, -
2509943 Marker flare, Gene A Silvey, Dept of Navy, App: 1947-03-10, Pub: 1950-05-30, - used with torpedoes that use an influence detonator for testing.
2793492 Rocket assembly, Bruce H Sage, Kenneth H Robinson, Sec of Navy, App: 1944-11-24, Pub: 1957-05-28, - nozzle cap with storage for Igniter cable & connector
2813487 Deflagration inhibited powder grains and method of making same, Glen W Miller, Paul A Longwell, Bruce H Sage, Sec of Navy, App: 1945-09-26, Pub: 1957-11-19, - several seconds of burning,
2465401 Rocket fin assembly, Leslie A Skinner, App: 1943-09-23 (W.W.II) Pub: 1949-03-29
M8 rocket
"This invention relates to rocket projectiles, and more particularly, to the tail fins provided thereon to stabilize their flight. The prime object of invention is to devise a tail fin assemblage for rocket projectiles the blades of which are readily folded in ineffective position so as to offer no protrusion to the passage of the projectile through the gun barrel but which are automatically turned by the rocket blast to their effective position protruding radially from the projectile as the projectile leaves the gun barrel."
rocket gas fed by ports to push open the fins, improvement of 2427217 above.
2465402 Rocket launcher firing mechanism, Leslie A Skinner, Julius A Folse, App: 1943-09-25, Pub: 1949-03-29, -
This is for the mechanical version Bazooka, not produced.
2466752 Electrically fired rocket projectile, Edward G Uhl, Leslie A Skinner, App: 1943-09-22, Pub: 1949-04-12
M6 HEAT rocket the M1 Bazooka. Note the two electrical connections are (1) on nose cone and (2) on tail.
There are no wires coming out of rocket in this first generation Bazooka rocket.
Fixed fins.
Real M6A1 rocket: left to right (patent 2466752 above & 2487053 below)
Conical end cap (5)
Explosive head (2)
Tube (3) contains rocket engine
Nozzle (4)
Fins (10)
See 2692557 Fuse for the base detonating fuze.
2472108 (Laterial) Thrust gauge for projectiles, Clarence N Hickman, Sec of War, Filed: 1944-11-16, Pub: 1949-06-07, - Cu spheres
2481910 Rocket launcher, Ardenne Walter H D, Heintz Manuf Co, App: 1946-06-05, Pub: 1949-09-13, -
2421893 Rocket firing control mechanism, Albert L Lambert, Ardenne Walter H D, Heintz Manuf Co, App:1944-11-02, Pub: 1947-06-10, - positions for up to 20 rockets
2448962 Rocket stop assembly, Ardenne Walter H D, Heintz Manuf Co, Heintz Manuf Co, App: 1946-09-25, Pub: 1948-09-07
The M8 4.5" rocket (Wiki) was fin stabilized and did not work that well, but over 2 million were made.
This might be related to the M16 4.5" Spin Stabalized Rocket (Wiki).
T66 Rocket Launcher:
2484355 Reaction motor with propellant charge mounted in it, John W Parsons (Wiki), Aerojet Rocketdyne, App: 1945-04-23, Pub: 1949-10-11, - JATO (Wiki)
You can see where the term "JATO Bottle" came from.
Parsons also holds a number of patents on liquid fuel reaction motors.
2487053 Obturator trap for rocket propellants, Clarence N Hickman, Sec of War, Filed:1944-11-16, Pub: 1949-11-08, - Bazooka rocket
2490389 Quick action fuse, Jr Nathaniel B Wales, Army, Filed: 1946-11-01 W.W.II, Pub: 1949-12-06, -
"One of the difficulties heretofore encountered in detonating shells and rockets, especially of the shaped charge type, has been to achieve detonation early enough to produce the most effective explosive force at the instant of impact of the projectile." i.e. this may be for the Bazooka.
2496316 Rocket projector, Leslie A Skinner, Edward G Uhl, App: 1943-09-22, (W.W. II), Pub: 1950-02-07, -
Electrical connections to rocket: one on nose and one on tail, no wires.
Launcher, Rocket, 2.36 inch, Anti-Tank, M1
Note M6 HEAT rocket shown in Fig 12 wiring diagram.
Electrical ignition uses Eveready 791-A battery (made up of two series "C" cells).
2502458 Trap for rocket propellants, Clarence N Hickman, App: 1944-11-16, Pub: 1950-04-04, - rods of propellant secured only at their front ends
2503270 Trap for rocket propellants, Clarence N Hickman, Sec of War, Filed:1944-11-16, Pub: 1950-04-11, -
Fig 3 bears a strong resemblance to the M6A1 rocket or JATO (has bolt on nozzle plate)
5: Venturi nozzle, not sure why, maybe Joule–Thomson effect (Wiki)
30: BBQ grill type trap supports propellant rods
21: Electrical squib (Wiki)
22: blow out disk
2503271 Rocket projectile, Clarence N Hickman, App: 1945-02-06, Pub: 1950-04-11, - has to do with center of mass in relation to the center of thrust causing more dispersion in rockets then shells fried from guns.
2504160 Rocket projector, Leslie A Skinner, Julius A Folse, App: 1944-10-03 (W.W.II), Pub: 1950-04-18, - tripod, very heavy, single tube
2504648 Projectile, Edward F Chandler, App: 1941-10-25, Pub: 1950-04-18, -
Jets angled to cause spin. Early M8 rocket?
2519905 Driver rocket, Clarence N Hickman, Sec of War, Filed:1945-05-17, Pub: 1950-08-22, - Conventional 4.2" mortar can not be used at low angles of fire because the round will not impact the firing pin with enough force to set off the primer. By putting a small rocket on the nose of the mortar round to drive it down the barrel it will then fire.
2524591 Rocket projectile, Edward F Chandler, App: 1944-07-19, Pub: 1950-10-03, -
2549811 Powder trap, Clarence N Hickman, Sec of War, Filed: 1944-08-24, Pub: 1951-04-24, -
Bazooka
"This invention relates to improved powder traps for trapping the propellant charge of rocket projectiles. In many forms of rocket propelled projectiles the burning of the propellant powder must be completed within the projector tube, especially rocket propelled projectiles fired from a shoulder projector. Therefore in order for the projectile to attain its maximum velocity within the projector tube the acceleration of such projectile must be very rapid. This rapid acceleration however, forces the powder column contained within the projectile against the trap holding such propellant with considerable force thereby heavily overloading the powder trap. Furthermore the gas flow within the combustion chamber is extremely violent.
As the propellant material generally utilized in rocket projectiles is quite fragile the propellant is subject to fracture due to impact against the powder traps because of the sudden acceleration of the projectile, or due to the ending action of the gas flow. Any fracture of the propellant. charge increases the burning area of Such charge which results in a corresponding increase in the burning rate of the propellant. An increase in the burning rate of the propellant likewise causes a considerable increase in pressure within the projectile which could readily develop into a dangerously high chamber pressure. Further, the propellant material breaking away from the propellent charge tends to clog around conventional traps, which are generally located at nozzle of the projectile, thereby restricting the gas flow thru such nozzle, resulting in higher chamber pressures.
Accordingly it is an object of this invention to provide improved powder traps for a rocket projectile to securely hold the propellant charge of such projectile in such fashion as to prevent damage to the propellant charge due to the rapid acceleration forces of the projectile."
2545204 Jet-accelerated armor-piercing bomb
2557151 Spring actuated generator for rocket launchers, Leslie A Skinner, Julius A Folse, App: 1944-08-24 (W.W.II), Pub: 1951-06-19, -
Replaces the battery with a spring activated magneto. This is the basis for the M9 Bazooka.
The same idea as a Blasting Machine.
Lever (19) tensions spring (20). When trigger (37) is pulled it frees spring which pulls sector gear (24) which in turn drives gear (25) on armature shaft (10) rotating armature in field provided by permanent magnet (9).
2563265 Rocket motor with solid propellant and propellant charge therefor, John W Parsons, Aerojet Rocketdyne, App: 1943-09-21, Pub: 1951-08-07, - JATO (Wiki)
2563969 Toy spring rocket launcher, Leslie A Skinner, 1947-03-15, Pub: 1951-08-14, -
A toy Bazooka designed by the inventor of the real one!
Cites 6 prior art patents:
Publication number Priority date Publication date Assignee TitleUS468089A * 1892-02-02 Spring toy gunUS1381639A * 1921-06-14 Toy gun and projectileUS1473507A * 1922-09-29 1923-11-06 Obermaier Carl August Casting rodUS1473419A * 1922-09-05 1923-11-06 George R Cudlipp Toy pistolUS2213496A * 1939-05-10 1940-09-03 John E Kahler Swatter gun
2570693 Impulse generator, John C Koonz, Magnavox, 1951-10-09, -
Works without hammering action so is much quieter in operation. Can be driven by the mechanism of a recoil operated automatic gun. probably not for a bazooka, but what gun would use a HV impulse generator?
2579323 Rocket projectile, Gregory J Kessenich, App: 1944-02-14, (Top Secret) Pub: 1951-12-18
This is the first Bazooka rocket. It has fixed tail fins unlike all the others which are folding fin rockets.
The low trajectory makes this suitable to attack moving targets, like tanks.
The rocket (1) has what amounts to the M9 shaped charge grenade (20) (Wiki) screwed on the front.
The grenade has an impact fuse (3) at the tail end that can be secured with a cotter pin (hole in firing pin (23).
A thermal insulating disk (4) separates the rocket propellant from the firing mechanism.
The front of the grenade is a thin sheet metal ogival (13).
British patent 28030 covers the explosive charge (14).
The conical liner (15) is probably copper, but that's not mentioned.
DTIC A144098.pdf Ministry of Defence, Royal Armament Research and Development Establishment, Report 2/84, Some Historical Aspects of the Development of Shaped Charges, R.F. Eather & N. Griffiths, 1984
There's a problem if the hot high pressure rocket gases find a pin hole into the explosive chamber.
2583570 Nozzle for rocket motors, Clarence N Hickman, App: 1945-06-28, Pub: 1952-01-29, - temperature compensating
2586229 Replaceable firing pin for mortars, Clarence N Hickman, Sec of War, 1944-11-29, Pub: 1952-02-19, - 4.2" chemical mortar
2605607 Trap for rocket propellant, Clarence N Hickman, Sec of War, Filed:1944-11-16, Top Secret, Pub: 1952-08-05, -
2609730 Rocket discharger, Lars O Bergstrom, Saab Bofors AB, 1952-09-09, - 19-Tube FFAR pod.
LAU-3/A?
2612747 Rocket having adjustable discharge passage, Leslie A Skinner, Sec of War, 1952-10-07, -
"Another purpose of the invention is to provide a means for automatic adjustment of the Orifice cross-section of a rocket for optimum performance depending upon ambient temperature at the time of firing."
2620732 Mortar charge, Clarence N Hickman, Sec of War, App: 1944-11-29, Pub: 1952-12-09, - change in charge density to change range.
2643184 Propellant charge for jet-propelled devices, Robert W Cairns, Sec of War,App: 1944-01-15 (W.W.II) Pub: 1953-06-23, - rocket fuel. By coating grains much larger than are used in guns the only part of the grain that light is the exposed part. So, for example, a rod coated on the cylindrical surface would only light on the exposed end.
2692557 Fuse, Jr Nathaniel B Wales, Army, Filed: 1946-06-14 (W.W.II) Pub: 1954-10-26, -
This is the base detonating fuze for the M6A1 Bazooka rocket
Wales also has patents on the Proximity Fuze Reserve Battery.
also see 2490389 above
2697400 Projectile with shaped charge and point initiating fuze, Lyle K Liljegren, App: 1944-02-14, W.W.II, Pub: 1954-12-21, - Probably artillery shell.
The hollow cone (21) is described as "thin material". Copper or other ductile metal for the liner (Wiki) is not mentioned.
2721518 Projectile (Mortar), Clarence N Hickman, Sec of War, App:
also see 1994490 for early rocket propelled mortar
The washer shaped propellant grains are for use in a spinning projectile
2742820 Contact and stop mechanism for launchers, Brown Robinson, Hugh E Metcalf, John F Brooks, Army, 1956-04-24, - for a bazooka, probably the M20 3.5"
2757611 Shaped charges, Joseph H Church, Gregory J Kessenich, US Army, 1956-08-07, 102/307 - Shaped Charge (Wiki) Filed in 1950 after W.W.II
2764066 Contact-latch type firing mechanism for rocket launchers, Jr Robert A Doak, Luis R Garza, Army, 1956-09-25, - 3.5" Bazooka, moves the impulse generator to the top rear of the tube.
2764091 Piezoelectric fuse, Colin M Hudson, Leslie A Skinner, Sec of War, App: 1945-04-27 (W.W.II), Pub: 1956-09-25
2801587 Folding fins for rockets and missiles, Albert S Gould, (@ China Lake) 1957-08-06, -
"permits launching of the rocket through a launching tube with the fins in folded position.. . .
a novel folding fin and exhaust nozzle construction. - 4 small nozzles
actuating the fins to their extended positions, utilizing the pressure in the rocket motor reaction chamber Piston (40)
employed in rockets of relatively small calibre. - FFAR 2.75" (Wiki)
With fins that fold toward the front there's no problem with the exhaust melting the fins. But in this case the fins fold to the rear and so are in the path of the exhaust gas. So . . . instead of a single nozzle Gould has used 4 nozzles.
2.75-In. Folding Fin Aircraft Rocket, Final Report, 1969, 259pgs, DTIC 501432.pdf -
1600 PSI for 2 seconds then tapers off
4150540 Rocket nozzle system, Harold A. Krayenbuhl, Gene Dolgonas, Charles J. Rogers, US Air Force, 1979-04-24,
2835170 Rocket launcher, James H Kindelberger, North American Aviation, 1958-05-20, - see 2968245 below.
2857258 Jet propellant, Charles A Thomas, Monsanto Chemicals, App: 1945-08-22 (13 years delay), Pub: 1958-10-21, - contains some theory and "burning law" equations relating the burning area with the nozzle throat area.
Glyptal 1201 used to glue grains together. Specific Impulse: 160 - 170.
Ref: 1892400 Diphenyl resin and method of producing the same, Russell L Jenkins, Joseph A Sikarski, Swann Research, 1932-12-27, - Example VI non-crystalline, chlorinated polyphenyl resin
2171882 Urea formaldehyde resins, Oskar R Ludwig, Resinous Prod & Chemical, 1939-09-05, -
2916969 Rocket launcher, Noel W Pion, North American Aviation,1959-12-15, - very low cost, disposable & integrated shipping container. cardboard? - for FFAR
2934897 Rocket ignition system, Charles C Waugh, William C Parrish, North American Aviation, 1960-05-03, - for FFAR
2945442 Explosive separation device, Barnet R Adelman, James D Burke, Sec of Army, 1960-07-19, -
2968145 Monopropellent for use in rocket motors, Irving A Kanarek, North American Aviation, App: 1954-05-10, Pub: 1961-01-17, -
2968245 Spinning rocket, George P Sutton, Albanese Philip, John R Conyers, Noel W Pion, Herbert H Isaacs, North American Aviation, 1961-01-17, - spinning, not FFAR? later versions did spin
2976804 Separation means - drop empty rocket housing?
3001475 Time delay means for a hand grenade, Howard T Hodges, 1961-09-26, - spring powered clockwork.
3139794 Launcher and rocket, Jr Vernon M Barnes, Jr Jerry A Burke, Irving R King, Robert L Wolf, Texaco Experiment, 1964-07-07, - This is a new to me propulsion system that's more powerful than the 2-liter pop bottle using water + compressed air.
3326128 Rockets and combinations of rockets and cases, Paul V Choate, Norris Industries,1967-06-20, -
3292536 Shaped explosive charges, Joseph H Church, Gregory J Kessenich, Sec of Army, 1950-04-25, (16 year delay) Pub: 1966-12-20, 102/306 - for general demolition use
3561361 Detonation system for shaped charges, Gregory J Kessenich, Joseph H Church, Sec of Army, App: 1950-04-18 (delay 21 years= Top Secret) Pub: 1971-02-09 - for general demolition use
3620162 Rifle launched rocket, Paul C King, Navy, 1971-11-16, -
HE not shaped charge.
Note stepped disks in rocket motor to get the desired cone shape.
Shown on M14 rifle. This would solve the problem with conventional rifle grenades breaking the stock.
4004514 Roll rate stabilized wrap around missile fins, Peter Daniels, Navy, 1977-01-25, - Hydra 70 WAFAR (Wrap-Around Fin Aerial Rocket) (Wiki) replced the FFAR
4112849 Smokeless slow burning cast propellant, John Leslie Jones, California Institute Research Foundation, App:1949-02-11 (29 year delay), Pub: 1978-09-12, -
4140562 Solid propellant with alginate binder, Silvio P. Gualillo, Regis Raab, Edward G. Uhl, 1979-02-20
a recipe for a water based ammonium nitrate propellant that's then molded at a few thousand PSI, and dried.
Burns at very high pressure and temperature.
5322002 Tube launched weapon system, Herman L. Miskelly, Jr.Richard L. Alldredge, Northrop Grumman, 1994-06-21, - anti-aircraft and anti-tank weaponry - this pushes the missile out of the tube and the rocket motor ignites some distance in front of the tube for the safety of the soldier.
WO2006086527 Radiation homing tag, John A. Maynard, James M. Ortolf, Mark A. Carlson, Paul D. Zemany, BAE Systems, 2006-08-17, - cites 36 prior art patents
2633702 Multiple Nozzle Rocket, Clarence N Hickman, Office of Scientific Research and Development,
2724237 Rocket projectile having discrete flight initiating and sustaining chambers
2471745 Spacer trap for rockets
2437694 Method for blending powder grains, Clarence N Hickman, Sec of War, - smokeless powder utilized for rocket propellants. Uses the heat of the rocket motor to arm. Possible problem if there are any pin holes allowing hot high pressure gases to get to the explosive.
2522514 Arming Device, Clarence N Hickman, OSRD (Wiki), depends on the heat of the propellant
2596644 Automatically detachable flashless nozzle for rockets
2502842 Electromagnetic Relay, Bell Telephone
2585010 Wire Connecting Tool, Wire Wrap, Bell Telephone
2589806 Selective Signaling, Bell Telephone, cross bar switching
2485601 Multiple Cartridge Launcher, OSRD - V-1 rail launcher
2567812 Code transmitter - 2x5 keypad -> 5 level paper tape, Bell LabsReferences
Also see China LakePatents Ref_8 and many of the following references.
Ref 1: The Bazooka, Gordon L. Rottman, 2012, ISBN: 978 1 84908 801 5 -
Ref 2: Bazooka vs Panzer: Battle of the Bulge 1944 Paperback – November 22, 2016
Ref 3: U.S. Rocket Ordnance Development and use in W.W. II (pdf) Div 3 of NDRC: Rockets, Sec H Alleganu Ballistics Lab, WV & Cal Inst of Tech, Pasadena, CA (& NOTS)
Ref 4: U.S. Ground/Air Launched Rockets -
Ref 5. Expedient Recoilless Launchers, Panzerfaust, Jonathan Wild, ISBN: 978-0-578-76286-9
Ref 6. The Poor Man's RPG: Shoulder Fired Anti-Tank Grenade, George Dmitrieff, ISBN: 0-876947-154-9 - many M9, M18 & M20 Bazooka drawings & some Panzerfaust drawings.
Ref 7. The Rocket Propelled Grenade (Weapon),Rottman, Gordon L.
Ref 8. 3.5-Inch Rocket Launcher "Super Bazooka" Field Manual: FM 23-32, Department of the Army
Ref 9. Launch Magazine's History of American Rocketry: The Space Race, Model Rockets, and The New Frontier, Mayfield, Mark
Ref 10. TM 43-0001-30 Technical Manual Army Ammunition Data Sheets for Rockets, Rocket Systems, Rocket Fuzes, Rocket Motors FSC 1340, Dec 1981 (C14).
1. IntroductionRef 11. OP1664 US Explosive Ordnance
2. Ground Rockets, 3.5", M72 LAWS
3. Aircraft Rockets, 2.75"
4. Fuzes, 2.75"
5. Rocket Motors, Mk22 demo charge tow, Mk 20 & Mk 66 (2.75"), M3A2 & M8 JATO
1. Projectiles Propellants and Projectile FuzesRef 12. YouTube: RPG-7 the Glorious Soviet Army's Anti Tank Weapon, 10:17 - includes footage of Bazooka and other small rockets.
2. (pdf 148) Rockets and Rocket Fuzes
2.1 Intro3. Pyrotechnics ...231
2.2 Army Rockets
2.36"... 154
3.25" ...157
4.5" ...158
5" & 7.2" ...160
2.3 Army Developmental Types ...161
2.4 Navy Rockets ...pdf165
2.25" A.R. Practice
3.25" Targets...166
4.5" B.R. ...173
5.0" A.R. ...171
7.2" H.E. Mousetrap...179
11.75" A.R. Tiny Tim ...184
2.6 Rocket Fuzes ...186
2.6.2 Army Nose Fuzes ...187
2.6.3 Army Base Fuzes ...191
2.6.4 Army Exp Fuzes
2.6.5 Navy Nose Fuzes ...195
2.6.6 Navy Base Fuzes ...219
2.6.7 Navy Auxiliary Detonating Fuze ...228
3.1 Pistol & Hand-size Signals ...233
3.2 Drift Signals ...240 (forms a slick on water visible at 15,000 feet.
3.3 Navy Flares
3.4 Depth Charge & Slick Markers
3.5 Army Flares (M9 for AN/M8 Pyro Pistol)
3.6 Target Flares
3.7 Target ID Bombs
3.8 Smoke Streamer Bombs ...264
3.9 PhotoflashBombs ...266
3.9 Ground Protechnics ...269
3.10 Shipboard Pyrotechincs ...285
------------ End of this volume
4. Grenades
5. Land Mines and Firing Devices
6. Bombs and Bomb Fuzes
7. Guided Missiles and Fuzes
Ref 13. Low Altitude Air Defencs (LAAD) Gunner's Handbook MCRP 3-25.10A, 9 May 2011 (pdf) -
Ref 14. Technical Manual (TM) 08319A-12, Operators and Organizational Maintenance Instructions STLS (Stinger Launch Simulator) NSN 6920-01-119-7619.
Ref 15. TM 9-1425-429-12, Operator’s and Organizational Maintenance Manual for Stinger Guided Missile System Consisting of:
Weapon Round RMP: FIM-92D (NSN 1425-01-325-0695) (EIC: N/A) (NSN 1425-01-356-6995) (EIC: N/A) (NSN 1425-01-325-0696) (EIC: N/A)
Weapon Round Block I: FIM-92E (NSN 1425-01-440-8040) (EIC: N/A)
Trainer Handling Guided Missile Launcher M60 (NSN 6920-01-024- 9969) (EIC: NRH)
Guided Missile Subsystem Intercept-Aerial, Training M148 (NSN 6920-01-246-0699) (EIC: NSC)
Interrogator Set AN/PPX-3A, AN/PPX-3B (NSN 5895-01-032- 4263) (EIC: IZH) (NSN 5895-01-126-9263) (EIC: IZF)
Interrogator Set Programmer AN/GSX-1, AN/GSX-1A (NSN 5895-01-032-4266) (EIC: IZJ) (NSN 5895-01-119-1273) (EIC: IZK)
Ref 16. TM 9-6920-429-12 Operator's and Organizational Maintenance Manual: (Stinger Guided Missile Training Set)
Ref 17. Stinger Missile Publications Combined: Manportable Air Defense (MANPAD) Technical And Doctrinal History From 1980 To 2018
Ref 18. Cheap, Effective, Everywhere: The RPG-7, 20:56 -
Ref 19. Certain Victory: The US Army in the Gulf War by General Rotert H. Scales, 1984, 460 pages (CertainVictory.pdf) - The source of "Steel rain" may have been the radio call sign of a MLRS group and not the enemy. NYT: A Myth That Won’t Die About a Gulf War Weapon, and Why It Matters, YouTube: Movie: Iron Man Jericho Missile Scene, 1:59 -
Ref 20. All Types of Grenades Explained, 8:41 -
Ref 21. The Rifle Grenade Video: Back to the Drawing Board!, 6:04 - Enfield, Shispecker & MASS 3651 - all with problems.
Ref 22. The History of Rifle Grenades, 38:44 -
Ref 23. Rocket Stability, 12:44 -
Ref 24. GyroJet.This Pistol Literally Shoots ROCKET BULLETS!!!, 23:59 - the rocket is burning long after it leaves the launch tube so poor stability. The kinetic energy at the muzzle is very low and probably not harmful, i.e. there's some distance a target needs to be in order to receive the maximum energy.
Ref 25. U.S. Marines Are Testing 'Deadly' New Grenade Launcher, 8:19 -
Ref 26. LDM #354: Javelin Missile guidance computer - Part 1: teardown, 12:46 -
Ref 27. Battle Factory | Manufacture of a Grenade Launcher, Cannon, Parachute & More | FD, 41:43 - @26:54 M203 Grenade Launcher,
Ref 28. Real Reason Why AGM-114 Hellfire Missile Is So Expensive, 19:29 - good overview of the AGM-114
Ref 29. How to Fire a Mortar? (really about the M224 (Wiki) 60mm), 8:25 - M7 Base Plate, M224 Cannon, M170 Bipod, M64A1 or M67 Sight
Ref 30. The Thumper, The Grenade Launcher That Changed Everything, 30:51 -
Ref 31. TWZ: Laser-Guided Rockets Shown Shooting Down Houthi Drones For First Time, Mar 19, 2025 - CENTCOM video on X -
Ref 32. YouTube: War Department Training Film, T.F. 18, 1166; The Antitank Rocket M6, 8:18, @4:34 repeat of same material
G.I. Films COMBAT SERIES #6 includes:Ref 33.
TF 18-1166 The Antitank Rocket M6: Methods of Use
TF 18-1116 Employment of Secondary Weapons Against Tanks
TF 21-2025 Mechanized Patrolling
TF 7-280 The Recon Scout
A next generation Bazooka which fires a rocket that's very close to the diameter of the 2.36" early version Bazooka.
Probably designed by Brunswick Corp (Patents). Launch tube is composite material, not metal.
4118262 Longitudinal load carrying method for fiber reinforced filament wound structures, Harry Thomas Abbott, Brunswick Corp, 1978-10-03, -
Rocket
eBay listing "M72 Law 66mm 1:1 scale model rocket kit Estes D12 motor vietnam inert replica A1" eBay seller: techcom - $60 including shipping.
This is a 3D printed full size LAWS rocket and may be compatible with Estes rocket motors.
Fig 1
Fig 2 Compared to Bazooks rockets M3A3 (top) and M6A1 (bottom).
The LAWS is larger in diameter and will NOT fit the Bazooka launcher tube.
Note: 2.36" = 60mm. LAWS is listed as 66mm on Wiki.
eBay "M72 Law 66mm 1:1 scale model rocket kit estes D12 motor vietnam inert replica A1" item# 324389294508
Length (Nose to Nozzle): 20"
using: The Rocket Simulator - shows an altitude of 48.8 meters (160 feet) by the time the motor burns out. This is based on a constant thrust of 10.21 Newtons rather than using the Thrust v. time curve. But the point is that the D12 engine would be burning after it left the launch tube.
Largest Diameter: 2.65"
Weight: 7.2oz with Estes D12 - Thrust-time curve -
Altitude and Speed with D12: 500ft @ 125mph
Motor: D12 or Motors with the same Diameter as the D12 (0.95")
Time Drag Force Thrust Net Force Mass Acceleration Velocity Altitude Area Velocity (mph) Air Density t Fd Ft F M Acc V Y Area mph rho 00.0000010.217.825460.2433232.161203.216120.482420.003567.194461.220000.100.0168410.217.821050.2420532.311326.447251.288700.0035614.422501.219940.200.0676610.217.782640.2407932.321899.679442.418250.0035621.652911.219830.300.1524910.217.710230.2395232.1905912.898503.869060.0035628.853951.219690.400.2707310.217.604410.2382531.9176216.090265.637670.0035635.993921.219500.500.4212210.217.466340.2369831.5057019.240837.719280.0035643.041741.219280.600.6021910.217.297790.2357230.9600122.3368310.107770.0035649.967501.219010.700.8113710.217.101020.2344530.2881025.3656412.795770.0035656.742941.218700.801.0460410.216.878780.2331829.4996128.3156015.774830.0035663.342011.218360.901.3030810.216.634160.2319128.6060131.1762019.035480.0035669.741171.217971.001.5791210.216.370530.2306527.6202033.9382222.567400.0035675.919811.217561.101.8706210.216.091450.2293826.5561236.5938426.359570.0035681.860411.217101.202.1739510.215.800540.2281125.4283539.1366730.400380.0035687.548731.216621.302.4855210.215.501390.2268524.2516841.5618434.677820.0035692.973831.216101.402.8018410.215.197490.2255823.0407143.8659139.179610.0035698.128041.215551.503.1196210.214.892130.2243121.8095446.0468643.893350.00356103.006841.214971.603.4358310.214.588340.2230420.5714348.1040148.806610.00356107.608661.214371.700.000000.00-2.177760.22222-9.8000047.1240153.470010.00000105.416401.21374
Manuals
TM 43-0001-30 Rockets, Rocket Systems, Rocket Fuzes, Rocket Motors, Federal Supply Class 1340, Dept of Army, Dec 1981, (pdf) 157 pgs, C14 17 Aug 2001,
Ch 1 IntroTM 9-1340-214-10 Operator's Manual, for, 66 mm Light Antitank, Weapon (LAW) System M72A1, M72A2 with Coupler, M72A3, and, Practice Rocket Launcher M190, with M73 Practice Rocket, Dept of Army, 31 May 1991
Ch 2 Ground Rockets: 3.5" M28A2, M29A2, M30; 66mm LAW M72, M74; 35mm subcaliber M73 (Promethium-147 (Wiki) is used in front sight.
Ch 3 Aircraft Rockets: 2.75" LSFFAR, WDU-4A, M255, M151, M229, M156, M230, WTU-1, M257, M278, M259, M247, M261, M267, M73, M75, M274, M264
Ch 4 Fuzes 2.75" Rockets: M423, M433, M429, M435, M439
Ch 5 Rocket Motors: Mk22, Mk40, JATO M3A2, M8; Mk66
LAWS Patents
The LAWS (Wiki: M72 LAWS) seems to have a poor reputation.
3122059 Rocket launchers, Paul V Choate, Charles B Weeks, Flightex Fabrics, 1964-02-25, -
3138064 Rocket launcher and sight, Paul V Choate, Charles B Weeks, Hesse Eastern, 1964-06-23, -
3182553 Rocket launcher and end covering means therefor, Paul V Choate, Charles B Weeks, Hesse Eastern, 1965-05-11, -
3200708 Rocket launchers, Paul V Choate, Norris-Thermador, 1965-08-17, - LAWS
3208347 Rocket launchers and rear sight therefor, Paul V Choate, Norris-Thermador,1965-09-28, - LAWS
3256777 Rocket launchers, Paul V Choate, Charles B Weeks, Frank A Spinale, Norris-Thermador,1966-06-21, - LAWS
3279072 Thermally responsive sights, Paul V Choate, Alton F Carr, Norris-Thermador, 1966-10-18, - temperature has a noticeable effect on rocket performance
3319566 Non-spin rockets and their guidance, Paul V Choate, Michael A Nee, Norris Industries Inc, 1967-05-16, -
3326128 Rockets and combinations of rockets and cases, Paul V Choate, Norris Ind, 1967-06-20, - "Rockets capable of being fired from a portable shoulder supported launcher...
3331251 Apparatus for testing objects with force generated by suddenly released energy, Willis F Tibbetts, Norris Ind, App: 1964-08-21, Pub: 1967-07-18, - for testing fuzes
![]()
![]()
3371578 Rocket launchers, Paul V Choate, Frank A Spinale, Norris Ind, App:1966-06-20, Pub: 1968-03-05, -
3494249 Weapon system including a launcher of the rocket launcher type and a projectile of the rocket type, Paul V Choate, Norris Industries, 1970-02-10 -
Looks like the Mk 153 Shoulder-Launched Multipurpose Assault Weapon (Wiki)
3688408 Range and elevation determining device, James P Smith, Erwin Michelson, 1972-09-05, -
CA 761211 Rocket launchers, V. Choate Paul, B. Weeks Charles, A. Spinale Frank,
GB1100515 Improvements in or relating to a rocket launcher, Paul Vincent Choate, Charles Bailey Weeks, Frank Anthony Spinale, Norris Ind, App: 1966-06-01, Pub: 1968-01-24, -
4607445 Temperature compensating front sight, Paul V. Choate, N I Ind,1986-08-26, -
4129268 Rockets including trajectory controls, Willis F Tibbetts, Norris Ind, App: 1965-10-23, Pub: 1978-12-12, -
4689910 Front sight for projectile launchers, Paul V. Choate, Robert W. Woodburn, N I Ind, 1987-09-01, - LAWS
I placed this paragraph on the 40mm grenade page because the items on this page are about projecting a small amount of explosive distances that are considerably farther than anyone can throw a hand grenade but nowhere as far as larger weapons.
Mortars (Wiki) have a mode of operation that's similar to the 40mm grenade, i.e. low barrel pressure where the propelling charge is typically a blank cartridge (Wiki).
The 3 inch mortar (Wiki) invented by William Stokes (Wiki) was used in W.W.I.
YouTube:
The M2 60mm (Wiki) mortar was replaced by the M19 (Wiki) in the 1950s but was not used much. The M224 (Wiki) has been used since about 1978 till now.Video demonstration on the set-up and firing of the M2 60mm mortar, 18:40 - preparation of the practice shells (20 Ga blanks) and firing - nothing about aiming.
The M1 81mm (Wiki) was in service prior to W.W.II and up until the 1950s. It is very heavy compared to the M2 60mm model.
See Ref. 29 for an animated YouTube about the M224 parts, but not really a good explanation of how it's used.
Direct v. Indirect
Rifles and pistols are direct fire (Wiki) weapons. That means the person firing the weapon can see the target with a direct line of sight.
Mortars are indirect fire (Wiki) weapons. That means the person firing the mortar can not see the target and more important the target (enemy) can not shoot bullets at the mortar/gun crew. Indirect fire means the soldiers doing the firing are not visible to the enemy. It also allows for a large number of weapons to aim at the same target, thus making up for the lack of accuracy/precision.
In the Netflix series "The Pacific" (Wiki, IMDB) The M2 and its sight are part of the plot rather than just in the background. BUT, the M2 is positioned at the front line where bullets are flying. This misses the point of indirect fire. The mortar should be positioned so bullets can not get to it.
The problem is how to aim an indirect fire weapon when you can not see the target. There are a number of solutions but most involve surveying principles as well as North Finding.
Exterior Ballistics plays an important part as well as a number of other factors.
Patents
FR592328A (GB245711) Projectile improvements for smooth bore guns, Edgar William Brandt, 1925-07-31 - basis of the US M2
FR593782A (GB247900A) Improvements to light guns called trenches or infantry support, Edgar William Brandt, 1925-08-31, - basis of the US M2
1628527 Projectile for smooth-bore guns, Brandt Edgar William, 1927-05-10, 102/373; 102/524 - basis of the US M2
Others: 1875985, 1883758, 1879840, 1861522, 1973604, 2052546, 2037308, 2115608, 2113313, 2246429, 2362534, 2699722,
Shaped Charge: 2717552 , 2613605,
Recoiless: 2661691,
Bazooka like launcher: 2685232, App: 1950-07-13, Pub: 1954-08-03; Sight: 2664635, Trainer: 2674923,
Practice: 2793590,
1730800 Ordnance material, Brandt Edgar William, 1929-10-08, 89/37.05 - basis of the US M2
2182010 Piece of ordnance, 1939-12-05 - much larger version mounted on 2-wheel trailer & 2368966,
1861521 Fuse for rotating projectiles, Brandt Edgar William, 1932-06-07, 102/232; 102/239 -
Others: 2167197, 2595757, 2601827,
2518452 Mortar and mount, Jr George B Davis, Edgar C Roberts, 1950-08-15, -
2572882 Mortar sight bracket and sight, Edgar C Roberts,Jr George B Davis, Sec of War, 1951-10-30, -
This may be the M4 Mortar sight?
8263919 Unmanned surveillance vehicle, Timothy A. Murphy, Crystal J. Taton, Leonard S. Raymond, Raytheon, 2012-09-11, - aka Mortar launched aerial surveillance vehicle - <200mm dia. M2 Mortar
Two images at left from Wiki.
YouTube:
Mortar Team Tactics and Weapons 11 Charlie "Hang it!", 10:01 -
@4:47: Indoor Nerf Gun toy,
@6:38: Counter Battery (Wiki) -AN/TPQ-48 Lightweight Counter-Mortar Radar (LCMR) (360 degree coverage) I saw the TPQ-36 (Wiki) at Hughes many decades ago.
@7:31 Mortar v. Artillery
@8:12 use of the M79 Grenade Launcher
9:22 Future of Mortars -
The key M2 idea was to have a weapon with more power than a hand grenade and lighter than the M1 88mm mortar (Wiki).
Fig 1
Contents of first Box from eBay seller: rafamovieprops
1. Extension bar for M4 sight
7. Dyed Sterilized Carlisle Dressing, small (Wiki)
2. M37 Instrument Light
8. Small Carlisle Dressing
3. M4 sight, M4 carry case
9. Strap Assy M4 Sight 4. M12 Tool Roll
10. Vest for Tube/legs & mortar rounds
5. Dwg No. C-61352 Rev. No. 2 Strap Assy M4 Sight in wrapper
11. Left & Right shoulder pads for Vest
6. M1924 bandage pouches
M4 Mortar Sight
See patent 2572882 above.
Fig 2
Fig 3 M4 Sight
Fig 4 M4 Sight & Extension Bar Showing same end.
Fig 5 Extension bar connected to sight
Fig 6 Light, Instrument, M37 (7672875)
This is for use on the M4 sight.
It has two lamps one for the M4 sight and a flashlight.
Runs on a single "D" cell.
The knob is frozen, applied Kroil . . .
The M41 Light is for aiming posts with red and green filters.
Fig 7 Front of Vest
Pouches front and back.
Fig 8 Back of Vest
Upper straps hold tube horizontally.
Lower hanging straps used like belt.
Fig 9 Left and Right shoulder pads for vest.
This makes clear this is a heavy system.
Fig 10 GTA 7-1-29 Plotting Board M16
The white backing sheet is: 10" x 9.5" x 0.01"
This can be rolled up.
Fig 11 M4 sight
set to 0 deflection (Azimuth)
& 45 deg Elevation
Mortar Operation
Setting up
This involves knowing where you are and the direction of North. I suspect it is similar to staking a land survey where aiming posts are placed in view of the mortar sight.
Ballistics
Either a table or the M23 Mortar Ballistic Computer or a printed table can be used to get the elevation angle and charge increment for a given range and weather conditions.
FM 3-22.91 Mortar Fire Direction Procedures (pdf) July 2008, 202 pages - Did not see info on staking
TC 3-22.90 Mortars (pdf), Dec 2007, 274 pages -Ch 6: M23 MBC
Ch 11: M16 & M19 Plotting Boards (M16 for 81 & 120 mm Mortars), M19 for 60mm mortar
1. Introduction
2. Equipment and Employment
Boresighting assures that the centerline of the sight mounting V-groove is parallel to the barrel centerline.3. 60-mm Mortar (TM 9-1010-233-10, TM 9-1010-233-23&P)
The M45 series boresight has a fixed angle of 800 mills (45 deg) and clamps on the outside of the barrel using V-blocks.
The M115 boresight is for use only on 60mm mortars and fits inside the barrel.
Use of the Gunner's Quadrant and M2 Compass is covered.
M2 & M2A2 aiming circles (M224: TM 9-6675-262-10 (pdf) = TM 00476C-OR/1) - it is essentially a theodolite w/a magnetic compass - The ARK 1 is called a Gyro Aiming Circle.
The M24 aiming circle tripod has the look and feel of the 5/8-11 hollow surveying tripod.
Once the deflection and elevation are set on the sight the mortar is moved to bring both level vials to center.
2-69: M1A1 & M14 aiming posts
2-71: M58 & M59 aiming post lights
2-73 M16 & M19 Plotting Boards
2-78 Layuing of the Section -
4. 81-mm Mortar (TM 9-1015-257-10, TM 9-1015-257-23&P, TM 9-1015-249-10)
5. 120-mm Mortars (TM 9-1015-250-10, TM 9-1230-205-10 + ammo manuals) - HMMWV, M1064A3,
6. Mortar Fire Control System (MFCS) - vehicle mounted, half dozen parts including laptop like custom computer & M150 MFCS-Dismounted
7. Fire Without a Fire Direction Center - 81mm M252, M821, M889 HE rounds circular slide rule
8. Gunner's Examination
App A Ammunition - dozens and dozens for each size + fuzes
App B Training Devices - M931 120mm
App C Glossary
References
Index
Mortar Settings
It looks like the mortar is setup pointing in the general direction of the target by means of the aiming circle. Then deflections are used to offset the azimuth to correct for errors. This is because the mortar is not on a turret, but rather has limited traverse (azimuth) motion. So map reading and/or surveying skills are needed for setup. There appears to be a hand held GPS based device to make this easier. Note that GPS does not contain any bearing information. The DAGR has a crude internal magnetic compass and a couple of Gun Laying apps that allow finding the bearing and distance between two points.
Manuals
TM 9-1290-262-10 Unit, Direct Support, and General Support Maintenance Manual (Including Repair Parts and Special Tools List), Aiming Circle M2A2, w/e 1290-01-067-0687), Sep 1994
TB 11-5820-890-10-13 Operation of Mortar Ballistic Computer M23 with SINCGARS Ground Radio Sets (pdf)
TM 9-1220-243-12&P July 1981 Maintenance Manual for Indirect Fire Plotting Board M16 M19 (Tpub)
TM 9-1220-248-12&P 27 August 1985 Mortar Ballistic Computer, M23
TM 9-1530 Ordnance Maintenance, Aiming Circles, M1, M1918 (French), M1916 and M1916MI, Aug 19, 1941 (Radio Nerds pdf)
TM 9-1535 Sights, M4, M3 (For 60-mm and 81-mm Mortar Materiel); Sights M2A3, M2A1, M2 (For 81-mm Mortar Materiel). 12 Sep. 1941 (Radio Nerds pdf)
Sight, M4. —This sight (fig. 1) is standard for use with the mortar, 60-mm, M2, and the mortar, 81-mm, Ml. Elevation in degrees is indicated on the elevation scale, graduated in 10° steps, supplemented by a micrometer graduated in 1/4° steps. Elevation motion is from 40° to 90°. Deflection in mils is indicated on the deflection micrometer which is graduated in 5-mil steps. Directions of motion for left and right deflections are indicated by the letters "L" and "R" and arrows near the index. Deflection motion is 150 mils in either direction, and a zero indication corresponds to normal setting (line of sight parallel to plane of fire). The collimator and open sight have vertical reference lines and may be placed as desired in elevation. With the collimator moved to the extreme rear and elevation set at 40°, the elevation of the overhead portion of the open sight is 2° below the axis of the mortar tube, a feature of service in determining the approximate minimum elevation for clearing nearby objects.TM 9-6166 Operation and Organizational Maintenance, Aiming Circle M2, Oct 1955 -
PIAT (Wiki)
While watching the movie A Bridge Too Far (IMDB, Wiki) there's a battle on a bridge where the PIAT (Wiki) spigot mortar (shoulder mounted) takes out a number of German tanks. This was part of Operation Market Garden (Wiki). Stewart Backer (Wiki) did a lot of work on spigot mortars (Wiki: Blacker Bombard) and was a co-inventor of the Projector, Infantry, Anti Tank along with the head of UK weapons development Millis Jeffferis (Wiki).
Forgotten Weapons:PIAT: Britain's Answer to the Anti-Tank Rifle Problem -
Patents
2456812 Recoilless gun, Blacker Latham Valenti Stewart, App: 1938-05-04 (W.W.II SECRET), Pub: 1948-12-21, 89/1.801; 42/105; 89/33.01; 89/179; 89/199; 89/1.813; 89/33.1; 89/194 -
Uses a spring and a black cartridge to propel the round.
The projectile is a shaped charge very much like that used in Rifle Grenades, including the Bazooka.
Photo from Wiki PIAT
While researching this I learned that the Boys Anti-tank Rifle (Wiki) was not able to stop a tank. These were offered in used gun catalogs in the late 1950s and I wanted one, but my mother did not agree.
Another predecessor to the PIAT was the No. 68 AT grenade (Wiki) which was a small shaped charge. Wiki: PIAT Development.
Note there are many design aspects to the SIG stgw57 in order to make it strong enough to fire a heavy rifle grenade.
Normal combat rifles will bread after firing a small number of heavy rifle grenades.
Flash Gordon (Wiki) dates to 1934 so was around a few years before the PIAT patent. But it's not clear when the first Zarkov (Wiki) spaceship appeared.
Also see my Buck Rogers 25th Century Rocket Pistol - Wiki: Buck Rogers
The rocket ship first appeared in the 1930 movie Just Imagine (IMDB). Although it has a propeller.
The 1936 movie Flash Gordon (IMDB) has the probe at the front of the space ship.
So the shape was a popular item at the time the PIAT was developed. The real probe is needed as part of the fuze.
2938460 Finned projectile, Brandt Edgar William, Energa, Filed 1956-09-12, Pub: 1960-05-31, 102/476 -
Ref 1.Bring Up The PIAT! - A Bridge Too Far Scene Analysis, 6:17 -
One of the earliest rocket-propelled grenades (Wiki) was the Bazooka (Wiki). Note the shaped charge used for the Bazooka is the same as for the M9 rifle grenade. That's why I've grouped Rifle Grenades, Mortars and RPGs.
The Soviet PRG-7 (Wiki) appears in many movies. Over 9 million have been built because it's a very effective weapon. Unlike the Bazooka that required a crew of two men, the PRG-7 only requires one man. While the bore of the RPG-7 is 40mm, the shaped charge warhead is much larger since it sticks out in front unlike the bazooka where the shaped charge fits inside the barrel.
AirTronic USA makes a copy of the Soviet RPG-7.
RR Defense Systems makes RPG-7 (which has a 40mm bore) and 40mm grenade launchers.
Numrich sells: Deactivated RPG-7, Optical Sight, ? deactivated rocket?
RPG-7v Launcher new web page RPG-7v Rocket Launcher
A possible follow on to ALICE but was replaced by MOLLE.
8415-01-317-1622 Vest, Grenade Carrier (40mm)
This vest is designed to both carry the 40mm grenades and to also
act as suspenders for the standard ALICE belt. It has
built-in shoulder pads and a number of snap/velcro loops at the
bottom to attach to the belt. One size fits all.
![]() |
![]() |
![]() |
The AeroVironment Switchblade (Wiki) comes in two sizes the 300 and 600. An April 23, 2022 YouTube video:Switchblade: America's Suicide Drone Used to Destroy Russian Helicopters, 10:16; says the 300 has the same explosive charge as a 40mm grenade and it's not a 360 degree blast but forward facing, so some sort of shaped charge. PS there's nothing in the video about helicopters, i.e. false advertising but it does have a good overview of the 300 & 600. Note that the 300 is only effective against light armor, not tanks. The 600 and Javelin are effective against tanks with reactive armor.
9127908 Multimode unmanned aerial vehicle, Carlos Thomas Miralles, Aerovironment, 2015-09-08, - cites 264 patents,
Reactive armor (Wiki) was invented by Manfred Held in 1978 and was used in the 1982 Lebanon war (Wiki). The Tube-launched, Optically tracked, Wire-guided (Wiki: TOW) anti-tank missile dates from the 1970s and has a couple of problems. The operator to manually guide it until it hits the target and the early versions were not effective against reactive armor. The M47 Dragon (Wiki) was very similar to the TOW and was in turn replaced by the Javelin was designed to work against reactive armor and have "fire and forget" (Wiki) guidance.
Note the Javelin is the only military item that will NOT work with the BB-2590 Li-Ion battery. The prior BA-5590 and early BB-xx90 batteries did work with the Javelin, but the higher voltage of the BB-2590 batteries caused problems.
See China Lake Patents Ref 50, Chapt. IV The Javelin page 20. Uses imaging IR and top attack, fire and forget. Soft launch to get missile away from operator before starting main rocket engine. The Command Launch Unit (CLU) developed by TI has more resolution (240x4 FPA) than the missile 64x64 HgCdTe array).
See YouTube Teardown Ref 26.
The Javelin was proceeded by the Blowpipe (Wiki).
Developed by TI and Martin Marietta in the 1980s.
GB1605397 Improvements in or relating to missiles, Maurice Colbert Mcmahon, Eric Nicholson, Short Brothers, App: 1964-11-18, Top Secret for 3 decades, Pub: 1995-04-26, - Tail fins stored at front and slide to the rear.
GB2235965 A missile weapon system, Richard Edward Bell, William John Thomas Reid, Short Brothers, 1993-06-09, -
3715497 Optical scanner and real time image conversion system, Erwin E Cooper, Howard Kennedy, TI, 1973-02-06, - CLU,
3781559 Variable field of view scanning system, E Cooper, H Kennedy, TI, 1973-12-25, -
4028907 Adjustable-Joule-Thomson cryogenic cooler with downstream thermal compensation, Rodney E. Herrington, Carol O. Taylor, TI, 1977-06-14, -
4160415 Target activated projectile, Lewis C. Cole, Army, 1979-07-10, - over the top (OTP),
5279974 Planar PV HgCdTe DLHJ fabricated by selective cap layer growth, Devin T. Walsh, Santa Barbara Research Center, 1994-01-18, -
5932833 Fly over homing guidance for fire and forget missile systems, Ricky K. Hammon, Monte K. Helton, Army, 1999-08-03, - cites 20 patents, cited by 16 patents,
Reactive Armor
4368660 Protective arrangement against projectiles, particularly hollow explosive charge projectiles (Reactive armor), Manfred Held, Messerschmitt Bolkow Blohm AG, App: 1978-10-13, Pub: 1983-01-18, -
Tandem Warhead
7143698 Tandem warhead, Richard M. Lloyd, Raytheon, 2006-12-05, - looking for the FGM-148_Javelin (Wiki) anti-tank tandem warhead but this is not it. But this patent cites 111 prior art patents so is important. The inventor is the author of the book: “Conventional Warhead Systems Physics and Engineering Design,” Progress in Astronautics and Aeronautics (AIAA) Book Series, Vol. 179, ISBM 1, 56347-255-4, 1998
20060266247 Multi-purpose single initiated tandem warhead, Jason Gilliam, Darin Kielsmeier, Army, 2008-04-29, - not Javelin, but instead dual purpose.
3416449 Tandem effect anti-tank projectile, Brothers Jack, Army, 1968-12-17, - not Javelin, but "... to provide a protective cover overlying its main armor. The cover could be of earth, mud, clay, fibre glass or other dissimilar material, so as to protect the main armor against prior known weapons." Vietnam ear. , Thomson Brandt Armements, App: 1988-11-15, Pub: 1995-03-07, - the right time frame for Javelin and correct description of function.
5394804 Explosive device with a hollow charge, designed for penetrating armor protected by active primary armor, Jean Cauchetier
FR2583156 Hollow-charge head intended for piercing armour protected by active pre-armour, Thomson Brandt Armements, App: 1985-06-07, Pub: 1986-12-12, - earlier version that matches Javelin timing and function.
FR2673462 Projectile for use against multilayer and/or reactive armour, Diehl Verwaltungs Stiftung, App: 1982-08-05 -
Fire and Forget
The Bat (Wiki, China Lake) was a fire and forget bomb developed just after W.W.II. Modern "smart bombs" are NOT fire and forget since they require a laser designator to be aimed at them until hit (Wiki).
The Sidewinder (Wiki, China Lake) is another fire-and-forget weapon.
The AGM-114L version of the Hellfire air-to-ground missile (Wiki) was fire-and-forget using radar guidance. The laser type Hellfire is used on the Predator (Wiki) and Reaper (Wiki) UAVs.
Hellfire Patents
also see Ref 28 for a good overview of the AGM-114.
4198015 Ideal trajectory shaping for anti-armor missiles via time optimal controller autopilot, Robert E. Yates, John P. Leonard, Robert E. Alongi, Army, 1980-04-15, -
4238090 All-weather intercept of tanks from a helicopter, John A. French, Army, 1980-12-09, - probably the radar guided Hellfire.
4277038 Trajectory shaping of anti-armor missiles via tri-mode guidance, Robert E. Yates, John P. Leonard, Robert E. Alongi, Wilfredo V. Albanes, Charles M. Bishop, Army, 1981-07-07, -
Harpoon Patents
3978797 Radiometric target detection device, William W. Harrington, Frederick C. Alpers, Navy, 1976-09-07, - "...all weather missile fuzing against a ship or boat target irrespective of the presence of heavy sea clutter." (Wiki: Harpoon) "In 1965, the United States Navy began studies for a missile in the 45 kilometres (24 nmi) range class for use against surfaced submarines."
Developed by Bofors, the NLAW (Wiki) is very popular in Ukraine for taking out Russian tanks.
6672533 Method and guidance system for guiding a missile, Christer Regebro, Saab Bofors, 2004-01-06, - cites 21 patents, cited by 31 patents,
The Stinger (Wiki) is a much improved version of the FIM-43 Redeye (Wiki) which was based on the 2-3/4" diameter Folding Fin Aerial Rocket (Wiki, <CTRL>-F on this page for "FFAR"). "Production began in 1962." Ended in 1995. The Redeye only worked if fired at the hot exhaust, i.e. after the plane had dropped it's ordnance.
AN/TWQ-1 Avenger (Wiki) - two pods of four Stingers on an Elevation/Azimuth mount on a HMMWV. "... these were equipped with proximity fuzes that enabled them to detonate near the target, giving them the ability to destroy small UAVs."
Defense News: 2025 FEb 19: Army Stinger missile replacement competition heads into flight tests -
The lethality diagram has a max altitude of 12,500 feet and a horizontal range of 5 miles.
The problem with Stingers is that they are obsolete and no one knows how to make them now. The FFAR might be a replacement.
YouTube: May 7, 2022: FIM-92 Stinger: America's Missile Used to Destroy Russian Helicopter, 13:06 -
The Redeye uses an IR guidance system patterned after the Sidewinder (Wiki, China Lake) so is a fire-and-forget weapon. Operation Atlantic Resolve (Wiki) came about after Russia's 2014 annexation of Crimea (Wiki) in Ukraine. This program contains the use of the Stinger.
The ability to lock on an approaching target is due to the negative UV mode, which only works in daytime, since the UV comes from the Sun.
The 2.8" diameter is slightly larger than the 2.75" diameter of the Folding Fin Aerial Rocket, so they might have similar performance.
The tail fins look very similar to those on the Russian laser guided missile 9M117.
Ref 13: "The Reprogrammable Micro Processor Stinger tracks targets in either IR or negative ultraviolet (NUV) [this may be TOP SECRET]." "The Battery Coolant Unit contains a thermal battery that provides power for preflight system operations and a supply of argon gas to cool the missile seeker’s IR detector. Once activated, the BCU supplies electric power and argon gas for a maximum of 45 seconds or until the missile is launched."
See: China Lake Patents, Ref 48 page 61 Cadmium Sulfide (CdS) detector - about negative UV. l
& Ref 50. Fire and forget, rolling airframe,
Stinger Basic 1978-1987
InSb IR
reticle conical scan
discrete components
Stinger-Passive Optical Seeker Technique (POST) 1985-1987
InSb IR & CdS UV
rosette scan ICs
Stinger-Reprogrammable Microprocessor (RMP) 1985-tbd
uP
Stinger Block I - Lithium battery, laser ring gyro, Target Adaptive Guidance (TAG) 1996-tbd
uP
Stinger Block II
-2002
imaging IR seeker
The Stinger uses an eject motor to get the missile out of the launch tube without shooting fire into the soldier's face just like the RPG-7, then a boost motor starts after the missile is a safe distance away. Called: launch-boost-sustain system.
YouTube:
2970285 Infra-red detector elements and methods of making same, Marvin E Lasser, Philip H Cholet, Philco, 1961-01-31, -
2972933 Missile hand launching system, John M Guthrie, Jr George D Harkey, Donald I Smith, General Dynamics, 1961-02-28, -
Dual grip, idea maybe from the PRG-7.
Wiring more complex than the Bazooka.
3010677 Missile control system, John M Guthrie, Casimir J Bonk, Clark E Aliardt, Jr Glen W Ashley, George E Burkheimer, Donald I Smith, General Dynamics, App: 1957-11-12, Pub: 1961-11-28, -
3018643 Cryogenic refrigerating means, Dundred D Evers, Philco, 1962-01-30, - Joule-Thomson cooling cryostat,
3114149 Combined radar and infra-red conical scanning antenna, Jr Frederic A Jessen, Philco, 1963-12-10, -
3323757 Missile autopilot, Donald E Cole, General Dynamics, 1967-06-06, - IR seeker, Rolling Airframe Missile, proportional control, prior are was bang-bang control. Tail fins like on Russian 9M117
3351303 Missile control system, Jr Herbert D Depew, Donne Elmer A Le, Benish Joe, General Dynamics, Priority:1960-05-17, Pub: 1967-11-07, - probably the RIM-116 (Wiki) since it was developed around 1976?
Rolling Airframe Missile
3445659 Cryogenically cooled radiation detection apparatus, Angelo Guimento, Charles T Kitzmiller, Philco, 1969-05-20, -
3504869 Electric missile control system, Lloyd K Evans, Elmer A Le Donne, General Dynamics, App: 1960-05-17, Pub: 1970-04-07, - probably the FIM-92 Stinger
3584945 Infrared generator and mixer, Jon R Berry, Navy, 1971-06-15, - "... useful in training personnel in the aiming of a shoulder held antiaircraft weapon."
3598344 Missile command system, Louis G Walters, Carl H Smith, Robert Grossman, Philco, App: 1964-06-01, Pub: 1971-08-10, - command guided by gunner. IR signal from tail of missile appears in sight along with optical image of target tank. MGM-51 Shillelag anti-tank missile (Wiki) 1964 - 1971.
3650629 Split image, dual spectrum optical scanning system, John G Erickson, TI, 1972-03-21, - UV - thermal IR
3912859 Electronic tracking device, Rodger L Christopherson, Philco, App: 1962-06-08, Pub: 1975-10-14, - pitch and yaw outputs, no moving parts,
3927254 Optical seeker scanning system, Gerhard Lessman, General Dynamics, 1975-12-16, - scanned thermal IR & static visual for TV -Stinger?
4009393 Dual spectral range target tracking seeker, Glen W. Ashley, Jr.Ernest O. Buenting, Charles A. Leonard, Gerhard Lessman, General Dynamics, 1977-02-22, -
DE1498001 Device for tracking a target object, in particular a missile, Philco, App: 1965-05-03, Pub: 1977-06-16, -
4030807 Optical scanning system with canted and tilted reflectors, Douglas W. Briney, General Dynamics, 1977-06-21, - two scanning patterns combine to produce the desired rosette scan - See China Lake Patents Ref. 48, page 62 Stinger Rosette scan tracker
4327624 Tip off rate reducer, Edward T. Piesik, General Dynamics, 1982-05-04, -Stinger
4404887 Recoil reducer, Edward T. Piesik, General Dynamics,1983-09-20, - Stinger
The CIA Stinger Missile Program in the 80's, 11:14 - Field expedient low cost training method.
How this Anti-Air Weapon Destroyed a Nation, 14:14 -
This is a 2-3/4" (70mm) dia rocket.
Ukrainian Shocking Precision Weapon - Caught on Camera, 8:35 - launcher made by Arnold, rockets by Thales (Wiki: FZ275)and others.
also see Laser Guided Missile.
Note the Thales rocket seems to have the rocket exhaust coming out the back and the optical sensors on the pop-out fins.
20220260415 Device for classifying a light source, Paul Thibout, Thierry Midavaine, Guillaume BLOOM, Yves COURCOL, Olivier Verdy, Thales, 2022-08-18, - laser beam rider
To make use of the XM982 you need a compatible gun, I think only the A2 version of the M777 will work as well as some other artillery pieces.
Raytheon has four variants: 1B, HTK, S and N5.
3843076 Projectile trajectory correction system, R King, W Massey, J Smith, TRW, 1974-10-22, - laser designator, cited by 27 patents -
5114094 Navigation method for spinning body and projectile using same, James C. Harris, Alliant Techsystems, 1992-05-19, - 13 citations, cited by 12,
5129595 Focal plane array seeker for projectiles, Edwin C. Thiede, Charles R. Seashore, J. Allen Cox, Alliant Techsystems, 1992-07-14, - cites 17, called by 55 - nonspinning ballistic munition projectiles, IR seeker,
5139217 Passive damper for spin stabilized projectiles, Guy E. Adams, 1992-08-18, -
6779752 Projectile guidance with accelerometers and a GPS receiver, Joseph A. Ratkovic, Northrop Grumman, 2004-08-24, -
YouTube:Can Precision Guided Artillery Rounds be Jammed or Hacked?, 13:28 - subject not really addressed, but the PGK described
Fuzes used on 155mm artillery rounds that can be set with the M63 tool are: M562, M563, M564, M565
Inert Ordnance: U.S. Artillery Fuzes, 1960's and After -
MIL-F-46375 Revision A, December 29, 1965 -Fuze Setter Set: M63
For Excalibur: Enhanced Portable Inductive Artillery Fuze Setter (EPIAFS) - uses a DAGR.
This is a soviet 152mm artillery round that dates from 1986.
For most of history weapons that make use of explosives have progressed to use more weight of the explosive and/or a more powerful explosive. This was done while the miss distance far exceeded the destructive radius. But with the advent of smarter weapons that are much much more accurate the amount of explosive has now started to decrease. For some time the Hellfire missile (Wiki) which was fired from the Predator UAV (Wiki) contained explosives. But now the AGM-114R9X is a kinetic warhead, i.e. with no explosive. The miss distance for a laser guided or millimeter radar guided munition can be very short.
From Wiki: MIRVs\Mode of Operation: "Accuracy is crucial because doubling the accuracy decreases the needed warhead energy by a factor of four for radiation damage and by a factor of eight for blast damage."
6761117 Tactical reconnaissance and ordnance system, Mark Douglas Benz, Lockheed Martin, 2004-07-13, -
![]() |
2315753
Grenade gun, Stewart
D Long, 1943-04-06, 42/105; 102/438; 89/1.1; 102/483 -
look and feel of M79 Rifled barrel. The wadding (16) may act as an expansion space to provide a low pressure system? |
![]() |
![]() |
2737889
Incendiary shell,
Maurice E Barker, Secretary of War,
Filed: Jun 20, 1941, (15 year delay) Pub: Mar 13, 1956, 102/365,
42/106
- |
"A system for launching a relatively low velocity projectile, which system generates a low pressure propelling gas supply. The propelling gas supply is generated by burning a propellant comprising a small percentage of a primary explosive intimately mixed with a finely divided fuel-oxidizer mixture. The burning rate of the propellant is slower than the detonation rate of the primary explosive, and the propellant sustains burning and generates gas at a rate which is independent of temperature and pressure."3962537 Gun launched reconnaissance system, Thomas M. Kearns, Kenneth D. Ferris, Sec of Navy, 1976-06-08, - no parachute or wings, maybe 155mm round,
cites 18 patents.
Publication numberPriority datePublication dateAssigneeTitleUS3215076A 1963-09-03 1965-11-02 Remington Arms Co Inc ShotshellUS3289586A 1964-11-09 1966-12-06 Fed Cartridge Corp Wad columnUS3405638A 1968-01-22 1968-10-15 James A. Stoner Jr. Tracer vehicle wad structureUS3565010A 1968-06-10 1971-02-23 Remington Arms Co Inc Plastic wad columnUS3669023A 1969-07-01 1972-06-13 Olin Mathieson Shot protectorUS3687078A 1970-03-31 1972-08-29 Us Army Ammunition roundUS3782286A 1970-11-12 1974-01-01 E Richie Non-lethal projectile and launcher thereforUS3905299A 1972-08-08 1975-09-16 Pacific Technica Corp Discarding sabot projectilesUS4506605A 1980-04-15 1985-03-26 Nagatoshi Maki Shotgun cartridge and wad thereofUS4854242A 1987-05-21 1989-08-08 Werkzeugmaschinenfabrik Oerlikon-Buhrle Ag Sabot projectile containing a projectile core and a sabot jacketUS4892038A 1985-03-05 1990-01-09 Nico-Pyrotechnik Hanns-Jurgen Diederichs Gmbh & Co. Kg Cartridged ammunitionUS5402729A 1992-05-15 1995-04-04 Richert; Pierre Munition for low-pressure firing of projectiles from large-caliber gunsUS5936189A 1995-07-28 1999-08-10 Nico-Pyrotechnik Hanns Jurgen Diederichs Gmbh & Co. Cartridged ammunition
10643205
Stanley D. Silsby Patents
This was started after seeing YouTube: Brunswick
Rifleman’s Assault Weapons Aka the Explosive Rocket Bowling
Balls - Detailed View, 7:29 -
Not sure why these spherical rfle launched rockets were
patented. Maybe as part of the M203 competition?
| 3726036
Launch tube assembly, N Jennings, K Conklin, Brunswick
Corp, 1973-04-10, - bullet trap propels payload
(grenade?). |
|
![]() |
4406210
Jet-propelled missile with single propellant-explosive, Alan
C. Baker, John
E. Roach, Jr., Brunswick
Corp,1983-09-27, - There are a number of Brunswick Corp patents related to this device. Prior Art patents relating to spinning up & releasing: 3245350 Rocket propelled device for straightline payload transport, Joseph A Kelly, 1966-04-12, - uses bullet trap shown above 3554078 Spherical missile and launching means therefor, Joseph S Horvath, 1971-01-12, - 4395836 Release apparatus for jet-propelled projectiles, Alan C. BakerJoe T. Zinn, Jr., 1983-08-02, - 4403435 Release and alignment mechanism for jet-propelled projectiles, Alan C. Baker, Nathan N. Shiovitz, George E. Whiting, Brunswick Corp, 1983-09-13, - 5067385 Method and apparatus for aligning spin-stabilized self-propelled missiles, Michael F. Steele, Brunswick Corp, 1991-11-26, - |
Forgotten Weapons: Vietnam Mk18 Mod0 Hand-Crank Grenade Launcher - Used on Navy patrol boats (Wiki: PBR, PCF, SOC), maybe 250 yard range. Uses 40x46 low pressure 40mm rounds same as the M79, not the newer 40x53mm high pressure rounds like used on the Mk 19. From Owen St. Hilaire: " This gun would have to be hand cranked because there would not be enough recoil force or gas pressure to make an automatic action function."
3431820
Grenade
launcher, Chinn
George M, Schnatter
William P, Watson
Henry F, Us
Navy, Filed:Mar 13, 1968, Pub: Mar 11, 1969, 89/161,
89/33.3,
42/105,
89/148
- This is
a full auto version of the Mk 18 hand cranked version.
3563132
Grenade launcher, Cashen
Walter R, Chinn
George M, Schnatter
William P, Us
Navy, Feb 16, 1971, 89/33.14,
89/149,
89/198,
89/135,
89/148,
89/132
-
Calls:
2372383 Projectile (anti-aircraft net), Filed: 1942-03-19
6626077 Intercept vehicle for airborne nuclear, chemical and biological weapons of mass destruction, Filed: 2002-10-16 - web captures & slows missile
7028947 Self-powered tethered decoy for heat-seeking transport aircraft missile defense, Priority: 2004-04-30 - MANPAD (Wiki) defense for airliners
7412916 Fixed deployed net for hit-to-kill vehicle, Priority: 2002-08-29 - a net - Ref: ISBN 1-56347-255-4 & ISBN 1-56347-473-5
7415917 Fixed deployed net for hit-to-kill vehicle, Priority: 2002-08-29 - a net -
8141493 Projectile for use with a rifled barrel, Priority: 2010-11-02 - round expands because of rotation
8205537 Interceptor projectile with net and tether, Priority: 2008-08-11 - net for RPG (Wiki)
8387507 Weapon interceptor projectile with deployable frame and net, Priority: 2008-08-11 - net for RPG
8387540 Interceptor projectile and method of use, Priority: 2008-08-11 - net for RPG
9074858 Projectile-deployed countermeasure system, Priority: 2012-07-13 - semirigid barrier captures RPG
The same eBay seller that sold me a Laser Guided Line Of Sight Beam Riding missile tail section from the Ukraine war also had this. This is a High-Explosive Anti-Tank (HEAT) round that makes use of a shaped charge pretty much like the Bazooka. Because of the very low weight of the PTAB it has been dropped by UAV's in the Ukraine war. It's in a class called sub-munitions or cluster munition (Wiki, Wiki). ON order 2023 July 16.
Bellingcat: 2022March11: These are the Cluster Munitions Documented by Ukrainian Civilians - PTAB-1M -
Cat-UXO.com - PATB - there are many variants of the PATB. The tail section looks like it's from the PTAB-2.5KO.
YouTube: Cool but EVIL! "PTAB", 9:01 -
YouTube: The Most Insane Inventions Made By Soviets In WW2 That You Won't Believe Exist, 28:10 - @6:38 Ptab Bomblets
In a container I have a BLU-3 Pinapple Cluster bomblet (Wiki). AFAICR it's florescent red.
Fig 1 Thin aluminum used as packing.
Also used on 9M117 anti-Tank missile
also shipped from Ukraine 2023
Fig 2 with fins retracted
Fig 3 fins open, wheel at top for safe & arm
Fig 4 Bottom large threaded hole.
4178851 Dual purpose munition, Joseph F. Brady, Army, 1979-12-18, - BLU-2?
4635553 Maneuvering air dispensed submunition, Thomas A. Kane, Avco (Textron IPMP), 1987-01-13, -
6820531 Positioning system with continuous-range inclination and rotation angles, Salvatore Cianciolo, Textron Systems, 2004-11-23, - CBU-97 (Wiki). BLU-108 (Wiki)
I was in the Air Scouts in high school (class of 1960) and we learned that the F-8 Crusader jet had a problem when shooting at a target barge, it might get in front of it's .50 caliber bullets and shoot itself. One answer was to upgrade to a 20mm gun that had a higher muzzle velocity.
Developed in the late 1940s by the NOTS (Naval Ordnance Test Station) at China Lake. The rockets were to be used as more powerful supplements and/or replacements for guns in both air-to-air and air-to-ground applications. (Andreas Parsch: Air-Launched 2.75-Inch Rockets)
In the late 1940s the FFAR was developed as an air-to-air missile, but it was not accurate enough and so was relegated to the air-to-ground role. The first version was non spinning since it was launched form aircraft at speeds high enough for the fins to provide stability. But later versions were launched from helicopters, ground, or sea going vehicles and needed rapid spinning to get some semblance of stability. These versions used angled fins and possibly angled nozzles to get the needed spin. There's a patent that used a motor to spin the rocket prior to launch, but I doubt it went into production.
The FIM-43 Redeye (Wiki) uses a 2.75" diameter heat seeking missile.
Note that the FIM-92 Stinger has a diameter of 2.8", only 0.050" larger than the FFAR so might have similar performance.
Each Ground-to-Air weapon system has a lethality envelope where the Y-axis is altitude and the X-axis is radial distance. So, while a shotgun can shoot down a small quad copter like a 250 gram DJI, it can only do that over a very short range. In my opinion the optimum way to shoot down the Shahed 136 would have a range comparable to the FIM-92 Stinger. Having higher altitude capability would be good for bringing down Russian ISR drones like the Orlan-10 (Wiki) which can fly at up to 16,000 feet.
Note that the smaller the size of the lethality coverage envelope the more systems are needed. That's why something like a shotgun is not a viable defense.
Photos
Mk 4
Fig 1
Fig 2
Fig 3
Fig 4
Mk 40
Mark 66 HYDRA Rocket )Wiki: Hydra 70)
Fig 1
The War Zone: Those Old OV-10 Broncos Sent To Fight ISIS Were Laser Rocket-Slinging Manhunters, 2020 July 2 - Their mission was to find, fix, and finish the enemy—and they did just that.
The War Zone: What Will Fire The Laser-Guided Rockets Donated To Ukraine Is Still A Mystery, 2022 May 6 - Advanced Precision Kill Weapon System could equip Ukrainian ground vehicles, patrol boats, TB2 drones, or Mi-17 helicopters. - Photo of the APKWS kit, with pop-out control surfaces in upper left photo.
The War Zone: Laser-Guided Rockets Are Getting New Highly-Versatile Anti-Armor Warhead, 2022 Nov 9 - The new warhead has multiple applications, further broadening the APKWS guidance kit’s flexibility.
The War Zone: F-16s With Larger Laser-Guided Rocket Loads, Drone Kill Marking Emerge Over Middle East, 2025 Feb 19 - US Air Force F-16s are expanding their ability to engage enemy drones with low-cost guided rockets
The War Zone: Counter-Drone Weapons Diverted From Ukraine To Middle East Amid Rising Tensions, Hegseth Confirms, 2025 June 11 - Advanced Precision Kill Weapon System (APKWS) II rockets have been defending Ukraine's skies and have been used by USAF fighters to swat-down Houthi drones.
How Houthis Nearly Maxed Out U.S. Navy Air Defenses, 16:37 - AGR-20 is the economical solution for slow flying targets. - Operation Rough Rider (Wiki) demonstrated effectiveness of the AGR-20.
AirCav: Hydra 70 2.75 inch Rockets -
NDIA.DTIC: Advanced Propulsion Concepts for the HYDRA-70 Rocket System, 19 pg slides, March 2003 - introduce guidance & Control
Report of Test Project No. AVN 362, Evaluation of the 2.75-inch (Modified) Aerial Rocket Weapons System H-34 (Wiki), Apr 5, 1962 (AD0273738.pdf) -
Bomb Rack: Ma-4A, 2,000#, 14" lug spacing;
FFAR: Navy Type Mk IV Mod VI - nozzle modified to spin at about 5 r/s.
Sight: Mk 17 Mod 0 - reflector type, adjustable in deflection elevation which allowed matching to the launcher.
"The 2. 75-inch aircraft rocket was designed to be launched from a high-performance airplane. To insure rocket stability immediately upon leaving the rocket pod, the rocket requires a higher aircraft speed than that attained by current Army helicopters. Since the helicopter does not have this speed capability, it was necessary to modify the rocket to obtain a spin in order to achieve stability upon launch by averaging thrust misalignment. Tests by the US Navy indicate that the zero-airspeed launch dispersion of 40 - 50 mils experienced with the standard rocket was reduced to 10 - 12 mils by this nozzle-scarfing modification."2.75-In. Folding Fin Aircraft Rocket (U), Final Report, Volume I, Contract F04611-67-C-0114, April 1969, 269 pgs (AD0501432.pdf) -
The improved rocket motor uses fins like the prior model. It includes canted rocket nozzles and canted fins to spin the rocket so it will be stable when fired from helicopters or a ground mount.
Uses Ammonium Perchlorate & Aluminum powder (Wiki: PBAN)
Engine Impulse: 1706 Lbf-sec
Engine Velocity: 3316 ft/sec
Engine Range at burnout: 5020 Ft (just short of a mile) - (may coast up to 6-1/4 miles)
Components
The main components are the rocket engine, warhead and fuze.
Manuals
TM 9-1340-222-34 Direct Support and General Support Maintenance Manual for (Oct 1994)(TM-9-1340-222-34.pdf): - Table 4-1. Painting and Marking Data
2.75-Inch Low Spin Folding Fin Aircraft Rockets,
2.75-Inch Spin Stabilized Wrap Around Fin Aircraft Rockets,
66mm Light Antitank Weapon Systems,
3.5-Inch Rockets and
M3A2E1 Rocket Motor (JATO)
Variations
Name
Year
Comment
Folding-Fin Aerial Rocket (FFAR, Mk 4, Mk 40, Mighty Mouse)
1943
rear folding fins look very similar to those on the RPG-7 (Fig 6)
proximity fuze, spin stabilization,
Dervish
1950s
2.75", spin stabilized, did not go into production
Hydra 70 current
intended for air-to-ground use. The CRV7-PG is a Precision Guided version that uses IMU and laser guidance. Other options are GPS or anti-radiation (like the HARM) seekers. interchangeable with the Canadian CRV7 -
TM 9-1055-460-13&P
CRV7 2021
intended for air-to-ground use. The CRV7-PG is a Precision Guided version that uses IMU and laser guidance. Other options are GPS or anit-radiation (like the HARM) seekers. AGR-20 Advanced Precision Kill Weapon System (APKWS, AGR-20)
2011
laser terminal guidance add on kit for standard 70 mm rocket.
1. Any of the standard warheads and fuzes.
2. Add on APKWS with pop-out control fins so it fits into standard launch tube.
3. Standard 70mm rocket motor.
See Ref 31. fired from F-16 shoots down Houthi drone.
SNEB (Wiki, Janes)
This is a 68mm French version. 20 RPM, There is a version that includes a laser guided seeker. Low-Cost Guided Imaging Rocket (LOGIR)
S. Korea - heat seeker for seaborne targets Direct Attack Guided Rocket (DAGR)
2014
plug and play compatible with the Hellfire missile and use the M299 Hellfire launcher -
Guided Advanced Tactical Rocket (GATR)
2013
Semi-active laser homing FZ - 275 LGR 2024
Semi-Active Laser (DTIC: STANAG 3733):
Roketsan - Cirit
2009
Semi-active laser Mini Akıllı Mühimmat (MAM-C)
MAM-C is 70mm dia, Martlet (Wiki)
This is a 3" diameter missile, so 1/4" larger than the FFAR, but close enough to include here.
Many guidance options.
UK MARTLET Missiles Just Made Ukraine’s Skies a NO-FLY ZONE, 19:13 -
STANAG 3733 - Laser Target Designator
FLIR MLR/TM-10k,
L3-ALST MLD,
ARETE Airtrac,
Cilas AlaDem-R180,
Harris MLD (PRR: 9 to 20 Hz),
Thales LTDM,
Trillium HD95-MVS-LD EO Ball,
Leonardo Type 163,
Transvaro LTD-01,
Patents
It may be that Leslie A. Skinner, who invented the 2.36" Bazooka, also invented the FFAR and possibly the Multiple Launch Rocket System (Wiki: MLRS).
1994490 Rocket projectile, Leslie A Skinner, 1935-03-19, - this is Mortar, not a rocket.
2414579 Rocket launcher for aircraft, Carl D Anderson, Robert B Leighton, Charles H Wilts, Aldon L Melzian, Navy, App: 1944-10-20, W.W. II, Pub: 1947-01-21, -
Missiles launched from aircraft can use a "zero length" rail. All others need to guide the craft until such time as the speed is fast enough for the wings/fins to work, or use thrust vectoring (Wiki) to maintain stability.
"Another object is to provide a rocket launcher wherein guide tracks are virtually eliminated, the rocket being free of the launcher after only a nominal forward travel, the necessary velocity to maintain stable flight being supplied by the forward velocity of the aircraft rather than the velocity attained by the rocket relative to its launcher."
2421893 Rocket firing control mechanism, Albert L Lambert, Ardenne Walter H D, Heintz Manufacturing Co, App: 1944-11-02, W.W. II. Pub: 1947-06-10, - for 20 rockets.
2427217 Rocket fin assembly, Harry J Lebherz, Leslie A Skinner, App: 1943-09-23, Oub: 1947-09-09, - probably first generation FFAR.
2430636 Rocket launcher, Albert S Gould, 1947-11-11, - attachment for Browning MG tripod.
2430896 Rocket stabilizing fins, Edward G Uhl, Leslie A Skinner, App: 1944-01-08, W.W II, Pub: 1947-11-18, -
2448962 Rocket stop assembly, Ardenne Walter H D, Heintz Manufacturing Co,1948-09-07, - for muzzle loading only
2460929 Rocket holding device, Milton R Goff, Sec of War, App: 1946-12-02, W.W. II, Pub: 1949-02-08, - Cited by 26 patents.
"... launched from planes in flight..."
Also mentioned is what sounds like Multiple Launch Rocket System (Wiki: MLRS). It's not clear to me what size rockets were used in the 1940s. Maybe FFAR 2-3/4" "...rockets are to be launched from their positions in closely adjacent tubes,"
2469350 Rocket device, Charles C Lauritsen, Navy, app: 1943-04-02, W.W.II, Pub: 1949-05-10, - Electrical ignition by means of can shaped tail fin.
2481910 Rocket launcher, Ardenne Walter H D, Heintz Manufacturing Co, 1949-09-13, - MLRS?
2609730 Rocket discharger, Lars O Bergstrom, Saab Bofors, 1952-09-09, - 19 rockets in a pod.
2703508 Rocket projector, Charles C Lauritsen, App: 1943-04-02, Pub: 1955-03-08, - MLRS w/dispersion Cites 32 patents,
2751818 Latch mechanism for a rocket launcher, Mitchell E Bonnett, 1956-06-26, - Application might be 3.5" Bazooka.
2844073 Launching device, Re Carlo, George F Rice, Leigh F Birkeland, Victor T Koozin, Garnett C Duncan, Kinda Daniel, Royal Industries Co Ltd, 1958-07-22, - 7-tube pod for FFAR. Supports ripple fire. mounts to bomb rack or Pylon.
2925966 Folding fin or wing for missiles, Kongelbeck Sverre, App: 1957-10-08, Pub: 1960-02-23, - not FFAR
2958261 Predetermined target dispersal rocket launcher, Henig Seymour, Navy, 1960-11-01, - MLRS
2996243 Rocket ballistics computer, Howard E Lustig, Sperry Corp, App: 1956-04-17, Pub: 1961-08-15, - for using the FFAR for ground attack.
2998771 Projectiles, Lloyd G Mosier, App: 1955-04-01, Pub: 1961-09-05, - attempt to make FFAR more accurate using IR sensor and side thrusts, rolling airframe
3319566 Non-spin rockets and their guidance, Paul V Choate, Michael A Nee, Norris Industries, 1967-05-16, -
Mentions:
"If a projectile is spin stabilized, any increase in its length increases the difficulty of or makes it impossible to effect its stabilization, For that reason, there is a diameter to-length relationship that is characteristic of spin rockets, these lengths being in the order of five to seven times their diameters, see "The Exterior Ballistics of Rockets,' by Davis, Follen, and Bletzer. Spin rockets rotate several hundred times a second.
Non-spin rockets have hitherto relied upon fins to stabilize their flight and their length-to-diameter ratios are greater than those of rockets requiring spin stabilization. As far as stability in flight is concerned, there are no limits or the extent to which these ratios may be increased with over all length being determined by such factors as launcher limitations and ease of handling.
A primary objective of the present invention is, accordingly, to provide rockets of increased stability in flight by a third basis of stabilization and this objective is attained by providing a rocket having a motor with the rocket having an elongated, rearwardly extending portion and the motor having a rearwardly opening nozzle surrounding the rocket approximately in the Zone of the center of gravity of the rocket and the rearward rocket portion being dimensioned to be enveloped by the expanding gas stream from the nozzle and, being free of surface portions that would so interrupt the gas stream as to affect adversely its holding action as would be the case if the rocket were spun,"
3390850 Fin for inducing spin in rotating rockets, Calvin W Dahlke, Pettis Wiley, Army, 1968-07-02, - FFAR
3398918 Optical system for guiding a projectile, Girault Pierre, Thompson CSF, 1968-08-27, - laser beam rider
3527429 Body motion decoupler, Ralph E Hawes Jr, Charles C Durand Jr, Kazuyuki Hiroshige, Leonard Buchanan, General Dynamics, 1970-09-08, - both rolling and non-rolling vehicles,
3578796 Spinning and stabilizing system for solid propellant rocket or missiles, Travis J Hagler, William R Puckett, Bobby G Tanner, Thiokol Corp, 1971-05-18, - Hydra 70
3952970 Means for improving rocket missile accuracy, Casimir T. Orzechowski, Nat Seiden, Navy, 1976-04-27, - wrap-around fins
3964696 Method of controlling the spin rate of tube launched rockets, Casimir T. Orzechowski, Nat Seiden, Anthony Mycka, Jr., Navy, 1976-06-22, -
4203569 Fin and nozzle unit for a free-flight rocket, William S. Marks, BEI Electronics, 1980-05-20, - "The invention is particularly applicable to military rockets which may be launched from launching tubes on a military helicopter, other aircraft, or on the ground."
"In the prior art, the usual rocket motor has folded flatblade fins which extend to the rear of the motor case, with four nozzle assemblies between them. The fins deploy after the rocket exits the launching tube, and are locked in an extended position at an angle of 45 degrees from the rocket axis. The rocket velocity. at the exit from the launcher tube is generally insufficient to achieve adequate fin stabilization unless the rocket is fired from a high-velocity aircraft or other vehicle. Motors for rockets intended to be deployed from helicopters, or other low velocity vehicles have been made with scarfed nozzles to impart some spin stabilization to such rockets during early flight. Spin velocities of 8 to 11 revolutions per second, achieved by this method, reduce dispersion of the rockets, but the continued application of the torque force after fin deployment produces a yaw motion which is undesirable."While in the launch tube the vanes (34) are held into the exhaust gas stream thus rapidly spinning up the rocket. Once clear of the tube the vanes swing out of the gas stream and the fins (50) deploy to stabilize the rocket.
"Other prior rocket constructions have attempted to deal with this problem by inserting canted vanes into the rocket nozzle, while constructing the vanes so that they are burned out early in flight. However, difficulties have been encountered due to nonuniformity in the burn-out of the vanes. Moreover, the burn-out of the vanes may produce debris in some cases, which is unde sirable because such debris may possibly damage the helicopter."
I wonder if this was ever used?
10345087 Mid body seeker payload, Michael J. ChoiniereJason H. BATCHELDERPeter J. EvansGregory R. Hallerman, BAE Systems, 2019-07-09, - probably for a 70mm FFAR - Prior Art used 4 wings, each of which has an optical sensor, so misalignment problems and dust, dirt &Etc. - cites 30 patents.
11371806 Midbody camera/sensor navigation and automatic target recognition, Michael J. Choiniere, BAE Systems, 2022-06-28, - FFAR
7190304 System for interception and defeat of rocket propelled grenades and method of use, Mark A. Carlson, BAE Systems, 2007-03-13, - APKW
1.6" dia x 2.5' long missile weighing 5 pounds. Lockheed Martin development.
Wiki page shows no activity since 1018.
iNEWS 2025-07-25: What does the world's smallest air defense missile look like? - no warhead, kinetic kill, article has wrong (70mm) diameter.
The War Zone Newsletter 2025 May 28: Everything We Learned About Lockheed’s QuadStar Missile Aimed At Replacing FIM-92 Stingers - WuadStar is a follow on program after MHTK. This is part of the Next-Generation short-Range Interceptor (NGSRI: Raytheon, Lockheed Martin) program related to M-SHORAD (Wiki).
2.75" (70mm) main rocket body and maybe 1.6" dis at the nose. QuadStar has an explosive war head.
Basics of OpenRocket, 28:22 -
20200070977 Compact unmanned aerial system, Hao Kang, John W. Gerdes, III, 2020-03-05, - "...An unmanned aerial system capable of being launched from a grenade launcher..."Martin-Electronics Inc - Innovative low, medium & high velocity rounds including the HUNTIR video camera
https://www.rocketmotorparts.com/ - spiral would tubes and nozzlesMilitary Factory - a Wiki type page - Small Arms by Type -Grenade Launchers (not under barrel), M79, RPG-7, - Rifle Grenades, M31, M9,
https://www.skylighter.com/ - Chemicals
Electric Match - Rocketry, Military, Pyro - MJG Firewire (ATF non-regulated initiator)Estes - Engine Chart (0.625 to 20 N-sec shown) -
Quick Burst - Hot Shot conductive mix -
5423261 Pyrotechnic trigger, Giat Ind, 1995-06-13, -
7293504 Electro-pyrotechnic initiator, Stephane Phelep, Philippe Pinet, Davey Bickford SAS,
also see Krytron Tube & Electric Initiator with Exploding Bridge Wire
5410966 High reliability model rocket engine igniter system, Michael K. Dorffler, Ronald L. McClaren, Estes-Cox, 1995-05-02, - toothed plugWiki Model Rocket Motor Classification -
5509354 Igniter holder, Michael K. Dorffler, Ronald L. McClaren, Estes-Cox,1996-04-23, -