Aircraft


© Brooke Clarke 2018 - 2025

Background
    U.S. Military Timeline
Topics
    Design
    Altitude
    Maximum Altitude
    Compass
    GPS
    Gyroscope
    Bombing
        Ultimate Weapon
        Patents
        Types of Bomb
        Precision
        Mk 23 Practice Bomb
    Torpedo
        Patents
    Documents
    Fighter Performance - Dogfighting
    Shooting Down
        Sights
        Emergency Beacon Transmitters
    Close Air Support
        Air Tractor
        Airtruk
    Gunships
    Anti Submarine Warfare
    Simulators
        Blind Flying
        Link Flight Trainers
        Link Patents
        Link Celestial Navigation Trainers
    Low Frequency Radio Range
    Airborne Radar
    Electronic Warfare
    Stealth
    UAVs
        UAV Groups
        Small UAVs
        Ukraine FPV Drone
        Counter-UAV
    Radial Engines
Vbat-128
Photos
CPU-26A/P Air Navigation Computer, Dead Reckoning
RQ-4 Global Hawk
MQ-9 Reaper
Shahed 136
CH-47 Helicopter
Starters
    Inertia
    Coffman Shotgun Shell
Jonathan Caldwell
Wright v. Curtiss
    Wright Patents
    Curtiss Patents
Target Drone
Russian Orlan-10
3D Model Helicopters
AGM-158 Joint Air-to-surface Standoff Missile
Rapid Dragon (AGM-148) + Carrier based C-130
Palianytsia missile
Peklo Missile
Propulsion
Returning to Carrier
Osprey V-22
Radio Control
2025 June 1 - Operation Spiderweb
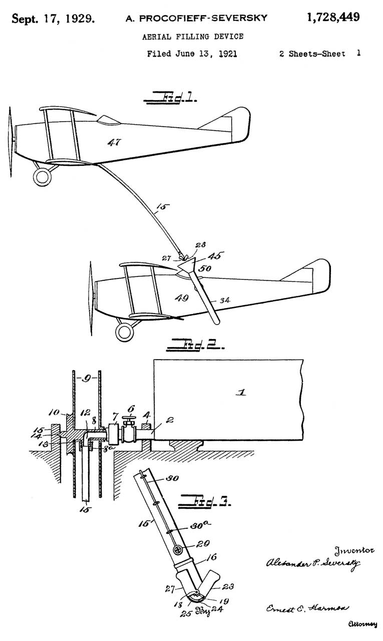
Aerial Refueling
Related
References
Links

Background

It turns out that a number of my web pages are about things related to aircraft so I've started this page for aircraft related things.

A good overview of the very early years of aircraft is the Disney movie: Victory Through Air Power - Animated History Of Aviation (1942) (see: Ref 139), based on the book with the same title (Ref 137 & Ref 138).  Note Billy Mitchel promoted the idea of air power, but the Army and Navy were against the idea.  He was demoted and Court Martialed, but was finally recognized as being correct with the aware of the Congressional Medal of Honor (Ref 138).

U.S. Military Timeline

U.S. War Department (Wiki) was founded Aug. 7, 1789 and lasted until Sep, 18, 1947, aka: War Office.
U.S. Department of the Navy (Wiki:DoN) founded 30 Apr. 1798.
Near the end of World War I (Wiki: 1914 - 1918), Brig. General William " Billy " Mitchell (Wiki) became Chief of Air Service for the U.S. Army. also see Ref 141.
The Air Service was renamed the Army Air Corps (Wiki: USAAC) in 1926
On June 27, 1940 Truman formed the National Defense Research Committee (Wiki: NDRC), replaced by the OSRD. - Atomic bomb (Wiki), DUKW (Wiki), Project Pigeon (Wiki), Proximity Fuze (Wiki, China Lake), RADAR (Wiki, RWR).
The Army Air Forces (Wiki: USAAF, or AAF) was formed on 20 June 1941.
On 28 June 1941 EO8847 formed the  Office of Scientific Research and Development (Wiki: OSRD).
On Sep, 18, 1947 the U.S. Department of Defense (Wiki: DOD) replaced the War Department.
On Sep, 18, 1947 the U.S. Department of the Army (Wiki: DOA) was formed.
On Sep, 18, 1947 the U.S. Department of the Air Force (Wiki: DAF) was formed.
On 18 Sep. 1947, Congress created the U.S. Air Force (Wiki: USAF) as an equal partner with the Army and Navy.
On 20 Dec. 2019 (FY2020 NDAA), Congress created the U.S. Space Force (Wiki: USSF).

Topics

Design

Mass Precision Strike, Designing UAV Complexes for Land Forces, Ref 127 - While aimed at a specific type of aircraft, most of the design ideas apply in a universal sense.  For example step one is to specify payload weight and range.  Propulsion choices: propeller, jet turbine or rocket.  If gasoline is the fuel then as time goes by the weight decreases, but if battery power is used the weight stays the same with time, so gasoline has an more of an advantage as flight time increases.
There are many footnotes that contain web links.

Altitude

The density of air (Wiki) depends on altitude and to a lesser extent the weather.  An easy was to know the altitude of an aircraft is to measure the air pressure (similar to density) using an Aneroid altimeter/barometer (wiki, Altimeters & Barometers).

I think it was Howard Hughes who figured out that there was an optimum altitude for airliners to fly  (Wiki).  This was a major change from the low flying airplanes that were common at that time.

Weapons that fly are greatly impacted by the air density, i.e. by the altitude where they fly.

Drones

These might be defined as slow flying (under maybe 200 MPH) and low flying (under 20,000').  They typically use propellers.

Cruse Missiles (Wiki)

Typically jets rather than propellers, fly faster than drones and have a longer range and carry a heavier payload.

Ballistic missile (Wiki)

The peak altitude is very high and so they can be going very fast.  Typically rocket powered.  When they come down they are also going very fast and so are difficult to shoot down.  The US THADS (Wiki) is designed to shoot down ballistic missiles, but other air defense systems may not work against them.
9K720 Iskander (Wiki) - ground launched
Kh-47M2 Kinzhal (Wiki) - air launched from high altitude

Maximum Altitude

This is a consideration that applies to airplanes like the U-2 (Ref 9, Ref 13, Wiki), A-12 (Wiki) and SR-71 (Wiki) as well as to the altimeters they use.
A key consideration for heavier than air craft is called wing loading (Wiki).  This determines stall speed which in turn relates to maximum altitude.  Key factors in max altitude are air density, wing area and total aircraft weight.

An assumption made by the designers of the U-2 was that because it could fly so high that it would not be seen by RADAR where the beam had it's lower edge at the horizon because the useful slant range was shorter than the slant range to a plane that high.  But there was no rule that required the beam to be that low.  See also Ultimate Weapon below for the conditions at the start of W.W.II.

Compass

A magnetic compass is influenced by nearby ferrous metal as well as be nearby magnets.  Both types of influence (soft & hard) can be compensated but even after doing that there's still the problem of the Earth's magnetic field vector being more up and down than horizontal near the magnetic poles, i.e. near the poles a magnetic compass does not work reliably.  So a number of approaches were used to determine bearing.  Note there is a severe problem with a magnetic compass in a metal vehicle like a submarine, ship or armored tank or even an automobile. 
Abrams Universal Sun Compass SC-1 - actually used in the desert in W.W.II for vehicles
AC_D500 Astro-Compass MkII - This is what amounts to a transit without a telescope for determining angles to the Sun or other heavenly body from an airplane
Aircraft Pilot's Standby Magnetic Compass - a backup to more complex systems that do fail now and then
KVHC100FG KVH C100 Flux Gate Compass module - mainly used on watercraft and on land, but the concept dates way back in aircraft
MC1 MC-1 Magnetic Compass Calibration Set similar to AN/ASM-344 - used for aircraft
MD1 Automatic Astro Compass Type MD-1 - a star tracker that works day and night to locate an airplane

This is related to Navigation - Gyroscope

GPS

In 1943 (Ref 1) radio aids to navigation were things like Radio Direction Finding working with known transmitter locations (like AM broadcast stations or NDBs (Wiki), to provide a bearing and beacons of the A/N type (Wiki).  Dead Reckoning and Celestial Navigation were required skills.  LORAN-A (Wiki) was developed during W.W.II and LORAN-C by 1958, but it was mainly used by ships then.  By 1981 (Ref 3) VOR (Wiki), TACAN (Wiki), Omega (Wiki), autopilots (Wiki) were in common use. Note LORAN-C (LORAN-C, Wiki) was not common on aircraft yet. 

Modern aircraft use GPS to determine their position.  Note that GPS by itself does not inherently have a bearing output.  But because the aircraft is moving when in the air it can develop a bearing by calculating the difference in positions.
5001A Stanford Telecom 5001A Navstar Test Transmitter - made to test their GPS receiver ICs - an early simulator to test GPS receivers
AstechZ12 Ashtech Z-12 Reference Station GPS receiver - a GPS receiver used at reference stations on the ground that can output Differential corrections that make GPS receivers more accurate, mainly used for ships and surveying.
CSI LGBX Pro DGPS Receiver - A combined GPS and differential correction receiver mainly used for surveying
DAGR - Defense Advanced GPS Receiver - a current military GPS receiver
GPSpat GPS & Satellite Navigation Patents
HNV600 Rockwell Trooper GPS HNV-600 & HNV-960
HNBV-960 GPS receiver without front panel, but has antenna & backup battery
HNV-2000 Rockwell HNV-2000 PLGR II SPGR GPS Receiver
HP Z3805A Time & Frequency GPS Receiver - mainly for fixed location use for timing applications
Jackson Labs - LTE-Lite GPSDO Evaluation Kit - mainly for fixed location use for timing applications
KS-24361 (Lucent ) HP/Symmetricom Z3809A, Z3810A, Z3811A, Z3812A GPSDO System - mainly for fixed location use for timing applicationsin cell towers
Magellan GPS Commander - mainly for ships
Magnavox MX7221 GPS Receiver - guessing military or civilian use
NTgpsSTR2760 Northern Telecon GPS Satellite Sumulator STR2760  - a more modern GPS simulator than the ST 5001
PLGR PLGR GPS Family - the military GPS receiver prior to the DAGR
PSN-8 PSN-8 GPS receiver - a very early GPS receiver
PSN-9 GPS receiver - another very early GPS receiver
PSN-10 SLGR GPS receiver -another name for the Trimble Trimpack the first widley used military GPS receiver
PSN-11 PLGR GPS receiver
PSN-13 DAGR GPS receiver
Q5200 Quantic Q-5200/SM Timing GPS Receiver
ThunderBolt Trimble GPS Timing receiver
Trimpack Trimble Trimpack Family of GPS receivers
URN502 URN-502 Vehicle Mount GPS Receiver System - a very early GPS receiver (the largest one I have)
Z3805A Time & Frequency GPS Receiver - mainly for fixed location use for timing applications

Gyroscope

The gyroscope is used in many different types of aircraft applications.  Most of them are obvious, like the turn and bank indicator or for navigation functions, but the one that was part of the reason for making this web page was the Norden Bombsight.   It turns out that it NEVER worked.  The US Navy developed the Norden, but gave up on it and adopted dive bombing.  The US Army took up the Norden, but it did not allow "precision bombing" and that tactic was abandoned and "carpet bombing" (Wiki) was the only one used.

Bombing

When most people think of a bomber (Wiki) they think of the W.W. II B-17 (photos, Wiki), B-24 (Wiki) or the more modern B-52 (Wiki).  Many movies about W.W.II show German Stukas aka: Junkers Ju 87 (Wiki) and American SBD Dauntless (Wiki) in actual dive bombing for some reason the difference between horizontal (Wiki) and dive bombing (Wiki) is misunderstood.

The Norden Bombsight (Wiki) has had a lot of publicity, but in fact it did not work.  As far as I can tell horizontal bombing only works in carpet bombing mode, with atomic weapons, or maybe using Smart Bombs (Wiki).  I think the jury is still out on the Smart Bombs.  Note bomb sights for horizontal bombing look down whereas sights for dive bombing look forward and are often called "gun sights", for example the Mk 20 Mod 4 Gun-Bomb-Rocket Gun Sight.
 


5344105 Relative guidance using the global positioning system, Mark Youhanaie, Hughes Aircraft, 1994-09-06, - bomb relative to aircraft.

5451014 Self-initializing internal guidance system and method for a missile, James M. Dare, Jerome A. Farm, Barry C. Mears, McDonnell Douglas, 1995-09-19, - inertial nav, not GPS
5507452
                      Precision guidance system for aircraft launched
                      bombs, Joseph R. Mayersak, Loral (Lockheed
                      Martin), 1996-04-16, - JDAM
5507452 Precision guidance system for aircraft launched bombs, Joseph R. Mayersak, Loral (Lockheed Martin), 1996-04-16, - JDAM  - cited by 40 -
6237496 GPS
                      guided munition, Anthony Steven Abbott, Northrop
                      Grumman Systems Corp, App: 1997-02-26, Pub:
                      2001-05-29, - JDAM
6237496 GPS guided munition, Anthony Steven Abbott, Northrop Grumman Systems Corp, App: 1997-02-26, Pub: 2001-05-29, - JDAM (Wiki) - cited by 48 -

Dive bombing goes back as far as airplanes carrying bombs (Ref 5, Ref 6).  The bombsight looks forward and can easily be confused with a gun sight.

I'm investigating the use of the A-1 Skyraider (Ref 7) in the dive bombing role.  Note it's bombsight is above the instrument panel looking foreword, just like the 3x "rifle scope" bombsight on the Douglas SBD Dauntless (Wiki).  The late model SBDs used the Mk 8 sight.  But I don't remember ever seeing a movie showing the A-1 in the dive bombing role.
YouTube: Saga of the SkyRaider - A-1 Spad 80510 - (3:25) "The Navy had been searching for a new dive bomber, attack aircraft to meet the changing tactical and operational requirements."

YouTube: VNAF A-1E Skyraider Air Strikes, Vietnam, 11/19/1964 (full) - (0:22 - Clearly dive bombing
YouTube: Napalm Hell-The Opening Scene of Rescue Dawn (2006) in HD - For Napalm the A-1 seems to be using horizontal bombing were there is no bomb sight.
Mk 20 Mod 4 gun sight is the sight used on the A-1 Skyraider.
http://www.aircraft-gunsights.com/reflector-sights/ - Aircraft Gunsights-archive.org,
Reflector Gunsights used by the US Navy,

The thing that may have put an end to dive bombing is the advent of Radar controlled Anti-Aircraft weapons (rockets & guns) (
Wiki:  ZSU-23-4) in 1962.  The 23mm rounds are too small for Proximity fuzes (China Lake Patents, Wiki) so a direct hit is needed. Prior to 1962/1963 dive bombing would work, but after that the planes could be easily shot down.  Surface to Air Missiles (Wiki: SAM) were deployed in Vietnam starting about 1965, but the SA-2 was operational in 1960.

In Toss Bombing (aka: Low Altitude Bombing (LAB, Wiki) the plane is pulling up at the point of bomb release. also see 1955 patent 2898809.

Ultimate Weapon

"The bomber will always get through", Stanley Baldwin, 1932 (Wiki).  This phrase may have originated because at that time they were both impossible to detect (prior to radar) and impossible to shoot down (prior to proximity fuzes) from the ground.  See Ref 55 and Ref 56.

I think the Ultimate Weapon was a very real conceren throughout the 1930s, 1940s and 1950s.  It was only the advent of the SA-2 that ended the problem.

The book (Wiki) Victory Through Air Power (Ref 138) was written a few months after Pearl Harbor (7 Dec 1941) and came out in 1942.  At that time high altitude bombers were the ultimate weapon since RADAR was then highly classified.  There was no way to detect them and no way to bring them down.  In the book Seversky points out the air power was a major factor in pretty much all the battles up to the time the book was written.  Aircraft sank eight battleships (Wiki) Pearl Harbor, 10 Dec 1941 Japan sank the HMS Prince of Wales and HMS Repulse (Wiki). Essentially, the Army and Navy are no longer relevant in the age of air power.  Yet the Navy was operating battleships up until the end of W.W.II.  The book mentions a heavy bomber by Glenn Martin, but the following patent is post W.W.II.
2483027 High-speed, jet-propelled bomber airplane, Willem D Van Zelm, Hill Thomas Gardner, George R Welden, Glenn L Martin Co, 1949-09-27, - powered by six jet engines, shown carrying a very large (hydrogen?) bomb.

2025 Nov:  I think the Ultimate Weapon continued to be the high altitude bomber all throughout W.W.II.  The proximity fuze was a secret throughout W.W.II and only worked up to about 27,500' (Wiki) which is not high enough to bring down high altitude bombers.  RADAR was a secret during W.W.II, and mostly used for search and range finding, not weapons tracking.  So a high altitude bomber could be seen just after W.W.II but in 1950 there was no practical way to shoot it down.  The P-47 (Wiki: 1941-1966, Specs) has a service ceiling of 42,000 feet and there were other planes that could protect bombers.

The Folding Fin Aerial Rocket (FFAR) aka: "Mighty Mouse" was designed to shoot down bombers, but was a total failure at shooting down any aircraft (Wiki: Battle of Palmdale). It was then used for air-to-ground use where 100% of the rockets did hit the ground.

The Sidewinder missile (Wiki) (see: China Lake patents) development started in 1946 and production started in 1955.  The Sidewinder needs to be fired from an airplane, it is not fired from ground level.  The design goal of the Sidewinder was to shoot down high altitude bombers, it was not for air-to-air combat, i.e. dog fighting.  It was not until about 1960 when the Russian SA-2 ground-to-air missile (Wiki) became operational that high altitude aircraft of all types became vulnerable (Wiki: Gary Powers U2 Shoot down).   For practical purposes the end of the high altitude bomber ended around 1960.  This was the start of the spy satellite programs.

Project Gorgon (Wiki) was started to shoot down high altitude bombers.

I have a book (Ref. -do not remember title-) where they devoted a chapter to the situation just prior to W.W.II and the fear that permeated pretty much every country about the ultimate weapon.  Note the Atomic bomb (Wiki) was developed during W.W.II as was RADAR (Wiki).  But the B-17 (Ukiah air show, Wiki) was in production prior to the start of W.W.II and could fly above 30,000 feet altitude where it was for all practical purposes undetectable and above AA guns.  There were similar bombers made in Germany.  The Norden Bomb Sight (Wiki, Gyroscopes) was also in production even though it was more marketing hype than functional.  So you can see that there's reason for the belief that the ultimate weapon, the high altitude bomber, would make W.W.II impossible.  It could fly wherever it wants and drop bombs with precision.  There would be no defense against it since you could not detect it and could not bring it down even if you could find it.

An ulimate weapon example is the Bombing of Guernica in 1937 (Wiki).

As time went on aircraft moved faster and faster which makes them harder to shoot down.  It may have been correct to abandon aircraft guns and rely solely on air-to-air missiles.  But maybe the switch was done a little too soon.

A Fear For The Future by Stanley Baldwin (Wiki), 1932 - This is more a white paper, but I'm sure was the source for the unknown book mentioned above.
Weird History Facts: Pre-Radar Listener Job: Old Forgotten Jobs of History – 1900’s -

Sound Locator (Wiki: Acoustic location),  Also see Ref 119 for Sound Loctors

1467545 Method and means for determining the direction of sounds, Hornbostel Erich Moritz Von, Wertheimer Max, App: 1920-03-08, Pub: 1923-09-11, - Az only

1675720 Searchlight, Chester B Mills, Sperry Gyroscope, 1928-07-03, - for naval use
Sperry Gyroscope searchlight patents

1850598 Searchlight control, Chester B Mills, Preston R Bassett, Sperry Gyroscope, 1932-03-22, -
2003661
                        Searchlight director, Preston R Bassett, Frank R
                        House, Sperry Gyroscope, 1935-06-04
2003661 Searchlight director, Preston R Bassett, Frank R House, Sperry Gyroscope, 1935-06-04, -

Note it uses audio horns to detect aircraft!

2199404 Sound locator apparatus, Frank R House, Sperry Gyroscope, App: 1937-10-13, W.W. II, Pub: 1940-05-07, -

2534847 Directional sound detector, Auscher Jean, App: 1947-07-30, W.W. II, Pub: 1950-12-19, -

Today's ultimate weapon may be the IRBM (Wiki) or ICBM (Wiki). We have satellites that detect the launch of medium and heavy rockets (Wiki: Defense Support Program & Space-Based Infrared System).  These systems are able to see launches of tactical missiles as well as strategic missiles.  This information has keyed some of our defense systems and allowed shooting some of them down.  But as far as I know we don't have a way to shoot down IRBMs in the terminal phase of their flight.  In order to shoot them down just after launch or in the mid range regimes we would need the defensive system near the launch location.  Some possible defensive systems are at Wiki: Anti-ballistic missile.

Bomb Patents

For Aircraft sight patents (gun, bomb, torpedo, Etc.) see: Mk 20 Mod 4 Gun-Bomb Sights: Patents

Bombs are more aerodynamic than planes, so speed up as soon as they are released.  Bombs mounted on the aircraft centerline would move forward and hit the propeller.  This is an even bigger problem if the dive brakes (Wiki) are deployed to keep the plane from exceeding it's maximum speed.  Propeller dive bombers need a way to keep a bomb from hitting the propeller.  Either by having the bomb rack outside the prop circle or by a special mechanism (trapeze) that pushes the bomb outside the prop circle.

Wiki: Hardpoint - Pylon - Racks -
Wiki: Aircraft Armament Equipment -
Global Security: LAU-127, LAU-128, LAU-129 -
Launcher
Aircraft
Missile
LAU-106

AIM-120 AMRAAM (Wiki)
LAU-127
Wiki
F-14, F/A-18
AIM-120 AMRAAM, AIM-9L/M, BOL Countermeasures Dispenser
LAU-128 F-15
AIM-120 AMRAAM, AIM-9X, BOL Countermeasures Dispenser
LAU-128A
F-16

LAU-129
BOL Countermeasures Dispenser

In the 2019 movie Midway (IMDB), there are a number of scenes where you can see the trapeze working on a dive bomber to move the centerline bomb outside the propeller circle.  Also both the rifle telescopic type of sight as well as the 45 degree half-silvered type are displayed.

2556672 (Explosive) Nut, Bergh Roland Christian, James S Martin, Republic Aviation, App: 1944-12-27, SECRET, Pub: 1951-06-12, -

2302280 Weight releasing device, George E Warren, 1942-11-17, -

2344211 Bomb releasing rack, Roscoe I Markey, Pollak Mfg, App:1942-05-21, Pub: 1944-03-14, -

2362211 Electrical control system, Roscoe I Markey, Pollak Mfg, App: 1941-08-07, Pub: 1944-11-07, - bomb release
2386839 Bomb
                        displacing gear, George A Bronson, Douglas
                        Aircraft Co Inc, 1942-12-01

Photo from Pacific Aviation Museum -
Douglas SBD view
                        of bombs & bomb racks

2386839 Bomb displacing gear, George A Bronson, Douglas Aircraft Co Inc, 1942-12-01 - probably for the SBD (Slow But Deadly)
"This invention relates to a bomb displacing gear for use on an airplane in conjunction with a bomb rack or other bomb carrier which is constructed to release the bomb at the will of the air craft operator, and particularly to a bomb displacing gear for use on dive bombing airplanes. The bomb rack is usually placed in a bomb bay formed in the under surface of the fuselage, both to keep the plane aerodynamically clean, and to bring the weight of the bombs nearer the level of the center of gravity of the plane.

In dive bombing, the diving angle is preferably between 70 and 90 degrees to reduce to a minimum the gravity deviation of the bomb trajectories from the direction of the dive and the consequent need for allowing for this deviation in sighting the airplane for the dive. The bombs released at the end of the dive, being aerodynamically cleaner than the airplane, tend to fall more rapidly than the plane. In high angle dives the bomb trajectory after release is nearly parallel to the fight path of the airplane.

If the trajectory begins at the undersurface of the airplane, there is danger of the bombs falling into the propeller blades and breaking them or being exploded. Accordingly, devices have been employed to move the bomb upon its release from the bomb rack to a position sufficiently displaced outwardly from the fuselage that the bomb trajectory will clear the path of the propeller even in 90 dives."

Note trapeze on bomb at centerline needed to clear prop. 
The wing mounted bombs do not need the trapeze since they will clear prop.
The bombsight was a 3X telescope on plane centerline at pilots eye level.  The pilot needed to put his eye on the eyecup so that the cross-hair was correctly on target (no parallax (Wiki).   The later model bombsight was a reflex type (NC-3 , Wiki) where the cross-hair stays on the target as the pilots head moves side to side. 

2461967
                        Aerodynamic Retarder, Leo J Devlin, Edward H
                        Heinemann, Douglas Aircraft Co Inc, 1949-02-15
2461967 Aerodynamic Retarder, Leo J Devlin, Edward H Heinemann, Douglas Aircraft Co Inc, 1949-02-15 - "...actuated preparatory to initiating or terminating a. dive..." Dive Brakes (the modern term is "air brakes" since dive bombing is no longer in fashion).

also see 2111530

2466980
                        Missile ejector for aircraft, George A Bronson,
                        Douglas Aircraft Co Inc,, 1949-04-12
2466980 Missile ejector for aircraft, George A Bronson, Douglas Aircraft Co Inc,, 1949-04-12 - bomb rack for dive bomber
a cannon shoots the bomb away from the plane so it will clear propeller circle

Skyraider & Atomic Bomb (Wiki:Mk 4 1949 - 1953?) ?
or maybe just an improvement for iron bombs

2491400 Bomb release rack, Thumim Carl, ITE Circuit Breaker Co,  App: 1945-02-14, Pub: 1949-12-13, -

2534744 Bomb shackle, Jr George W Wardwell, 1950-12-19, -

2609729 Bombing instrument for aircraft, Wilkenson Erik Alvar, Faxen Per Torsten, 1952-09-09  - improved dive bombing improved dive bombing


2634656 Rotary bomb bay door with bomb releasing means, Albert T Woollens, Buchal Werner, Glenn L Martin Co, 1953-04-14, -

2756091 Military stores rack, Frank J Komerska, Ainsworth Manufacturing Corp, 1956-07-24, -

2949060 Article suspension arrangement for aircraft, Gantschnigg Gottfried Karl, Muehlberger Louis, Marsh White, Albert C Hake, Martin Co, 1960-08-16, - revolver bomb rack

2963312 Rack for mounting stores on aircraft, Schenk Peter, Frank R Wulffaert, Republic Aviation, 1960-12-06, - mounts to aircraft probably called a Pylon (Wiki) rather than a bomb rack (Wiki) although this is not clear to me.

2971792 Store retaining device, John C Steinmetz, North American Aviation, 1961-02-14, -

5657947 Precision guidance system for aircraft launched bombs, Joseph R. Mayersak, Loral, 1997-08-19, - "...includes a kit mounted upon the nose of the conventional bomb which replaces the conventional fuse disposed in a fuse well, the kit including guidance electronics controlling a self-contained jet reaction device and GPS P-code receiver electronics."  "...employs a unique and innovative “virtual umbilical” method to directly initialize the bomb GPS unit while still in the bomb/cargo bay, an inverse trajectory two point boundary guidance law to continually define best path guidance options using position and velocity states only, an innovative adaptive forward predictor polynomial network for guidance law implantation, and a compact jet reaction control system to effect bomb to target maneuver."
6666142
                        Switch key tool for use in changing switch knob
                        settings on a laser guided bomb, John Gregory
                        Pearce, Gregory V. Brodbeck, Nsvy, 2003-12-23
6666142 Switch key tool for use in changing switch knob settings on a laser guided bomb, John Gregory Pearce, Gregory V. Brodbeck, Nsvy, 2003-12-23, -

Skyraider patent
AD Skyraider (later called A-1)
D146221
                        Airplane, Edward H. Heinmann & Leo J.
                        Devlin, Jan. 14, 1947

D146221
                        Airplane, Edward H. Heinmann & Leo J.
                        Devlin, Jan. 14, 1947

D146221
                        Airplane, Edward H. Heinmann & Leo J.
                        Devlin, Jan. 14, 1947
D146221 Airplane, Edward H. Heinmann & Leo J. Devlin, Jan. 14, 1947





General-purpose bomb (Wiki) - includes variations.  The Mk 82 Snake Eye has retarding petals to prevent the bomb fragments hitting the aircraft that dropped it. A ballute (Wiki) serves the same purpose.  Did not find a patent for the 1948 ballute cited on the Wiki page.
4005655 Inflatable stabilizer/retarder, Nick Kleinschmidt, James V. Netzer, Navy, 1977-02-01, - ballute or fins.

Types of Bomb

Parachute Mine (Wiki)
Blockbuster bomb (Wiki)
Bunker Buster (Wiki)
6698357 Hydrocarbon warhead and method, John W. Jones, Lockheed Martin Corp, App: 2001-04-05, Desert Storm, Pub: 2004-03-02, - hardened and deeply buried target or HDBT
Firebombing (Wiki)
Incendiary device (Wiki), Napalm (Wiki) , Firebombing (Wiki)
2445311 Incendiary bomb mixture, Henry H Cooke, John B Holtzclaw, App: 1942-03-28, SECRET, Pub: 1948-07-20, -
2501766 Incendiary grenade, Louis F Fieser, George C Harris, Emanuel B Hershberg, Morgana Morley, Frederick C Novello, Stearns T Putnam, US Secretary of War, App: 1944-02-21, SECRET, Pub: 1950-03-28, - 1/2 pint glass jar, a steel ball is released when the arming ring is pulled, allowing it to break a glass ampule upon impact.
Daisy Cutter (Wiki: BLU-82)
2586801 Incendiary bomb, Robin B Epler, David L Woodberry, US Secretary of War,App: 1942-08-27, Secret, Pub: 1952-02-26, -
4132170 Fuel-air type bomb, Periam B. Hardy, Lewis L. Gay, Edward L. Husler, Beechcraft Corp, App: 1971-02-12, Vietnam, Pub: 1979-01-02, -
General-purpose bomb (Wiki)
Free-fall, gravity, dumb or Iron bomb (Wiki: Unguided bomb)
Carpet bombing (Wiki)
Guided bomb (Wiki) - Guidance: Command, Heat seeking, Laser Designated (laser-guided bomb), GPS (DCI Statement on the Belgrade Chinese Embassy Bombing, House Permanent Select Committee on Intelligence Open Hearing, 22 July 1999)

Precision

Bombs (or other weapons) with contact fuses make a crater in the ground whose size is proportional to the weight of explosives they carry.  The more explosive the lower the requirement that the bomb be accurately delivered.  For example while the Norden Bomb Sight was used to deliver both atomic bombs, no bomb sight was really needed.

Another way to look at it is that by making a weapon more accurate a smaller amount of explosive can be used.  This allows more weapons to be carried per mission and it lowers collateral damage. Fir example the GBU-39 Small Diameter Bomb (Wiki) (SDB) is a 250-pound (110 kg) precision-guided glide bomb that is intended to allow aircraft to carry a greater number of smaller, more accurate bombs.

I'm guessing the relationship between feet of Circular Error Probable (Wiki: CEP) and pounds of TNT probably goes as some power law rather than a linear relationship.  That's to say if  you cut the CEP in half you may only need 1/8 or less explosive.  There is a very good reason to pursue Precision Guided Munitions (Wiki).

See: Radar Warning Receivers \ Laser Guided Bomb.

Ukraine has developed First Person View quad copters (Wiki) carrying the warhead from an RPG-7. These can be flown within a foot or two of a target and are very effective.

Mk 23 Practice Bomb

Mk 23 Practice
                        Bomb

I'm curious about what, if any, Safe and Arm (NAWCWD TP 8504 ADA395125.pdf) features this has.

"Fuze development is a very complex process. For example, not only must the fuze initiate the warhead at the appropriate time (reliability considerations), the weapon must be safe to store, transport, and handle prior to that point (safety considerations). The safety criterion, as derived from MIL-STD 1316 (U.S.) (Reference 1) and STANAG 4187 (North Atlantic Treaty Organization [NATO]) (Reference 2), is as follows:
The risk of premature arming must not exceed one in a million (10-6).

In other words, throughout its lifetime, the fuze must be 99.9999% safe—an accomplishment that is quite difficult to achieve and even harder to substantiate."
The web page: AN MK-23 PRACTICE BOMB; Practice Bombs of WWII has an excellent overview of the Mk 23 including both Firing Pin Assemblies, neither of which has any Safe and Arm features.

If you know why no S&A please let me know.

I'm guessing that practice bombs large enough to have lugs for conventional bomb racks have a safety wire, i.e. S&A.  But the smaller practice bombs are too small for conventional propeller or other S&M systems.  This may be mitigated by a Standard Operating Procedure where the Mk 4 10 Ga shell is only inserted into the practice bomb just prior to use.  That's to say it would be against the SOP to transport loaded practice bombs.

Torpedo

The ability of aircraft to launch torpedoes has been an important capability of aircraft.  In particular it required special developments in order to work in specific cases, such as at the shallow water of Pearl Harbor (Wiki).

Patents

1032394 Method of and apparatus for delivering submarine torpedoes from airships, Bradley A Fiske, (not assigned), July 16, 1912 89/1.54; 89/1.51; 114/239; 114/20.1 - a strap holds torpedo under airplane and when lever is pulled it drops torpedo into water and at the same time starts torpedo motor.
2467831 Sighting mechanism, Frithiof V Johnson, GE, App: 1942-09-26, TOP SECRET: Pub:1949-04-19, - gyro based - cited by 18 patents - for machine guns
3002680 Graphical Vectoring Computer, Stephen J O'neil, Leo D Upham, USAF, Oct 3, 1961 - air to air combat: computes bearing to intercept -referenced from other patents.
3010648 Method and apparatus for controlling release of objects from aircraft, Kurt A Erfurth, Friedrich G Wazelt, USAF, Nov 28, 1961 - Cargo, paratroops - graphical triangle solver
4145952 Aircraft gun sight system and method for high angle-off attacks, Gene Tye, Lockheed Martin, 1979-03-27, -

Documents

NAVPERS 10826 See Ref 17 below
NAVORD OD 9239

Fighter Performance - Dogfighting

Boyd (Ref 10, Ref 40, Ref 44, Ref 83) developed the Energy-Maneuverability theory (Energy Maneuverability Theory (Wiki) E-M Theory, Fighter Mafia) where a chart can be used to compare two aircraft to see how they compare in a dog fight at various altitudes and speeds.  It will show which plane has the advantage given pilots that can get everything out of each plane.

page 148: Specific Energy = Velocity times [Thrust minus Drag] over Weight.  These values change with altitude, so there's a plot for a given plane.  When two of these plots are overlaid the plane with the higher specific energy has an advantage in a dog fight at that altitude.  Note lowering the weight has a huge effect.

Boyd says that the Air Force seems to think heavy bombers that can deliver atomic weapons are their main mission and fighters have been neglected.  I'd say that close air support and dive bombers have also been put way down on the priority list and need to be reconsidered.

The F-5 (Wiki) might be considered a light weight fighter?

Air-to-Air-Combat (Wiki: Dogfight, Air combat maneuvering)
The F-16 is a fighter aircraft designed with E-M theory, see Ref 83.

Shooting Down

It turns out the Anti-Aircraft Flak (Wiki) in W.W.II while demoralizing to aircrew members was not effective in shooting down aircraft.  This is because it was virtually impossible to set the time fuze and aim the gun so that the round exploded anywhere near the target aircraft.  The National Defense Research Committee (Wiki NDRC) had as one of it's projects the development of the proximity fuze (Ref 4, developed partially at China Lake) which was used not only to shoot down aircraft but also to attack ground troops.

The Sidewinder missile (Wiki) was developed at China Lake and makes use of thermal IR for terminal homing.  Note that the sidewinder was NOT intended for air to air combat (Wiki: Dogfight), but rather to shoot down high altitude bombers (See: Ultimate Weapon).

Surface to Air Missiles (Wiki: SAM) really began when the SA-2 (Wiki) became operational and one of its first targets was the Powers U-2 shot down on May 1, 1960 (Wiki).  Each Surface to Air system has a threat envelope in terms of diameter and altitude that's shaped like an upside down water drop.  Some are tall and skinny, some are short and fat.  If an aircraft avoids flying through the threat envelope he can not be shot down by that weapon.  Even inside the threat envelope and aircraft can evade the threat if the pilot knows the type of system and that he is being painted early enough, i.e the function of the Radar Warning Receiver (see EW below).

The U-2 can fly 470 MPH at 72,000 feet. (Wiki).  The SA-2 (Wiki) was at or past it's extreme limit when Power's U-2 was shot down.  The SA-2, like the Sidewinder, was designed to shoot down high altitude bombers (the Ultimate Weapon).  The first generation SA-2 was rated for 75,000' & 2,600 MPH, 5 sec boost + 20 sec sustain.
After the rocket engine has burned all it's fuel the SA-2 is coasting, if it then has to maneuver it will loose energy and slow down.

At a meeting of the Air Scouts in the late 1950s at Moffett Field while up close to an F-8 Crusader Jet (Wiki) we learned that the guns had been upgraded from .50 caliber to 20mm.  The reason was that the planes almost shot themselves down.  This happened when firing the guns at a barge being towed a safe distance behind a ship.  The problem was that after firing the guns the F-8 could speed up in a dive and get in front of the bullets which then hit the F-8 from behind when it slowed.  Note for landing and takeoff the wing leading edge is raised up rather than use flaps. (photo on Wiki page showing wing in up position)

While the RPG-7 was designed to be an anti-tank weapon it does have a self destruct timer that goes off at about 900 meters.  So it can be used to shoot down aircraft if they are at that range.  This was the case in "Black Hawk Down" (Wiki: film, Mogadishu).

Sights

There are many gun sight technologies, see for example the US M-4 rifle list of options including Sights.

After learning about how the Navy used dive bombing after they discovered that horizontal bombing (see: Gyroscopes Norden) did not work, I looked for dive bombing sights, but could not find any.  It turns out most people call them "gun sights" even though one of their functions is dive bombing.  This is because when dive bombing the target is in front of the plane, not below it's belly.  For example:

Mk 20 Mod 4 Gun, Bomb, Rocket Sight - sight line fixed to aircraft and also used for torpedoes
Navy Mk. 18 Gyro Gun Sight - Uses a gyroscope to move the sight line to compensate for lead (Wiki).  I think this is also part of how the NLAW works to hit moving armored tanks.

Patents

Telescopic
2424257 Telescopic dive bombsight, Forrest P Sherman, App: 1936-06-20, W.W. II. Pub: 1947-07-22, -
"
It is Well known to those skilled in the art of dive bombing that the longitudinal axis of an airplane in a dive does not coincide with the flight path, the angle between the two lines defining the said axis and said path being dependent upon the lift angle of the craft when diving at any particular angle. Also, the line of sight from the craft to the target does not coincide with either of the above mentioned lines but is more steeply inclined than either. Thus it is necessary that the line of sight be inclined at a certain angle to the axis of the plane. It is the function of the present invention to generate this angle correctly for any given set of conditions of speed, altitude, and dive angle."
Turrets
2182722 Gun turret for aircraft, Gavardie Pierre, Henry Edmon De, App: June 18, 1937, Pub: Dec 5, 1939, - ball turret, manually operated

2233918 Airplane machine gun mount, Howard M Fey, App: 1937-12-29, Pub: 1941-03-04, 89/37.17; 89/37.08; 89/41.15; 89/41.18 - "Ball Turret" (Wiki)
2236312 Gun mount, more especially for use in aircraft, Funk Alfred, Messerschmitt, App: 1937-04-30, Pub:1941-03-25, 89/37.16; 89/37.12 - manual ball mount
2429467 Fire Control Means for Aircraft Gun Mounts, Morris F. Ketay, Bendix Aviation Corp, Filed: Dec 14, 1939, Pub: Oct 27, 1947, 89/37.17; 89/41.01; 89/41.02; 89/203 - probably for the B-17. Includes motors to move turret in azimuth and elevation as well as some compensation of gun sight for altitude and air speed of the B-17.  Does not appear to include any gyroscopes.
2434653 Power-operated aircraft gun turret, Carl G Holschuh, Lester C Warner, Sperry Gyroscope, App: 1941-10-24, Pub: 1948-01-20, 89/37.17; 74/437; 89/41.18; 74/393; 89/41.01; 89/41.15; 89/41.12 -
2454806 Means for mounting machine guns in airplanes, Paul H Kemmer, Carl E Reichert, Jr Charles S Butt, Pub:1948-11-30, - Remote control of quad 50 guns, no gunner.

Lead Compensating
2407665 Aircraft fire control computer, Carl G Holschuh, Fram David, Sperry Gyroscope, App: 1940-08-01, Pub: 1946-09-17, -
Cited By (9)
Publication number  Priority date  Publication date  Assignee  Title
US2476300A *1941-11-22  1949-07-19  Sperry Corp  Sighting station for remote aircraft turret control
US2502506A *1945-03-27  1950-04-04  United Shoe Machinery Corp  Gun sight
US2520943A *1947-08-05  1950-09-05  Edwin H Ludeman  Computing sight - uses wingspan to figure range
US2550712A *1944-05-05  1951-05-01  Sperry Corp  Gun sight control
US2590954A *1944-08-23  1952-04-01  Gerber Alfred  Sighting device for weapons
US2660794A *1942-09-12  1953-12-01  Sperry Corp  Computing gun sight
US2978177A *1953-05-29  1961-04-04  Sperry Rand Corp  Device for predicting values of a fluctuating system at a predetermined future time
US3039194A *1957-03-05  1962-06-19  Mathema Corp Reg Trust  Control apparatus for anti-aircraft guns or the like
US3289534A *1963-05-22  1966-12-06  Ernst Leitz G M B H Wetzlar  Gun elevation control device

2410831 Scanning device, Leon A Maybarduk, Walter W Mieher, Stephen J Zand, Gifford E White, Sperry Gyroscope, App: 1942-04-10, Pub: 1946-11-12, 342/74; 74/1R; 74/22R; 89/41.07; 342/425; 343/760; 343/759; 343/765 - scanner for an aircraft nose or pod mounted radar.

Emergency Beacon Transmitters

The disappearance of MH370 (Wiki, Sonobuoys)

These may be optical based , like the SDU-5 distress strobe or radio based like the Gibson Girl.

2473050 Emergency radio signal for airplanes, Charles J Camp, 1949-06-14, -
2552969 Telltale radio signal device, James P Holman, 1951-05-15, -
2628307 Emergency signaling apparatus, Jack M Lloyd, Wiley M Williamson, 1953-02-10, -

Close Air Support

CAS (Wiki: action against hostile targets  that are in close proximity to friendly forces and which requires detailed integration of each air mission with fire and movement of these forces...  In the Vietnam era the Douglas A-1 Skyraider (Ref 7, Wiki) had an excellent reputation because of its long loiter time.  Carrier based jets had a very short loiter time because of high fuel consumption.

The A-10 Warthog (Wiki) is the replacement for the A-1 Skyraider (Wiki)  The A-10 is turbofan (Wiki) powered and its main gun is the GAU-8 30mm cannon (Wiki) which has been shown to be very effective against tanks.  But I think improperly positioned firing forward instead of off the left wing like in Gunships (Ref 2).  The gun sight used on the AC-47 Spooky (Wiki) gunship is the Mk 20 Mod 4, the same as the sight on the A-1 Skyraider.  The GAU-8 may so large that it can not be mounted pointing to the left.

In my opinion the P-47 Thunderbolt (Wiki) was the predecessor to the A-1 Skyraider.  Although the P-47 was made to work at bomber escort altitudes (30,000 feet) it turned out to be excellent at ground attack.  The P-47 was just a development of the P-35 (Wiki) (see: VTAP_Comments).

The AC-130W Gunship (Wiki) has the GAU-23/A (Wiki) which is a 30mm auto cannon which uses the same 30x173 ammo as the GAU-8 (Wiki).

In order to call in air strikes a team consisting of an Army and Air Force operator would man a radio such as the GRC-206 (GRC-206, MT-6250) that would be mounted on a Jeep or later HMMWV.  Note the generator for the Jeep mounted system (MEP-25) burned gasoline like the Jeep, but the generator was changed to a Diesel burning model with the introduction of the HMMWV so they would use the same fuel.  The radio controls are duplicated so the each soldier has his own controls.
YouTube: Mar 5, 2022:

Meet America’s New Attack Aircraft; The Sky Warden, 5:46 - AT-802U Sky Warden (Wiki).  Air Tractors have flown over my house in the role of fighting wildfires. 
YouTube:
But these Air Tractor AT-802s will be fitted with weapons and avionics by L-3 (L3)for military use (Wiki: AT-802).
L3 Harris and Air Tractor Sky Warden team Selected for USSOCOM Armed Overwatch Contract -
U-28A Draco is the military designation for the Pilatus PC-12 (Wiki). These flew over my house and were at 16,000' doing IR fire mapping during the August Complex fires.
YouTube: The Tricked-Out Cropduster the US Military Can’t Get Enough Of (The AT-802 Skywarden), 15:29 -

Airtruk (Wiki: PL-12)

First saw this in the movie Mad Max Beyond Thunderdome (IMDB, Wiki) where it steals every scene it's in.
The primary purpose, like the Air Tractor above, was for crop dusting.
When staying at my grandmother's place it was common to see bi-plane crop dusters (Wiki) at work, part of which involved flying under power wires on wooden poles and an occasional crash.
YouTube: The Transavia Airtruk Story: The Genius Behind This Ugly Duckling, 9:41 -

Gunships

One of the earliest proponents of the pylon turn (Wiki) gunship (Wiki) was Gilmour Craig MacDonald (Ref 2, Ref 143) who proposed it as a way of attacking surfaced submarines in W.W.II.  Note that a standard aircraft turn (Wiki) is measured in minutes with 2 minutes being a standard rate turn.  Planes flying faster than 250 kn might make a 4 minute turn and very slow planes may make a 1 minute turn.  Note this is related to wing loading (see above).  Even W.W.II subs can dive in less than 2 minutes, so after the first strafing run when the plane completes its turn the sub will be gone.  This is why in W.W. II sub movies they are practicing to shorten the time to dive and the captain is using a stopwatch to measure that time.

2 Minute Turn Table
Speed
MPH
Circumference
Miles
Diameter
Miles
200
6.6
2.1
400
13.3
4.2
600
20
6.4
800
26.6
8.5

This same idea applies to aircraft engaging targets on the ground.  The AC-47 Spooky (Wiki) was the first real application of the idea.  It's based on the C-47 (Wiki) aka DC-3 (Wiki) cargo plane.   It used the Mk 20 Mod 4 Gun-Bomb-Rocket Sight which can be adjusted for these different functions.  But instead of looking forward the sight in mounted to look to the left.  That's because the plane is making a pylon turn (Wiki) where the left wing is pointing to a fixed point on the ground.

I think the A-10 would have been better if the gun was installed in the wing instead of firing forward.  From the Wiki Pylon Turn web page "...the gunfire was accurate enough to be used even in close proximity to friendly troops,..."

Since gunships carry multiple Gatling (Wiki: Mini, Gatling) guns they are typically are made from cargo planes that can carry the weight of all the ammunition. A fighter aircraft would not be suitable.

The term gunship (Wiki) has also been applied to helicopters, trucks (Wiki: Gun Truck, Technical) and boats (Wiki: Gun Boat, PBR, PCF/Swift). 

Note an airplane at 3,000 feet (1,000 yards) is out of range for small arms of the ground shooting up.  It takes a trained sniper to hit a fixed target at 1,000 yards (see: ballistics) let alone a fast moving aircraft.  BUT . . . it's easy for a MANPADS (Wiki) to bring down a plane that's within about 4 miles.

See Ref 130. Ref 147

Anti Submarine Warfare (Wiki)

While the destroyer (Wiki) was designed to hunt and kill submarines, (they were called originally "submarine destroyers" and that name got shortened to destroyer) it's not that good at it.  A much better option is to use aircraft for this purpose.  When I lived in Mountain View, California the local Moffet Field Naval Air Station (Wiki) was used for training pilots and as a base for the P-3 Orion Sub hunters (Wiki).  They make use of radar, sonobuoys and MAD (Wiki) to detect subs and also have weapons that can destroy them. (Ref-12)

Trivia: Hanger One (Wiki) was the 1930s home for the USS Macon (ZRS-2) (Wiki) rigid airship and has very large hangers built for blimps.  This is where the Air Scouts met in the late 1950s.

The most powerful anti submarine strategy in W.W.II was the use of aircraft.  Even when planes were not armed submarines were afraid of them.  Destroyers were not very effective in protecting convoys in the Atlantic but when merchant ships were converted to be short aircraft carriers (Wiki) the level of protection went way up.

Simulators (Wiki)

In the late 1950s the Air Scouts met at Moffett Field and one of the sessions involved time in a flight simulator.  It was maybe 6 to 8 feet wide and maybe 20 to 30 feet long.  Fixed to the ground and no pilot's outside visual simulation, that's to say pure instrument flying.  In addition to the cockpit with opaque canopy there was an instructor position that had a duplicate set of instruments and in addition a plotting board.  The instructor had inputs and could "make things happen".  The interesting thing was the cockpit was illuminated by UV light and the instrument markings glowed.  This allowed the pilot to maintain his night vision when flying at night.  If white instrument lights were used that would not be the case.

Around the time of the Link Trainer there were other training devices some of which included a flying craft powered from a boat or truck.

Red Bird Flight Simulators - advanced versions of the Link Trainer

Blind Flying

Blind flying panel (Wiki) - six key flight instruments:
 an airspeed indicator (ASI),
an artificial horizon,
an altimeter,
rate of climb indicator,
directional gyro, and
turn and slip indicator

2572656 Blind flying device, Mitchell W Ortenburger, 1951-10-23, - for blind flight training and has to do with light colors and filters.
3289475 Blind flight without gyros, methods and instruments, Ralph W Kenyon, 1966-12-06, - Classical IFR depends on gravity and gyroscopes this system depends on a magnetic reference frame and a ball or bubble sensor of aircraft rotation about 3 axis.

Versions

There were various versions of the "Link Trainer".  I had the cockpit part like in the patent drawings below.  It was made of wood and painted yellow.  Inside there were 1/8" wire rope connected to the stick and working through pulleys could move the body relative to the mount. No motors or electronics.  Maybe a home made item rather than surplus?

Version details from AAF T.O. No. 08-25-1

Ver
Overall
Instrument Panel
Instructor's
Desk

Remote
Instructor
Instruments
Radio
Auto
Wind
Drift
Course
Plotter
Speeds
C-2

Link C-2 Instrument Panel
Link C-2 &
                      C-4 Instructor's Desk

No
No

fixed
C-4
Link C-4 Trainer Link C-2 Instrument Panel Link C-2 &
                      C-4 Instructor's Desk Teaching "blind landing"
Yes
No
No

C-5
Link C-4 Trainer Link C-2 Instrument Panel Link C-2 &
                      C-4 Instructor's Desk
Yes
Actual
Yes

Early
C-3
Link C-4 Trainer Link C-2 Instrument Panel Link C-2 &
                      C-4 Instructor's Desk
Yes
Sim
Yes Gears
E-1



Navy layout, Modified C-4
Yes Sim Yes Gears
E-2



British layout, Modified C-4
Yes Sim Yes Gears
S-W
C-3



color coded wiring,
strategic materials subs
Yes Sim Yes Gears
Late
C-3
Link C-4 Trainer

more efficient ventilation
zipper inspection panels replaced with the sliding panels
Modern features
Yes Sim Yes Gears

Patents

The first patent (1825462) was for an entertainment apparatus.  The movements it made were directly related to the control stick position.  Note that this does not provide the same feeling as flying in a real airplane.  For example when you are flying in a real airplane and it makes a turn the plane banks during the turn in such a way that a glass of water will not show any movement.

The other first generation patent (2099857) is about simulating the instruments.  This was based on projecting an optical image on a ground glass, which would have required a canopy to dim or eliminate room light.

During this time the patents were in the name of Edwin A. Link and not assigned.  Trainers were developed for various aspects of aviation that could make use of the entertainment apparatus, such as A-N Radio Range navigation (2119083, 2352216) and instrument flying where a plot on a map could be made (2179663).

After W.W.II started for the U.S. Link Aviation Devices company was formed and worked on aerial sextant based navigation. (also see: Astro-Compass MkII, Kollsman Aircraft Periscopic Sextant, A-10 Aircraft Sextant)  They made the Link A-12 sextant while designed for aircraft use could also be used on ships.  Along with the sextant Link also made trainers for sextant use, but for ships and aircraft.  Part of that effort was the collimator (2310031).

In 1947 the Link Aviation started as the assignee for patents.

Link (Wiki: Flight Simulator, Edwin Link, Link Trainer, Link Piano and Organ Company) had a factory in Sunnyvale that was later a location of Fry's Electronics.  Some key parts of a flight simulator are the instruments, outside visuals and physical movement (Ref 8).

Way Back Machine: The Link Flight Trainer: A Historic Mechanical Engineering Landmark ASME International, June 10, 2000 -

War Bird Information Exchange - Link Trainer and Other World War II Simulator Information -

1019405
                      Sidereal sphere, Wallace W Atwood, 1912-03-05, -

1019405 Sidereal sphere, Wallace W Atwood, 1912-03-05, -

1079358 Sidereal sphere, La Verne W. Noyes, Aermotor Co,  1913-11-25 -

1099315 Sidereal sphere, Daniel R Scholes, Aermotor Co, 1914-06-09, -

These were cited by Link 2420048 and 2442297.  It's clear that this would not work with a sextant.

3088228 Planetarium, William A Eisenhauer, Eisenhauer Mfg, 1963-05-07, - portable
3251143 Planetarium, William A Eisenhauer, Eisenhauer Mfg, 1966-05-17, - starscope

These were a precursor to the Planetarium (Wiki).  Note the Sidereal Sphere can have only a few people at a time, and ideally only one person at a time for the view with the lowest parallax (Wiki).
1732597
                      Amusement apparatus, Henry B Faber, Frederick W
                      Payne, 1929-10-22, - 2 years prior to Link
                      1825462
1732597
                      Amusement apparatus, Henry B Faber, Frederick W
                      Payne, 1929-10-22, - 2 years prior to Link
                      1825462 1732597 Amusement apparatus, Henry B Faber, Frederick W Payne, 1929-10-22, - 2 years prior to Link 1825462

Simulates a sight seeing flight with maybe a dozen passengers.
Wind in your face and occasionally sea water and/or clouds
Scenic scrolls left and right.
pitch and yaw movement using hydraulics
the pilot has control over the various functions.

This may have been an inspiration for Link.

1825462
                      Combination training device for student aviators
                      and entertainment apparatus, Jr Edwin A Link,
                      1931-09-29
1825462 Combination training device for student aviators and entertainment apparatus, Jr Edwin A Link, 1931-09-29, -
Electric motor (46) drives suction pump (47) for bellows
Electric motor (97) drives valve disk (99) causing plane to tilt so that the pilot will then need to use the stick to bring it back to level.

This version does not seem to have any Azimuth change.

1937876 Radio
                      beacon, Eugene S Donovan, Ford Motor Co,
                      1933-12-05
1937876 Radio beacon, Eugene S Donovan, Ford Motor Co, 1933-12-05, -
Wiki: Low-frequency radio range, aka A-N Beacon

also see: BeaconsRef 88. Flying the Beams.


1982960 Illuminated aerial display, Jr Edwin A Link, 1934-12-04, -
a three character, 12-segment alphanumeric scrolling display for a biplane.

2099857 Trainer
                      for aviators, Jr Edwin A Link, 1937-11-23
2099857 Trainer
                      for aviators, Jr Edwin A Link, 1937-11-23
2099857 Trainer for aviators, Jr Edwin A Link, 1937-11-23, -
Improvement on 1825462 with working instruments

many drawings of different aspects.

Uses air technology from pipe organs (Wiki, Zephyr Organ Blowers, eBay "pipe organ blower") typically supply 3" to 6" of water pressure.

double acting air motor (2, Wiki) via belt (30) causes plane to move in Azimuth.



2119083
                      Aviation trainer, Jr Edwin A Link, app:1934-07-26,
                      Pub: 1938-05-31
2119083
                      Aviation trainer, Jr Edwin A Link, app:1934-07-26,
                      Pub: 1938-05-31 2119083 Aviation trainer, Jr Edwin A Link, app:1934-07-26, Pub: 1938-05-31, 434/244; 340/979; 340/952; 381/86 -

Was offered very soon after patent
1937876.
Wiki:
Low-frequency radio range, aka A-N Beacon

The small plane/cockpit (1) is turned by a motor (Fig 4: 12) depending on pilot inputs.  The panel indicator (4a) and Headphones (41) are driven by a 1 kHz tone that simulates what would be heard when flying near the A-N beacon.  Note if the plane is out of any of the 4 beams nothing will be heard, like at the starting position (X in Fig 2).  The student learns how to fly over the beam and then to fly on the beam toward the beacon so that he flies directly over the beacon.

This simulator is devoted to A-N Range training (Wiki).  Once a plane gets off the beam it takes some skill to get back on a beam and know which beam it is.  Hence a big need for training.

See BIF Ref 48: Radio Navigation Aids


2178637 Means and method of instrument indication in airplanes and the like, Jr Edwin A Link, 1939-11-07, - projecting instruments onto a ground glass screen
Note book showing A-N beacon & the Recorder in action showing A-N on map.  Photo from Wiki Flight Simulator
Link
                      Trainer for Radio Range A-N Navigation
2179663
                      Recorder, Jr Edwin A Link, 1939-11-14
2179663 Recorder, Jr Edwin A Link, 1939-11-14, -

Today we would say it performed a map plotter function.  Looks functionally identical the 1960s MIT Turtle Robot (Wiki) used by Seymour Papert (Wiki) associated with the Logo Language (Wiki).

The pen (which could be moved up/down) was half way between the two large wheels.  The large wheels were exactly the same diameter so that when they were driven at the same rate in opposite directions the turtle would pivot about the point of the pen.  When the two large wheels were driven at the same rate and direction the turtle would go in a straight line.


2244464 Signal controlling means, Jr Edwin A Link, 1941-06-03, -
for a Left-Center-Right Turn and Bank indicator.


D132977 Design for a case for an octant or the like, Harold A. Marsh, Link Aviation Devices, 1941-07-07, Link A-12 Sextant

Llink Celestial
                      Navigation Trainer Collimator
2310031
                      Collimator, Lowkrantz Gunne, Link Aviation
                      Devices, 1943-02-02
2310031 Collimator, Lowkrantz Gunne, Link Aviation Devices, 1943-02-02, -
Makes a star image at infinity.  See Wiki, Optics\Collimator
testing sextants


2326764 Navigation trainer, Carl J Crane, 1943-08-17, - no cockpit movement, instead trainer is like a vehicle that drives on wheel, it's path records the aircraft path.

2349506
                      Recording navigation instrument, Lowkrantz Gunne,
                      Jr Edwin A Link, Link Aviation Devices,1944-05-23,
                      - sextant
2349506 Recording navigation instrument, Lowkrantz Gunne, Jr Edwin A Link, Link Aviation Devices,1944-05-23, -t
Also See patents 2359484, D132977
Link A-12 Sextant (Smithsonian: "The Link A-12 Sextant represented a new generation of “averaging” sextants."

Antenna-Minature Radio Range
                              (Automatic) Type M-1
Antenna-Minature Radio Range
                              (Automatic) Type M-1

2352216
                      Automatic miniature radio range equipment, Grant C
                      Melvin, Stanley B White, 1944-06-27
2352216 Automatic miniature radio range equipment, Grant C Melvin, Stanley B White, 1944-06-27, -

Sparks-Withington Co.
Works with patent 2463583.

2358016
                      Aviation trainer, Edwin A Link, Karl A Kail, Link
                      Aviation Devices, 1944-09-12
2358016 Aviation trainer, Edwin A Link, Karl A Kail, Link Aviation Devices, 1944-09-12, -
Bellows (18, 19) rock trainer.



2358018 Aviation trainer, Lowkrantz Gunne, Link Aviation Devices, 1944-09-12, - improves altimeter & rate of climb; prevents damage to these instruments in some cases


2366603 Aircraft training apparatus, Dehmel Richard Carl, App: 1941-12-20, SECRET, Pub: 1945-01-02, - more complex, expensive and automatic than Link trainers.
cited by 71 patents.

359484
                      Navigation instrument, Jr Edwin A Link, Harold A
                      Marsh, Link Aviation Devices, 1944-10-03
2359484 Navigation instrument, Jr Edwin A Link, Harold A Marsh, Link Aviation Devices, 1944-10-03, -
Much more reliable and user friendly than prior art aircraft sextants.
Sextant (see: Navigation)
Also See patent 2349506,
Link A-12 Sextant 


2359866 Variable speed drive apparatus, Lowkrantz Gunne, Link Aviation Devices, 1944-10-10, - for trainer course plotter - introduced for the C-3.  Prior course plotters required disassembly to change gears.

2364539
                      Celestial navigation trainer, Edwin A Link, (not
                      assigned), 1944-12-05
2364539 Celestial navigation trainer, Edwin A Link, (not assigned), 1944-12-05, -

For training aircraft navigators in celestial nav.

Makes use of a number of the 2310031 collimators (300) for the navigation stars that will be sighted by the aircraft sextant.  The other stars are just point light sources on the hemisphere and not used for sextant sighting.


2360882 Leveling device for aviation trainers, Harold A Marsh, Link Aviation Devices,1944-10-24, - to get in and out

2385291
                      Training device, Edwin A Link, 1945-09-18
2385291 Training device, Edwin A Link, 1945-09-18, - projects image of ground that moves in response to the trainer controls.


2391245 Ball bearing, Karl A Kail, Link Aviation Devices, 1945-12-18, -
When the trainer is mounted on a counter weighted arm so a large strong bearing is needed.


2396857 Training device, Raymond E Kittredge, Link Aviation Devices, 1946-03-19, -
for flying plane using RADAR.
lots of servo motors and bellows.


2417554 Locking device for aviation trainers, William D Jones, Link Aviation Devices, 1947-03-18, - simpler locking than prior art patents: 2360346 & 2360882 (see above)

2420048
                      Training device, Harold A Marsh, Link
                      Aviation,1947-05-06
2420048 Training device, Harold A Marsh, Link Aviation,1947-05-06, -
improved over patent 2364539 celestial navigation trainer

2435502 Radio
                      signaling means for aviation trainers, Gregor L
                      Lang, Link Aviation, App: 1942-04-29
2435502 Radio signaling means for aviation trainers, Gregor L Lang, Link Aviation, App: 1942-04-29, W.W.II, Pub: 1948-02-03, cites 14 patents.

Plotter (12) shows path on map,  DF Loop (69) on trainer roof is functional.
For A-N radio range and bearing on beacon stations and blind landing 75 Mhz marker beacon and RDF.
Also see Radio Direction Findings (RDF), ARN-89.

2442297
                      Training device, Jr Edwin A Link, App: 1939-01-14,
                      SECRET, Pub: 1948-05-25 2442297 Training device, Jr Edwin A Link, App: 1939-01-14, SECRET, Pub: 1948-05-25, - Star projector for Celestial Navigation (Wiki) - See Navigation\Celestial Nav Trainer.


2443076 Simulated directional gyro for aviation trainers, Lowkrantz Gunne, Link Aviation, 1948-06-08, - couples to the trainer stand

2445673
                      Magnetic compass indicating system for aviation
                      trainers, Karl A Kail, Link Aviation, App:
                      1943-07-30, W.W.II, Pub: 1948-07-20
2445673 Magnetic compass indicating system for aviation trainers, Karl A Kail, Link Aviation, App: 1943-07-30, W.W.II, Pub: 1948-07-20, -


2450239 Aviation trainer, Karl A Kail, Link Aviation, 1948-09-28, -
Tachometer & manifold pressure simulation


2450240 Radio direction finding means for aviation trainers, Karl A Kail, Link Aviation, Priority: 1943-07-30, W.W.II, Pub: 1948-09-28, -
Sperry Gyro based their patent 2346693 on this one


2450261 Training equipment for aviators, Russell L West, Link Aviation, 1948-09-28, -
Simulates problems related to multi-engine balance
Bellows and linkages

2463583 Radio
                      beacon keying circuit, Stanley B White, App:
                      1944-12-15, W.W.II, Pub: 1949-03-08
2463583 Radio beacon keying circuit, Stanley B White, App: 1944-12-15, W.W.II, Pub: 1949-03-08, -

Works with patent 2352216 (20) transmitting antenna array for A-N radio range navigation trainer.



2465165 Signaling means for training devices, Thomas J Mclaughlin, Link Aviation, App: 1944-05-18, W.W.II, Pub: 1949-03-22, - AN radio range - signal strength
very similar to 2493228

2475366 Natural
                      horizon simulating device for training purposes,
                      Jr William W Wood, Lowkrantz Gunne, Link Aviation,
                      1949-07-05
2475366 Natural horizon simulating device for training purposes, Jr William W Wood, Lowkrantz Gunne, Link Aviation, 1949-07-05, - for celestial navigation simulator
The Horizon simulator is just in front of the sextant operator, the hemispherical dome is the star field for the sextant.

The inset image is of a ship but this would also apply to aircraft.


2467899 Adjustable indicating structure on a measuring apparatus, Lowkrantz Gunne, Link Aviation Devices, 1949-04-19, - for reading a sextant


2471439 Device for simulating runway localizer (Wiki) and glide path beams for "blind landing" (Wiki, Wiki) training purposes, Grant C Melvin, Peter C Jones, Stanley B White, App: 1945-11-14, W.W.II, Pub: 1949-05-31


2472888 Apparatus for training pilots and other aircraft personnel, James M Cunningham, IBM, 1949-06-14, - bombardiers


2485301 Wind drift instrument, Lowkrantz Gunne, Karl A Kail, Link Aviation, 1949-10-18, -
for use with trainer.
YE-ZB Hayrake
2485262 Radio
                      navigation training device, Decker George Alton,
                      Link Aviation, 1949-10-18, - Inc, - YE-ZB Hayrake
2485262 Radio navigation training device, Decker George Alton, Link Aviation, 1949-10-18, - Inc, - YE-ZB Hayrake (Mil History Now)


2485331 Apparatus for training aircraft personnel in radio navigation, Ahlert P Stuhrman, Charles W Mckee, Link Aviation, 1949-10-18, -
Improvement on prior Link patent 2119083.

Also See Radio Direction Finding


2493228 Signaling means for training devices, Decker George Alton, Link Aviation Inc, App: 1944-05-18, W.W.II, Pub: 1950-01-03, - AN radio range - signal strength, very similar to 2465165

2548888 Radio
                      range training device, Peter C Jones, 1951-04-17
2548888 Radio range training device, Peter C Jones, 1951-04-17, -

Lower cost, for use with Link Trainer.


2559039 Simulated radio direction finding means for aviation trainers, Decker George Alton, Link Aviation Inc,, App: 1945-04-03, W>W.II, Pub: 1951-07-03, - VOR (Wiki)

2602243 Target
                      interceptor radar aircraft trainer, Edwin A Link,
                      App: 1944-03-20, W.W.II, Pub: 1952-07-08, -
2602243 Target interceptor radar aircraft trainer, Edwin A Link, App: 1944-03-20, W.W.II, Pub: 1952-07-08, -


2685747 Radio navigation trainer, Hicken James, Link Aviation Inc, 1954-08-10, - DME (Wiki)


2709308 Radio navigation trainer, Burton L Frankel, Loiterman Leo, Hicken James, Link Aviation Inc, 1955-05-31, - DME & VOR


2715782 Radio navigation trainer, Jr Forrest Cooper, Hicken James, Link Aviation Inc, 1955-08-23, - DME & VOR

Air Motor Patents, Rotary Vane

Early use included pipe organs and Link Trainers.

1594132 Rotary
                      machine, Alfred C Stewart, 1926-07-27
1594132 Rotary machine, Alfred C Stewart, 1926-07-27, -
Vane type air motors are used on air powered impact wrenches, see YouTube Torque Test Channel.

1668532 Rotary machine, Alfred C. Stewart, 1928-05-01, -
2324903 Elastic
                      fluid compressor or motor, Beckman Richard,
                      1943-07-20
2324903 Elastic fluid compressor or motor, Beckman Richard, 1943-07-20, -

Air Turbine Patents


1061205 Apparatus for propelling fluids, Ira H Spencer, Spencer Turbine Cleaner Co, 1913-05-06 - air turbine

1115873

1116639

1146602

1155525

1158738

1226131

1251453

1288728

1296872

1329099

1338466

1350745

1377998

1540912

1547269

1609584
669581 Device
                      for causing flow of fluid, Spencer Turbine Co,
                      1928-05-15
1669581 Device for causing flow of fluid, Spencer Turbine Co, 1928-05-15
3" H2O static, 1/4 HP, 225 CFM, 115 VAC
Spencer
                      Turbine Co

1708907 Check valve

1958023 Pressure regulator, Spencer Turbine Co, 1934-05-08 - bellows & throttle valve

Link Celestial Navigation Trainers

I wrote about the Link Collimator for the Optics web page but then moved it to this page.  But in Feb 2023 I was luckyto get an example of the Link Collimator so added this paragraph for it.

Description

In order to train navigators in the use of the averaging sextant (e.g.: A-10, Periscopic, Wiki) which is more accurate than the old single reading type sextants.  These were developed for aircraft, but also used on ships.  Link invented a complete training system that could be integrated with their aircraft trainers.  The trainer uses a dome structure, similar to a Planetarium (Wiki), except the stars can not be projected on a screen because the angle between the horizon and the star would depend a lot on the position of the observer.  To get around this the navigation stars are formed using a collimator (Optics:collimator, Wiki) so that the star image appears to be at infinity.

Properly aligned binoculars will show a single point of light when looking into the collimator.

Alignment

In the center of the objective lens is a small projection with a mirror at 45 degrees to the main axis.  Off to the side is a small lamp.  This lamp, when reflected by the small mirror, sends a beam of light along the centerline of the collimator objective lens.

By inserting a standard (Focal Length: TBD) 1-1/4" astronomical eyepiece lens into the space normally used by the star image source the spot of light from the alignment lamp might be adjusted using the mounting screws so that it's centered.  Note that when installed at one focal length behind the objective a 1-1/4" eyepiece will be focused at infinity, so it can not be use to observe the sextant position about ten feet from the objective.  So it's questionable how the eyepiece would be used.

Next the three alignment bolts are used to align the main collimator.  Is that done with the alignment lamp or the star image?

If you know anything about the small projecting 45 degree mirror please let me know.

Labels

Link Collimator
Part No 24800 ?
Serial No. 80761
U.S.P. 2,310,031
Patents Pending
Great Britain
Canada

Dimensions

O.A. Length: 14-1/2"
Height: 7"
Width: 7-1/2"
Weight: 10 lbs
Objective dia: 4-1/2"
Illuminator O.D.: 1-1/4"
Mirror dia. (guess) 3"
Lamps:
    Star image: G-E, Mazda 51; 6 - 9 Volts
    Alignment:  6V @ 200mA

Photos

My Link Collimator.

Fig 1 Objective Small projecting mirror protection cover in place
Link
                      Collimator, Celestial Navigation Trainer,
                      aritficial star
Fig 2 Mirror Protection cover removed
Link
                      Collimator, Celestial Navigation Trainer,
                      aritficial star
Fig 3 Bottom Labels
Link
                      Collimator, Celestial Navigation Trainer,
                      aritficial star
Fig 4 Broken Star Image Lamp
(filament is good, base crushed)
Link
                      Collimator, Celestial Navigation Trainer,
                      aritficial star
Fig 5 WARNING Easy To Break Parts
Link
                      Collimator, Celestial Navigation Trainer,
                      aritficial star
Fig 6 Star reticule in 1-1/4" dia housing
New GE 31 lamp installed, old broken lamp shown
Link
                      Collimator, Celestial Navigation Trainer,
                      aritficial star
Fig 7 (wait till dark) Artificial Star Image
Camera focused at infinity.
Camera on Monfrotto 55 tripod.
Link
                      Collimator, Celestial Navigation Trainer,
                      aritficial star
Fig 8 Next day, still on tripod, changed to auto focus otherwise the image would be totally out of focus
Link
                      Collimator, Celestial Navigation Trainer,
                      aritficial star
Fig 9

Below photos courtesy of Jerry Jackson

Note that neither the Jerry Jackson nor the 2310031 patent has the alignment mirror and lamp.

Fig 1
Llink Celestial
                      Navigation Trainer Collimator
Fig 2
Llink Celestial
                      Navigation Trainer Collimator
Fig 3
Llink Celestial
                      Navigation Trainer Collimator
Fig 4
Llink Celestial
                      Navigation Trainer Collimator

Patents

2310031
                      Collimator, Lowkrantz Gunne, Link Aviation
                      Devices, 1943-02-02 2310031 Collimator, Lowkrantz Gunne, Link Aviation Devices, 1943-02-02, - testing sextants
2364539
                      Celestial navigation trainer, Edwin A Link, (not
                      assigned), 1944-12-05 2364539 Celestial navigation trainer, Edwin A Link, (not assigned), 1944-12-05, -

For training aircraft navigators in celestial nav.

Makes use of a number of the 2310031 collimators (300) for the navigation stars that will be sighted by the aircraft sextant.


There are more patents in the Link Trainers section of this web page.

Documents

Link D-2
                      Celestial Trainer" Capt. John C. Allison Link D-2 Celestial Trainer"
Ref 39

Low Frequency Radio Range

These were also called A-N Radio Beacons (Wiki, Ref 49, Ref 50)  These are different from the Non-directional Radio Beacons (Wiki: NDB) which are omnidirectional.    One of the main things the Link Trainer did was train pilots in how to fly A-N Radio Beacons.

Ground Station

Transmitter & Antenna

The transmitters operated in the Low Frequency range between 190 and 535 kHz, i.e. just below the Medium Frequency AM broadcast band.
The A-N beacon transmitters used crossed loop antennas and later an Adcock (Wiki) type antenna to form directional beams.

Rotating Beacon Light on Tower
1700226
                        Unattended beacon, Frank R House, Sperry
                        Gyroscope, 1929-01-29
1700226 Unattended beacon, Frank R House, Sperry Gyroscope, 1929-01-29, - automatic changeover when active lamp fails.
1753144A
                        Unattended beacon, Preston R Bassett, Sperry
                        Gyroscope, App: 1923-06-20, Pub:1930-04-01
1753144A Unattended beacon, Preston R Bassett, Sperry Gyroscope, App: 1923-06-20, Pub:1930-04-01, - rotating horizontal beam with mirrors to make vertical beam.
1864436
                        Landing field light, Frank R House, Sperry
                        Gyroscope, 1932-06-21
1864436 Landing field light, Frank R House, Sperry Gyroscope, 1932-06-21, -

If arc light (64, 65') fails then incandescent lamp (29) is made active.
Dual Generators

A pair of Westinghouse 2kW lightening plants (AC generators) were used with many automatic fail safe measures.

1422027
                        Automatic electric generating unit, William W
                        Bucher, Kohler, 1922-07-04
1422027 Automatic electric generating unit, William W Bucher, Kohler, 1922-07-04, -

1448190 Automatic electric-lighting unit, William W Bucher, Kohler, 1923-03-13, -
1481919
                        Electric power system, Thomas J Mcgill,
                        Westinghouse, 1924-01-29, - farm lighting plant
1481919 Electric power system, Thomas J Mcgill, Westinghouse, 1924-01-29, - farm lighting plant

When heavy loads are needed the engine (1) drives AC generator (2).
At night or when the load is light 32V electric motor (9) is powered from battery (22).
In order to start engine (1) the clutch (4) is closed and motor (9) turns over engine (10.

PS I had an Allis Chalmers B12 garden tractor with a DC generator to charge the battery.
But for starting the generator was powered from the battery and acted as a starter motor.
1590478
                        Electrical system, Nyman Alexander, Edward B
                        Newill, Westinghouse Electric and Manufacturing
                        Co, 1926-06-29, - Farm Lighting System
1590478 Electrical system, Nyman Alexander, Edward B Newill, Westinghouse Electric and Manufacturing Co, 1926-06-29, - Farm Lighting System

Automatic starting (6) of engine (2) which powers the AC generator (1) when load applied.
With a number of self protection functions.
Beacons

1910427 Method of adjusting radio beacon courses, Diamond Harry, Diamond Harry, US Govt, 1933-05-23, - to improvements in the performance of the double-modulation equisignal type directive radiobeacon - phasing network to tweak beam direction

1913918 Triple-modulation directive radio beacon system, Diamond Harry, Frank G Kear, US Govt,1933-06-13, - 30 degree steps

1923920 Course shift-indicator for the double-modulation type radiobeacons, Diamond Harry, Francis W Dunmore, US Govt, 1933-08-22, -
1937876 Radio
                        beacon, Eugene S Donovan, Ford Motor Co,
                        1933-12-05 1937876 Radio beacon, Eugene S Donovan, Ford Motor Co, 1933-12-05, -
Wiki: Low-frequency radio range, aka A-N Beacon

also see Ref 88. Flying the Beams.

1961206 Twelve-course, aural type, triple modulation directive radiobeacon, Diamond Harry, US Govt, 1934-06-05, - lobe switching & 850, 1150, 1450 Hz tones

1989086 Radio warning signal, Diamond Harry, Francis W Dunmore, US Govt,1935-01-29, - NDB - not sure how it's an anti-collusion system

1992197 Method and apparatus for a multiple course radiobeacon, Diamond Harry, US Sec of Com, 1935-02-26, - 6 lobes

2110761 Automatic volume control for radio receiving apparatus, Diamond Harry, Francis W Dunmore, US Govt, 1938-03-08, - beacon mod @ 65 & 86-2/3 Hz

2120241 Radio guidance of aircraft, Diamond Harry, Francis W Dunmore, US Govt,1938-06-14, - landing beam

2121024 Radio transmitting and receiving system, Diamond Harry, US Sec of Com, 1938-06-21, - beacon system,

2172365 Directive antenna system, Diamond Harry, US Sec of Com,1939-09-12, - better night operation of beacon

2179499 Method of blind landing of aircraft, Diamond Harry, US Govt, 1939-11-14, -
1. radiobeacon off end of runway
2. provision to circle airport - beacon at center of airport
3. lateral and longitudinal guidance - narrow beam
4. vertical guidance - 
VOR (Wiki)
 
2252699 Azimuth radio beacon system, John F Byrne, Collins Radio, 1941-08-19, - Wiki: VOR Operation) - works with AM aircraft receiver
"One object of my invention is to provide a system of transmission in which the audio frequency phase of a modulation is, at any receiving point, equal to the azimuth bearing of the transmitting station with respect to the receiving point.

Another object of my invention is the simultaneous transmission of a second modulated signal, such that the audio frequency phase thereof is the same in all directions.


Airborne Radar

These were first installed in pods that could be merged with the aircraft or attached to a bomb rack.  In either case there was a need to make the unit small in diameter and compact.  The AN/APS-20 (Wiki) was an early airborne radar.  The early versions operated in S-band (8' dia. radome) and the APS-20E operated in X-band.  There were many variants of the APS-20 in service starting in 1945 and lasting for a few decades.


2407305 Scanning device, Langstroth Hall, Fred C Wallace, Sperry Gyroscope, App: 1942-04-10, W.W>II, Pub: 1946-09-10, - conical scan after locking on target

2505424 Radar scanner antenna feed, Tomlinson I Moseley,App: 1946-08-27, W.W. II, Pub: 1950-04-25, - waveguide feed horn

2543188 Radar scanner apparatus, Tomlinson I Moseley, App: 1947-04-15, W.W. II, Pub: 1951-02-27, -

2544433 Radar scanner unit, Tomlinson I Moseley, App: 1946-05-27, W.W. II, Pub: 11951-03-06, -




Electronic Warfare

To counter aircraft ground troops can use RADAR directed guns and missiles.  The aircraft can defeat this by using Radar Warning Receivers which let the pilot know the rough bearing to the threat, what kind of threat it is and if a missile has been launched.  In some cases radar suppression flights (Ref 11) might launch an Air to Ground Missile (Wiki: AGM) which can home on the RADAR signal such as the Shrike (Wiki) or HARM (Wiki).

Another aspect of EW is jamming (Wiki).  During W.W. II communication jammers (Hexjam) were developed, but typically were not used since it was more valuable to listen in to learn what the enemy was up to.  This included breaking their secret codes and ciphers.  I have a number of pieces of military voice security equipment (CryptoM) and key loading equipment (CryptoM).

In order to tell the difference between friendly and enemy aircraft when viewed on a RADAR screen, Identification friend or foe (Wiki: IFF) was developed.  A very early U.S. system was the APX-6.

Stealth

While learning about the U-2 (Wiki) I bought a used copy of the book "Spyplane: The U-2 History Declassified", Norman Polmar, 2001.  It turns out the prior owner was Ed Lovick (Amazon, YouTube) who had added newspaper clippings and post-it notes related to stealth.  Ed holds 5 patents.  also see Ref 53 & Ref 54.

The belief what that Russian RADAR had a known range and if you assumed that they set the vertical antenna angle such that the bottom of the beam was near the surface of the Earth then the top of the beam at the maximum range would be, AFAICR, about 50,000 feet.  So if a plane was flying that high it would not show up on their RADAR.  This was the basis of the U-2.  It turns out that the Russians did not do that, and instead aimed their antennas up and were tracking all the U-2 flights.  But they could not shoot them down so kept that a secret. (Aerial Photography Ref 7).

Surface to air weapons that are RADAR guided have a kill envelope, plotted with elevation on the Y-axis and distance from the RADAR on the x-axis.  If an aircraft avoids flying in these upside down tear drop shapes then it's unlikely they will be shot down by that system.  At the time the U-2 was flying above the kill envelope of the then current Soviet anti-aircraft systems.

It turns out that because the soviets pointed their RADAR antennas up a little and they could easily see Power's U-2 (Wiki) so a number of programs were started to make the U-2 less visible to RADAR.  That also led to the A-12 (Wiki) and SR-71 (Wiki) which had very low radar cross sections (Wiki).

Prior to RADAR being so common work was done to make planes harder to see as they approached German submarines during W.W.II.  Since the plane appeared as a black shape against a light background the answer was to install lights (Wiki: Yehudi lights) that had their brightness automatically adjusted to match the sky brightness.  This allowed a plane to get within 30 seconds of flying time before being spotted.  This allowed attacking the sub before it had time to submerge. 
There was a Navy program to light ships to make them harder to see (YouTube: Not What You Think: Why Military Ships are Gray and Icebreakers Red? @12:09 - Counter Illumination.

Also see Gunships above for why in W.W. II movies they are doing exercises to shorten the time to dive.

3096494 Microwave amplitude modulator, Jacobs Harold, Frank A Brand, James D Meindl, Michael A Benanti, Army, 1963-07-02, -
3568194 System for degrading radar return signals, Robert G Wilson, Gordon L Burton, Edward N Skomal, US Air Force, App: 1967-10-11, Vietnam, Pub: 1971-03-02, - active method makes target appear as in incoherent object.
4019699 Aircraft of low observability, Robert W. Wintersdorff, George R. Cota, Teledyne, 1977-04-26, - a flying wing, B-2? canted tail fins a la SR-71.
4066226 Airfoil, reduced profile, "Y" flow, hybrid, Kenneth Edmund Fischer, 1978-01-03, - nothing to do with stealth.
4117485 Radar target cross section control method and means, Benjamin B. Gorr, Richard B. Mack, US Air Force, 1978-09-26, - "...
reduction or enhancement..."
4301456 Electromagnetic wave attenuating surface, Edward Lovick, Jr., Lockheed, 1981-11-17, - uses a Teflon - Aluminum foil sandwich to provide isolation between a Tx and Rx antenna on an aircraft.

5488372 Electronic avoidance configurations, Kenneth E. Fischer, Priority: 1976-04-09, TOP SECRET, Pub: 1996-01-30, - not just mirrors, but focusing mirrors to minimize the signal strength at the illuminating source location.

UAVs

The term "Drones" shows up a lot in the media to cover pretty much anything that flies without a pilot so is not a very useful term.

One differentiation that may help is the role of the UAV, for example the DJI quad copters might be put into the category of Intelligence, surveillance and reconnaissance(Wiki: ISR).  These require sophisticated flight controls as well as knowing where they are which makes them more expensive that other types.  The First Person View (Wiki: FPV) UAVs eliminate the sophisticated flight controls and replace them with a human operator.  Note a DJI will just sit in place if you take your hands off the controls.  This makes FPV UAVs much less expensive than other types.

UAV Groups

UAV Classification types (Wiki)

Group
Size
Max  Take-off
Weight lbs
Max Altitude
ft.
Speed
knots
Examples
1
Small
<20
<1,200
<100
Phantom, RQ-11, FPV, DJI Mavic III
2
Medium
20 - 55
<3,500
<250
Switchblade 600, RQ-20 Puma, Desert Hawk II, Lelaka, Zala-421
3
Large
55 - 1320
<18,000
<250
Hermes 450, Bat, Orlan-10, MQ-27 Scan Eagle
4
Larger
>1320
<18,000 any
V-247, MQ-8, TB2, MQ-1 Predator, Wing Loon 2, Orion, Jojaher
5
Largest
>1320 >18,000
any
MQ-9 Reaper, RQ-4 Global Hawk, MQ4C, X-47,

Small UAVs

A popular commercial UAV size is the under 250 g category, like my DJI Mini 2.
By Size/weight: Micro air vehicle (Wiki), Miniature UAV (Wiki).  Modern model RC aircraft have navigation and flight control systems (Wiki) that are very sophisticated, small and light weight.
The Gyrodyne QH-50 DASH Drone Helicopter is a full size UAV.  In the movie DUNE (Wiki, IMDb) in the future on another planet they use Ornithopters (Wiki).  See the AeroVironment Nano Hummingbird (Wiki) which is an R&D item, not fielded as far as I know.

Black Hornet Nano (Wiki)

Developed by Prox Dynamics (patents) in Norway, now (2022) part of FLIR.com. PRS, VRS.
YouTube: What can a Black Hornet drone do?

DJI

 (patents) makes many models of quad copters.  They are very stable, I'd call them a tripod in the sky (aerial photography).

AeroVironment (Wiki)

Prior to 1989 the company patented scientific instruments aimed at measuring properties of air. Paul MacCready (Wiki) patented some human and solar/electric/hydrogen aircraft.

5035382 Rapid assembly aircraft for ground surveillance, Peter B. S. Lissaman, W. Ray Morgan, Martyn B. Cowley, Charles J. Sink, William D. Watson, Aerovironment, App: 1989-04-17, Pub: 1991-07-30, 244/190; 244/79; 446/34; 348/144; 244/3.12; 244/120 - maybe the RQ-11 Raven?

5100357 Toy aircraft and method of flight control thereof, Tyler MacCready, Martyn B. Cowley, Taras Kiceniuk, Jr.Parker MacCready, Walter R. Morgan, Matthew R. Kruse, Aerovironment, App: 1990-05-10, Pub: 1992-03-31, 446/61; 446/35; 446/68 - seems like a lot of manpower just for a toy.

Sypaq Corvo PPDS (Wiki)

General Characteristics and Performance
Standard & Heavy Lift versions
Model PPDS PPDS-HL
Wingspan 2 m (6.6 ft) 2.8 m (9.2 ft)
Empty Weight 2.4 kg (5.3 lb) 2.4 kg (5.3 lb)
Payload 2.4 kg (5.3 lb) 6 kg (13 lb)
MTOW 13 kg (29 lb) -
Speed 60 km/h (37 mph) 60 km/h (37 mph),
dash up to 100 km/h (62 mph)
Range 40–120 km (25–75 mi) 80 km (50 mi) with 6 kg payload,
200 km (120 mi) with 3 kg payload
Duration 1–3 hours -
How do they make a larger wing and not increase the weight?

Shipped as a flat pack. waxed Cardboard (Wiki)
See Ref 106.

Aussie company SYPAQ develops cardboard drones for defence of Ukraine | 7NEWS, 1:52 - Ross Osborne Chief Eng.
Ukaine News: Stealthy Cardboard Drones Ukraine's Strategy to Decimate Russian, 3:41 - computer voice news story
Box Plank - Inspired by CORVO Drone, 11:31 - DIY RC plane with the look and feel of the Corvo PPDS, but not at all autonomous.
This RC Plane can Fly Itself - Ardupilot Flying Plank Tutorial, 18:46 -  based on the Sypaq, Kline–Fogleman airfoil (Wiki), Printables: RC Plane (Ardupilot Flying Plank / Flying Wing), ArduPilot (Wiki), F405-SE Flight Controller, How to build an Autonomous FPV 3D Printed Tricopter - Ardupilot Drone Tutorial, 19:46 -
FliteTest Forums: Origami of Death - Aussie DTFB Combat Drones -
YouTube: Phil Gabanski: Got my hands on a Corvo Drone!!, 3:02 -  maybe 1 meter wingspan.
EP2681635 Control computer for an unmanned vehicle, Bradford Scott YELLAND, Glen Eric LOGAN, Paul RISEBOROUGH, BAE Systems, 2022-04-06, -
AU2016314770 Unmanned aerial vehicle control techniques, Stefan HRABAR, Farid KENDOUL, Torsten MERZ, CSIRO, 2018-03-29, -
AU2004294651 Methods and apparatus for unmanned vehicle control, Iftah Gideoni, Proxy Aviation Systems, 2005-06-16, - cites 44 prior art patents, cited by 37 newer patents,

Ukraine FPV Drone

These are lower in cost than fancier quad copters at the expense of being harder to fly.  Requires the pilot to wear goggles to see the real time video feed which needs to have low latency.

The DJI quad copters are designed to be camera platforms and to be flown by people with no training. Many include collusion avoidance TV cameras. They include parts not needed for a First Person View (Wiki) drone.
Details of the Mk 4 7" frame FPV drone are given at Ref 120, 121, 122, 123.
Kits: GEPRC MARK4 7-inch FPV - eBay -
Caddxfpv Ratel2 Analog TV camera,
AKK Race Ranger 1.6W VTX 5.8 GHz Video transmitter
SpeedyBee F405 V3 BLS 50A 30x30 FC&ESC Stack - The stack has two boards:
1. Flight Controller (FC) with BMI1270 IMU, camera interface, receiver interface, barometric altimeter, AT7456E (MAX7456) On Screen Display (OSD), 8 ESC putputs
2. Electronic Speed Controller (ESC), 4 each 50 Amp motors, 3 to 6S LiPo input.
ECO II 2807 Kv: 1300 Motors. with HQprop 7x3.5x3V1S, at 47 Amps, Thrust=2580 grams
Express LRS Nano 915Mhz receiver,

Counter-UAV

See Ref 128, Protecting the Force from Uncrewed Aerial Systems.
There are various aspects of this.
1. Ways to detect and locate the UAV: RADAR, Passive RF, EO/IR, sound, LIDAR
2. How to stop the UAV: Jamming, conventional weapons (explosives, lasers) (not suitable around civilians), Kinetic weapons (Wiki) (also may not be suitable around civilians), Nets & party spray string (DARPA), High Power Microwave,

One of the US secret service fails at Trump's 13 July 2024 PA rally was the poor performance of the Counter UAV operation.  See Interim Joint Report
leidos Counter Drone Technologies - High Power Microwave - this might be more than jamming, i.e. the idea might be to destroy the electronics just behind any antenna.
KVSG-6 Drone Jammer - 2.4 - 2.5 GHz WiFi, GPS L1 & L2, 860-920 MHz ISM, $33-434 ISM, 5.8 GHz ISM

DHS: Counter-Unmanned Aircraft Systems Technology Guide September 201, 33pgs - 

20200130835 Detachable projectile module system for operation with a flying vehicle, Devin Donald LeBaron, David Earl James, Kendall James FOWKES, Jon Erik Knabenschuh, Eric James FOWKES, Justin Craig HUNTINGTON, Fortem Technologies, 2020-06-30, -
https://openworksengineering.com/
11255643 System for countering an unmanned aerial vehicle (UAV), Wen Jun Edwin Ang, Yong Peng TAN, Juan Kiat Quek, Ce Yu POO, Yuen Hoong Benedict Woo, Cheng Hok AW, Advanced Material Engineering, 2022-02-22, - makes use of a special 40mm round

- cites and described prior art -
2372383 Projectile, Martin L Lee, 1945-03-27, - probably a 5" gun round that deploys a metal net - not suitable around civilians
9175934 Auto-injector countermeasure for unmanned aerial vehicles, James C Kilian, Lockheed Martin, 2015-11-03, - stings like a bee injecting an electrically conductive fluid
10399674 Systems and methods countering an unmanned air vehicle, Wayne Goodrich, Insitu Inc, 2019-09-03, -Fig 6 wild animal net gun - looks like the DARPA unit (not string)
YouTube: Australian 'drone killer' system Slinger heading for Ukraine | 7.30, 6:37 - (Wiki: Slinger, M230 Auto Cannon) which uses 30x113 ammo (Wiki).
7546794 Adjustable multi-caliber, multi-feed ammunition container, J. Stephen SarlesDaniel R. LandwehrLeslie E. Erickson, EOS Defense Systems, 2009-06-16, - box can hold: 200 rounds of .50 cal, 96 rounds of 40mm or 400 rounds of 5.56/7.62.
7802391 Rounds counter remotely located from gun, James P. Quinn, Jason L. Seelye, Mark Prichard, James T. Dillon, EOS Defense Systems, 2010-09-28, - by placing the rounds counter on the azimuth table it works for different model guns.
7921761 Dual elecation weapon station and method of use, James P. Quinn, EOS Defense Systems, 2011-04-12, - Slinger (What does  elecation mean? - cites 46 prior art patents, cited by 98 patents. gimbaled weapon system (GWS)
7946213 Dual elevation weapon station and method of use, James P. Quinn, EOS Defense Systems, 2011-05-24, - elecation ->  elevation

Flakpanzer Gepard (Wiki) - works well against the Shahed-136.

Smart Shooter (Wiki, YouTube)

Robin Radar Systems

They started out making an X-Band FMCW RADAR to detect birds at airports (Wiki: Bird Strike).  It turns out that quadcopters and other "Drones" can be detected by their system.  Birds (and other small flying objects like bats, drones) can be best detected using 94 GHz or 24 GHz FMCW radar, but Robin Radar Systems uses 10 Ghz X-Band radar.  This requires more power (12 Watts) than  used by the milliwatt level 24 & 94 Ghz automotive units.  It also requires a very stable local oscillator in order to see the Micro-Doppler (Wiki) signals caused by birds wings or drone propellers. 
2024Dec15: CBS: N.Y., N.J. drone mystery to be tackled by high-tech detection system. Here's how Robin Radar Systems work -
Patents
20150130618 Dynamic alarm zones for bird detection systems, Siete HAMMINGA, Anthonie van Lieburg, Robin Radar Facilities, 2015-05-14, -
11881626 Radar system comprising two back-to-back positioned radar antenna modules, and a radar system holding an antenna module with cavity slotted-waveguide antenna arrays for radiating and receiving radar wave signals, Siete HAMMINGA, Rob VAN DER MEER, Robin Radar Facilities, App: 2019-04-25, Pub: 2024-01-23, - Elvira 2D system.
20220189326 Detection and classification of unmanned aerial vehicles, Siete HAMMINGA, Bart PORTEGIJS, Hylke Jurjen Lijsbert WESTRA, Robin Radar Facilities, 2024-09-03, -
20220252716 Radar based system for processing radar data representing range and radial velocty of a detected object, Hylke Jurjen Lijsbert WESTRA, Siete HAMMINGA, Bart PORTEGIJS, Robin Radar Facilities, 2023-09-12, - Iris 3D system
Papers
10 COUNTER-DRONE TECHNOLOGIES TO DETECT AND STOP DRONES TODAY -
RF Analyzers
Rohde & Schwarz -
Aaronia - Drone Detection -
10914771 Spectrum analyzer with increased real-time bandwidth, Oliver Bartels, Aaronia AG, 2021-02-09, - faster than conventional FFT spectrum analyzers, like the HP 4395.
AeroViornment - Bluehalo - Titan C_UAS - RF Analyzer & Jammer -
Acoustic Sensors
Squarhead Technology -
GB201519634 UAV detection, SquareHead Tech AS, 2015-12-23, -
Optical Sensors
Too many to list.

RADAR
Robin Radar Systems

RF Jammers
TRD - Man Portable - Mobile - Fixed Site - Others - Low Power for man portable to highest power for fixed site.
HP Wust -

GPS Spoofers
Centum - detects jamming or spoofing of GNSS signals (maybe not a Spoof transmitter?)
Above Us Only Stars: Exposing GPS Spoofing in Russia and Syria , 2022-

High Power Microwave (Wiki: Directed-energy Weapon)

High-Energy Lasers Diehl Defence - High Power Electro-Magnetics -
10451388 High power microwave weapon, Andrew Stan Podgorski, 2019-10-22, - US national missile defense (Wiki)
Lockheed Martin - Directed Energy -  Morfius (High Power Microwave) -
Raytheon (RTX) - Press release -

Nets & Net Guns

Delft Dynamics - Drone Catcher -
OpenWorks Engineering - SkyWall Auto (Fixed Mount) - SkyWall AutoResponse (Vehicle Mount) - SkyWall Patrol (shoulder Mount, SkyLink upgrade)
WO2016193722 System for deploying a first object for capturing, inhibiting, immobilising or disabling a second object, Christopher David Down, Neil Rockcliffe ARMSTRONG, James Edward Cross, Alexander James Wilkinson, Roland Sebastian WILKINSON, OPENWORKS Engineering, 2016-12-08, - cites 37 prior art patents; Cited by 17 newer patents
Birds of Prey
Guard From Above - Not a bird, but rather a UAV (Evolution Eagle) that looks like a bird.  One of the future payloads will be able to intercept UAVs.

Systems
ESG - block diagram -
Operational Solutions - Counter Drone Systems -
Aselsan -
TRD -
IGP - Vehicle based electronic systems

Radial Engines

When I was in high school (1957) radial engines (Wiki) were the standard aircraft engine.  I think it was Palo Alto high school had what may have been a Wright R-1820 (Wiki) on a stand with wheels to train students.  Pratt & Whitney also made radials like the R-1340 (Wiki).
Curtiss Wright Corp patents -
See Ref 60: How Pratt & Whitney Changed Aviation for an overview of their Wasp line of radial engines and Ref 78 for more on the R-2800 Wasp.

Sikorsky
                      S-58 H-34 R-1820 engine
I was reminded of this by a YouTube: Sikorsky S58 Starts the engine like an OLD car, 2:11 -
S-58/H-34 (Wiki) R-1820-84 Cyclone.  The sound is great, see inertia starters.
N867 registration -

Around 2001 the Grumman S-2 Tracker (Wiki) aircraft used by CalFire had R-1820 radial engines now they have turbo-props.

Vbat-128 (Wiki)

Ducted fan (Wiki), vertical launch & recovery, but horizontal flight.
The Shield-AI  Vbat-128 was introduced in 2021, see Jane's: Navy League 2021: Martin UAV officially unveils V-Bat 128 UAV.
At the nose is a trillium HD80 gimbal, (the videos are impressive, but should be compared to the DJI). These come in four flavors

Photos

Most of the aircraft photos I've taken are of things flying over my house or at the local airport.  Taken by steeping out the front door and looking up. 
See: Ukiah Airport and scrolling down.

CPU-26A/P Air Navigation Computer, Dead Reckoning

Before the advent Electronic Aids to Navigation pilots used dead reckoning (Wiki) to know where they were and how to get where they wanted to go.  In the days of sailing ships all educated men knew spherical trigonometry (Wiki) by heart because that was at the heart of navigation on a sailing ship.  Spherical trigonometry is no longer taught in schools.  Dead reckoning is still taught to pilots and aircraft navigators, but I suspect it's of a second or third order importance where GPS is the current gold standard and iPads have many navigation apps.

Also see Ref 136. "Jeppesen CR-3 Flight Computer: the E6B's Cool Cousin"

This is a combination of the Computer Mk 8B, Stock No. 1152-000-000, Mfrs Part No. FNA-314A and a graphical drift calculator all in one instrument.

The E6-B Flight Computer
See Ref 89.

Fig 1 The Mk 8B has the large arrow set to 60 Miles at 1 hour.
But the wheel moved so needs adjustment.

CPU-26A/P
                      Air Navigation Computer, Dead Reckoning
Fig 2 Drive wheel and slide
CPU-26A/P
                      Air Navigation Computer, Dead Reckoning
Fig 1 Carry case with drift instructions.
CPU-26A/P
                      Air Navigation Computer, Dead Reckoning
7961 Calculating-machine, J.W. Nystrom (Wiki), 1851-03-04, - "... based upon the fact that the multiplication and division of numbers may be performed by the addition and sub traction of their logarithms," - Maybe the first circular slide rule (Wiki).


2013603 Plotting and computing device, Dalton Philip, 1935-09-03, -


2097116 Plotting and computing device, Dalton Philip,1937-10-26, -
2097116
                      Plotting and computing device, Dalton
                      Philip,1937-10-26
Mk 7
E-6B
Whiz Wheel
2114652 Map holder and plotting device, Dalton Philip,1938-04-19, -


2767919 True airspeed computer, Franz J A Huber, 1956-10-23, -


3023954 Calculating device, Harlan A Gurney, Morel D Guyot, 1962-03-06, - Mach#, True Temp & Indicated Temp.


3112875 Computer slide construction, Ben Van Caro, Burton L Fredriksen, Felsenthal Inst, 1963-12-03, -
3112875
                      Computer slide construction, Ben Van Caro, Burton
                      L Fredriksen, Felsenthal Inst, 1963-12-03

aimed at one handed operation & low cost of manufacture
3131858 Computer, Louis A Warner, 1964-05-05, -
3231188 Computer, Louis A Warner, 1966-01-25, -
3361346 Computing device, Louis A Warner, 1968-01-02



YouTube: Ref 89.
YouTube: How to Use the Manual E6B Flight Computer, 9:08 -
Aircraft-to-Carrier Homing.pdf - starting at page 4 info on the E-6B Whiz Wheel.

Scott Manley: I Passed A 21st Century Aviation Exam With an 80 Year Old 'US Army Air Forces' Computer, 13:40 -
2478981 Navigation apparatus, Jr Waldo Emerson Randall, 1949-08-16, - a circular slide-rule type device for doing celestial navigation.

RQ-4 Global Hawk

Wiki -
YouTube:

14 March 2023 added this paragraph because Russia shot down one of these over the Black Sea (near Ukraine) (Wiki: USAF)

Shahed 136 (Wiki)

Origins: Israel Aeorspace Ind (IAI) Harpy (Wiki) - Kentron ARD-10 (Wiki).

This is battlefield detritus from Ukraine 2023.  I think it's from a Shahed UAV and probably the Shahed 136, but that's a guess.
Damage may be due to explosives on board, being shot down or crashing.

The panel is based on plywood, which is covered with (maybe fiberglass) cloth and resin and is light and strong.

The Smart 2S (<8 Volt) Servo may be similar to the agf 100KG HV 0.110Sec High Torque Brushless Waterproof 1/5 Scale Servo (A280BHLW).
The flange size is close, specified for use at 4.8, 6.0, 7.4 & 8.4 Volts consistent with <8 VDC marked on PCB.

2024Jun22: YouTube: LDM #367: Shahed-136 kamikaze drone servomotor, 11:08 - about 180 deg output range, 12 to 15 VDC input, The same servo appears to be used for throttle control, see Ref 92, Ref 93, Ref 94, Ref 104, Ref 114, Ref 118,
2024Nov15 - some may have a Thermobaric (Wiki) warhead, and other may be dummies.
7807000 Thermobaric explosives, articles of manufacture, and methods comprising the same, James J. Baker, Navy, 2010-10-05, - related to solid rocket fuels
See Court Case EDNY 1:22-cr-00409 - 2024Dec5 WaPo "...the aircraft’s manufacturer began using a Chinese servomotor, a substitute for a South Korean product that Russia previously used but can no longer easily obtain."

Fig1 Plywood base
Shahed 136 battlefield detritus from Ukraine
                      2023
Fig 2 Servo mounted with actuating arm.
Nut on cable is clamp, not connector.
Shahed 136 battlefield detritus from Ukraine
                      2023
Fig 3 Servo broken
Shahed 136 battlefield detritus from Ukraine
                      2023
Fig 4 ID Label
PN1Q075620 ?
SNSR9506
Note one of the wires has connector pin.
Shahed 136 battlefield detritus from Ukraine
                      2023
Fig 5 Gear Train in body
Shahed 136 battlefield detritus from Ukraine
                      2023
Fig 6 Servo Mfg date June 2023
STM32F302K8 Arm DSP & FPU (32 pins)
3 ea. TI LM5101CSD Gate Drivers (10 pins)
Shahed 136 battlefield detritus from Ukraine
                      2023
Fig 7 Gear Train in lid.
Shahed 136 battlefield detritus from Ukraine
                      2023


G103 PCB

This came in the same package as the above board and servo, but may or may not be connected.
The metal bars have the center part attached to the PCB.  The ends have a ramp to the center part.  When the screw is turned the end parts try to move up and when in a guide rail lock the PCB into the rail.

Fig 1
G103
                      PCB battlefield detritus from Ukraine 2023
The part IDs are my best guess.

U1: 4 x 44 =176 pins; guess: TI TMS320F2838,

U2: 2x4 = 28 pins; TI MB3238I = MAX3238 3V to 5.5V multichannel RS-232

U5, U8: 2x14=28 pins: TI PS767D301 Dual-output LDO Lin Reg


CH-47 Helicopter

Added this paragraph after watching the YouTube: The Most Secret US Helicopter?, 11:00 -

Patent History

Started out with Piasecki Helicopter (Wiki) 1940 - 1956.  Frank Piasecki opened Piasecki Aircraft in 1959 (home page, History Poster).
Piasecki Helicopter sold to Boeing Vertol (Wiki) in 1960 (without Frank).


2507993 Tandem
                      rotor helicopter, Frank N. Plasecki, Plasecki
                      Helicopter Corp, App: 1946-12-16, W.W.II, Pub:
                      1950-05-16
2507993 Tandem rotor helicopter, Frank N. Plasecki, Plasecki Helicopter Corp, App: 1946-12-16,  W.W.II, Pub: 1950-05-16, - HRP Rescuer (Wiki)

Wiki XHRP-1
By USN - U.S. Navy Naval Aviation News April 1947 [1], Public Domain, https://commons.wikimedia.org/w/index.php?curid=5000878
Plasecki Helicopter Corp XHRP-1
D146984
                      Helicopter, Frank N. Plasecki, 1947-06-24
D146984 Helicopter, Frank N. Plasecki, Plasecki Helicopter Corp, 1947-06-24, -
D153316
                      Helicopter, Frank N. Plasecki, Plasecki Helicopter
                      Corp,1949-04-05, - YH-16
D153316 Helicopter, Frank N. Plasecki, Plasecki Helicopter Corp,1949-04-05, - H-16 Transport (Wiki)
YH-16 with Roll in - Roll out cargo compartment.

Wiki File: Piasecki YH-16 helicopter in flight.jpg
Piasecki YH-16 helicopter in flight
2552864
                              Tandem rotor helicopter, Frank N.
                              Plasecki, Plasecki Helicopter
                              Corp,1951-05-15
2552864
                              Tandem rotor helicopter, Frank N.
                              Plasecki, Plasecki Helicopter
                              Corp,1951-05-15

2552864 Tandem rotor helicopter, Frank N. Plasecki, Plasecki Helicopter Corp,1951-05-15, -

In Fig 1 there is a propeller (20) to cool the piston engine (16). PH-26
In Fig 2 the piston engine (40) does not show cooling, maybe because turboshaft engine
D187895 Rotary
                      wing aircraft, Leon L. Douglas, Vertol Aircraft
                      Corporation, 1960-05-10, - CH-46
D187895 Rotary wing aircraft, Leon L. Douglas, Vertol Aircraft Corporation, 1960-05-10, - CH-46 (Wiki)
D188146 Rotary
                      wing aircraft, Leon L. Douglas, Vertol Aircraft
                      Corporation,1960-06-07, - CH-47
D188146 Rotary wing aircraft, Leon L. Douglas, Vertol Aircraft Corporation,1960-06-07, - CH-47 (Wiki)

Starters

Inertia Starter

A flywheel slowly spins up powered by either an electric motor or a hand crank.  When engaged it turns over the engine through a large ratio gear reduction.
See References 61, 62 and 63, 64, 65
Raymond P Lansing, Eclipse Aviation,1930-08-05, - hand crank from inside cockpit, no motor

A shotgun like cartridge generates a lot of high pressure gas that in turn turns over an air motor.  The air motor might also be turned over by a ground based air supply or a pressure tank on board the aircraft.

See References: 68, 69, 70, 71, 73.

2005913 Motor
                      and motive system, Roscoe A Coffman, 1935-06-25, -
                      gas powered starter
2005913 Motor and motive system, Roscoe A Coffman, 1935-06-25, - gas powered starter. Manual firing of the gas generating shell.
2299464 Power
                      generating unit, Roscoe A Coffman, App:
                      1931-12-14, W.W.II, Pub: 1942-10-20, - this is the
                      shotgun shell gas generator.
2299464 Power generating unit, Roscoe A Coffman, App: 1931-12-14, W.W.II, Pub: 1942-10-20, - this is the shotgun shell gas generator. Includes remote battery powered ignition of the gas generating shotgun like shell.

2366165 Gas pressure- generating cartridge, Edward Witworth, Thomas Thomson, Imperial Chemical Ind, 1945-01-02, - for starting ICE.

Jonathan Caldwell

Based on Washington Post article: In 1949, mysterious ‘flying saucers’ were found in a Maryland barn - But did not find patent for helicopter like device with central hub that looked like a flying saucer (STTF).
1730758 Airplane, Caldwell Jonathan Edward, 1929-10-08, -
CA527716 Ornithopter, E. Caldwell Jonathan, 1956-07-17, - two articulated wings attached to top of a car.
CA596295 Aircraft with beating wings, Jonathan E. Caldwell, 1960-04-19, - purpose built with flapping wings

Also on the STTF web pages: The Life and Legend of Otis T. Carr - Part 1 & Part 2 - which has the patent and photos of the actual ride.
2912244 Amusement device, Otis T Carr, 1959-11-10, - a building that looks like a flying saucer and the inside moves, so it's an amusement ride.

Wright v. Curtiss

Curtiss v. Wright Patent Wars (Wiki)
NACA got both parties to pool their patents.  The other companies would pay to use them.

Wright Patents

821393 Flying-machine, Orville Wright, Wilbur Wright, 1906-05-22, - 1902 gllider that has controls for pitch, roll and yaw.

Curtiss Patents

W.W. I 1914 - 1918;  U.S. enters war in 1917
1204380 Flying-machine, Glenn H Curtiss, Curtiss Aeroplane and Motor Corp, 1916-11-07, - Maybe Curtiss No. 1 (Wiki)
1368548 Aileron braking system, Glenn H Curtiss, Curtiss Aeroplane and Motor Corp, App: 1915-01-21, Pub: 1921-02-15, - air brake
1420609 Hydroaeroplane, Glenn H Curtiss, Curtiss Aeroplane and Motor Corp, App: 1911-08-22, Pub: 1922-06-20, -
1445135 Fighting airplane, William L Gilmore, Curtiss Aeroplane and Motor Corp, App: 1918-04-05, Pub: 1923-02-13, - 2 seat bi-float-plane; Model HA (Wiki)?

Target Drone

Started looking for Ryan Firbee (Wiki, Ref. 85) patents with no luck.
D146183 Remotely controlled target airplane, Neill F. Mcgaffey, Radioplane Co, App: 1945-11-29, Pub: 1947-01-07, -
2257277 Radio controlled recovery means for aircraft, Walter H Righter, Case Kenneth Wallace, Radioplane Co,

Russian Orlan-10 (Wiki)

See Ref 129. The Orlan Complex: Tracking the Supply Chains of Russia’s Most Successful UAV.

Added this drone because it flies at up to 93 MPH and 16,000' which is above the ceiling of the Flakpanzer Gepard (Wiki) with the 35mm Oerlikon GDF gun (Wiki).  Note the Gepard is a very low cost way to shoot down most drones compared to using any system that's based on missiles.  "The Gepard has been widely used in combat in the Russo-Ukrainian War, mostly to shoot down drones."

The Orlan-10 will be used to find parked F-16 fighter jets that then could be targeted using the UMPK glide bomb (Wiki).  This is similar to a JDAM kit, but includes wings to increase the horizontal range allowing it to be launched behind fort line.  The wings are folded and on the bottom when launched from an aircraft, that way the stock bomb lugs are used to connect to the bomb rack.  As the bomb falls the wings deploy and the glider does a 180 degree roll so the wings are on the top. 

It does not make sense to use systems like Patriot (Wiki) where a missile costs a million dollars to shoot down the Orlan-10.
See References 97 to 101.

Note the AAI Aerosonde (radiosonde) weather monitor has a ceiling of 15,000'.
The Quantum Systems - Trinity (<16,000') - Pro mapping drone has a ceiling over 18,000'.

3D Model Helicopters

I stumbled on YouTube videos of people flying the Goosky RS7 Helicopter Xnova motor and the performance is jaw dropping amazing!
Learn 3d RC helicopter flying with Tareq Alsaadi episode 1 , Goosky RS7 with Xnova motor, 5:19 - asking for inputs on what to cover
Learn 3D Rc Helicopter flying with Tareq Alsaadi episode 2 , small Rc helicopters and beginners, 12:47 -

Goosky R7 - 700 Size Class (Wiki) size of main blade in mm -
Otar? 420 -
OMP M4 -
GooSky M4
GooSky S2 - 193mm rotor, 345 grams TOW
GooSky S1 - 290mm rotor, 107 grams take off weight, <$250 for the S1, a couple of batteries & remote.
& basic maneuvers
Learn 3D Rc Helicopter flying with Tareq Alsaadi Episode 3 , how to mange the tail while you fly, 15:41 -

AccuRC Simulator

A way to practice without any hardware damage.

AGM-158 Joint Air-to-surface Standoff Missile Wiki: JASSM

There are a large number of Air to Surface missiles (Wiki) most are specialized for some specific task.  The AGM-158 has a pointy nose for hard (thick concrete) targets whereas the AGM-154 Glide Bomb (Wiki) is for use against soft targets.
In this YouTube: How this US weapon can win the war for Ukraine and restore freedom and democracy, 40:32 - the case is made that a precision missile with a range of 370 (230 mi) , 920 (570 mi) or 1800 km (1100 mi) will have a major effect.  The two new Ukrainian weapons, the Palianytsia missile and a new ballistic missile may fill this role.
The first version of the AGM-158 may have cost about $700,000 with is a good deal for this much capability.
2024 Sep 3:
Reuters: US close to agreeing on long-range missiles for Ukraine; delivery to take months -

Rapid Dragon (AGM-148) + Carrier based C-130

Very interesting idea from YouTube: Sandboxx: Beating China by flying C-130s off American aircraft carriers?, 22:30 -
Rapid Dragon (Wiki) can launch different flying munitions, such as the AGM-158 JASSM (Wiki).
Tests were done in 1963 (Wiki) on the aircraft carrier Forrestal (Wiki).

Palianytsia missile (Wiki, HI Sutton, x)



This is a Ukranian made jet powered cruise missile (Wiki) introduced 2024 Aug.
H I Sutton had a diagram of a similar Jet-powered Long-Range Attack Drone (OWA-UAV) in 2024 Feb.
At that time he said the jet engine was the German-made JetCat P400-Pro (5.8" dia).
Specs: Max Thrust ~ 100 pounds; Specific Fuel Consumption 0.157 kg/Newton hour, or 67 kg/hour @ max thrust (147#/hour).
KingTech Turbines makes a similar engine the K-450G5 (6" diameter)  45kg thrust (99#); 2.4#/min or 144#/hr of Diesel, Jet A1, Kerosene (about 7#/gal) so 144 #/hr is about 20 Gal.hour.
The Thrust number on the Covert Shores web page above is 43kg, (94.8 pounds).  The fuel tank might be 3' long x 1' dia: 2.3 cu ft
7.48 Gal/cu ft * 2.3 cu ft = 17.6 gal. or about an hour flight time. Top speed may be in the 250 to 300 MPH range.
--------------------
2024Sep3 Russia will soon feel 3 new powerful Ukraine made weapons in addition to US JASSMs Part 1of2 #61/88, 19:26 - Palianytsia estimate
His Palianytsia estimate of specs:
Empty weight: 40 kg
MTOW: 120 kg
Fuel: 80 kg
Frontal Area: 0.3 sq m (3.2 sq ft).
Warhead: 20 kg
Speed: 430 km/hr
Range: 500 km
Fuel weight: 80 kg. (176 lbs)
----------------
Thrust = Drag for aircraft flying at constant speed.

Drag = 0.5 * Da * V2 * A * Cd (Wiki) [I developed a method of computing the 1/4 mile times for a vehicle,  See 427 Cobra)

Speed = SQRT[ (2 * T) / (Da * A * Cd)
------------------
Altitude: Guess: The Russian Orlan-10 flies at about 16,000' which is above most air defense systems that cost under a million dollars.
Flying faster than about 250 MPH means helicopters are not fast enough to catch it, thus very hard to shoot down.

WO2023220447 Mission-adaptable aerial vehicle
                      and methods for in-field assembly and use, Ian
                      MUCEUS, Dan MAGY, Firestorm Labs, 2023-12-14, -
                      Palianytsia?
WO2023220447 Mission-adaptable aerial vehicle and methods for in-field assembly and use, Ian MUCEUS, Dan MAGY, Firestorm Labs, 2023-12-14, - Palianytsia? Model shown in patent: Tempest

See
Ref 107



Firestorm Labs raises $12.5 million for 3D printing drone production - has photo

Peklo Missile

This looks to me like a second generation Palianytsia missile with a larger jet engine mounted on top of the fuselage.
700 km range (435 mi), 700 km/hr (435 MPH) , 50kg (110 lbs) warhead.
Oee Refs: 116 & 117.

Propulsion

A thought on propulsion of things in the air.

Rank
Description
Examples
Speed
0
None
bomb, glide bomb, SDGB
Slow
1
Propeller
<= W.W. II
Subsonic
2
Jet
Post W.W.II
transitional
3
Rocket
X-15
supersonic

When shooting down an aircraft the weapon needs to be considerably faster than the aircraft.

Curtiss made two major improvements to aircraft propellers.  The variable pitch propeller and the paddle blade propeller.
1223321 Propeller, Glenn H Curtiss, Curtiss Aeroplane and Motor Corp, 1917-04-17, - original laminated wood prop.

Returning to Carrier YE-ZB

Also see: Ref 124.

2510065 Beacon system, Henri G BusigniesPaul R AdamsRobert I Colin, Standard Telephone and Cable, App:1945-07-31, SECRET, Pub: 1950-06-06, -
2524765 Radio beacon, Henri G Busignies (Wiki), Paul R Adams, Standard Telephone and Cable, App: 1945-07-31, SECRET, Pub: 1950-10-10, -

Osprey V-22 (Wiki)

See Ref 125.  The YouTube does not answer the question about why they crash.  If measured by air frames the rate is low, but high in terms of flight hours..  Bell has supplied a high volume of choppers of many models to the Army with good results.  But the new Boeing has a reputation aimed more at profit than safety.  Ref 126 are examples of the down wash being greater than on a conventional helicopter to the point of breaking trees and sending wood pallets airborne.

5054716 Drive system for tiltrotor aircraft, Harold K. Wilson, Bell Helicopter, 1991-10-08, -
5765783 Vertically launchable and recoverable winged aircraft. Nicholas Albion, Boeing, 1998-06-16, -
11480245 Emergency lubrication system for tiltrotor aircraft, Douglas Robert Mueller, Colton Gilliland, Textron, 2022-10-25, - sounds like a patch rather than a fix.

Radio Control

Started after seeing this YouTube: The Radio-Controlled Aerial Gunnery Targets of WWII, 56:22 - @43:20 TDD-1 used for qualifying the Proximity Fuze;

Aviation Unmanned Vehicle Museum -
BC-464 (Radio Nerds) RC Receiver; Target Rcvr, 68-73 MC (5-1S4, 2-3G4) FT-441, PU-17 P/O RC-57, AN~VRW-1
2257277 Radio controlled recovery means for aircraft, Walter H Righter, Case Kenneth Wallace, Radioplane Co, 1941-09-30, - use parachute because of extreme difficulty in landing using controls.  Used on the RP-3 (Radioplane model 3).  The RC system used a telephone dial with: 1=Stop, 2=Neut, 3=Up, 4=Down, 5=Right, 6=Left and a button for the parachute.
D146183 Remotely controlled target airplane, Neill F Mcgaffey, Radioplane Co, 1947-01-07, -
2436521 Torque stabilizer for aircraft, Neill F Mcgaffey, Radioplane Co, 1948-02-24, - for RC plane to counter the effect of a single prop torquing the body.
2636697 Flare plane, Denny Reginald Leigh, 1953-04-28, - RC plane with chemicals to make light (illumination flares).
2701697 Rotating parachute, Edgar G Ewing, Radioplane Co, 1955-02-08, - opens slowly so suitable for high velocities. auto spill when contacting the ground.

2025 June 1 - Operation Spiderweb (Kyiv Post, Wiki)

I'm adding this section because I think there are many false claims being made.  Also I see this as a revolutionary development that will effect all of warfare.
A high estimate of the damage is 7 Billion and the cost may be 1 Million.  That's a 7,000 times multiplier on investment.  Even if the estimates are off the return on investment is still astronomical and so we are going to see a lot more of this.  Not the exact same, although that will happen, but also were the Aerial Vehicle is customized for the mission, i.e. for different targets.

Russia had operation Zeus planned for 1 June and so many of the planes were fully fueled and in one case had a Kh-101 (Wiki) under a wing.

A Trojan Horse (Wiki) story that would make a great movie.  Trump was not told about this in advance, i.e. Ukraine is keeping it's cards close.

Trucks

The drones were delivered to launch sites that were very close to the target air bases by truck.  This may have taken weeks to months.  The trucks were hired and the drivers did not know the true cargo they were carrying.  I suspect there was some dummy cargo in the creates so if the driver or a border guard checked the goods would match the Bill of Lading.  Once the crates were delivered the trucker unhooked his truck and left the trailer with a couple of creates at the designated destination.  In the press photos there are two crates on each trailer.  In one photo there are two trailers parked next to each other.  Maybe 80 Aerial Vehicles (AV) per trailer, so in one case maybe 160 AVs attacking one airfield.

Crates (Cabins)

These seem to be what would be called a garden shed in the US.  A people sized door is part of the design.

Ukraine designed wooden small garden sheds shipping creates (not metal ISO shipping containers) to have a false ceiling where the space above the ceiling held maybe 40 drones.
The exterior roof had a few solar panels mounted to maintain the charge in the drone batteries as well as batteries in the create related to overall communications and navigation.  On the one of the long walls there are a couple of large glass windows (or doors?).

The roof is designed to completely come off the create.  You can see the roof and solar panels in a number of the press photos on the ground.  The roof is ten to thirty feet behind the create.

A speculation is that the crate (cabin) contains a redundant navigation system that would know it's location so as to not make mission success dependent on the driver delivering the trailer to  a specific location.  Knowing the crate location and the target location the magnetic bearing to the target would be known.  I expect one AV would be launched in that direction and it would look for the target aircraft type and also look for the specific spot on the aircraft where it would land.  That way the second and following AVs would not attack an aircraft that was already on fire.  This requires a single file system of attack, not a swarm.  The video ((Ref 131) shows normal FPV operation of the quadcopter where the pilot is looking around to find a suitable target.  So AI may not have been a part of this operation. 

A speculation is that there was a control and video link between the FPV quadcopters and the garden shed they were launched from.

After the all drones were launched the crates were remotely set on fire.

Aerial Vehicles (AV)

2025 Jun 7 - new video (Ref 131) shows FPV control of quad copter from lift off to just before landing.  Note On Screen Display showing: GPS 3D FIX
2025 June 4 - Some or all of the AVs have cell phone connectivity.  The On Screen Display shows both the main AV battery Voltage & Current and the Cell Battery voltage.  The videos being released are from the AV on board camera.  Maybe these are FPV drones being controlled by operators using a cell phone?

2025 June 4 - The On Screen Display at one of the airports shows No GPS Fix, while at a different airport shows dgps GPS and GPS 3D FIX.  That may mean that the Crates do not need built in navigation if the roof is transparent to GPS, i.e. wood or plastic.

These AVs have the look of the standard FPV quad copter that are being used in very high volumes on the front line.  But with significant differences.

The front line type FPV quad copters must be "flown" by an operator in real time.  This requires a control radio link to the FPV quad copter and a wide bandwidth low latency TV link from the FPV quad copter back to the operator.  Both of these radio links are susceptible to jamming.  It's my understanding that the Spiderweb AVs were not FPV but rather were autonomous since it would not be practical to use FPV methods of hundreds of drones over a thousand miles from Ukraine.  Also it would not be a good idea to have drone pilots inside Russia to guide the drones.  I've heard that these AVs used a TV camera and AI to recognize a specific aircraft type and to fly to a specific spot on that aircraft and land there.  The AI was trained using actual airplanes of the type being targeted which were at museums in Ukraine.  There probably are a few target aircraft types programmed into each AV.  There probably is some cleaver programming to choose the highest value target, or maybe there's only a single target aircraft model for each location? Let me know.

Since the number of AVs in crates is many times the reported number of aircraft destroyed I'm guessing that in addition to each AV having a few aircraft types in memory they also have different target spots.  So if an AV does not see the left wing target spot because it's on fire the AV would attack the right wing target spot.  There's a photo in the Kyiv Post article showing a red X on the left wing of a Tu-95 bomber (Wiki) (but not on the right wing) and on the centerline of the Tu-160 (Wiki).  So, was the large number of AVs at each airfield just to have redundancy, or for some other purpose?

Because the distance from the crate to the target is probably a couple of miles the flying time between launch and destruction will be only a few minutes, even for the last aerial vehicle that might need to fly a search pattern to find a target.  This allows using a smaller battery than is typically used on battlefield type FPV drones making the AV lighter and smaller than normal.

I'm guessing that instead of using something like an RPG-7 rocket or a block of explosive, a linear shaped charge (Pacsci) in the form of a pair of skids is used.  This is much lighter in weight and smaller, again reducing the need for a large heavy battery.  A linear shaped charge was used  in the movie "Heat" to open an armored car..  They were probably arranged like skids used to land full size helicopters.  When the AV lands the software would set off the linear shaped charge which would blow a hole into the gas tank of the airplane and ignite the fuel. 

These AVs are specific to only a handful of aircraft types.  As is they would not work against other aircraft models or radar systems or on the front line of battle.  I suspect they could be trained to blow up missiles that are stored where the long axis is horizontal.  They might also be useful where the target is a metal fuel storage tank.  What could be programmed as a target is left to the imagination of the programmer.

In the world of torpedoes there's a search pattern that's used if the target ship/boat is lost.  I suspect there's an AV search pattern used to find a target.  This may involve approaching the airfield from a direction different from flying straight from the create to the center of the airfield.  Note the layout of each target airfield and where the good targets were located was know in advance.

While probably not the one used for Spiderweb, this is a very similar concept.

20250145289 Munitions Payload Delivery System With Bump Fire And Radio Command Triggers, Larson Isely, Mark Schmidt, Neill WHITELEY, Phillip Richard TUCKER, Paul NURKKALA, Aaron Goodman, Alan WOLTEMATH, Cyberlux Corp, 2025-05-08, - makes use of shaped charges. - "it is desirable to have a low-cost, maneuverable weapons delivery system that separates the weapons-grade explosives from the system that delivers it on the battlefield so that the delivery system is not categorized as a weapons system. This reduces the regulatory complexities that often arise from importation and exportation of the delivery system across national boundaries. The delivery system may be further configured to facilitate the armament of the system with weapons-grade explosives while in the battlefield. This and other advantages may be obtained by one or more of the embodiments of the invention described herein."

Targets

Tu-95 (Wiki)
Tu-22 (Wiki)
Tu-160 (Wiki)
A-12 (Wiki)
A-50 (Wiki) - Radar dome may have been hit, but they were missing engines, flaps, i.e. were not in service.

Aerial Refueling (Wiki)

Also see Victory Through Air Power Patents.
See Ref. 135 Why US Navy and US Air Force Use Different Refueling Methods, 23:26 -

Flying Boom

Air Force

One plane at a time.  Up to 1,000 Gallons per minute.  4x to 5x faster than Probe-and-drogue for large airplanes only.

2670913 Aircraft boom control and balancing mechanism, Castor Thomas Davis, Clifford J Leisy, William A Sangster, Boeing Co, App: 1950-04-24, Pub: 1954-03-02, - focus is on aerodynamic control surfaces "...trailing portion of the boom and having a considerable dihedral angle so that an upright control surface is unnecessary."  No mention of flow rate.
7922122 Systems and methods for distributing loads from fluid conduits, including aircraft fuel conduits, James A. Carns, Theron L. Cutler, Mark A. Shelly, Benjamin P. Van Kampen, Boeing Co, 2011-04-12, - about new loads on fuel lines due to conversion from commercial use to fuel tanker use.

Probe-and-drogue

Navy & Marines, all helicopters

Up to 4 planes at a time. 

2582609 Means for fueling aircraft in flight, Frederick I Steele, Curtiss Wright Corp, 1952-01-15, -
3061246 Flying pipe refueling system, Kirby James Robert, Vitro Corp, 1962-10-30, -

Related

40 mm -
Aerial Photography - DJI Mavic mini 2
Astro-Compass MkII
Barometers & Altimeters
Black Box -
Cars
China Lake Patents - Sidewinder, Proximity Fuze & Others
Drop Zone Assembly Aid System -
Electro-Optical Gadgets - Grimes AN-3038-2A aka C-5A UV Cockpit Light - MODEL 9379640 Cockpit light -
FN FAL - Types of Sights -
Gibson Girl AN/CRT-3B life boat survival beacon transmitter
GRC-206 Program Pacer Speak & MT-6250 - Forward Air Controller
Gyrodyne QH-50 DASH Drone Helicopter -
Gyroscopes - Norden Bomb Sight
MD1 Star Tracker Navigation System
MIL-S-5807A Sextant, Aircraft, Periscopic
Mk 20 Mod 4 Gun-Bomb Sight
Navigation
Navy Mk. 18 Gun Sight
Optics
Outdoor Intrusion Alarms - Vietnam era
Radar Warning Receivers - AM-6536 - AN/ALR-54 LAMPS
Radio Direction Finding
Radiosonde - Area I Altius-600 DroneADM-160 MALD (Wiki)
RPG-7 Rocket Propelled Grenade Launcher
RWR - RADAR Guided & Laser Guided
Ruger SP101 Laser Sight
SDU-5 distress strobe beacon & Battery Adapter.
Sonobuoys - Underwater Locator Beacons & Roswell Connection - CRT-1B
StormScope - lightening mapper
Submarines
Torpedoes - "Range" problems with torpedoes, battleship guns, depth charges, horizontal bombing
Ukiah - Helicopter photos from my house - and scroll down, Kaman K-Max,
Ultra Violet light -
Aircraft Cockpit UV Instrument Lights -
Wallace & Tiernan FA 181 Altimeter, Barometers & Altimeters, Aneroid (aircraft instruments)

References

There are many more aircraft books that are specific to Sonobuoys.

Aircraft
                        Books
Ref 01 Air Navigation, Weems, 1943 -
Ref 02 The United States Air Force in Southeast Asia: Development and Employment of Fixed-Wing Gunships 1962-1972, Jack S. Ballard, 1972 -
Ref 03 Aviation Electronics, Keith W. Bose, 1977 -
Ref 04 The Deadly Fuze: Secret Weapon of World War II, Ralph B. Baldwin, 1980 -
Ref 05 The History of Dive Bombing, Peter C. Smith, 1981 -
Ref 06 Dive Bomber!, Peter C. Smith, 1982 -
Ref 07 Skyraider: The Douglas A-1 "Flyhing Dump Truck", Rosario Rausa, 1982 -
Ref 08 Flying without Wings: A flight simulation manual, Paul Garrison, 1985 -
Ref 09 Spyplane: The U-2 History Declassified, Norman Polmar, 2001 - (prior book owner Ed Lovick who wrote RADAR Man, father of Stealth) -
Ref 10 Boyd (Wiki): The fighter pilot who changed the art of war, Robert Coram, 2002 - Fighter Mafia (Wiki), Energy–maneuverability theory (Wiki),
Ref 11 First in, Last Out: Stories by the Wild Weasels, edited by Colonel Edward T. Rock, USAF, 2005 -
Ref 12 The Ears of the Air ASW: A History of U.S. Navy Sonobuoys, Holler, Horbach & McEachern, 2008 -
Ref 13 Radar Man: A Personal History of Stealth, Ed Lovick, 2010 - his time at Lockheed skunk works
Ref 14 Aircraft Versus Submarine 2004 -
Ref 15 Ed Heinemann 1980 -
Ref 16 By Sea, Air, and Land 1992
Ref 17 Naval Airborne Ordnance NAVPERS 10826-A 1958 (1961)
Ref 18 United States Naval Aviation, 1910-1995, 1997
Ref 19 Navy Attack: Spads, Scooters & Whales 1990 - excellent photos
Ref 20 America's Pursuit of Precision Bombing, 1910-1945 - 1995 - about how horizontal bombing never worked
Ref 21
Fighter Combat: Tactics and Maneuvering Hardcover – November 14, 1985 by Robert L. Shaw
Ref 22
Threat Warning for Tactical Aircraft: A Technical History of the Evolution from Analog to Digital Systems - Bjorn M. Fjallstam
Ref 23
The Cold War and American Science: The Military-Industrial-Academic Complex at MIT and Stanford - Stuart W. Leslie
Ref 24
Red SAM: The SA-2 Guideline Anti-Aircraft Missile (New Vanguard) - Steven Zaloga
Ref 25
National Intelligence Estimate, Number 11-3-17 Soviet Strategic Air and Missile Defenses 9 Nov 1967
Ref 26 Patterns and Predictability: The Soviet Evaluation of Operation Linebacker II by Dana Drenkowski & Lester W. Grau -
Ref 27 The Hunter Killers: The Extraordinary Story of the First Wild Weasels, the Band of Maverick Aviators who Flew the Most Dangerous Missions of the Vietnam War, Dan Hampton,2015
Ref 28 War in the Forth Dimension; US Electronic Warfare, from the Vietnam War to the Present, Dr. Alfred Price, 2001 -
Ref 29 National Electronics Museum - Library & Archives -
Ref 30  The Radio Manual, Sterling (History of the Original W3DF), 1943, - includes radio aids to navigation
Ref 31  T.O. No. 08-15-1, Army Air Forces Radio Facility Charts, Jan 1946, - data on A-N radio stations in the U.S.
Ref 32  Flight Briefing for Pilots Vol 3, Radio Aids to Air Navigation, Birch & Bramson, 1978, ISBN: 0-87165-008-8, - VHF DF, ADF, VOR, DME, ILS, NDB
Ref 33. Instrument Refresher Course Precourse Workbook (DTIC: a156708.pdf), Major David R. Vandenburg, 1985 - chapter on the CPU-26A/P
Ref 34. Hell Divers: US Navy Dive-Bombers at War, John F. Forsyth, 1991 - personal experiences of W.W. II flying Hell divers (Wiki), F6F Hellcats (Wiki) on the Intrepid (Wiki).
Ref 35. U.S. Navy Dive and Torpedo Bombers of WWII, Barrett Tillman & Robert L. Lawson, 2001 -
Ref 36. YouTube: Why the "Sound Barrier" Had to be Broken, 18:31 -
Ref 38. John Paul Stapp: The Fastest Man On Earth, 8:48 - Origin of Murphy's Law
Ref 39. The Navigator (801 pages) Vol 7 No.3 pg 35 "D-2 Celestial Trainer" Capt. John C. Allison - 1 page blurb
Link
                        D-2 Celestial Trainer" Capt. John C.
                        Allison
Link D-2 Celestial Trainer"

Ref 40. The Pentagon Wars: Reformers Challenge the Old Guard by Colonel James G. Burton, 2014 - Book has a lot of information about aircraft and Boyd (Ref 10). Got this book after seeing the movie by the same name (IMDB, Wiki, YouTube).  There's an appendix with a reading list compiled by Boyd. Pierre Sprey (Wiki), also mentioned (I think in this book) is the concept of OODA (Wiki).
Ref 40a: Bradley Development: What Pentagon Wars got right, 9:21 -

Ref 41. Like Charlie Wilson's War (IMDB, Wiki) this more a documentary than movie.  Based on the book Charlie Wilson's War: The Extraordinary Story of the Largest Covert Operation in History (Wiki, Video).  Operation Cyclone (Wiki) 1979 - 1992 CIA in Afghanistan.

Ref 42. Also see:Ghost Wars: The Secret History of the CIA, Afghanistan, and Bin Laden, from the Soviet Invasion to September 10, 2001 (the day before 9/11), pub 2004 (Wiki)  -
Ref  43. The Warthog and the Close Air Support Debate, Douglas N. Campbell, 2003 -
Ref 44. Why the F-16 Was Designed to be UNSTABLE, 14:04 - The Fighter Mafia (Wiki) did not like loosing dog fights in Vietnam.
Ref 45. The Warthog and the Close Air Support Debate, Douglas N. Campbell, 302 pgs - The jurisdiction of the Army is limited to aircraft below a weight limit, so they developed the AH-56 Cheyenne (Wiki) for Close Air Support.   The Army also has the AH-1 Cobra (Wiki).  Notice that there is not an attack verion of the UH-60 Blackhawk (Wiki). The Air Force developed the A-10 Thunderbolt (Wiki) but did it kicking and screaming since it's not what most of the Air Force does. 
Ref 46. Johnson-McConnell agreement of 1966 (Wiki) - replaced the Pace-Finletter MOU 1952 (Wiki) limit on Army fixed wing aircraft of 5,000 pounds with a functional division that gave the Army helicopters and the AF fixed wing aircraft.  Also see:  Key West Agreement 1948 (Wiki) that defines the jurisdiction of the Army, Air Force and Navy.
Ref 47.
Mk 20 Mod 4 Gun-Bomb Sight in AC-47,
Ref 48. Bombardiers Information File (BIF), 251  pgs (pdf), - E-6B, Pitot-Static System, Gyro-Stabalized Flux Gate Compass, Astro-Compass, Radio Navigation AidsM-Series Bombsight..., Life Raft Kits and Discipline, One Man Life Raft, Signal Devices (M2, AN-M8), C-1 Life Vest, Vest Type Emergency Kit
Ref 49. America's Abandoned Airways - Strange Arrows in the Ground, 46:50 - Tower with rotating light (w/automatic lamp changer), dual Westinghouse 2kW lightening plants, building with with beacon and route numbers on roof, 12' long x 11' wide arrow head
Ref 50. Arrows Across America - 62 LA-A Grants-Milan Airport: museum
Ref 51. Conduct of the Persian Gulf War: Appendix T: Performance of Selected Weapon Systems, 1992 (a249391.pdf)

Links in table to Wiki.  But the paper has observations (problems) related to each system
Aircraft
Aircraft
Ground
Munitions
Naval
Space
A-6E Intruder
F-16 Fighting Falcon AAV
ALCM
Aircraft Carrier
DMSP
A-10 Thunderbolt
F-111 Aardvark Bradley, Ref 40
LGB
Mine Countermeasures ship
DSCS
AH-1 Cobra
F-117 Nighthawk LMCOBS
AGM-65 Mavrick
Naval Gunfire Support
GPS
Trimpack
PLGR
DAGR
AV-88 Harrier
F/A-18A/C Hornet LAV
AIM-9 Sidewinder AAM
ChinaLake

Landsat
Exotech 100BX
B-52 Stratofortress
F/A-18D Hornet M1A1 Abrams
AIM-7 Sparrow AAM


CH-46 Sea Knight
E-8 JSTARS M270 MLRS & MGM-140 ATACMS
AGM-84 SLAM


CH-47 Chinook
KC-135 Stratoanker MIM-104 Patriot SAM
ADM-141 TALD


E-2C Hawkeye EWS
LAMPS, ALR54
TWV (Heavy)
Tomahawk LAM


E-3 Sentry AWACS
MH-53E Sea Stallion TWV (Medium)



EA-6B Prowler
RQ-2 Pioneer UAV TWV (HMMWV & CUCK),
 MV, HMMWV, CUCV



F-4G Wild Weasel, RWR
S-3B Viking Trailblazer



F-14 Tomcat
SH-3H Sea King Trojan Spirit



F-15C Eagle
UH-60 Blackhawk



F-15E Eagle





Ref 52. How a Tiny Hole Caused Dozens of Air Disasters, 12:57 -
Ref 53. The secret origins of America's STEALTH Black Hawks, 24:22 -Stealth Helicopter (Wiki, Mil History) RAH-66 (Wiki),
Ref 54. Structural Concepts and Aerodynamic Analysis for Low Radar Cross Section (LRCS) Fuselage Configurations, David W. Lowry et al, Sikorsky, July 1978, 140 pages, (ADA058906.pdf)  - vertical drag slows climb ability, horizontal lower drag increases top speed; substantial reduction in static stability;
Ref 55. Aircraft Turrets And Defense Tactics | Interesting Historical Facts You Might Not Know | Ep. 1, 56:40 - Sperry ball turret (B17E) was the only effective turret of W.W.II.
Ref 56. Aircraft Turrets And Defense Tactics | Interesting Historical Facts You Might Not Know | Ep. 2, 45:41 - "At the start of W.W. II the AAF believed that the bomber will always get through"
Ref 57. Scientific American, Aug 2021: The Physics and Hype of Hypersonic Weapons, -
Ref 58. The Link Trainer: the Insanely Sophisticated Steampunk Simulator, 28:39 - the origin story seems off.  I think the first patent was for an amusement device, nothing serious.
Ref 59. The Steampunk Flight Simulator That Helped Win World War II, 15:00 - Link's father's business related to air powered organs is in the entertainment business area.
Ref 60. YouTube: How Pratt & Whitney Changed Aviation, 18:17 -
Ref 61. YouTube: Inertia starter motorcycle - 1948 Harley-Davidson panhead custom bike, 0:42 - hand inertia cranked - note sound prior to starting, just like you hear on helicopters.
Ref 62. YouTube: Building a Custom 1948 Harley-Davidson Panhead with an Inertia Starter: Answers to Your Questions, 15:32 - @4:17 inertia Starter by Eclipse Aviation, Type 947, Model 9, 12 Volts,
Ref 63. Hand-Cranking the Inertia Starter on Restored 1934 Boeing P-26 "Peashooter" Fighter, 2:08 - inertia
Ref 64. Harvard Inertia Starter, 0:46 - with still photos at the end of the inertia starter.
Ref 65. Starting a Messerschmitt 109, 1:00 - inertia
Ref 66. 1943 Federal 606 truck Inertia Starter, 1:13 - has Bendix starter in addition to normal battery starter.  "The Army Air Force considered this truck an emergency vehicle and needed it to be capable of being started when the battery was dead and no other vehicles were around." inertia
Ref 67. Stearman PT-17 Engine Startup (Inertia Starter), 1:30 - inertia
Ref 68. Grumman Wildcat Engine Starter, 0:56 -  (Coffman shotgun shell)
Ref 69. Wildcat First Shotgun Start, 1:50 - shows loading cartridge
Ref 70. Cartridge Engine Start, 1:41 - Twin jet engines.
Ref 71. Rolls-Royce Avon Mk 1 jet engine run, 11:30 - starter @ 6:00,
Ref 72. Panther - Inertia Starter - Aus Armourfest 2022 - WW2 German tank, 1:29 - 2 men to crank it
Ref 73. Eclipse aviation cartridge starter and Plessey starter motor, 10:31 - 8 Ga gas generator shells, Breeze brand cartridges
Ref 74. Inertia start on a Tiger 1, 2:08 - 2 men to crank it
Ref 75. Starting a tractor with a shotgun cartridge, 1:50 - gas from cartridge pushes on piston, different from Eclipse type
Ref 76. WWII trainer SNJ-3 "22" inertia starter startup -  electric motor spins flywheel
Ref 77. Starters No. 6: Inertial Starter, -
Ref 78. R-2800 RADIAL ENGINE - All the great airplanes powered by this legendary
Ref 79. How the Stuka and Douglas SBD Altered the Course of WW2, 16:23 - Dive bombing.
Ref 80. -
The
                          Unfair Advantage of the F-35, 25:18 Aircraft
                          Time Line
1941
1942
1945
1951
1957
1961
1964
1969
1971
1974
1983
2014?












Ref 81. The Central Intelligence Agency and Overhead Reconnaissance; The U-2 and OXCART Programs, 1954-1974 (DOC_0000190094.pdf, 406 pages) - released 2013 - also see: Stealth, Ref 09, Ref 13.
Ch 1 Searching for a System (need for high-altitude recon) (pdf pg 14)
Ch 2 Developing the U-2 (pdf pg 52)
Ch 3 U-2 Operations in the Soviet Bloc and Middle East, 1956 - 1958 (pdf pg 106)
Ch 4 The Final Overflights of the Soviet Union, 1959 - 1960 (pdf pg 172)
Ch 5 U-2 Operations after May 1960 (pdf pg 208)
Ch 6 The U-2's Intended Successor: Project OXCART, 1956 - 1968 (pdf pg 272)
Ch 7 Conclusion (pdf pg 328)
App A: Acronyms (pdf pg 338)
App B: Key Personnel (pdf pg 340)
App C: Electronic Devices Carries by the U-2
App D: U-2 Overflights of the Soviet Union, 4 July 1954 - 1 May 1960 (pdf pg 348)
App E: Unmanned Reconnaissance Projects (pdf pg 350)
Bibliography
Index
Ref 82. Masquerade: the Amazing Camouflage Decptions of World War II, Seymore Reit, 1978, ISBN: 0-8015-4931-0 - I knew about fake tanks and truck from Operation Fortitude (Wiki).  But using painters to make images of bomb damage after that damage had been repaired was a new concept.  Note the use of stereo aerial photography overcame the 2D fake paintings.
Ref 83. How the F-16 changed air combat forever, 5:55 - See Fighter Performance above.
Ref 84. FIGHTER MAFIA: Dogfight Visionaries or Airpower Charlatans?, 7:24 - video made because of comments to his Ref 83 video.
Ref. 85. The Secret Lightning Bug War Over the Vietnam War,
Ref 86. The Evolution of the Cruise Misssile, 1985, 304 pgs,
Ref 87. Air Force UAVs: The Secret History, 2010, 89 pgs, ADA526045.pdf -
Ref 88. Flying the Beams - web page patent 1937876
Ref 89. E6B Flight Computer: the Pilot's Best Friend, 18:50 -
Ref 90. National Geographic: Experts Reveal What Really Happened (Full Episode) | Area 51: The CIA's Secret, 44:24 - Project Aquatone (Wiki: U-2), then a few years pause because of nearby atomic bomb testing having fallout at area 51.  Next: Project Rainbow to add stealth to the U-2., but "wallpaper" did not work out.  Ox Cart (Wiki: A-12) was a new aircraft.  Needs new longer runway, hangers 4, 5 & 6.  Later used to test the Mig-21 & training US pilots. 1978: handover from CIA to Air Force. Sub sonic Have Blue (Wiki) the much larger F-117 (Wiki) was a follow on. Bob Lazar UFO nut (Wiki).
Ref 91. The High-Tech Attack Aircraft the US Allowed the Enemy to Steal, 14:36 - P-19 VHF Radar can see F-117 but not track and shoot it down (Wiki: Serbia, Museum Canopy & PRC-90 radio).  But when bomb bay door open it can track it.
Ref 92. SHAHED 136 drone engine TEAR DOWN, 8:43 - appears to use the same servo for throttle control
Ref 93. LDM #369: Shahed-136 drone Air Data Computer module, 6:22 -
Ref 94. LDM #369B: Shahed-136 drone - Air Data Computer Pressure sensor, 2:51 - Silicon Microstructures SM5812-015-A-3-S - Pins 1, 3 & 6 (marked NC) are connected to the uC, why?
Ref 95. What can a Orlan-10 drone do?, 8:18 - an opposed twin engine is shown (maybe a Saito Twin (FG-120, FG-100, FG-61, FG-57 &Etc.)
Ref 96. CNN gets first look at a captured Russian drone. See what was found inside, 2:41 -
Ref 97. Disassembling Orlan-10 UAV to uncover russian secret design elements, 2:56 - @0:50 3 lens photo block (Canon EOS 750 DSLR w/SD card memory read after landing, Maybe real time  TV and thermal IR cameras for steering and target locating.
Ref 98. Orlan-30 Rare UAV, a Further Evolution of the Orlan-10 UAV, 3:27 - has Laser Range Finder & Laser Target Designator.
Ref 99. Episode 64. Drones: The Aerial Revolution, 36:58 - gas & electric versions, the 24hr version uses fuel injection where the air/fuel ratio can be programmed & it can be in "glider" mode. Can send Wireless Emergency Alerts (FCC) to all nearby cell phones.
Ref 100. Assembly and launch of UAV Orlan-10 of Russia, 2:39 - the EO pod hinges up into the body.  Radio coms required between the launch site and the controller. Has built-in electric starter.  This would be part of the "glider" mode. 
Ref 101. All about the Orlan 10 UAV in Ukraine, 1:44 - Can determine position of switched on GSM cell phones. $87k to $120k.
Ref 102. Russia develops guidance modules for air-dropped munitions, Ukraine Field Dispatch, December 2023, Conflict Armament Research - details of the UMPK (Wiki) glide bomb kit
Ref 103. CAR: Orlan-10 - ublox LEA-6 receives GPS, QZSS, GLONASS & Galileo navigation signals;
Ref 104. CAR: Documenting the domestic Russian variant of the Shahed UAV, Ukraine Field Dispatch, August 2023

Links

The Internet Movie Plane Database - for example in the 1953 movie "It Came from Outer Space" the open top helicopter is the Bell 47D.
AIRCRAFT GUNSIGHTS - as of 2021 link is broken.  Too bad since it was a very comprehensive site.  Archive.org (10 Aug 2020)
Glenn’s Computer Museum - with some mechanical computation element - Old Bombsights, Gun Sights & Navigation Computers -
National Air and Space Museum - A-1C Gun-Bomb-Rocket (GBR) Sight -
A-1 Skyraider Combat Journal - Byron E. Hukee
The Official Website of the A-1 Skyraider Association
The Able Dogs -
The Pacific War Online Encyclopedia - Dive Bombers - "The best naval dive bombers in the Pacific War could maintain a dive angle of perhaps 70 degrees. A dive this steep could easily build up enough velocity for the aircraft to become impossible to control: As the speed of the air flow across some control surfaces approached the speed of sound, the control surfaces became useless. To avoid this difficulty, and to ensure that the aircraft could pull out after dropping its weapon from an altitude low enough for accurate bombing, dive bombers were generally equipped with some form of dive brake."
ibiblio.org - USN - General References Aircraft Armament - Mk 14 Gun Sight (requires clean dry compressed air for the gyros) -

PRC68, Alphanumeric Index of Web pages, Contact, Products for Sale
Page Created 27 Aug 2018